Розробником та виробником вертикального токарного верстата 1А734Ф3 є Мінський завод автоматичних ліній ім. Машерова МЗАЛ .
Токарний вертикальний одношпиндельний двосупортний верстат з ЧПУ 1А734Ф3 призначений для автоматизації токарної, чорнової та чистової обробки в патроні в декілька проходів зовнішніх і внутрішніх поверхонь деталей з прямолінійними та криволінійними утворюючими (типу дисків, чашок, фланців, шестерень, маховиків та т.п.). точення зовнішніх та внутрішніх різьблень, спіралей на торці.
У конструкції напівавтомата передбачені автоматичне регулювання швидкостей шпинделя та зміна ріжучого інструменту в циклі обробки. Застосовується в умовах дрібносерійного та серійного виробництва на машинобудівних заводах різних галузей промисловості.
Напівавтомат 1А734Ф3 оснащений двома хрестовими супортами з чотирипозиційними револьверними головками .
Компонування та конструкція напівавтомата виконані за принципом побудови верстатів загального призначення та відповідають сучасним вимогам за основними параметрами обробки, технологічними можливостями, точнісними характеристиками, рівнем механізації та автоматизації, переналагоджуванням у всьому діапазоні оброблюваних виробів.
Технічна характеристика верстата 1А734Ф3
Напівавтомат може вбудовуватися в автоматичні лінії та технологічні роботизовані комплекси.
Ремонтна складність Кр = 1,134.
Клас точності напівавтомата П згідно з ГОСТ 8-82Е.
Шорсткість обробленої поверхні Ra 2,5 мкм.




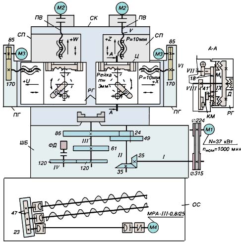
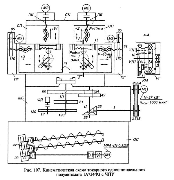
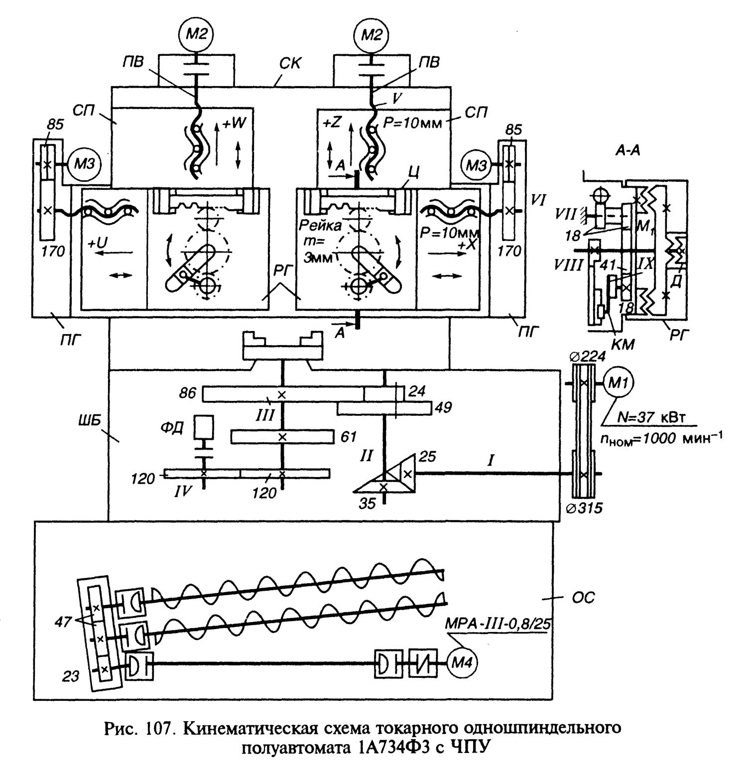
Кінематична схема токарного верстата 1А734Ф3. Завантажити у збільшеному масштабі
На підставі ОС (рис. 107) закріплена масивна шпиндельна бабка ШБ з вертикальним шпинделем виробу та його приводу (головного руху).
Інструменти закріплюють у дво-, чотирипозиційних револьверних головках РГ, які розташовані на супортах СП. Рух вертикальної подачі здійснюють каретки супортів по стійці СК, що встановлена на шпиндельній бабці. Рух горизонтальної подачі повідомляється повзунам каретками. Привід ДВ вертикальної подачі розміщено на стійці, а горизонтальній ПГ - на супорті.
Головне рух повідомляється шпинделем III від електродвигуна M1 постійного струму, який має двозонне регулювання: вниз від номінальної частоти обертання з діапазоном 1:10 (1000...100 об/хв) і вгору — з діапазоном 2,5:1 (1000..). .2500 про/хв). Діапазон регулювання приводу додатково розширено застосуванням блоку коліс 24-49, який перемикається гідроциліндром. Шляхом дрібноступінчастого регулювання можна встановити 29 частот обертання шпинделя.
Фотоелектричний датчик ФД, пов'язаний зі шпинделем беззорою передачею 120/120, служить для контролю швидкості обертання шпинделя, а також для зв'язку руху вертикальної подачі з обертанням шпинделя при нарізанні різьблення. Затискач і розтискання виробу в патроні здійснюються гідравлічною системою.
Рухи подач виробляються від високомоментних електродвигунів постійного струму, які з'єднані з кульковими ходовими ггвинтами безпосередньо (двигуни М2 та гвинти V вертикальної подачі), або через передачу 85/170 (двигун М3 і гвинт VI горизонтальної подачі).
Поворот на 90° кожної револьверної головки РГ здійснюється від гідроциліндра Ц через рейкову передачу (колесо 18, т = 3 мм), ряд коліс 18-41-18, що з'єднують вали VII та IX через кривошипно-кулісний механізм КМ і диск Д. Перед поворотом інструментального корпусу револьверної головки РГ розчіплюється за допомогою гідроприводу фіксуюча муфта М1, причому її рухома частина з'єднується з диском Д. Після повороту і фіксації головки вона не пов'язана з диском, що дозволяє повернути плунжер у вихідне положення, підготувати механізм повороту до повторення циклу.
Верстат має два пристрої для відведення стружки, які складаються із здвоєних шнеків, що приводяться в рух від мотор-редуктора М4 через зубчасті колеса 23-47-47.
Система керування станком являє собою пристрій ЧПУ типу 2С85-62, що забезпечує незалежну роботу кожного супорта за двома координатами: Х і Z - для правого супорта, V і W - для лівого супорта. Система керування контурна, з лінійно-круговою інтерполяцією, замкнута, з попереднім контролем вихідного положення супортів за допомогою безконтактних торцевих перемикачів (що спрацьовують від упорів) і з остаточною зупинкою по команді від індукційного датчика шляху в приводі подачі, тобто. ходовим гвинтом). Величину переміщення можна задавати в абсолютній системі координат або відносної системи (у приростах). Передбачено наступні режими роботи:
На верстаті можлива автоматична зміна частоти обертання шпинделя при обробці торцевих поверхонь, щоб підтримати сталість швидкості різання. Система управління узгодить головне рух і рух поздовжньої (вертикальної) подачі при нарізанні різьблення і веде пошук заданої позиції головки.
Токарні багатоопераційні верстати із ЧПУ мають широкі технологічні можливості. З цією метою їх забезпечують додатковими пристрійми: свердлильними шпинделями, багатошпиндельними свердлильними головками та головками для обробки деталей під прямим кутом. На одній з кареток верстата встановлюють допоміжний привід, з яким автоматично зчіплюються інструменти, що обертаються. У таких верстатах є система індексації шпинделя, яка допомагає встановити і закріпити шпиндель в будь-якому заздалегідь запрограмованому положенні по куту повороту. Всі ці пристрої дозволяють робити на верстаті операції як у напрямку вздовж осі шпинделя, так і в поперечному напрямку. Магазини інструментів містять 8—25 і більше інструментів, зміна інструментів відбувається автоматично за циклом обробки деталі. Поширення токарних багатоопераційних верстатів дещо обмежене їх високою вартістю при порівняно нескладних оброблюваних деталях.

| Найменування параметру | 1A734F3 | |
|---|---|---|
| Основні параметри верстата | ||
| Клас точності верстата за ГОСТ 8-82 | П | |
| Найбільший діаметр виробу, що обробляється, мм | 320 | |
| Найбільша висота діаметр виробу, що обробляється в патроні, мм | 200 | |
| Відстань від основи верстата до верхнього торця шпинделя, мм | 1180 | |
| Кількість шпинделів | 1 | |
| Кількість супортів | 2 | |
| Кількість револьверних головок | 2 | |
| Позицій револьверних головок | 4+4 | |
| Найбільший переріз різців, мм | 32; 40 | |
| Кількість інструменту | 8..16 | |
| Найбільша відстань від базового торця шпинделя до верхнього торця заготовки, мм. | 400 | |
| Найбільший діаметр свердління, мм | 32 | |
| Шпиндель | ||
| Діаметр патрона, мм | 400 | |
| Діаметр отвору в шпинделі, мм | 100 | |
| Позначення конуса в шпинделі за ГОСТ 12595-72, мм | 11 | |
| Частота обертання шпинделя, об/хв | 14..1000 | |
| Найбільший момент, що крутить, на шпинделі не менше, Нм (кг*м) | 4000 | |
| Супорти. Подання | ||
| Найбільше переміщення (хід) супорта вздовж осі шпинделя, мм | 600 | |
| Діапазон швидкостей подачі супорту, мм/хв. | 1..1250 | |
| Швидкість швидкого переміщення супорта у вертикальному напрямку, м/хв. | 9,6 | |
| Швидкість швидкого переміщення супорта в горизонтальному напрямку, м/хв. | 4,8 | |
| Найбільше тягове зусилля супорта у вертикальному напрямку, кН | 14 | |
| Найбільше тягове зусилля супорта у горизонтальному напрямку, кН | 10 | |
| Електроустаткування верстата | ||
| Кількість електродвигунів на верстаті, кВт | 11 | |
| Електродвигун постійного струму головного приводу, кВт | 37 | |
| Електродвигуни постійного струму приводів подач, кВт | 3,62 х 2 | |
| Електродвигуни постійного струму приводів подач, кВт | 1,7 х 2 | |
| Електродвигун гідростанції мастила направляючих супортів, кВт | 0,09 | |
| Електродвигун гідростанції мастила шпиндельної бабки, кВт | 0,27 | |
| Електродвигун гідростанції, кВт | 4 | |
| Електродвигун стружкозбірника, кВт | 1,1 х 2 | |
| Електродвигун насоса охолодження, кВт | 0,6 | |
| Загальна встановлена потужність електродвигунів, кВт | 54,94 | |
| Габарити та маса верстата | ||
| Габаритні розміри верстата (довжина, ширина, висота), мм | 3340 х 2300 х 3580 | |
| Маса верстата, кг | 13470 |