Виробник настільно-свердлувального верстата моделі 2А112 - Навчально-виробничі майстерні при Московському станкоінструментальному технікумі УПМ МСІТ , м. Москва.
Настільний свердлильний верстат 2А112 призначений для свердління отворів та нарізування різьблення в дрібних деталях з чавуну, сталі, кольорових сплавів та неметалічних матеріалів в умовах промислових підприємств, ремонтних майстерень та побутових майстерень.
Верстат 2А112 дозволяють виконувати такі операції:
Простота конструкції забезпечує легкість керування, надійність та довговічність верстатів.
Варіатор - основна особливість свердлувального верстата 2а112 . Варіатор - механізм безступінчастого регулювання швидкості обертання шпинделя від 700 до 4000 об/хв за постійної швидкості обертання валу двигуна. Оригінальна конструкція натягу ремінної передачі дозволяє не стежити за натягом ременя під час зміни швидкості обертання шпинделя.
Відлік глибини свердління провадиться по лімбу на валу рукоятки ручної подачі шпинделя.

Фото свердлильного верстата 2а112

Фото свердлильного верстата 2а112

Фото свердлильного верстата 2а112

Фото свердлильного верстата 2а112

Розташування основних вузлів свердлувального верстата 2а112

Розташування органів керування свердлильним верстатом 2а112

Кінематична схема свердлильного верстата 2а112
Кінематична схема свердлильного верстата 2А112. Дивитись у збільшеному масштабі
Привід головного руху осуществляется от електродвигуна ДПД22—4 или А09 через клиноременную передачу (текстропный ремень клинообразного профиля). Рух передається от ведущего шкива к ведомому і далее на шпиндель і инструмент.
Скорость обертання шпинделя бесступенчато регулируется при помощи гайки, расположенной под шкивом шпинделя. При выкручивании гайки через упорный подшипник увеличивается давление на нижнюю часть шкива-варіатора, диаметр шкива увеличивается, скорость обертання шпинделя умньшается. Натяжение приводного ремня при етом увеличивается, что приводит к тому, что половинки приводного шкива раздвигаются і диаметр шкива уменьшается, а натяжение реня остается постоянным.
Верстат работает з ручной подачей. Подача осуществляется от рукоятки через реечную шестерню 3, пиноль 2 і радиально-упорный подшипник к ней. Высота шпиндельной бабки устанавливается рукояткой з реечной шестерней 4 і зажимается рукояткой зажиму на колонне.
ВНИМАНИЕ!
Скорость переключать только на ходу.

Принцип роботи варіатора сверлильного верстата 2а112
На рисунке слева показан ведущий шкив сверху которого прижимная пружина в разрезе в разжатом і сжатом состоянии. Усилие прижимной пружины регулирует натяжение ремня.
Справа - ведомый шкив знизу которого упорный подшипник в разрезе. Упорный подшипник находится между нижней тарелкой шкива і круглой гайкой, регулирующей диаметр ведомого шкива.

Шпиндель з вариатором в сборе

Шпиндель з вариатором в сборе

Детали варіатора і шпинделя верстата

Детали варіатора і шпинделя верстата

Детали приводного шкива верстата 2а112
Верхний конец пружины упирается в дно стакана, навинченного на втулку, нижний конец упирается в штифт верхней тарелки составного шкива.
Нижня тарелка шкива закреплена нерухомо на втулке, верхняя тарелка перемещается по втулке, в зависимости от силы натяжения ремня і налаштування пружины, изменяя тем самым диаметр шкива.

Детали варіатора сверлильного верстата 2а112

Пиноль і шпиндель сверлильного верстата 2а112

Механізм подъема і опускания пиноли в сборе
Механізм подъема і опускания пиноли состоит:

Детали механізм подъема і опускания пиноли

Механізм подъема і опускания шпиндельной бабки

Детали механізм подъема і опускания шпиндельной бабки

Механізм зажиму шпиндельной бабки на колонне

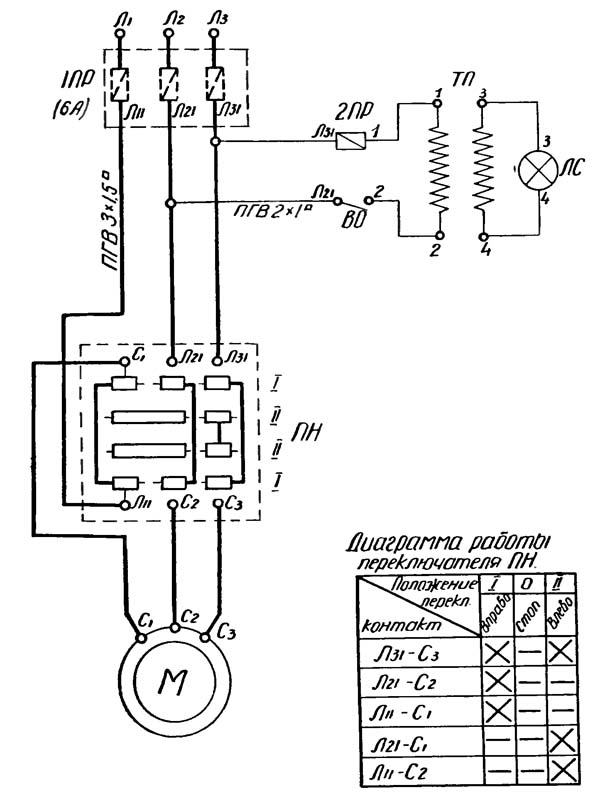
Електрична схема сверлильного верстата 2а112
| Наименование параметра | 2М112 | 2А112 |
|---|---|---|
| Основні параметри верстата | ||
| Наибольший диаметр сверления, мм | 12 | 12 |
| Наименьшее і наибольшее расстояние от торца шпинделя до стола | 0..400 | 0..400 |
| Відстань від осі вертикального шпинделя до направляючих стійки (виліт), мм | 190 | 160 |
| Робочий стіл | ||
| Ширина робочої поверхні столу, мм | 250 | 250 x 280 |
| Число Т-подібних пазів | 3 | 1 |
| Шпиндель | ||
| Найбільше переміщення шпиндельної головки (траверси) колоною, мм | ||
| Хід гільзи шпинделя, мм | 100 | 100 |
| Частота обертання шпинделя, об/хв | 450, 800, 1400, 2500, 4500 | 400..4000 |
| Кількість швидкостей шпинделя | 5 | б/с |
| Конус шпинделя | Морзе В18 | Морзе 2А |
| Привід | ||
| Електродвигун приводу головного руху, кВт | 0,55 | 0,5 |
| Габарит та маса верстата | ||
| Габарити верстата (довжина ширина висота), мм | 795 х 370 х 950 | 700 х 300 х 800 |
| Маса верстата, кг | 120 | 100 |