metalinstryment.com
Довідник по металорізальних верстатів та пресовому обладнанні

СФ-676 Електроустаткування верстата
Електросхема верстата

Універсальный фрезерный верстат СФ-676







Відомості про виробника фрезерного універсального верстата СФ-676

Верстат фрезерный універсальний СФ-676 выпускался заводом Сельмаш https://selmash.group/ г. Киров з 70 х годов прошлого века.

С 2012 года серийное производство фрезерного верстата СФ-676 освоено компанией Вятский Станкостроительный Завод, ООО, сайт: http://vsp-kirov.ru/.






СФ-676 Верстат фрезерный широкоуніверсальний. Назначение і область применения

Широкоуніверсальний фрезерный верстат СФ-676 был разработан Одесским Специальным Конструкторским Бюро Прецизионных Станков (СКБ ПС) при Одесском Заводе Фрезерных Станков им. Кирова (ОЗФС), которое было назначено головным в разработке координатно-расточных і широкоуниверсальных фрезерных верстатів.

Фрезерный верстат СФ-676 предназначен для фрезерування деталей цилиндрическими, дисковыми і фасонными фрезами при помощи горизонтального шпинделя, і торцовыми, кінцівыми і шпоночными фрезами при помощи вертикального поворотного шпинделя.

На станке можно выполнять, также, сверление і рассверливание, центрование, цекование, зенкерование, развертывание, растачивание.

Дополнительная оснастка і приспособления, предлагаемые производителем верстата, позволяют помимо фрезерування выполнять, также, долбление, нарезание різьби і другие операции.

Універсальный фрезерный верстат СФ676 наиболее предпочтительно использовать в инструментальных цехах машиностроительных заводов или мастерских для изготовления небольших пристосувань, инструмента, рельефных штампов і прочих изделий.

Принцип роботи і особливості конструкції верстата

Фрезерный верстат СФ-676 имеет два шпинделя - горизонтальный і вертикальний (поворотный), которые позволяют обрабатывать сложную заготовку без її переустановки на рабочем столе, что существенно повышает производительность.

На станке СФ676 можно выполнять ряд фрезерных і расточных работ з високою точностью, которая може быть достигнута, если верстат установлен в помещении з постоянной температурой 20±2°С і влажностью 65±5%, если вблизи верстата нет источников тепла і вибрации.

Широкий диапазон оборотів шпинделя і подач, наличие механических подач і быстрых перемещений обеспечивают економичную обработку различных деталей в оптимальных режимах.

Горизонтальный і вертикальний шпиндели находятся в шпиндельной бабке і соединены друг з другом зубчатой передачей.

Шпиндельная бабка смонтирована на горизонтальных направляючих і осуществляет поперечную подачу на станке. Поперечная подача шпиндельной бабки може производится от двигуна через коробку подач (16 подач от 13 до 395 мм/мин) или вручную от маховика.

Коробка швидкостей сообщает горизонтальному і вертикальному шпинделям 16 различных швидкостей обертання (50-1630 і 63..2040 об/мин соответственно).

Класс точності верстата Н.

Особливості конструкції універсального фрезерного верстата СФ-676


Модифікації і обозначения універсального фрезерного верстата СФ-676 (ТУ-3816-001-67559892) ООО "ВСЗ"





СФ-676 Габаритные розміри робочого простору фрезерного верстата

Габаритные розміри робочого простору фрезерного верстата СФ676

Габаритные розміри робочого простору фрезерного верстата СФ-676


СФ-676 Посадочные і присоединительные базы фрезерного верстата

Посадочные і присоединительные базы верстата СФ676

Посадочные і присоединительные базы фрезерного верстата СФ-676


СФ-676 Загальний вигляд широкоуніверсального фрезерного верстата

Фото універсального фрезерного верстата СФ-676

Фото універсального фрезерного верстата СФ-676 производства ВСЗ



Фото універсального фрезерного верстата СФ-676

Фото універсального фрезерного верстата СФ-676 производства ВСЗ

Фото універсального фрезерного верстата СФ-676. Дивитись у збільшеному масштабі



СФ-676 Загальний вигляд  широкоуніверсального фрезерного верстата

Фото фрезерного верстата СФ-676


Фото універсального фрезерного верстата СФ-676

Фото універсального фрезерного верстата СФ-676

Фото універсального фрезерного верстата СФ-676. Дивитись у збільшеному масштабі



СФ-676 Загальний вигляд  широкоуніверсального фрезерного верстата

Фото фрезерного верстата СФ-676


СФ-676 Загальний вигляд  широкоуніверсального фрезерного верстата

Фото фрезерного верстата СФ-676 з УЦИ


СФ-676 Загальний вигляд  широкоуніверсального фрезерного верстата

Фото фрезерного верстата СФ-676 горизонтальный шпиндель


СФ-676 Маслостанція фрезерного верстата СФ-676

Маслостанція фрезерного верстата СФ-676


Розташування органів керування консольно-фрезерным верстатом СФ-676

Розташування органів керування консольно-фрезерным верстатом СФ-676

Розташування органів керування фрезерным верстатом СФ-676

Розташування органів керування фрезерным верстатом СФ-676. Дивитись у збільшеному масштабі



Список органів керування консольно-фрезерным верстатом СФ-676

  1. Выключатель електронасоса
  2. Выключатель сети
  3. Упоры отключения механической вертикальной подачі
  4. Маховик ручного переміщення стола в вертикальном направлении
  5. Маховик ручного переміщення стола в горизонтальном направлении
  6. Рукоятка ускоренного ходу суппорта і шпиндельной бабки
  7. Рукоятка увімкнення горизонтальной і вертикальной механической подачі стола
  8. Диск набора швидкостей
  9. Рукоятка ручной подачі вертикального шпинделя
  10. Винты зажиму хобота шпиндельной бабки і хобота вертикального шпинделя
  11. Квадрат зажиму инструмента в горизонтальном шпинделе
  12. Рукоятка зажиму трубки охлаждения
  13. Выключатель освещения
  14. Упоры отключения механической поперечної подачі
  15. Маховик ручного обертання шпинделя
  16. Кнопки керування "пуск" і "стоп"
  17. Рукоятки увімкнення швидкостей
  18. Рукоятка увімкнення подач
  19. Диск набора подач
  20. Реверсирование двигуна
  21. Упоры отклонения механической поздовжньої подачі
  22. Рукоятка зажиму стола в горизонтальном направлении
  23. Рукоятка зажиму гильзы вертикального шпинделя
  24. Рукоятка зажиму суппорта в вертикальном направлении
  25. Маховик ручной подачі шпиндельной бабки
  26. Рукоятка зажиму шпиндельной бабки
  27. Установка вертикальной головки в нулевое положение
  28. Рукоятка увімкнення механической подачі шпиндельной бабки
  29. Упор величины переміщення вертикального шпинделя
  30. Квадрат зажиму конуса инструмента в вертикальном шпинделе

Список складових частин широкоуніверсального фрезерного верстата СФ-676

Дополнительная спецификация широкоуніверсального фрезерного верстата СФ-676






Електроустаткування фрезерного инструменального верстата СФ676. 2001 год

Питание ланцюгів електроустаткування осуществляется следующими напряжениями:

Електроустаткування верстата предназначено для подключения к трехфазной сети переменного тока з глухозаземленным или изолированным нейтральным проводом.

На станке установлены четыре трехфазных короткозамкнутых асинхронных електродвигуна:


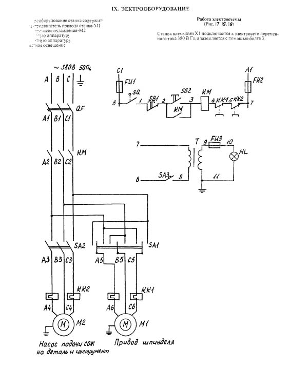
Схема електрична фрезерного верстата СФ-676

Схема електрична фрезерного верстата СФ-676

Електрична схема фрезерного верстата СФ-676


Список елементів електрической схеми фрезерного верстата СФ-676

Список елементів електрической схеми фрезерного верстата СФ-676


Схема розположення електроустаткування фрезерного верстата СФ-676

Схема розположення електроустаткування фрезерного верстата СФ-676

Схема розположення електроустаткування фрезерного верстата СФ-676. Дивитись у збільшеному масштабі



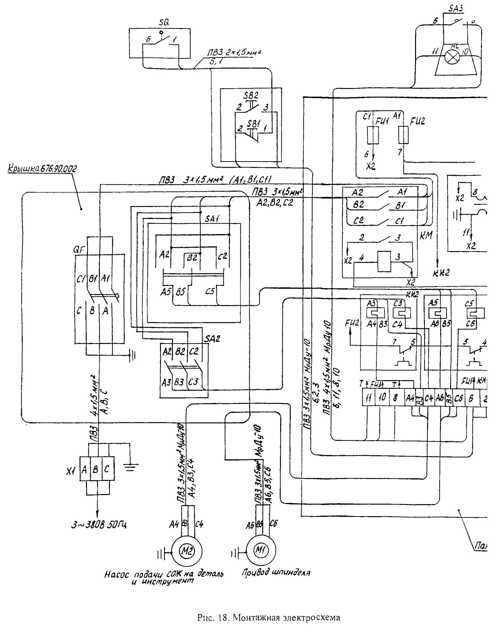
Монтажная електросхема електроустаткування фрезерного верстата СФ-676

Монтажная електросхема електроустаткування фрезерного верстата СФ-676

Монтажная електросхема електроустаткування фрезерного верстата СФ-676. Дивитись у збільшеному масштабі




Наладка фрезерного верстата СФ676

Наладка верстата производится следующим образом:

  1. Установка инструмента
  2. Установка числа оборотів
  3. Установка величины подачі
  4. Установка пристосувань і приладдя

Установка выбранного числа оборотів шпинделей і величины подачі стола производится селективными механізмами, опис которых дано в разделе "Опис конструкції верстата і его приладдя" Все принадлежности, прилагаемые к верстату, даны в етом же разделе.

Для роботи горизонтальным шпинделем (рис. 14) отвинчивают винты (10) (см. рис. 5), сдвигают вертикальную головку (рис.15), выводя из зацепления цилиндрическое зубчатое колесо вертикальной головки з зубчатым колесом (9) (см. рис.14), і осторожно (масса вертикальной головки 48 кг.) снимают ее.

Допускается снятие вертикальной головки раздельно: сначала, отвинтив винты з внутренним шестигранником, снимают вертикальний шпиндель, затем малый хобот (18) (см. рис.15).

При работе горизонтальным шпинделем обычно применяют цилиндрические или дисковые фрезы, которые устанавливаются на фрезерных оправках. Конусная хвостовая часть оправки входит в отверстие шпинделя і затягивается шомполом. Свободный конец оправки поддерживается серьгой (17) (см.рис.14), сидящей на хоботе (11). При етом бережно следует обращаться з оправками, установочними кольцами, затяжной гайкой, инструментом, не допуская образования забоин на конусных поверхностях і торцах.

Для роботи вертикальной головкой (рис. 15) хобот (11) (см. рис. 14) з серьгой (17) снимают, предварительно отвинтив винты з внутренним шестигранником. Затем ставят вертикальную головку в верхние направляющие шпиндельной бабки (рис. 14) до зацепления цилиндрического зубчатого колеса вертикальной головки з зубчатым колесом (9) (см. рис. 14) і зажимают гвинтами (10) (см. рис.5) з внутренним шестигранником.

При работе вертикальным шпинделем применяют кінцівые і торцевые фрезы. Насадные фрезы устанавливаются на консольные оправки. Хвостовая часть фрезы или оправки устанавливается в конусе шпинделя і затягивается шомполом.

Для роботи фрезами, имеющими цилиндрическую хвостовую часть, к верстату прилагается цанговый патрон з набором цанг.

В конусное отверстие шпинделей могут быть установлены также сверла или оправки з резцами, что позволяет производить на станке сверлильные или расточные роботи.

При работе фрезами или сверлами з конусом Морзе 4, 3, 2, 1, применяются переходные втулки.




СФ-676 Верстат фрезерный широкоуніверсальний. Відеоролик.




Технічні характеристики фрезерного верстата СФ-676

Наименование параметра СФ676 680 680-М
Основні параметри верстата
Класс точності по ГОСТ 8-82 Н Н Н
Розміри горизонтального (углового) стола, мм 250 х 800 225 х 750 225 х 750
Розміри вертикального стола, мм 250 х 630
Максимальная масса обрабатываемой детали, кг 100
Расстояние от оси горизонтального шпинделя до рабочей поверхности горизонтального стола, мм 80..460 15..315 30..300
Расстояние от торца вертикального шпинделя до рабочей поверхности горизонтального стола, мм 0..350
Наибольший вылет оси вертикального шпинделя, мм 125..375
Наибольшее расстояние от оси шринделя до хобота, мм 125 125
Наибольшее расстояние от торца шринделя до підшипника подвески, мм 330 330
Наибольший продольный ход стола (X), мм 450 450 450
Наибольший ход шпиндельной бабки (Y), мм 300
Наибольший поперечний ход стола (при снятой стойке) (Y), мм 150 150
Наибольший вертикальний ход стола (Z), мм 380 300 300
Цена деления лимбов, мм 0,05
Горизонтальный шпиндель верстата
Частота обертання горизонтального шпинделя, об/мин (число ступеней) 50..1630 (16) 47,5..530 (8) 47,5..530 (8
Частота обертання вертикального шпинделя, об/мин (число ступеней) 63..2040 (16)
Количество швидкостей шпинделей 16 8 8
Наибольшее осевое перемещение вертикального шпинделя, мм 80
Наибольший угол поворота вертикальной головки в вертикальной плоскости, градус ±90°
Конус горизонтального і вертикального шпинделей 40АТ5
Морзе 4
Пределы подач шпиндельной бабки, мм/мин (число ступеней) 13..395 (16)
Количество подач шпиндельной бабки 16
Наибольшее усилие різання, допускаемое/ предельное механізмом подач, Н 5500/ 6000
Допустимое значение осевой составляющей силы різання, действующей на вертикальний шпиндель, не более, Н 1300
Стол
Пределы продольных подач стола (X), мм/мин 13..395 16..475 (16) 16..475 (16)
Пределы вертикальних подач стола (Z), мм/мин 13..395 16..475
Пределы поперечных подач стола (Y), мм/мин 13..395 15..468
Ускоренный ход стола, мм/мин 935
Електроустаткування і привід верстата
Напряжение силовой ланцюги ~ 380 В 50 Гц ~ 380 В 50 Гц ~ 380 В 50 Гц
Напряжение ланцюги освещения ~ 24 В 50 Гц
Мощность двигуна головного привода, кВт (об/мин) 3 (1500) 3,14 (1430) 3,14 (1430)
Мощность двигуна електронасоса СОЖ, кВт (об/мин) 0,12 (2800)
Суммарная мощность електродвигателей, кВт 3,12
Габарит і масса верстата
Габарити верстата (длина х ширина х высота), мм 1200
1240
1780
1280 х 1330 1280 х 1330
Масса верстата, кг 1050 800 800


    Список литературы:

  1. Верстат специализированный фрезерный СФ 676. Руководство по устройству і експлуатации. Сельмаш, 1980 год
  2. Верстат специализированный фрезерный СФ 676. Руководство по устройству і експлуатации. ФГУП Сельмаш, 2001 год
  3. Инструкция по уходу і обслуговування универсально-фрезерного верстата типа 680 і горизонтально-фрезерного верстата типа 680-М. ГЗФС им. Л.М. Кагановича, 1937

  4. Аврутин С.В. Основы фрезерного дела, 1962
  5. Аврутин С.В. Фрезерне дело, 1963
  6. Ачеркан Н.С. Металлорежущие верстати, Том 1, 1965
  7. Барбашов Ф.А. Фрезерне дело 1973, с.141
  8. Барбашов Ф.А. Фрезерные роботи (Профтехобразование), 1986
  9. Блюмберг В.А. Справочник фрезеровщика, 1984
  10. Григорьев С.П. Практика координатно-расточных і фрезерных работ, 1980
  11. Копылов Р.Б. Работа на фрезерных верстатах,1971
  12. Косовский В.Л. Справочник молодого фрезеровщика, 1992, с.180
  13. Кувшинский В.В. Фрезерование,1977
  14. Ничков А.Г. Фрезерные верстати (Библиотека станочника), 1977
  15. Пикус М.Ю. Справочник слесаря по ремонту металлорежущих верстатів, 1987
  16. Плотицын В.Г. Расчёты настроек і наладок фрезерных верстатів, 1969
  17. Плотицын В.Г. Наладка фрезерных верстатів,1975
  18. Рябов С.А. Современные фрезерные верстати і их оснастка, 2006
  19. Схиртладзе А.Г., Новиков В.Ю. Технологическое обладнання машиностроительных производств, 1980
  20. Тепинкичиев В.К. Металлорежущие верстати, 1973
  21. Чернов Н.Н. Металлорежущие верстати, 1988
  22. Френкель С.Ш. Справочник молодого фрезеровщика (3-е изд.) (Профтехобразование), 1978






СФ-676 Паспорт широкоуніверсального консольно-фрезерного верстата, (djvu) 1,1 Мб, Скачать




Заказать