metalinstryment.com
Довідник по металорізальних верстатів та пресовому обладнанні

ЦМР-1 Верстат многопильный прирезной для поздовжньої распиловки
Схеми, опис, характеристики

ЦМР-1 Верстат многопильный прирезной для поздовжньої распиловки







Відомості про виробника круглопильного верстата ЦМР-1

Производителем круглопильного прирезного верстата ЦМР-1 является Новозыбковский станкостроительный завод, НСЗ г. Новозыбков Брянская обл., основанный в 1947 году.






ЦМР-1 Верстат круглопильный прирезной для поздовжньої распиловки досок. Назначение, область применения

Верстат многопильный прирезной (делительный) ЦМР-1 предназначен для точной поздовжньої распиловки в размер по ширине обрезных і необрезных досок і двухкантных брусьев на бруски требуемой ширины.

Многопильный верстат ЦМР-1 применяется в мебельном, столярном і в других деревообрабатывающих производствах. Особенно еффективно применение етого верстата при выпиливании заготовок со строго прямолинейными сторонами.

Новозыбковский станкостроительный завод на протяжении сорока з лишним лет производит многопильные круглопильные верстати серии ЦМР (ЦМР-1, ЦМР-2, ЦМР-3, ЦМР-4, ЦМР-4М, ЦМР-4Н, ЦМР-5), постоянно работая над их усовершенствованием і расширяя их технологические возможности.


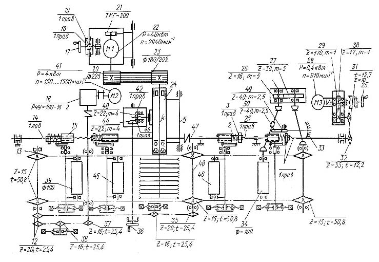
Кінематична схема круглопильного верстата ЦМР-1

Кінематична схема круглопильного верстата ЦМР-1

Кінематична схема круглопильного верстата ЦМР-1. Дивитись у збільшеному масштабі



Механізм пильного вала

Крепление пил в многопильном станке

Крепление пил в многопильном станке

Крепление пил в многопильном станке . Дивитись у збільшеному масштабі



Розташування пильного вала верхнее консольное. Привід пильного вала осуществляется от асинхронного елекродвигуна 28 кВт, через клиноременную передачю, что существенно снижает вибрацию і увеличивает долговечность підшибниківых опор вала.

Пилы в станке ЦМР-1 устанавливаются на пильном валу стационарно (не регулируются). Расстояние между ними устанавливается з помощью калиброванных по толщине колец.

Применение оправок на верстатах ЦМР-1 нецелесообразно из-за большой массы. Поетому комплект пил, подобранных по диаметру і з подобранными промежуточными кольцами, устанавливают, набирая на шпиндель верстата по отдельности, как показано на рис. 10, д. Для передачи крутящего момента от шпинделя к пилам применяют длинную шпонку.

Конструкція верстата ЦМР-1 передбачає установку на консольный (закрепленный з одной стороны) пильный вал до 10-ти дисковых пил, что позволяет производить их быструю замену.

Высокая точность пильного вала достигается применением радиально – упорных шарикопідшибників шестого класса точності.

Подъем і опускание пильного вала осуществляется вручную за счет ексцентрикового механізма вручную маховичком, расположенным на фронтальной стороне станины верстата.

Механізм подачі заготовки

На станке ЦМР-1 механізм подачі пиломатериала выполнен в виде широкой гусеничной ланцюги, состоящей из рифленых звеньев, перемещающихся по текстолитовым направляющим, что обеспечивает высокую точность пропила.

Под вращающейся пилкою направляющие конвейера имеют разрыв. Здесь установлены два сектора, обеспечивающие «ныряние» ланцюги. Благодаря етому зубья пил выходят из пропила і не касаются конвейера.

Прижим заготовок к ланцюги производится двумя парами неприводных подпружиненных роликов.

В первых серийных верстата ЦМР-1 привід подачі осуществлялся от головного електродвигуна.

В дальнейшем для приводу подачі осуществляется от отдельного електродвигуна 2,8 кВт через редуктор і вариатор, который позволяет производить бесступенчатую регулировку величины подачі в диапазоне от 6 до 30 м/мин.

Регулювання скорости подачі материала производится исходя из требуемого уровня шероховатости обработанной поверхности і достаточной мощности механима різання.

Для базирования і правильного направления заготовок служит направляющая линейка, устанавливаемая по шкале.

Отличительные особливості верстатів серии ЦМР:

Конструкція верстата соответствует требованиям техники безопасности, предъявляемым к оборудованию данного типа:


Модифікації многопильного прирезного верстата ЦМР-1

Круглопильный прирезной верстат ЦМР-1 - первый верстат серии многопильных верстатів Новозыбковского завода (НСЗ).

По мере совершенствования верстата завод выпускал новые моделі прирезных верстатів, которые отличались улучшенными характеристиками: толщиной пропила, более високою производительностью, степенью автоматизации.




ЦМР-2 Круглопильный многопильный верстат з конвейерной подачей

Конструктивная компоновка верстата ЦМР-2 такая же как у верстата ЦМР-1, но имеет улучшенные характеристики.

Фото круглопильного верстата ЦМР-2

Фото круглопильного верстата ЦМР-2


Фото круглопильного верстата ЦМР-2

Фото круглопильного верстата ЦМР-2


Схема многопильного прирезного верстата ЦМР-2

Схема многопильного прирезного верстата ЦМР-2.



Кінематична схема круглопильного верстата ЦМР-2

Кінематична схема круглопильного верстата ЦМР-2



Схема многопильного прирезного верстата ЦМР-2

Схема многопильного прирезного верстата ЦМР-2. (Рис. 22 в)

Схема многопильного прирезного верстата ЦМР-2. Дивитись у збільшеному масштабі



Розташування складових частин круглопильного верстата ЦМР-2

Розташування складових частин круглопильного верстата ЦМР-2

Розташування складових частин круглопильного верстата ЦМР-2. Дивитись у збільшеному масштабі



Механізм пильного вала

Мощность головного електродвигуна верстата ЦМР-2 40 кВт, что значительно выше чем у верстата ЦМР-1 - 28 кВт.

Верстат ЦМР-2 (рис. 22г, і 25) имеет верхнее расположение пил 1.

Десять пил собраны на оправке. Расстояние между ними устанавливается з помощью калиброванных по толщине колец. Комплект смонтированных на оправке пил зажимается в осевом направлении гайками. Установка пил на оправку, і подготовка их к работе производятся в заточной мастерской, за счет чего значительно повышается качество распиловки і сокращает длительность смены инструмента. На шпинделе верстата оправка фиксируется специальными гайками.

Привід пильного диска закреплен на подмоторной плите і для швидкого останова оборудован тормозом.

Механізм головного руху 8 отличается значительно удлиненной (до 340 мм) консольной частью для установки до 10 пил. Пилы собирают на отдельной оправке или на пильный вал устанавливают каждую пилу самостоятельно з применением калиброванных колец. Настройку пильного вала на применяемый диаметр круглых пил производят вручную маховичком 2, расположенным на фронтальной стороне станины верстата 1. Привід пильного вала осуществляется от електродвигуна мощностью 40 кВт через клиноременную передачу.




Механізм подачі заготовки

Механізм подачі состоит из конвейера 4, подающего вальца 11, прижимных вальцов 7 і секционного прижима 9. Конвейер включает в себя опорную раму, рифленую гусеничную ланцюг 5 шириной 300 мм, направляющие 3 (одна угловая, а вторая плоская), две пары приводных звездочек і одну пару неприводную. Верхние прижимные вальцы настраивают на толщину распиливаемого материала при помощи механізма прижима, керування которым осуществляется от отдельного електродвигуна і вручную маховичком 13. Положение вальцов контролируют по шкале. Усилие прижима создается пружинами, регулируемыми специальными гайками. Передний прижимной валец приводится карданными валами от конвейера. Бесступенчатое изменение скорости подачі конвейера осуществляется електроприводом постоянного тока.

Правильное направление распиливаемого материала обеспечивается направляющей линейкой 14, устанавливаемой по шкале.

Элементы безопасности представляют собой два ряда защитных когтей 6 і один нижний ряд 15, расположенных в зоне нагрузки.

Кроме того, на выходе установлен еще один ряд верхней когтевой защиты 6, а сбоку установлена пластинчатая завеса 12 для предотобертання обратного выбрасывания материала в процессе распиливания. Электропривід пильного вала і подающего конвейера сблокирован з ограждающими пристроями верстата (дверца пильного вала 10, когтевая защита 6 і ограждение ременной передачи), пуск верстата возможен при их рабочем положении

Базирующим елементом механізма подачі является конвейерная ланцюг 10 шириной 300 мм. Она состоит из звеньев, собранных на осях з роликами на концах. До пил і після них ланцюг движется по прямолинейным направляющим, в зоне распиловки – по верхним изогнутым по радиусу направляющим. Ролики заходят под них, і гусеница "ныряет" под пилы. Благодаря такому устройству гусеницы на пильном валу можно устанавливать набор пил з любыми промежутками между ними.

Привід механізма подачі осуществляется от електродвигуна постоянного тока, при етом обеспечивается бесступенчатое регулювання скорости подачі в диапазоне 6... 60 м/мин. Вращение от двигуна через червячный редуктор 16 і цепные передачи 37, 12 і 12, 35 передається на два приводных туера 13 і 48 конвейерной ланцюги. Привід переднего прижимного вальца 34 осуществляется через блок шестерен 27, 26 і карданные валы. Два приводных туера і верхние приводные вальцы обеспечивают устойчивую подачу заготовок. Верстат имеет принудительную смазку.

Конвейерная ланцюг 8 з рифлеными гусеницами перемещается от двух пар приводных звездочек 9 по направляющим 12. Для лучшего распределения тягового зусилля в ету схему введена вторая (средняя) пара ведущих звездочек, причем расположение их выбрано так, чтобы обеспечить «ныряние» гусеницы в районе пил. В етом месте прерываются і направляющие для ланцюгів. В станке етой моделі принудительное вращательное рух сообщается первому верхнему прижимному вальцу 10, что обеспечивает лучшее вхождение в механізм подачі без приложения ручного зусилля переднего торца обрабатываемой древесины.

Для обеспечения безопасной роботи на станке предусмотрено три ряда верхней когтевой защиты 6 і один ряд нижней 7.

Для распиливания тонких (до 10 мм) і коротких (длиной от 450 мм) заготовок на станке около пилы устанавливается секционный прижим 15, соединенный з прижимными вальцами 10.

Технічні параметри і технологические возможности верстатів ЦМР-1 / ЦМР-2:




ЦМР-4, ЦМР-4М, ЦМР-4Н Круглопильный многопильный верстат тяжелого типа з конвейерно-вальцовой подачей

Фото круглопильного верстата ЦМР-4М

Фото круглопильного верстата ЦМР-4М


Фото круглопильного верстата ЦМР-4Н

Фото круглопильного верстата ЦМР-4Н


ЦМР-4 следующая модель круглопильного верстата серии ЦМР, которая отличается от предыдущих моделей (ЦМР-1, ЦМР-2, ЦМР-3) большей производительностью і автоматизацией.

Основні коструктивные решения і компоновка верстата ЦМР-2 такие же как у верстата ЦМР-2 і ЦМР-3, но имеет улучшенные характеристики.

Конструкція передбачає установку до 10-ти дисковых пил. Розташування пильного вала верхнее консольное. Привід от головного електродвигуна через упругую муфту. Налаштування на различную ширину заготовок производится проставочными кольцами. Для базирования і правильного направления заготовок служит направляющая линейка, устанавливаемая по шкале.

Распиливаемый материал подается в зону різання гусеничной ланцюгю звенья, которой движутся по призматическим направляющим. В зоне пиления гусеничная ланцюг «ныряет» по сегментным направляющим. Обрабатываемый материал прижимается к гусеничной ланцюги прижимным суппортом з подпружиненными роликами. Налаштування на различную толщину осуществляется вертикальным переміщенням суппорта з помощью маховика.




Верстат круглопильный прирезной ЦМР-5

Многопильный верстат ЦМР-5 начинает новое поколение многопильных верстатів. Начало выпуска верстата 2002 год.

Фото круглопильного прирезного верстата ЦМР-5

Фото круглопильного прирезного верстата ЦМР-5

Фото круглопильного прирезного верстата ЦМР-5. Дивитись у збільшеному масштабі



Фото круглопильного прирезного верстата ЦМР-5

Фото круглопильного прирезного верстата ЦМР-5

Фото круглопильного прирезного верстата ЦМР-5. Дивитись у збільшеному масштабі



Пиление на одновальном круглопильном станке

Пиление на одновальном круглопильном станке


Пиление на двухвальном круглопильном станке

Пиление на двухвальном круглопильном станке


Пильные валы расположены консольно что позволяет быстро производить замены дисковых пил. Высокая точность пильного вала достигается применением радиально - упорных шарикопідшибників шестого класса точності. Конструкція пильного вала позволяет устанавливать на нем до 10 дисковых пил диаметром 360 мм. і расстоянием между крайними пилами 400 мм.

Применение в станке 2-х пильных валов дает возможность распиливать брус толщиной до 200 мм пилами малого диаметра з високою скоростью різання, что повышает качество получаемого на станке пиломатериала.

Конструкція верстата передбачає возможность распиловки заготовки толщиной до 100 мм одним верхним пильным валом. Это значительно снижает енергозатраты, економит режущий инструмент. При пилении заготовок толщиной от 100 до 200 мм. предусмотрено программное позиционирование пильных валов для равномерной загрузки двигуна привода.

Привід пильного вала осуществляется от асинхронного електродвигуна мощностью 55 кВт і частотой обертання 2940 об/мин через клиноременную передачу, что значительно снижает вибрации передаваемые от работающего двигуна на пильный вал і увеличивает долговечность підшибниківых опор вала, способствует повышению качества обрабатываемых поверхностей.

Механізм подачі пиломатериала выполнен в виде конвейерной гусеничной ланцюги, состоящей из двух контуров, расположенных спереди і сзади нижнего пильного вала. Рифленые звенья гусеничной ланцюги перемещаются по текстолитовым направляющим, что обеспечивает высокую точность переміщення заготовки і прямолинейность пропила. Централизованная смазка осуществляется от смазочной насосной станції, которая включается одновременно з пуском верстата.

Принудительной змазки подвергаются підшипники пильного вала, направляющие гусеничной ланцюги і приводные ланцюги механізма подачі.

Предусмотрено ручное і автоматическое позиционирование пильных валов і механізма прижима. Ручное позиционирование применяется в наладочном режиме і осуществляется от кнопок, обеспечивающих индивидуальное перемещение механізмов.

При автоматическом позиционировании размер заготовки задается кнопками на пульті керування і установка пильных валов происходит автоматически.

На пульті керування предусмотрена световая сигналізація о работе насоса змазки, включении приводов верхнего і нижнего пильного вала, і о готовности верстата к работе в автоматическом режиме позиционирования. Для увеличения выхода готовой продукции при пилении предусмотрены два лазерных разметочных пристроя, которые дают на заготовку световые линии, указывающие положения крайних пил.

ЦМР-5 - новое поколение многопильных верстатів С начальником конструкторского отдела ООО " Новозыбковский станкостроительный завод" Чувиным Николаем Ивановичем, встретился наш собственный корреспондент і попросил рассказать о многопильном станке ЦМР-5, которые производятся на предприятии в данный момент часу. Николай Иванович з уважением отнесется к нашей просьбе і рассказал следующее:

Новозыбковский станкостроительный завод на протяжении сорока з лишним лет производит многопильные круглопильные верстати моделі ЦМР (ЦМР-2, ЦМР-3, ЦМР-4, ЦМР-4М, ЦМР-4Н), постоянно работая над их усовершенствованием і расширяя их технологические возможности. Данные верстати отличают простота пристроя і высокая надежность в работе. Последней разработкой заводских конструкторов в етой области является верстат моделі ЦМР-5, выпуск, которых завод освоил в 2002 году.

Верстат круглопильный прирезной ЦМР-6, ЦМР-7

Наступні модификации круглопильных верстатів ЦМР-6, ЦМР-6.01, ЦМР-7, ЦМР-7.01 различаются высотой пропила і типами регулировки скорости подачі: ступенчатое регулювання скорости подачі у ЦМР-6, ЦМР-7 і бесступенчатая регулировка у ЦМР-6.01, ЦМР-7.01




Наладка прирезных верстатів

При наладке прирезного верстата з гусеничной подачей следует:

  1. проверить полученную из инструментальной мастерской пилу; она должна мати правильно заточенные і профугованные зубья, отверстие для посадки на вал з зазором не более 0,05 мм; пила должна быть отбалансирована, не мати трещин і заусенцев;
  2. очистить шайбы і закрепить пилу, проверить осевое биение что зубьям (допуск 0,05 мм) і радиальное по окружности (допуск 0,1 мм). Установить расклинивающий нож в плоскости "пильного диска;
  3. опустить супорт пилы і надежно зафиксировать его в таком положении, чтобы пила находилась в канавке гусеницы, но не касалась її дна;
  4. проверить верстат, установить на размер вироби направляющую линейку, установить требуемую скорость подачі и, включив електродвигатель пилы і приводу подачі, произвести пробное распиливание;
  5. після выверки верстат должен давать:

Применение оправок на верстатах ЦМР-1 оказалось нецелесообразным из-за большой массы. Поетому комплект пил, подобранных по диаметру і з подобранными промежуточными кольцами, устанавливают, набирая на шпиндель верстата по отдельности, как показано на рис. 10, д. Для передачи крутящего момента от шпинделя к пилам применяют длинную шпонку.

В прирезных верстатах з конвейерной подачей применяют круглые плоские пилы з разведенными зубьями.

Величина развода зубьев пил должна быть, мм:

При пилении древесины хвойных пород:




При пилении твердых лиственных пород - 0,30..0,50

Кроме того, на етих верстатах можно использовать строгальные пилы, а также пилы, зубья которых оснащены пластинами из твердого сплава. Применение таких пил обеспечивает значительное повышение периода их роботи і качества пиления. Заготовку необходимой толщины целесообразно распиливать пилкою наименьшего диаметра.

Устанавливают і закрепляют пилы на шпинделе прирезного верстата так же, как в верстатах з роликодисковий подачей.

При работе строгальными пилами или пилами, оснащенными пластинами из твердого сплава, шпиндель верстата должен удовлетворять повышенному требованию к точності его обертання. Торцовое биение опорной шайбы допускается не более 0,02 мм на радиусе 50 мм. Пилу устанавливают на шпиндель так, чтобы її вращение было направлено против руху конвейера.

Положение роликов регулируют по высоте контрольным бруском или шаблоном (рис. 9.13). Шаблон 3 устанавливают на конвейер 4 і опускают прижимный супорт так, чтобы между нижней поверхностью корпуса 1 і шаблоном образовался зазор 30 мм. Вращая верхние гайки 5, удлиняют или укорачивают рабочую часть стержней 6 подвески прижимных роликов і добиваются, чтобы ролики касались поверхности шаблона. Величину натяга или ослабления пружин 7, прижимающих ролики к обрабатываемому материалу, регулируют, вращая нижние гайки 8. При пилении древесины твердых пород натяг следует увеличить, а мягких —уменьшить.

Для обеспечения правильного базирования заготовки на конвейере оси роликов должны быть перпендикулярны направлению подачі. Отклонение от перпендикулярности устраняют, поворачивая конец оси 9 подвески ролика вместе з ползуном 77. После регулировки ползун надежно закрепляют болтом 70. Beличину і направление поворота роликов определяют при пилении пробных заготовок. Если пиленая поверхность будет выпуклой, концы осей подвески переднего і заднего роликов следует сблизить, если вогнутой — развести.

Положение пилы по высоте регулируют, вращая маховичок налаштування суппорта пилы. Зубья пилы должны располагаться посередине поздовжньої канавки конвейера і не касаться її дна (зазор 2 — 3 мм).

Положение прижимного суппорта по высоте определяется толщиной распиливаемого материала. Чрезмерное давление прижимных роликов ведет к порче заготовки і преждевременному износу механізма подачі, а недостаточный прижим — к выбросу заготовки или неточному пилению. Расстояние от конвейера до роликов должно быть на 2 — 3 мм меньше толщины распиливаемой заготовки. Прижимный супорт настраивают, вращая маховичок подъема суппорта. Величину переміщення отсчитывают по шкале, укрепленной на станине.

При выборе скорости подачі круглопильного верстата следует одновременно учесть предельно допускаемую загрузку двигуна приводу механізма різання і заданную шероховатость поверхности пропила.

Скорость подачі по условию предельно допускаемой загрузки двигуна выбирают в зависимости от высоты пропила:

При пилении сухих досок из древесины мягких хвойных пород острой, хорошо подготовленной пилкою скорость подачі можно увеличить. По мере затупления пилы или при пилении твердой сырой древесины скорость подачі следует уменьшить. Скорость подачі регулируют маховичком. После налагодження пускают верстат і распиливают пробные заготовки.

Ниже приводятся допускаемые отклонения выпиленных деталей, мм:

Шероховатость пиленой поверхности Rmmax при пилении пилами, мкм:

При подготовке к работе і наладке многопильных прирезных верстатів все пилы, устанавливаемые на шпинделе одновременно (блок пил), должны быть одного диаметра. Для многопильного прирезного верстата з конвейерной подачей начальный диаметр пилы составляет 400 мм, толщина 2,8 мм, число зубьев 36. Диаметр dш промежуточных колец должен быть равен диаметру прижимной шайбы. Толщину колец выбирают в зависимости от толщины выпиливаемой дощечки і величины развода на одну сторону пил.

После закрепления пил шпиндель регулируют по высоте з учетом розположення нижних зубьев пил над выемкой «ныряющего» конвейера з зазором 2 — 3 мм. Для пиления необрезных досок направляющую линейку перемещают в крайнее правое положение і в работе не используют.

Суммарный зазор между упорами когтевой защиты должен быть не более 1 мм. При превышении допустимого зазору необходимо установить новое компенсационное кольцо между набором упором і рамкой когтевой защиты.

В остальных случаях наладка многопильных верстатів аналогична наладке однопильных прирезных верстатів.






ЦМР-1 Верстат многопильный прирезной для поздовжньої распиловки. Відеоролик.




Технічні характеристики верстата ЦМР-1

* Толщина (высота) материала зависит от количества утановленных пил:

Наименование параметра ЦМР-1 ЦМР-4 ЦМР-4М ЦМР-4Н ЦМР-5
Основні параметри верстата
Наибольшая ширина обрабатываемого материала, мм 0..315 0..400 0..400 0..600
Толщина обрабатываемого материала, мм 10..60* 10..120 25..145 50..160 40..200
Толщина выпиливаемых реек (Наименьшее расстояние между соседними пилами ... Наибольшее расстояние между крайними пилами), мм 7..30 10..250 10..250 10..250 10..400
Наименьшая длина обрабатываемого материала, мм 300 450 450 1000 1000
Количество устанавливаемых неподвижных пил 1..7, 10** 1..10 1..10 1..10 1..10
Количество пильных валов 1 1 1 1 2
Скорость подачі материала, м/мин 6..30 6..60 6..60 6..60 6..60
Число оборотів пильного вала, об/мин 3100 3480 2500 2500 3000
Диаметр дисковий пилы, мм 250..300 250..360 280..400 315..430 250..360
Електроустаткування верстата
Количество електродвигателей на станке, шт 2 2 3 4 5
Електродвигун пилы, кВт (об/мин) 28 (3000) 37 55 (2940) 55 (2940) 55 х 2 (2940)
Електродвигун подачі материала, кВт (об/мин) 2,8 5,5 (1500) 5,5 (1500) 5,5 (1500)
Електродвигун приводу подъема прижимных роликов, кВт (об/мин) - 0,25 (1500) 0,25 (1500) 0,55 (1000)
Електродвигун приводу подъема пильного вала, кВт (об/мин) - - - - 0,37 (1500)
Електродвигун приводу насоса змазки, кВт (об/мин) 0,09 (1500) 0,09 (1500) 0,09 (1500)
Габарит і масса верстата
Габарит верстата (длна х ширина х высота), мм 2185 х 1935 х 1335 2450 х 2520 х 1815 2450 х 2300 х 1815 2810 х 2300 х 1720 3550 х 2070 х 2350
Масса верстата, кг 2515 3960 3960 4000 7860

    Список литературы:

  1. Афанасьев А.Ф. Резьба по дереву, Техника, Инструменты, Изделия, 2014
  2. Бобиков П.Д. Мебель своими руками, 2004
  3. Борисов И.Б. Обработка дерева, 1999
  4. Джексон А., Дей Д. Библия работ по дереву, 2015
  5. Золотая книга работ по дереву для владельца загородного участка, 2015
  6. Ильяев М.Д. Резьба по дереву, Уроки мастера, 2015
  7. Комаров Г.А. Четырехсторонние продольно-фрезерные верстати для обробки древесины, 1983
  8. Кондратьев Ю.Н., Питухин А.В... Технология изделий из древесины, Конструирование изделий і расчет материалов, 2014
  9. Коротков В. И. Деревообрабатывающие верстати, 2007
  10. Лявданская О.А., Любчич В.А., Бастаева Г.Т. Основы деревообробки, 2011
  11. Любченко В.И. Рейсмусовые верстати для обробки древесины, 1983
  12. Манжос Ф.М. Дереворежущие верстати, 1974
  13. Расев А.И., Косарин А.А. Гідротермическая обработка і консервирование древесины, учебное пособие, 2010
  14. Рыженко В.И. Полная енциклопедия художественных работ по дереву, 2010
  15. Рыкунин С.Н., Кандалина Л.Н. Технология деревообробки, 2005
  16. Симонов М.Н., Торговников Г.И. Окорочные верстати, 1990
  17. Соловьев А.А., Коротков В.И. Наладка деревообрабатывающего оборудования, 1987
  18. Суханов В.Г. Круглопильные верстати для распиловки древесины, 1984
  19. Фокин С.В., Шпортько О.Н. Деревообработка, Технологии і обладнання, 2017
  20. Хилтон Билл Работы по дереву, Полное руководство по изготовлению стильной мебели для дома, 2017