Верстат вироблявся навчально-виробничими майстернями технікуму електронних приладів ім. П.М. Яблочкова м. Саратов.
Верстат призначений для свердління отворів у дрібних деталях із чавуну, сталі, кольорових сплавів та неметалічних матеріалів в умовах промислових підприємств, ремонтних та побутових майстерень.
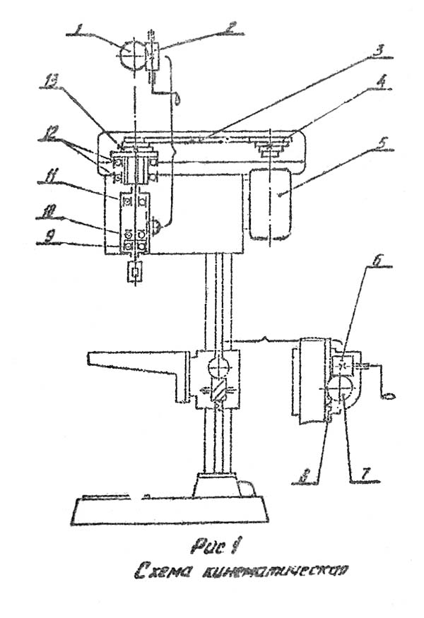
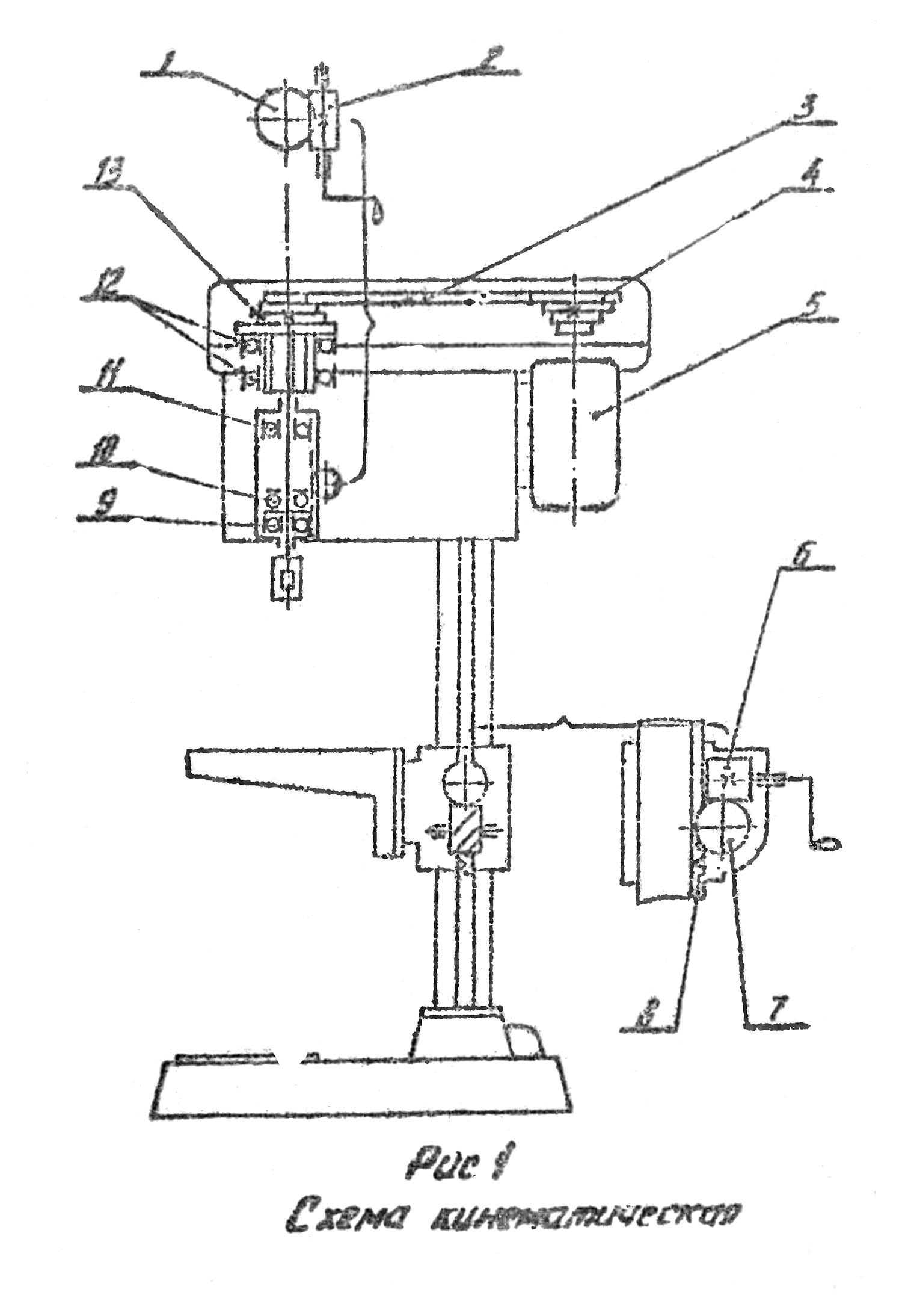
Шпиндельний вузол свердлувального верстата ЕМ-102 - найскладніший і найточніший вузол у верстаті. Шпиндельний вузол монтується у шиндельній бабці. Основні деталі шпиндельного вузла:
Верхня частинина шпинделя має шліци, щоб одержати обертання від приймального шківа, нижня частинина має конус Морзе для кріплення свердлильного патрона.
Шпиндель верстата ЕМ-102 отримує 4-ї швидкості обертання від 4-ступінчастиних шківів приводу, що забезпечує вибір швидкостей різання 450, 800, 1410, 2490, 4430 об/хв.
Піноль, усередині якої обертається шпиндель, має хід 80 мм і врівноважена спіральною пружиною, яка повертає піноль у верхнє (початкове) положення. Піноль піднімається та опускається за допомогою зубчастої рейки та шестерні. Найбільше зусилля різання, яке допускається механізмом - 70 кг.
Відлік глибини свердління провадиться за плоскою шкалою або упором.
Чотириступінчасті шківи приводу дозволяють отримувати 4-ї швидкості обертання шпинделя, що забезпечує вільний вибір швидкостей різання.
Оригінальна конструкція натягу ремінної передачі дозволяє швидко змінювати положення ременя на шківах для отримання потрібної швидкості різання.
Верстати ЕМ-102 дозволяють виконувати такі операції:
Конус інструментальний - Конус Морзе - одне з найбільш застосовуваних кріплень інструменту. Був запропонований Стівеном А. Морзе приблизно 1864 року.
Конус Морзе підрозділяється на вісім розмірів - від КМ0 до КМ7 (англійською: MT0-MT7, німецькою: MK0-MK7).
Стандарти на конус Морзе: ГОСТ 25557 (Конуси інструментальні. Основні розміри), ISO 296, DIN 228. Конуси, виготовлені за дюймовими та метричними стандартами, взаємозамінні у всьому, крім різьблення хвостовика.
Для багатьох застосувань довжина конуса Морзе виявилася надмірною . Тому було введено стандарт на дев'ять типорозмірів укорочених конусів Морзе (B7, B10, B12, B16, B18, B22, B24, B32, B45), ці розміри отримані видаленням більш товстої частинини конуса. Цифра позначення короткого конуса — діаметр товстої частинини конуса в мм.
Російський стандарт на укорочені конуси ГОСТ 9953 Конуси інструментів укорочені .
Російський стандарт на свердлильні патрони ГОСТ 8522 Патрони свердлильні трикулачні .
Де D – діаметр конуса в основній площині.

Фото свердлильного верстата ЕМ-102

Фото свердлильного верстата ЕМ-102

Фото свердлильного верстата ЕМ-102

Фото свердлильного верстата ЕМ-102

Кінематична схема свердлильного верстата ЕМ-102
Кінематична схема свердлувального верстата ЕМ-102. Дивитись у збільшеному масштабі

Конструкція свердлувального верстата ЕМ-102
Кінематична схема свердлувального верстата ЕМ-102. Дивитись у збільшеному масштабі

Конструкція свердлувального верстата ЕМ-102
Кінематична схема свердлувального верстата ЕМ-102. Дивитись у збільшеному масштабі
| Найменування параметру | ЕМ-102 | НС-12 | НС-12Б | НС-12М |
|---|---|---|---|---|
| Основні параметри верстата | ||||
| Найбільший діаметр свердління, мм | 12 | 12 | 12 | 12 |
| Найбільша відстань від торця шпинделя до столу, мм | 380 | - | - | - |
| Найбільша відстань від торця шпинделя до основи, мм | 538 | 20..420 | 100..400 | 300 |
| Відстань від осі вертикального шпинделя до направляючих стійки (виліт), мм | 185 | 200 | 200 | |
| Робочий стіл | ||||
| Ширина робочої поверхні столу, мм | 360 x 360 | 300 х 350 | 300 | |
| Число Т-подібних пазів Розміри Т-подібних пазів | 3 | 3 | ||
| Кут повороту столу в горизонтальній площині, град | 360° | - | - | - |
| Кут повороту столу у вертикальній площині, град | ±45° | - | - | - |
| Шпиндель | ||||
| Найбільше переміщення шпиндельної головки, мм | - | 300 | 200 | |
| Хід гільзи шпинделя, мм | 80 | 100 | 100 | 100 |
| Частота обертання шпинделя, об/хв | 600, 1000, 1600, 2550 | 450, 710, 1400, 2500, 4500 | 450, 800, 1410, 2490, 4430 | 880, 1500, 2880 |
| Кількість швидкостей шпинделя | 4 | 5 | 5 | 3 |
| Конус шпинделя | Морзе 2 | Морзе 2 | Морзе 1 | B18 |
| Привід | ||||
| Електродвигун приводу головного руху, кВт (об/хв) | 0,27 (1410) | 0,65 | 0,6 | 0,37 |
| Габарит та маса верстата | ||||
| Габарити верстата (довжина ширина висота), мм | 668 х 353 х 940 | 770 х 465 х 700 | 760 х 470 х 955 | 810 х 450 х 910 |
| Маса верстата, кг | 75 | 121 | 130 | 140 |
Пов'язані посилання