metalinstryment.com
Довідник по металорізальних верстатів та пресовому обладнанні

ФПШ-5М Верстат деревообрабатывающий комбинированный школьный
Схеми, опис, характеристики

ФПШ-5М Верстат комбинированный деревообрабатывающий







Производителем деревообрабатывающего комбинированного верстата ФПШ-5М является Касимовский механический завод №8 КМЗ, г. Касимов Рязанской области.

ООО Касимовский механический завод №8 ИНН 6226007680, ликвидировано вследствие банкротства. Действовало з 20.05.2005 по 20.09.2010.





ФПШ-5М Верстат фуговально-пильный комбинированный школьный. Назначение, область применения

Верстат ФПШ-5М предназначен для облегчения труда преподавателя школьных учебных мастерских при заготовке исходного материала, необходимого для самостоятельных работ учащихся старших классов.

Верстат деревообрабатывающий фуговально-пильный ФПШ-5М представляет собой пристрій для обробки пиломатериалов хвойных і лиственных пород.

Верстат деревообрабатывающей ФПШ-5М предназначен для выполнения следующих работ:

Верстат должен експлуатироваться в закрытых сухих бытовых помещениях.

Виконання по степени защиты влаги - незащищенное.

Верстат ФПШ-5М може работать в следующих условиях.

Питание і керування електродвигуном машины осуществляется от трехфазной сети переменного тока номинальным напряжением 230 В частотой 50 Гц. Машины не требуют стационарного заземления.


ФПШ-5М Загальний вигляд комбинированного деревообрабатывающего верстата

Фото вигляд комбинированного верстата ФПШ-5М


Cклад вироби і комплект поставки комбинированного деревообрабатывающего верстата ФПШ-5М

Примечание: Ремень клиновой, фуговальные ножи і пила установлены на станке.


Опис конструкції деревообрабатывающего верстата ФПШ-5М

Верстат состоит из следующих основних вузлів:

  1. станина
  2. пильный агрегат
  3. фуговальный агрегат
  4. бункер
  5. електрообладнання
  6. защитные пристроя

Верстат снабжен механической блокировкой, исключающей возможность одновременной роботи на пильном і фуговальном агрегатах, а также електрической блокировкой, при замене пильного диска связанной з открыванием дверки бункера.


Станина является опорой всех основних вузлів, на ней крепятся фуговальный і пильный агрегаты і ножевой вал.

Объем, образованный внутренними полостями станины і бункер, служит для заполнения деревоотходами при работе верстата.


Фуговальный агрегат состоит из двух столов (переднего і заднего), ножевого вала і защитного пристроя.

На столах со сторон, обращенных к ножевому валу, имеются стальные накладки, которые служат для уменьшении зазоров между столами і ножевым валом, что улучшает условия різання і повышает безопасность роботи.

Столы опираются на направляющие станины і при вращении регулировочных винтов перемещаются по ним под углом, сохраняя горизонтальное положение рабочей плоскости.

Перемещение переднего стола дает возможность устанавливать необходимую глубину снимаемого материала при обработке, а заднего — устанавливать стол по касательной, к окружности, описываемой режущими кромками ножей.


Ножевой вал — один из важнейших вузлів верстата. Опорами вала є шариковые підшипники. Фуговальные ножи удерживаются клиньями со стружколомателями, прижимаемыми гвинтами.

Захист ножевого вала — веерного типа. Веер закреплен нерухомо на оси, которая вращается в скобе.

В исходном положении веер удерживает возвратная пружина.


Пильный агрегат состоит из стола, направляющей линейки, защиты пилы, рычага подъема і расклинивающего ножа.

На рабочей поверхности стола имеются продольные риски, которые служат для установки размера отпиливаемой заготовки.

На нижней поверхности стола укреплены две колонки, которые входят в круглые отверстия приливов станины. Для изменения высоты подъема стола необходимо ослабить стопорные винты, рычагом подъема поднять или опустить стол і закрепить на нужной высоте стопорными гвинтами.


Расклинивающий нож крепится гвинтами з нижней стороны стола. Для переруху расклинивающего ножа при установці зазору между ними і пилкою надо ослабить винты, передвинуть нож і вновь закрепить его гвинтами.

При опускании стола пильного агрегата боковой упор входит в зацепление з ушком веерной защиты і запирает защиту фуговального агрегата, тем самым закрывая доступ к ножевому валу.

Над пилкою установлено защитное пристрій для ограждения пилы і от выброса заготовки из зоны обробки, состоящее из корпуса, щек і когтевой защиты.

К корпусу, смонтированному на стойках, присоединяется трубопроводами любая пневмосистема для удаления пыли і стружки. или пылестружкоулавливающая установка.


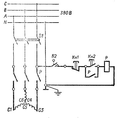
Схема електрична принципова комбинированного деревообрабатывающего верстата ФПШ-5М

Схема електрична комбинированного верстата ФПШ-5М

Електроустаткування состоит из електродвигуна типа А02-12-2 мощностью 1,1 кВт, магнитного пускателя типа П6-121, выключателя путевого ВПК 2110У4 і кнопочной станції: ПКЕ 712-2. Перемещение електродвигуна для натяжения ремня осуществляется вращением натяжных болтов.

Для передачи обертання от електродвигуна на рабочий вал служит клиноременная передача.

В фуговально-пильном станке ФПШ-5М, поставляемом заводом, обмотки електродвигуна соединены «звездой», а в магнитном пускателе може быть использована втягивающая катушка на номинальное напряжение 220 В или 380 В и, в соответствии з етим, монтаж схеми производится согласно рис. 1 или рис. 2.

Монтаж частини схеми, выполненной в тонких лініях, производится получателем.




Технічні характеристики комбинированного верстата ФПШ-5М

Наименование параметра ФПШ-5М
Операции, выполняемые на станке
Распиловка продольная, поперечная +
Строгание по плоскости, по ребру +
Распиловка под углом -
Основні параметри верстата
Толщина распиливаемой заготовки, мм 40
Наибольшая ширина фугования (строгания), мм 135
Наибольшая глубина снимаемого слоя за один проход при строгании, мм 2,0
Частота обертання ножевого барабана на холостом ходу, об/мин 4182
Частота обертання пилы на холостом ходу, об/мин 4182
Количество строгальных ножей 2
Електроустаткування верстата
Род тока питающей сети 380В 50Гц
Количество електродвигателей на станке, шт 1
Електродвигун - номинальная мощность, кВт 1,1
Габарит і масса верстата
Габарит верстата (длна х ширина х высота), мм 900 х 480 х 700
Масса верстата БРУТТО, кг