metalinstryment.com
Довідник по металорізальних верстатів та пресовому обладнанні

ИВ3428 Трубогиб електрический
Схеми, опис, характеристики

ИВ3428 Трубогиб електрический



>
Прессы механические, прессы гідравлические, верстати поперечно-строгальные

Відомості про виробника машины трубогибочной ИВ3428

Изготовитель машины трубогибочной ИВ3428 - Саранинский звод кузнечно-прессового оборудования. Завод основан в 1887 году, как завод по производству сельскохозяйственной техники. С 1946 года завод специализируется на производстве кузнечно-прессового оборудования. Свердловская область, п. Сарана Красноуфимский р-н. Адрес сайта: http://kpo.ru

В настоящее время машину ИВ3428 производит ПАО «Кувандыкский завод КПО «Долина» Оренбургская обл., г. Кувандык





ИВ3428 Трубогиб c електромеханическим приводом. Назначение і область применения

Машина ИВ3428 разработана в 1982 году взамен моделі ГСТМ-21М і серийно выпускалась з 1984 года. Разработчик ПО КПО г. Азов. Изготовитель - Завод КПО г. Сарана.

Трубогиб електромеханический моделі ИВ3428 може использоваться в котлостроительной і судостроительной промышленности, на заводах монтажных заготовок, при монтаже водопроводов і газопроводов, а также на строительных і монтажных площадках промышленного і гражданского строительства.

Гибочный верстат ИВ3428, предназначен для гибки труб в холодном состоянии з оправкой (дорном) і без нее методом наматывания трубы на гибочный ролик c минимальным радиусом гиба 1,5 диаметра трубы, максимальный радиус гиба 320 мм. И возможностью увеличения радиуса гиба до 500 мм (за отдельную плату).

Машины трубогибочные ИВ3428 з механическим приводом оснащены електронным блоком включающего в себя системы керування двигателем через реверсивный магнитный пускатель «Вперѐд», «Назад».

Пульт керування на базе контроллера з 4-х значным индикатором используется для задания «Угла гиба», отслеживания текущего процесса гиба по датчикам «Угла» і «Исходное», і керуванням остановом в заданной точке. При етом, для точності отработки «угла гиба», используется принцип останова двигуна методом «противоувімкнення». Точность выполнения угла гиба 1-2 градуса.

Система керування имеет «ручной» і «автоматический» режими роботи верстата.

Дорн применяется для предотобертання образования овальности і гофров. Можно производить гибку без дорна, если не предъявляется высокие требования к форме сечения трубы на изогнутом участке или отношение толщины стенки к її диаметру составляет более 0,1.

Преимущества ИВ3428 - трубогиба c електромеханическим приводом:

По просьбе заказчика предусмотрено изготовление специального инструмента гибкого дорна, позволяющего производить гибку прямоугольных, квадратных, еллипсных і тонкостенных труб (толщина стенки не менее 1 мм), труб из легированных і цветных металлов, уголка, швеллера і других профилей. По требованию заказчика расстояние от оси центра гибочного инструмента до места крепления кінця оправки може быть увеличен до 6000 мм. Простота і надежность конструкції механического приводу легкость в обслуживании обеспечивают еффективность применения машины гибочной при гибке труб как крупными, так і мелкими партиями.

С марта 2015 года планируются к выпуску опытные образцы трубогибочных верстатів моделей ИВ3428М, где будет установлена система керування на базе сенсорной панелі оператора в комплексе з частотним приводом так і без него. На базе сенсорной панелі оператора расширяются возможности интерфейсного меню:


Основні параметри машины листогибочной ИВ3428:


Общая компоновка і особливості трубогиба ИВ3428

Трубогиб електромеханический моделі ИВ3428 состоит из следующих основних вузлів:

  1. Станина ИВ3428-11-001
  2. Редуктор ИВ3428-21-001
  3. Привод ИВ3428-22-001
  4. Привод ИВ3428-22-001
  5. Балка ИВ3428-31-001
  6. Механізм поджима ИВ3428-32-001
  7. Механізм выдергивания дорна ИВ3428-33-001
  8. Штанга разметочная ИВ3428-51-001
  9. Електроустаткування ИВ3428-91-001
  10. Шкаф керування ИВ3428-92-001
  11. Пульт керування ИВ3428-93-001
  12. Инструмент ИВ3428-65-001

  13. Пульт керування трубогибом

  14. Кнопка ОБЩИЙ СТОП
  15. Кнопки переключения углов гиба
  16. Кнопка СЕТЬ
  17. Кнопка РАБОЧИЙ ХОД гибочного инструмента
  18. Кнопка ОБРАТНЫЙ ХОД гибочного инструмента
  19. Индикатор

Стандарный комплект поставки верстата ИВ3428

  1. ИВ3428-00-001 Машина трубогибочная з механическим приводом 1
  2. ИВ3428-65-001 Ролик 3/4"
  3. ГСТМ-21М-31-415 Муфта М12 1
  4. ГСТМ-2Ш-31-416 Муфта М16 1
  5. Н4518-92Б-407 Ключ електрошафи 1
  6. ГСТМ-21М-31-101 Колодка призматическая 1
  7. ГСТМ-2Ш-21-413 Планка 5
  8. ИВ3428-00-001 РЭ Машина трубогибочная з механическим приводом. Руководство по експлуатации. 1

Принцип роботи трубогиба ИВ3428

Гибка труб на машине производится методом наматывания изгибаемой трубы на гибочный ролик. Труба помещается в ручей гибочного ролика і закрепляется в нем з помощью ексцентрика. Призматической колодкой труба В процессе гибки прижимается к гибочному ролику. Приводимый во вращательное рух гибочный ролик увлекает за собой трубу, которая, находясь в ручье между гибочным роликом і колодкой, стаскивается з дорна і изгибается. Дорн примемяется для предотобертання образования овальности і гофров.

Можно производить гибку без дорна, если не предъявляются высокие требования к форме сечения трубы на изогнутом участке или отношение толщины стенки к її диаметру составляет более 0,1.





ИВ3428 Загальний вигляд трубогиба електромеханического

Загальний вигляд трубогиба електромеханического ИВ3428

Фото трубогиба ИВ3428


Загальний вигляд трубогиба електромеханического ИВ3428

Фото трубогиба ИВ3428


Загальний вигляд трубогиба електромеханического ИВ3428

Фото трубогиба ИВ3428


Загальний вигляд трубогиба електромеханического ИВ3428

Фото трубогиба ИВ3428


Загальний вигляд трубогиба електромеханического ИВ3428

Фото трубогиба ИВ3428





ИВ3428 Розташування складових частин трубогиба

ИВ3428 Розташування складових частин ИВ3428

Розташування складових частин трубогиба ИВ3428


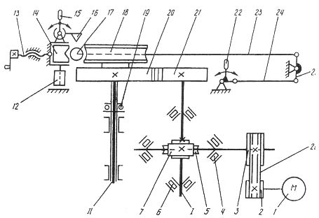
ИВ3428 Кінематична схема електромеханического трубогиба

ИВ3428 Кінематична схема трубогиба ИВ3428

Кінематична схема трубогиба ИВ3428

  1. електродвигатель; N=5,5 k W, n=1000 об/мин
  2. шкив Ø125 мм
  3. шкив Ø190 мм
  4. подшипник 7311 ГОСТ 333-79
  5. колесо червячное z=60, m=8
  6. подшипник 7217 ГОСТ 333-79
  7. червяк, z=l, m=8
  1. ползушка
  2. винт
  3. колодка призматическая
  4. рукоятка штанги разметочной
  5. упор
  6. дорн
  7. ролик гибочный
  8. подшипник 8224 ГОСТ 6874-75
  9. шестерня z=64, m=8
  10. шестерня z=16, m=8
  11. рычаг выдергивания дорна
  12. тяга дорна
  13. тяга
  14. серьга
  15. ремень клиновой Б – 1250 ГОСТ 1284.1-89

Крутящий момент от електродвигуна 1 (рис. 2) з помощью клиноремен-ной передачи через шкивы 2, 3, червячную пару 5, 7 і цилиндрическую зубчатую открытую передачу 21, 20 передається на гибочный ролик 18, жестко связанный з шестерней 20.

Перемещением ползушки 12 балка настраивается на требуемый радиус гибки. Винтом 13 призматическая колодка 14 прижимается к трубе. Рукояткой 15 поднимаются і опускаются передвижные упоры 16 разметочной штанги.

Рычагом 22 через тягу 24, серьгу 25, тягу 23 выдергивается из зоны защемления в трубе дорн 17.





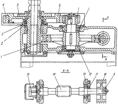
ИВ3428 Креслення редуктора трубогиба

Креслення редуктора трубогиба електромеханического ИВ3428

Креслення редуктора трубогиба ИВ3428

Редуктор (рис 3), состоящий из червячной пары 14, 1 а цилиндрической зубчатой пары 7, 4, установлен на станине, представляющей собой сварную раму, закрытую з боков съемными крышками. На поворотном диске 6, жестко связанном з шестерней 4, закреплены две шпонки 5, через которые передається крутящий момент гибочному ролику.

Сменный шкив 10 клиноременной передачи соединяется з червяком 14 при помощи планки 9, выполняющей роль шпонки і срезного предохранителя от перегрузок по крутящему моменту.

Установленные на машине шкивы обеспечивают частоту обертання поворотного диска 2,5 об/мин. Для изменения частоти обертання поворотного диска на 5,8 min-1 поменяйте местами ведомый і ведущий шкивы.

В пульт керування установлен електронный блок, служащий для отключения електродвигуна, при достижении поворотным диском заданного угла гиба или исходного положения при обратном ходе. Заданный угол гиба высвечивается на индикаторе 18. Угол гиба устанавливается кнопками «+» иди «-» на пульті керування.

Балка, установленная в сварном кронштейне, закрепленном на верхней плоскости редуктора, може поворачиваться вокруг цапфы і имеет поперечное перемещение. На балке установлены: имеющая продольное перемещение призматическая колодка поджима трубы, система рычагов і тяг выдергивания дорна і штанги з откидными упорами. Для удобства транспортирования балка, штанга і тяги выполнены разъемными. Приводной електродвигатель подвешен на подмоторной плите, шарнирно соединенной з корпусом редуктора. Натяжение клиновых ремней осуществляется при помощи гаек.


ИВ3428 готовые вироби трубогиба

Креслення редуктора трубогиба електромеханического ИВ3428

Креслення редуктора трубогиба ИВ3428




ИВ3428 Трубогиб електрический. Відеоролик.






Технічні характеристики трубогиба електромеханического ИВ3428

Наименование параметра ИВ3428
Наибольшие розміри изгибаемой трубы з пределом текучести δт=250 МРа (25кгс/мм2)
наружный диаметр D, мм 76
толщина стенки S, мм 4,5
Наименьший диаметр изгибаемой трубы, мм 25
Внутренний радиус гибочного инструмента R, мм 36,6..320
Угол поворота гибочного инструмента, град 210
Електроустаткування і привід пресса
Количество електродвигателей, кВт 1
Електродвигун головного приводу М1, кВт 7,5
Габарит і масса пресса
Габарит (длнна х ширина х высота), мм 3485 х 1370 х 1355
Масса пресса, кг 1250








Мозг - замечательный орган. Он начинает работать з того момента, как ты проснулся, і не останавливается пока ты не пришел на работу.

Закон Мерфи