Виробником настільного свердлувального верстата ЖИШТ є п/с М-5276 м. Разуваївка Мордівської РСР.
Початок серійного виробництва настільного свердлувального верстата ЖИШТ – рік.
Верстат настільно-свердлильний вертикальний навчальний моделі ЖИШТ призначений для свердління отворів у дрібних деталях із чавуну, сталі, кольорових сплавів та неметалічних матеріалів.
Свердлильний верстат ЖИШТ дозволяє виконувати такі операції:
Оригінальна конструкція натягу ремінної передачі дозволяє швидко змінювати шківи та положення ременя на шківах для отримання потрібної швидкості різання.
Кінець шпинделя виконаний під патрон 3-х кулачковий 16-18 ГОСТ 8522-79 по ГОСТ 9953-82.
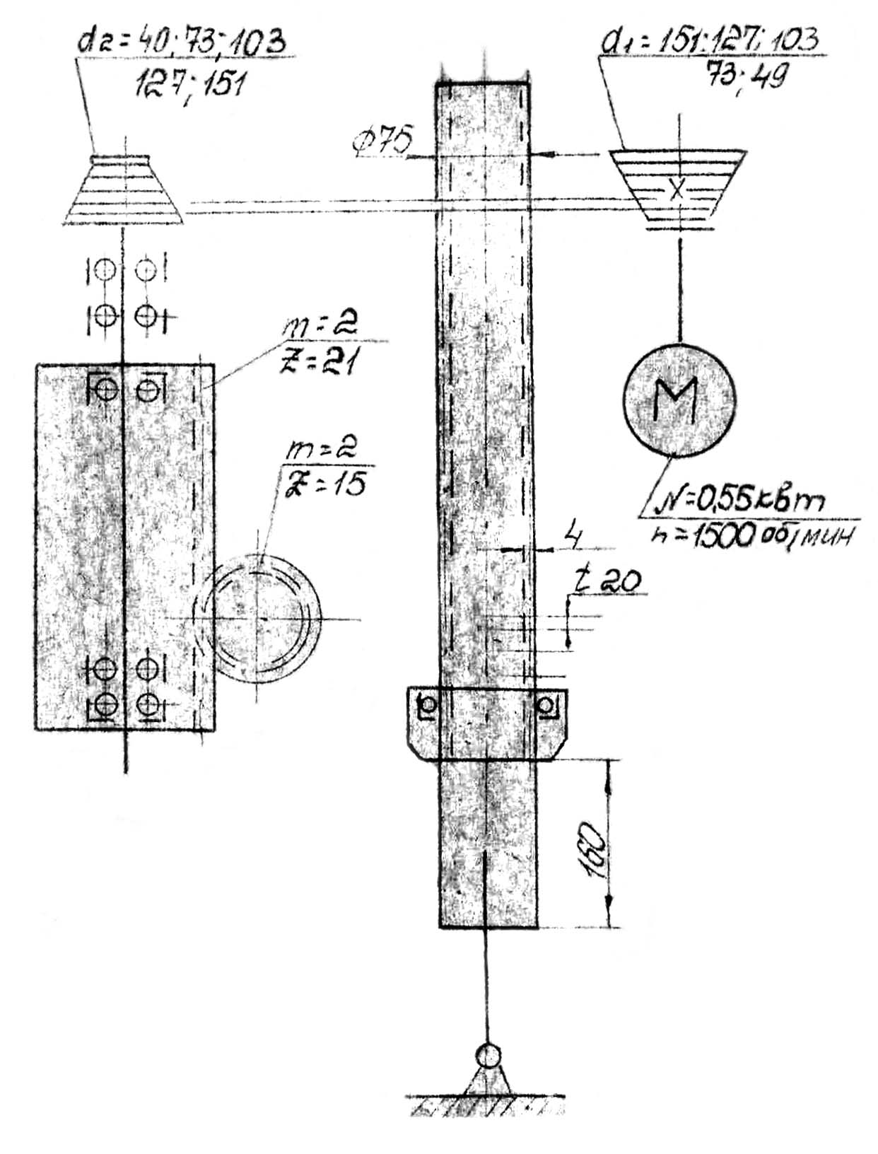
Шпиндель верстата поз.4 (див. ДОДАТОК 1) закріплений на стійці поз.2 за допомогою кронштейна поз.3.
Обертання шпиндель отримує від двигуна поз.5 за допомогою шківів поз.6 і поз.7 і клинового ременя поз.8.
Вертикальна подача «Вниз» шпинделя поз.4 здійснюється рукояткою поз.9 за допомогою вала-шестірні поз.10 та зубчастої гільзи поз.11, в якій у підшипниках встановлений шпиндель.
Повернення шпинделя поз.4 початкове положення здійснюється механізмом повернення поз.12 за допомогою пружини.
Кронштейн поз.3 разом зі шпинделем і приводом може підніматися та опускатися по стійці поз.2 за допомогою рукоятки поз.18.
Стійка поз.2 встановлюється на чавунній плиті поз.1 за допомогою корпусу поз.16.
Плита служить основою всього верстата та його робочою поверхнею. По периметру плити у виливку передбачений жолоб для збору рідини, що охолоджує. У нижній частинині жолоба є зливний отвір. Усередині плити розміщується електрична частинина верстата.
Включення та вимикання двигуна поз.5 здійснюється за допомогою перемикача поз.14.
Кожух поз.15 служить огорожею для шківів та приводного ременя. Він складається з правого та лівого кожухів, які можна вручну підняти вгору та опустити у початкове положення.

Габаритні розміри робочого простору свердлувального верстата.

Фото свердлильного верстата ЖИШТ

Фото свердлильного верстата ЖИШТ

Кінематична схема свердлильного верстата ЖИШТ
Кінематична схема свердлувального верстата ЖИШТ. Дивитись у збільшеному масштабі

Місця змащення свердлильного верстата ЖИШТ
Місця змащення свердлильного верстата ЖИШТ. Дивитись у збільшеному масштабі

Електрична схема свердлильного верстата ЖИШТ на 380В
Кінематична схема свердлувального верстата ЖИШТ. Дивитись у збільшеному масштабі
| Найменування параметру | ЧАСТО | 2M112 | NS12A |
|---|---|---|---|
| Основні параметри верстата | |||
| Найбільший діаметр свердління, мм | 12 | 12 | 12 |
| Найменша та найбільша відстань від торця шпинделя до столу | 100..400 | 20..400 | 20..420 |
| Відстань від осі вертикального шпинделя до направляючих стійки (виліт), мм | 190 | 190 | 185 |
| Робочий стіл | |||
| Ширина робочої поверхні столу, мм | 250 х 250 | 250 х 250 | 360 x 360 |
| Число Т-подібних пазів | 3 | 3 | 3 |
| Шпиндельна бабка. Шпіндель | |||
| Найбільше переміщення шпиндельної головки, мм | 300 | 300 | |
| Хід гільзи шпинделя, мм | 100 | 100 | 100 |
| Частота обертання шпинделя, об/хв | 450, 800, 1410, 2490, 4450 | 450, 800, 1400, 2500, 4500 | 450, 710, 1400, 2500, 4500 |
| Кількість швидкостей шпинделя | 5 | 5 | 5 |
| Конус шпинделя | Морзе 2В | Морзе 2В | |
| Кінець шпинделя | Морзе В18 | Морзе В18 | Морзе В18 |
| Привід | |||
| Електродвигун приводу головного руху, кВт (об/хв) | 0,55 (1500) | 0,55 (1380) | 0,65 |
| Габарит та маса верстата | |||
| Габарити верстата (довжина ширина висота), мм | 730 х 380 х 980 | 795 х 370 х 950 | 770 х 465 х 700 |
| Маса верстата, кг | 140 | 120 | 121 |