Виробник настільно-свердлувального верстата НСР-12М – Кіровоградський ремонтний завод (п/о УкрСільгоспТехніка), м. Кіровоград (сьогодні м. Кропивницький) вул. Дзержинського, 24
Спочатку місто було названо Єлисаветградом на ім'я фортеці, яка була закладена у 1754 році. Фортеця була названа на честь святої Єлисавети. 1784 року фортеця скасована.
Колишні назви міста:
до 7 серпня 1924 - Єлисаветград (від назви фортеці Св. Єлисавети);
7 серпня 1924 - 27 грудня 1934 - Зінов'євськ (на честь радянського політичного діяча Г. Є. Зінов'єва).
27 грудня 1934 - 10 січня 1939 - Кірово (на честь радянського політичного діяча С. М. Кірова).
10 січня 1939 року під час утворення Кіровоградської області назву міста змінили на Кіровоград . Це було зроблено для відмінності з Кіровською областю, що вже існувала, і для того, щоб не плутати місто з Кіровом — колишньою В'яткою, і Кіровом — містом Калузької області.
При цьому оскільки Г. Зінов'єв був оголошений ворогом народу, далі в радянських джерелах назва «Зинов'євськ» не згадувалося. Вони писали, що місто називалося Єлисаветградом до 1934 року.
14 липня 2016 року Верховна Рада України 230 голосами проголосувала за перейменування Кіровограда на Кропивницький – на честь актора та драматурга Марка Кропивницького.
Свердлильний настільний верстат НСР-12М призначений для свердління отворів та нарізування різьблення в дрібних деталях із чавуну, сталі, кольорових сплавів та неметалічних матеріалів в умовах промислових підприємств, ремонтних майстерень та побутових майстерень.
Відлік глибини свердління провадиться за плоскою шкалою або упором.
Оригінальна конструкція натягу ремінної передачі дозволяє швидко змінювати положення ременя на шківах для отримання потрібної швидкості різання.
Свердлильний верстат НСР-12М дозволяє виконувати такі операції:
Конус інструментальний - Конус Морзе - одне з найбільш застосовуваних кріплень інструменту. Був запропонований Стівеном А. Морзе приблизно 1864 року.
Конус Морзе підрозділяється на вісім розмірів - від КМ0 до КМ7 (англійською: MT0-MT7, німецькою: MK0-MK7).
Стандарти на конус Морзе: ГОСТ 25557 (Конуси інструментальні. Основні розміри), ISO 296, DIN 228. Конуси, виготовлені за дюймовими та метричними стандартами, взаємозамінні у всьому, крім різьблення хвостовика.
Для багатьох застосувань довжина конуса Морзе виявилася надмірною . Тому було введено стандарт на дев'ять типорозмірів укорочених конусів Морзе (B7, B10, B12, B16, B18, B22, B24, B32, B45), ці розміри отримані видаленням більш товстої частинини конуса. Цифра позначення короткого конуса — діаметр товстої частинини конуса в мм.
Російський стандарт на укорочені конуси ГОСТ 9953 Конуси інструментів укорочені .
Російський стандарт на свердлильні патрони ГОСТ 8522 Патрони свердлильні трикулачні .
Де D – діаметр конуса в основній площині.

Посадочні місця та приєднувальні розміри свердлувального верстата НСР-12М

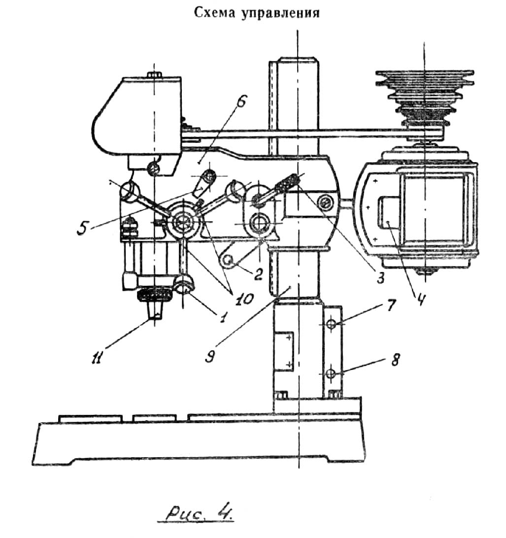
Розташування органів керування свердлильним верстатом НСР-12М (Рис. 4)
Розташування органів керування свердлильним верстатом НСР-12М. Дивитись у збільшеному масштабі

Кінематична схема свердлувального верстата НСР-12М. Мал. 3)
Кінематична схема свердлувального верстата НСР-12М. Дивитись у збільшеному масштабі

Схема розташування підшипників свердлувального верстата НСР-12М. Мал. 9)
Схема розташування підшипників свердлувального верстата НСР-12М. Дивитись у збільшеному масштабі

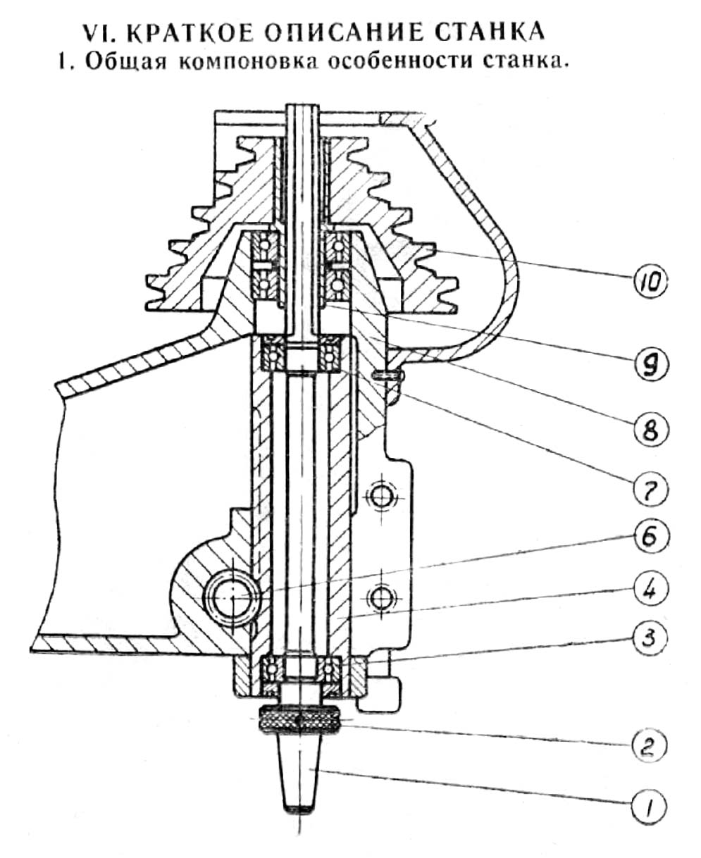
Шпиндельный узел сверлильного верстата НСР-12М (Рис. 5)
Шпиндельный узел сверлильного верстата НСР-12М. Дивитись у збільшеному масштабі
В бабке шпинделя смонтирован шпиндельный узел і механізм подъема. Последний предназначен для перемещение бабки шпинделя по колонке.
Сзади к бабке прикреплен електродвигатель. Кроме того, в корпусе бабки смонтирован механізм для реверсирования верстата при нарезке різьби.
Колонка прикреплена к плите кронштейном. В кронштейне колонка зажата двумя болтами. В случае необходимости поворота колонки вокруг своей оси, болты освобождаются, колонка совместно з бабкой поворачивается в требуемое положение, після чего болты зажимаются.
Шпиндельный узел изображен на рис. 5, смонтирован в корпусе 8. Сам шпиндель 1 смонтирован в гильзе 4 на шарикопідшипниках 3 і 7. Вращение шпиндель получает от втулки 9 і шкива 10 через шлицевое соединение.
Подача шпинделя — ручная: осуществляется вращением штурвала при помощи валика-шестерни 6 і гильзы з рейкой 4.
Гайка 2 предназначена для снятия сверлильного патрона з конуса шпинделя.
Електродвигун посредством подмоторной плиты прикреплен к бабке шпинделя. На оси електродвигуна находится ступенчатый шкив, который соединяется со шкивом шпинделя клиновым ремнем.
Верстат не укомплектован аппаратурой для местного освещения. В связи з тем, что настольно-сверлильный резьбонарезной верстат моделі НСР 12М чаще всего устанавливается на верстаках или столах, поетому арматуру (кронштейн) і аппарат (трансформатор) местного освещения, при монтаже верстата, требуется прикреплять вблизи верстата, а если верстат устанавливается у стены, то к післядней.
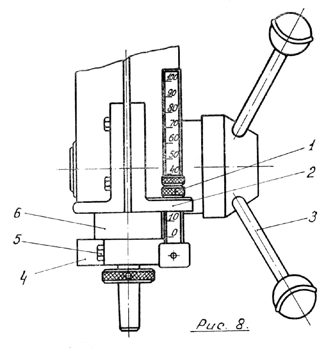
На рис. 8 изображена шкала переміщення шпинделя. При сверлении отверстий на заданную глубину можно пользоваться упором.
Поворотом штурвала 3 сверло доводится до поверхности обрабатываемого вироби і засверливается на глубину конусной заточки сверла. Винтом 5 освобождается хомутик 4 на гильзе 6 і устанавливается риска шкалы заподлицо з верхней поверхностью выступа 2 После етого хомутик закрепляется на гильзе. Нижня гайка 1 устанавливается против цифры, соответствующей требуемой глубине сверления, і контрируется верхней гайкой.
Механізм состоит из следующих деталей (рис. 4 і 7): две пары кулачков 10 (рис. 4), установленных на ступице штурвала ручной подачі шпинделя, двух рычагов 5 (рис. 4 і 7), насаженных на ось 1 (рис. 7), і микропереключателя 4 (рис. 7). Все детали собраны на корпусе верстата і со стороны установки микропереключателя закрыты щитком 6 (рис. 7).
Наладка верстата для нарезки різьби производится в следующем порядке:
а) рычаг 5 (рис. 7), действующий на микропереключатель 4 (рис. 7), провернуть рукой до нажатия на кнопку микропереключателя. При етом положении рычаг будет зафиксирован шариковым фиксатором, устроенным в рычаге, і електросхема переключена на левое вращение шпинделя. После чего включить верстат і убедиться в правильности обертання шпинделя.
Если же положение рычага зафиксировано, но вращение осталось правое, тогда надо снять предохранительный щиток 6 (рис. 7) микропереключателя і убедиться нажата ли кнопка переключателя 4 (рис. 7), если пет то регулировочным винтом рычага 5 (рис. 7) дожать кнопку;
б) для удобства налагодження, кулачки 10 (рис. 4) на ступице штурвала должны свободно перемещаться по ступице, для етого нужно на один - полтора оборота повернуть болты, соединяющие кулачки 10;
в) произвести установку шкалы на заданную глубину нарезки аналогично сверлению отверстий;
г) провернуть штурвал на величину длинны нарезки по шкале і установить один кулачек 10 (рис. 4) на ступице штурвала плотно к рычагу 5 (рис.4) з правой стороны, після чего болт кулачка 10 зажать. Это положение, когда метчик нарежет резьбу на заданную глубину і микропереключатель 4 (рис. 7) переключит електродвигатель на левое вращение;
д) возвратить штурвал в исходное (нулевое) положение і установить второй кулачок 10 (рис. 4) з левой стороны рычага 5 (рис. 4) в положение когда рычаг выведен из зафиксированного положения до упора в штифт.
В етом положении переключатель 4 (рис. 4) переключит електродвигатель снова на правое вращение.
Примечание.
Микропереключатель 4 (рис, 7) только реверсирует вращение двигуна, по не выключает его. После налагодження верстата на нарезки різьби следует включить верстат і убедиться в правильности налагодження і після етого приступить к работе.
В случае необходимости перемещение шпиндельной бабки (рис. 4) по колонке 9, нужно освободить рукоятку 3. При освобождении рукоятки 3 обязательно нужно одной рукой придерживать рукоятку 2 (во избежание опускания бабки вниз). Верстат также може быть настроен для сверления і нарезки отверстий в длинных или крупных деталях.
ля етого нужно освободить винты 7 в кронштейне 8, повернуть бабку шпинделя 6 вместе з колонкой 9 в требуемое положение, після чего винты 7 закрепить.

Смазка сверлильного верстата НСР-12М
Смазка сверлильного верстата НСР-12М. Дивитись у збільшеному масштабі

Шкала сверлильного верстата НСР-12М
Шкала сверлильного верстата НСР-12М. Дивитись у збільшеному масштабі

Електрична схема сверлильного верстата НСР-12М
Електрична схема сверлильного верстата НСР-12М. Дивитись у збільшеному масштабі
| Наименование параметра | 2М112 | 2Н112 | НСР-12М |
|---|---|---|---|
| Основні параметри верстата | |||
| Наибольший условный диаметр сверления, мм | 12 | 12 | 12 |
| Наибольший условный диаметр нарізання різьби, мм | 10 | ||
| Найменша та найбільша відстань від торця шпинделя до столу | 0...400 | 70..420 | 20..420 |
| Відстань від осі вертикального шпинделя до направляючих стійки (виліт), мм | 190 | 160 | 175 |
| Робочий стіл | |||
| Ширина робочої поверхні столу, мм | 250 х 250 | 250 х 250 | 220 x 280 |
| Число Т-подібних пазів | 3 | 3 | 3 |
| Шпиндель | |||
| Найбільше переміщення шпиндельної (свердлувальної) головки по колоні, мм | 250 | 300 | |
| Хід гільзи шпинделя, мм | 100 | 100 | 100 |
| Частота обертання шпинделя, об/хв | 450, 800, 1400, 2500, 4500 | 500, 710, 1000, 1400, 2000, 2800, 4000 | 450, 800, 1400, 2500, 4500 |
| Кількість швидкостей шпинделя | 5 | 7 | 5 |
| Конус шпинделя | Морзе В18 | Морзе В18 | Морзе В18 |
| Привід | |||
| Електродвигун приводу головного руху, кВт (об/хв) | 0,55 | 0,6 (1350) | 0,6 (1410) |
| Габарит та маса верстата | |||
| Габарити верстата (довжина ширина висота), мм | 795 х 370 х 950 | 785 х 465 х 795 | 720 х 410 х 700 |
| Маса верстата, кг | 120 | 120 | 100 |