Розробник настільно-свердлильного верстата моделі С10Р-15П - Новосибірський авіаційний технікум УПМ .
Свердлильний верстат С10Р-15П призначений для свердління отворів та нарізування різьблення в дрібних деталях із чавуну, сталі, кольорових сплавів та неметалічних матеріалів в умовах промислових підприємств, ремонтних та побутових майстерень.
Шпиндельний вузол свердлувального верстата С10Р-15П - найскладніший і найточніший вузол у верстаті. Шпиндельний вузол монтується у шиндельній бабці. Основні деталі шпиндельного вузла:
Верхня частинина шпинделя має шліци, щоб одержати обертання від приймального шківа, нижня частинина має конус Морзе для кріплення свердлильного патрона.
Шпиндель верстата С10Р-15П отримує п'ять швидкостей обертання від п'ятиступінчастиних шківів приводу, що забезпечує вільний вибір швидкостей різання.
Піноль, всередині якої обертається шпиндель, має хід 100 мм і врівноважена спіральною пружиною, яка повертає піноль у верхнє положення.
Кінець шпинделя свердлувального верстата С10Р-15П - укорочений конус Морзе В18.
Приклад умовного позначення свердлильного 3-х кулачкового патрона, типорозміру 16, з конусним приєднувальним отвором В18:
Патрон 16-Б18 ГОСТ 8522-79
Конус інструментальний - Конус Морзе - одне з найбільш застосовуваних кріплень інструменту. Був запропонований Стівеном А. Морзе приблизно 1864 року.
Конус Морзе підрозділяється на вісім розмірів - від КМ0 до КМ7 (англійською: MT0-MT7, німецькою: MK0-MK7).
Стандарти на конус Морзе: ГОСТ 25557 (Конуси інструментальні. Основні розміри), ISO 296, DIN 228. Конуси, виготовлені за дюймовими та метричними стандартами, взаємозамінні у всьому, крім різьблення хвостовика.
Для багатьох застосувань довжина конуса Морзе виявилася надмірною . Тому було введено стандарт на дев'ять типорозмірів укорочених конусів Морзе (B7, B10, B12, B16, B18, B22, B24, B32, B45), ці розміри отримані видаленням більш товстої частинини конуса. Цифра позначення короткого конуса — діаметр товстої частинини конуса в мм.
Російський стандарт на укорочені конуси ГОСТ 9953 Конуси інструментів укорочені .
Російський стандарт на свердлильні патрони ГОСТ 8522 Патрони свердлильні трикулачні .
Де D – діаметр конуса в основній площині.
Відлік глибини свердління провадиться за плоскою шкалою або упором.
П'ятиступінчасті шківи приводу дозволяють отримувати п'ять швидкостей обертання шпинделя, що забезпечує вільний вибір швидкостей різання.
Оригінальна конструкція натягу ремінної передачі дозволяє швидко змінювати положення ременя на шківах для отримання потрібної швидкості різання.
Верстати С10Р-15П дозволяють виконувати такі операції:

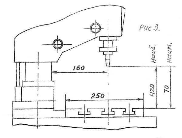
Габаритні розміри робочого простору верстата С10Р-15П

Посадочні та приєднувальні бази свердлувального верстата С10Р-15П

Фото свердлильного верстата С10Р-15П

Фото свердлильного верстата С10Р-15П

Фото свердлильного верстата С10Р-15П

Фото свердлильного верстата С10Р-15П

Фото свердлильного верстата С10Р-15П

Розташування органів керування свердлильного верстата С10Р-15П

Кінематична схема свердлильного верстата С10Р-15П

Конструкція свердлувального верстата С10Р-15П

Конструкція свердлувального верстата С10Р-15П

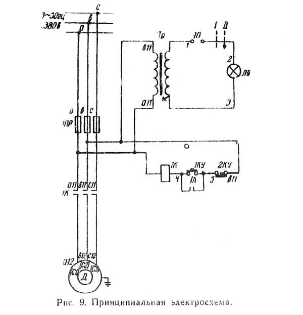
Електрична схема свердлильного верстата С10Р-15П
Електроустаткування верстата містить:

Настановне креслення свердлильного верстата С10Р-15П
| Найменування параметру | НС-12 | ТМНС-12 | С10Р-15П |
|---|---|---|---|
| Основні параметри верстата | |||
| Найбільший умовний діаметр свердління, мм | 12 | 12 | 15 |
| Найбільша відстань від торця шпинделя до столу | 20..420 | 440 | 70..420 |
| Відстань від осі вертикального шпинделя до направляючих стійки (виліт), мм | 185 | 220 | 160 |
| Робочий стіл | |||
| Ширина робочої поверхні столу, мм | 360 x 360 | 310 х 450 | 250 х 250 |
| Число Т-подібних пазів Розміри Т-подібних пазів | 3 | 3 | 3 |
| Шпиндель | |||
| Найбільше переміщення шпиндельної головки, мм | 300 | 200 | 250 |
| Хід гільзи шпинделя, мм | 100 | 100 | 100 |
| Частота обертання шпинделя, об/хв | 450, 710, 1400, 2500, 4500 | 450..4500 | 380, 450, 500, 530, 710, 1000, 1400, 2000, 2800, 4000 |
| Кількість швидкостей шпинделя | 5 | 5 | 10 |
| Конус шпинделя | Морзе 2 | B18 | |
| Привід | |||
| Електродвигун приводу головного руху, кВт (об/хв) | 0,65 | 0,55 (1360) | 0,6 (1500) |
| Габарит та маса верстата | |||
| Габарити верстата (довжина ширина висота), мм | 770 х 465 х 700 | 770 х 370 х 860 | 785 х 360 х 795 |
| Маса верстата, кг | 121 | 130 | 160 |