Фрезерний настільний верстат С-169 випускався Навчально-виробничими майстернями МАМТ (Московський Авіаційний Моторобудівний технікум) , місто Москва.
Настільний фрезерний верстат С-169 випускався у 60-х роках минулого століття.
Фрезерний верстат С-169 настільного типу призначений для виконання дрібних фрезерних робіт.
Станина верстата лита. Зверху та збоку змонтовані напрямні:
Всі санки отримують подачу від ходових гвинтів, що приводяться в рух вручну маховичками.
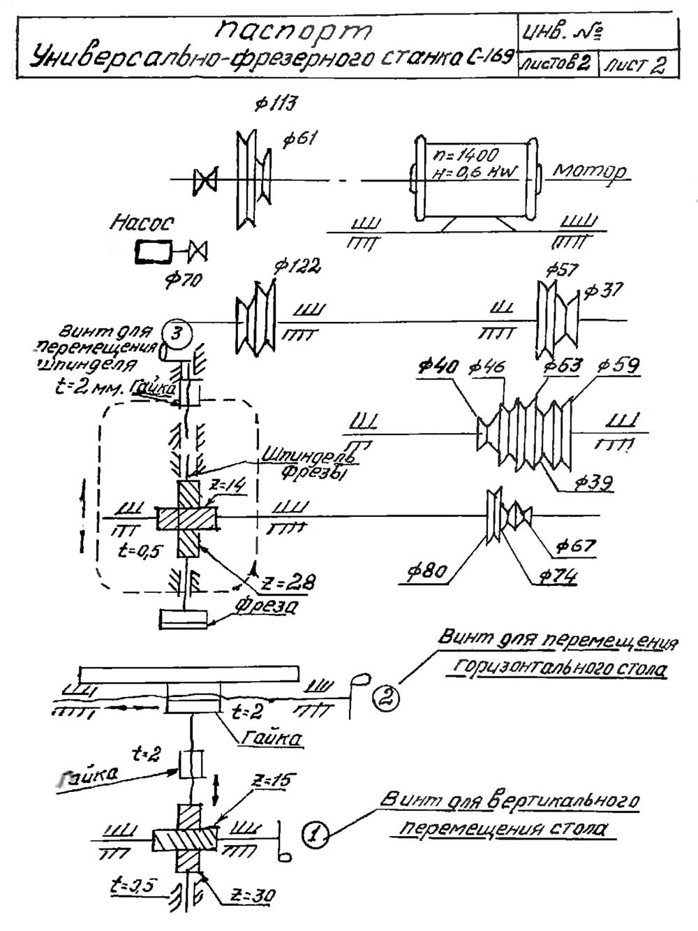
Шпиндель фрезерної бабки наводиться в рух від електродвигуна 0,6 кВт через дві ремінні передачі та спіральну зубчасту передачу.
За рахунок перемикання ремінних передач шпиндель має 12 різних ступенів швидкостей.
Фрезерна бабка має можливість за допомогою спеціального косинця, що закріплюється на верхніх санчатах, встановлюватись у вертикальному положенні
Різноманітність фрезерних робіт, які можна виконати на верстаті, залежить від комплектації верстата оснасткою, приладдям, пристроями та інструментом.
Завод виробник представляв замовнику разом із станом таку технічну документацію:
У комплект верстата входило таке приладдя:
За окрему плату за додатковим замовленням майстерні могли виготовити та доставити:
Настільний (годинний) фрезерний верстат С-169 сконструйований на базі швейцарського прецизійного фрезерного верстата Schaublin 11 (SV11).
Розроблений для того, щоб доповнити мініатюрні токарні верстати Schaublin, зроблені в 1930-х роках (SV65 і SV70), дуже рідкісний фрезерний верстат SV11 був спроектований так, щоб використовувати приладдя обох, включаючи головні та задні частинини, а також велика кількість предметів з них асортимент аксесуарів.
Мініатюрна версія кінціпції дизайну, ймовірно, вперше використана Deckel у 1917 році (і розроблена ними, щоб стати на початку 1930-х років добре відомим FP1), SV11 була оснащена головкою, встановленою на ковзній пластині, розташованій на верхній частинині основної колони разом з вертикальним переднім столом, обробленим двома вигнутими Т-подібними пазами, на яких можна розмістити різні пристрій та оснащення.

Кінематична схема настільного фрезерного верстата С-169
Кінематична схема фрезерного настільного верстата С-169. Дивитись у збільшеному масштабі

Фото настільного фрезерного верстата С-169.

Фото настільного фрезерного верстата С-169.

Фото настільного фрезерного верстата С-169.

Фото настільного фрезерного верстата С-169.
Фото настільного фрезерного верстата С-169. Дивитись у збільшеному масштабі

Фото настільного фрезерного верстата С-169.
Фото настільного фрезерного верстата С-169. Дивитись у збільшеному масштабі

Фото настільного фрезерного верстата С-169.
Фото настільного фрезерного верстата С-169. Дивитись у збільшеному масштабі

Фото настільного фрезерного верстата Schaublin 11
Фото настільного фрезерного верстата Schaublin 11 (SV11). Дивитись у збільшеному масштабі

Фото настільного фрезерного верстата Schaublin 11
Фото настільного фрезерного верстата Schaublin 11 (SV11). Дивитись у збільшеному масштабі

Фото настільного фрезерного верстата Schaublin 11
Фото настільного фрезерного верстата Schaublin 11 (SV11). Дивитись у збільшеному масштабі

Фото настільного фрезерного верстата Schaublin 11
Фото настільного фрезерного верстата Schaublin 11 (SV11). Дивитись у збільшеному масштабі

Фото настільного фрезерного верстата Schaublin 11
Фото настільного фрезерного верстата Schaublin 11 (SV11). Дивитись у збільшеному масштабі
| Найменування параметру | С-169 | УФ-100м |
|---|---|---|
| Основні параметри верстата | ||
| Розмір робочої поверхні вертикального столу, мм | 100 х 305 | |
| Розмір робочої поверхні кутового столу, мм | 100 х 200 | |
| Найбільша маса заготовки, що встановлюється на столі верстата (включаючи стіл та пристрій), кг | 25 | |
| Найбільший діаметр свердління у сталі, мм | 8 | |
| Найбільший діаметр свердління у кольоровому металі, мм | 10 | |
| Найбільший діаметр отвору, що розточується, мм | 60 | |
| Відстань від осі горизонтального шпинделя до робочої поверхні кутового столу, мм | 67..272 | |
| Найбільший хід вертикальних санок столу, мм | 90 | 205 |
| Найбільший поздовжній хід столу, мм | 120 | 125 |
| Найбільший поперечний хід шпиндельної бабки, мм | 100 | |
| Найбільший кут повороту кронштейна з пінолю розподільчого шпинделя, град. | ±45° | |
| Найбільший кут повороту верхнього столу з Т-подібними пазами, град | ±5° | |
| Число обертів верхнього шпинделя, об/хв | 106..1280 | 125..4540 |
| Кількість швидкостей шпинделя | 6 | |
| Привід та електроустаткування | ||
| Кількість електродвигунів на верстаті | 1 | 1 |
| Електродвигун приводу головного руху, кВт (об/хв) | 0,6 (1400) |
0,37 |
| Габарити та маса верстата | ||
| Габарити верстата (довжина x ширина x висота), мм | 620 х 500 х 1200 | 436 х 460 х 875 |
| Маса верстата, кг | 168 | 105 |
Пов'язані посилання