Виробник верстата для випробування абразивних кіл СІП-800 – Дербентський завод шліфувальних верстатів , заснований у 1960 році.
Верстат СІП-800 призначений для випробування абразивних кіл на міцність обертанням.
Верстат застосовується на заводах, що споживають абразивні кола і може (бути також використаний на заводах, що виготовляють абразивні кола.
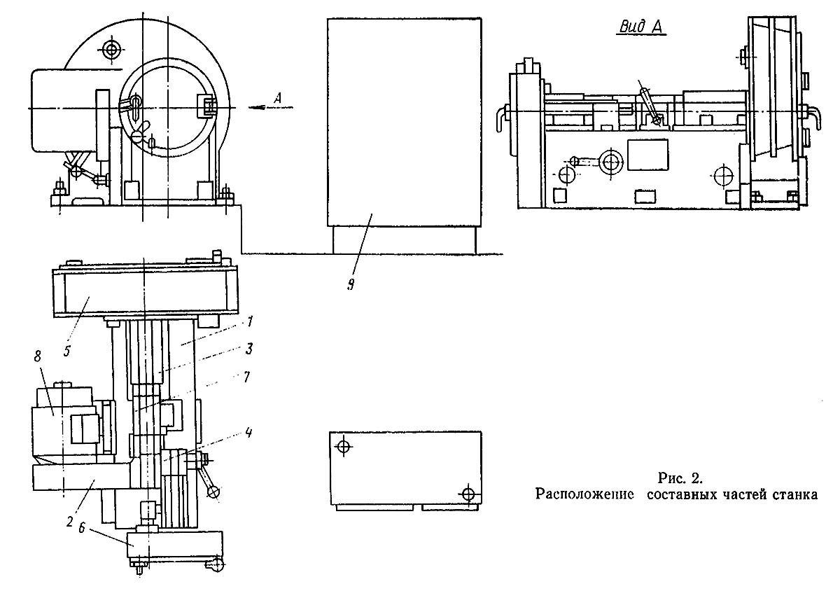
Верстат складається зі станини, приводу, двох шпиндельних головок, малої та великої випробувальних камер та електрообладнання.
Шпиндельні головки та привід встановлені на станині.
Випробувальні камери є сталевими масивними кожухами, що оберігають від уламків при розриві кола.
Випробувальні камери встановлюються на фундаменті.
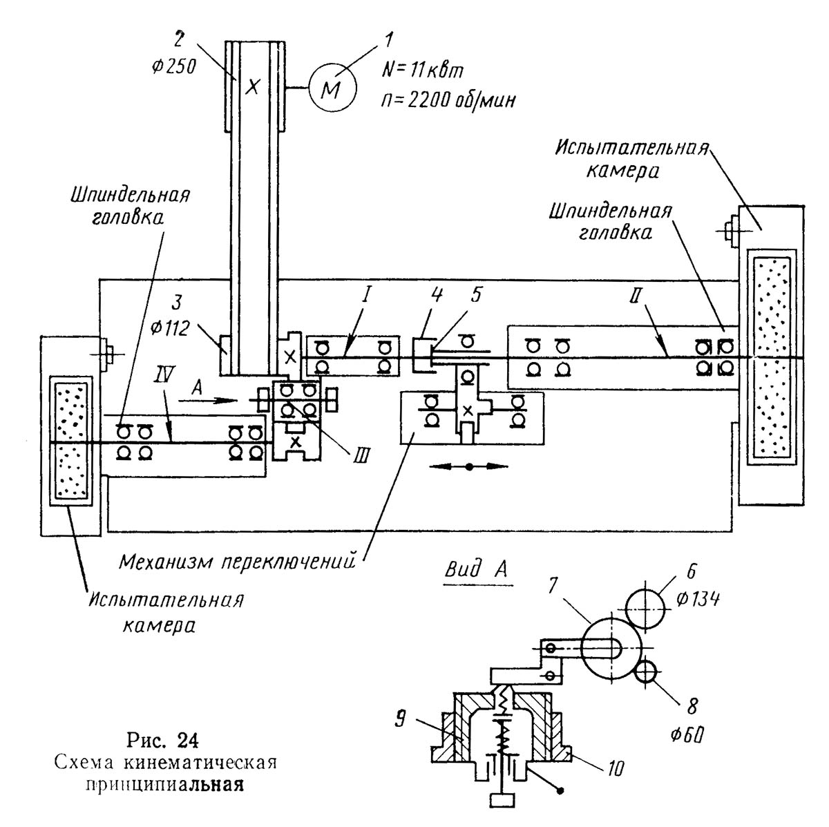
Обертання шпинделів роздільне. Шпиндель великої камери включається за допомогою зубчастої муфти 4; 5. Шпиндель малої камери – за допомогою фрикційного ролика 7.
Безступінчасте регулювання чисел оборотів шпинделів забезпечується комплектним тиристорним перетворювачем.
Шліфувальні круги встановлюються та закріплюються на шпинделях за допомогою фланців. На шпинделі верстата СІП-800 можна встановлювати по одному колу або пакет із двох і більше кіл (рис. 8; 9).
Налаштування шпинделів на необхідні числа обертів здійснюється регулятором обертів електродвигуна.
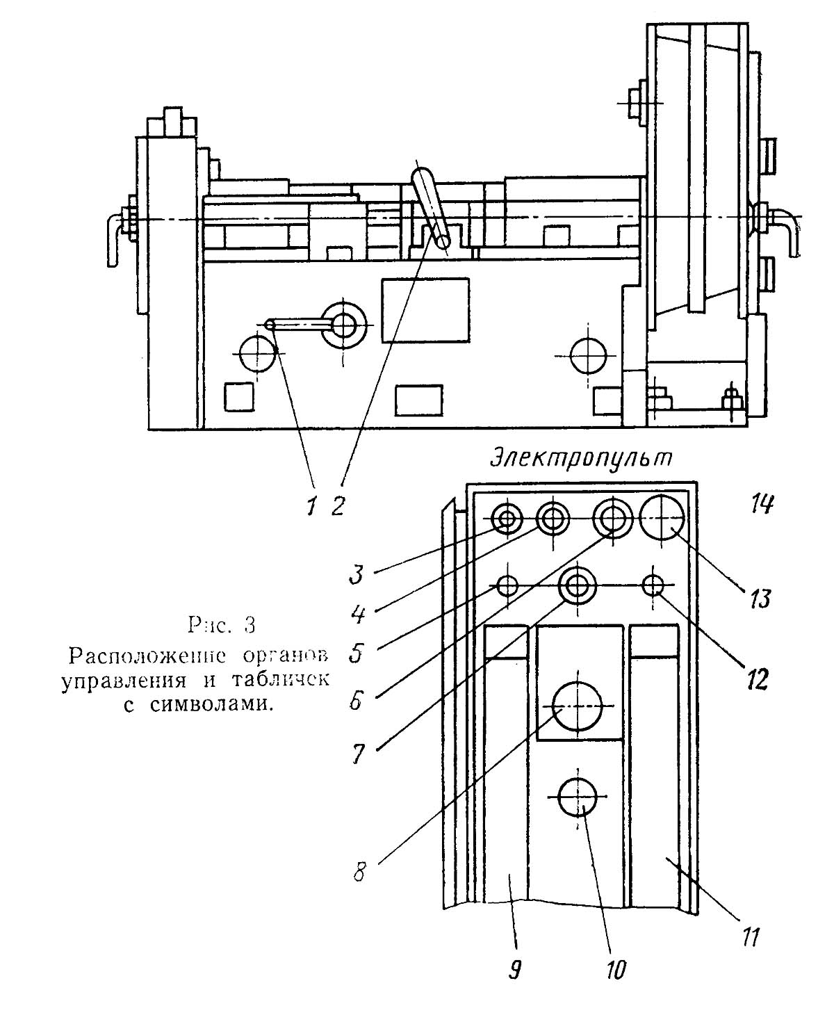
Вибір числа оборотів шпинделів проводиться відповідно до діаметра і робочої швидкості кола, що випробовується, по таблицях чисел і оборотів шпинделів, розташованим на пульті верстата.
Контроль швидкості обертання шпинделів здійснюється за допомогою покажчика швидкості.
Кола, що підлягають випробуванню, повинні бути очищені від пакувального матеріалу та ретельно оглянуті на відсутність тріщин.
Вологі кола мають бути просушені.
Відсутність тріщин перевіряється легким постукуванням дерев'яного молотка по торцевій поверхні кола кількох точках.
Попередньо перевірені "на звук", кола вільно надягають на шпиндель випробувального верстата або фланця для кріплення кола. Якщо коло туго надівається на шпиндель або втулку фланця, випробовувати його не слід, а потрібно спочатку розточити його отвір. Зазор між отвором кола та шпинделем випробувального верстата або втулкою фланця повинен бути не менше 0,1 мм і не більше 1,5 мм.
Якщо коло має отвір діаметром більше 1,5 мм, ніж шпиндель чи посадкове місце фланців, необхідно застосувати фланці більшого розміру чи перехідну втулку чи заварити отвір у колі спеціальної масою чи свинцем.
Між фланцями та навколо з обох боків повинні бути прокладені прокладки з еластичного матеріалу (щільного паперу, картону або гуми). Товщина прокладки повинна бути 0,5-1 мм залежно від діаметра кола, що випробовується, і повинна перекривати всю затискну поверхню фланців.
Фланці повинні бути точно і чисто оброблені і повинні мати кільцеві виточення, що дозволяють забезпечити рівномірний затискач кола.
Діаметри та кільцеві виточки фланців повинні бути однакових розмірів. Не можна випробовувати коло, закріплене двома різними за розмірами фланцями.
При підтягуванні гайок для закріплення кола слід скористатися лише гайковим ключем.
Застосовувати важелі, що збільшують зусилля кріплення, а також ударний інструмент не дозволяється.
Після закріплення кола камеру випробувального (верстата закривають наглухо і приступають до випробування. Натисканням на кнопку "Пуск" включається обертання шпинделя. Цикл випробування крута - розгін кола, витримка часу "а випробування швидкості, гальмування - автоматичний").
Після закінчення випробування електродвигун автоматично вимикається і коли обертання шпинделя повністю припиниться, відкривають камеру.
На верстаті можна випробувати кола згідно з ГОСТ 12.2.001.74
Тривалість випробування має бути:

Ескіз кінця шпинделя верстата СІП-800
Ескіз кінця шпинделя верстата СІП-800. Дивитись у збільшеному масштабі

Фото верстата СІП-800

Фото верстата для випробування абразивних кіл СІП-800

Фото верстата для випробування абразивних кіл СІП-800
Фото верстата для випробування абразивних кіл СІП-800. Дивитись у збільшеному масштабі

Розташування основних вузлів верстата СІП-800
Розташування складових частинин верстата СІП-800. Дивитись у збільшеному масштабі

Розташування органів керування верстатом СІП-800
Розташування органів керування верстатом СІП-800. Дивитись у збільшеному масштабі

Кінематична схема верстата СИП-800
1. Схема кінематична верстата СИП-800. Дивитись у збільшеному масштабі
2. Схема розположення підшибників верстата СИП-800. Дивитись у збільшеному масштабі
На станке установлено следующее електрообладнання:
Электроаппаратура защиты і керування верстатам находится в отдельно стоящем шкафу. На левой боковой стенке шкафа (находится вводной автомат. На правой боковой стенке шкафа находится пульт керування верстатом. Соединение електроустаткування верстата з електрошкафом осуществляется жгутами проводов в трубах.
В станке применены наступні величины напряжений переменного тока:
В станке применены наступні величины напряжений постоянного тока:
При уходе за електрообладнанням необходимо периодически проверять состояние релейной апаратури.
При осмотрах релейной апаратури особое внимание следует обращать на надежное замыкание контактных мостиков.
Во время експлуатации електродвигуна необходимо систематически производить его технические осмотры і профилактические ремонты. Периодичность техосмотров устанавливается в зависимости от производственных условий, но не реже одного раза в два месяца. При профилактических ремонтах должна производиться разборка електродвигуна, внутренняя і наружная чистка, замена змазки підшибників і проверка состояния рабочей поверхности коллектора.
Смену змазки підшибників при нормальных условиях роботи следует производить через 4000 часов роботи, но при работе електродвигуна в пыльной і влажной среде її следует производить чаще, по мере необходимости. Перед набивкой свежей змазки, підшипники должны быть тщательно промыты бензином. Камеру заполнить смазкой на 2/3 її объема. Рекомендуемая смазка підшибників приведена в таблице 5.
В станке предусмотрены наступні блокировки:
При первоначальном пуске верстата необходимо прежде всего проверить надежность заземления ,и качество монтажа електроустаткування внешним осмотром. После осмотра отключить автоматические выключатели тиристорного преобразователя. При помощи вводного автомата ВА1 подключить верстат к цеховой сети, автоматическим выключателем ВА2 (подать питание на ланцюги керування верстата. Проверить действие блокирующих і сигнализирующих устройств верстата. При помощи кнопок і переключателя верстата, проверить четкость срабатывания магнитных пускачів.
Схема електрична принципова (см. черт. СИП-800.00.000.33). Перед началом роботи необходимо убедиться, что все защитные автоматы выключены.
При етом на пульті керування загорается сигнальная лампочка Л1 — сеть і подается питание на електромагниты Эм1, Эм2, открывающие двери испытательных камер. Рукоятками на станке включают шпиндель, на котором будут производиться испытания круга. При етом срабатывает конечный выключатель ВК3 (15—16) или ВК4 (15—17). Подается питание на сигнальную лампочку Л2 или Л3. Одновременно то ланцюги (15—16—18) или (15—17—15) подготавливается ланцюг живлення реле Р1.
При одновременном включении обоих шпинделей срабатывают оба конечных выключателя ВК3 і ВК4 і их контакты (16—18) і (17—18) разрывают ланцюг живлення реле Р1. Произвести испытания круга невозможно.
На станке возможна робота в двух режимах:
где: V — рабочая скорость, на которую рассчитан круг.
Переключатель Bl стоит в положении Vисп = 1,5 V.
Перед началом роботи регулятором выдержек часу устанавливается необходимая выдержка часу і рукояткой регулятора числа оборотів устанавливается необходимая скорость испытания круга.
При закрытых дверях испытательных камер — включены конечные выключатели ВКЛ і ВК2, нажатие кнопки Кн2 «Пуск» вызывает срабатывание реле Р1. Реле Р1 по ланцюги (15—18—20—21—25—26—24—10) становится на самопитание, его контакты (46—47), (47—48) включают тиристорный преобразователь. Двигатель начинает разгон. Одновременно контакт Р1 (15—31) отключает ланцюг живлення реле Р4. Контакты реле Р4 (1—34) і (1—35) отключают електромагниты Эм1 і Эм2; двери испытательных камер закрываются на защелки. Пусковой ток в якорной ланцюги двигуна вызывает срабатывание на время пуска токового реле Р7 контакт которого (68—71) включает реле Р5.
По ланцюги (68—71—72—73—70) начинает заряжаться конденсатор С1, напряжение на котором будет зависеть от длительности пуска.
Контакт реле Р5 (21—30) подает питание на реле РЗ. В кінці пуска начинает спадать ток в якорной ланцюги і отключается токовое реле Р7, через промежуток часу (определяемый начальным напряжением на конденсаторе С1) пропорциональный часу пуска, выпадает реле Р5. По ланцюги (15—18—20—21—25—26—24—27—28—29—10) поступает питание на реле часу Р2. После отсчета часу, необходимого для испытания круга, срабатывает реле Р2 і своим контактом (25—26) разрывает свою ланцюг живлення, і ланцюг живлення реле Р1.
Отпадание контакта (47—48) реле Р1 (вызывает протекание в якорной ланцюги тормозного тока і торможение двигуна.
Срабатывает реле Р7 і подает питание на катушку реле Р6. По цели (68—71—75—76—70) заряжается конденсатор С2 напряжение на которое будет зависеть от длительности торможения.
После окончания торможения ток в якорной цени двигуна уменьшается, токовое реле Р7 отключается. Через выдержку часу пропорциональную часу торможения выдает реле Р6 его контакт (46—47) отключает тиристорный преобразователь, а контакт (31—32) подает питание на реле Р4. Контакты реле Р4 (1—34) і (1—35) включает електромагниты Эм1 і Эм2, открываются защелки дверей испытательных камер.
Переключатель В1 стоит в положении Vисп = 1,65 V.
Перед началом роботи регулятором числа оборотів устанавливается необходимая скорость испытания круга.
При закрытых дверях испытательных камер — включены конечные выключатели ВК1 і ВК2 нажатие кнопки Кн2 «Пуск» вызывает срабатывание по ланцюги (7-5—18—20—21—22—23—24—10) реле Р1. Контакт Р1 (47—48) включает тиристорный преобразователь, а контакт (15—31) отключает реле Р4. Контакты реле Р4 отключают електромагниты защелок дверей испытательных камер. Пусковой ток ланцюги двигуна вызывает срабатывание токового реле Р7, контакт которого (68—71) включает реле Р5 подключает конденсатор С1 к питающему напряжению. Контакт реле Р5 (21—23) обеспечивает питание реле Р1. После выпадания реле Р7 і отсчета выдержки часу, определяемой начальным напряжением конденсатора С1, отключается реле Р5. Контакт Р5 (21—23) разрывает ланцюг живлення реле Р1. Начинается торможение двигуна аналогичное описанному выше.
При необходимости прервать испытательный цикл, нажимается кнопка Кн1 —«Стоп» отключающая питание аппаратов керування верстатом.
Для приближенного контроля скорости испытания круга в станке предусмотрен указатель скорости УС, который подключается к тахогенератору тиристорного електроприводу при нажатии кнопки Кн3.
Захист електродвигуна от длительных перегрузок осуществляется автоматом тиристорного преобразователя.
Захист трансформатора Tр1 і ланцюгів керування осуществляется автоматом ВА2 і предохранителем Пр1, Пр2.
Включив привід на холостой ход (малая камера) в режиме V = 1,5 Vp після окончания разгона круга, регулировочным винтом необходимо добиться падежного отключения токового реле.
Поставив переключатель В2 в положение, соответствующее минимальной испытательной скорости, вращаем потенциометр Р 53 до тех пор, пока скорость обертання шпинделя измеренная тахометром не станет равной заданной. Затем, поставив переключатель во второе положение і вращая потенциометр 54, настраивают вторую испытательную скорость. Аналогично потенциометрами Р 55... Р 95, настраиваются остальные скорости.
В таблице 6 указан перечень елементів системы і точок змазки.
Наладка верстата заключается в установці і закреплении: испытываемого круга на шпиндель, установці необходимого режима испытания і необходимого числа оборотів шпинделя.
На станке можно испытывать круги в режиме з выдержкой часу на испытательной скорости, і в режиме без выдержки часу.
Для налагодження верстата на режим роботи необходимо проделать следующее:
В процессе експлуатации верстата возникает необходимость в регулировании окремих механізмов верстата з целью восстановления их нормальной роботи.
Регулювання поджима фрикционного ролика производится поджатием пружины 2 при помощи гвинта 1 (рис. 14).
Регулювання ходу фрикционного ролика производится винтом 3 і упором 4 (рис. 14, 15).
Для замены фрикционного ролика следует снять крышку на станине, вывернуть винт 1, снять ригель 2, вытянуть ось 3 і вынуть корпус 4 з фрикционным роликом через окно станины, після чего фрикционный ролик снимается з оси корпуса (рис. 15).

Головка шпинделя верстата СИП-800
Головка шпинделя верстата СИП-800. Дивитись у збільшеному масштабі

Шпиндель верстата СИП-800
Шпиндель верстата СИП-800. Дивитись у збільшеному масштабі

Шпиндель верстата СИП-800
Шпиндель верстата СИП-800. Дивитись у збільшеному масштабі
| Наименование параметра | СИП-500 | СИП-500М | |
|---|---|---|---|
| Основні параметри | |||
| Количество шпинделей на станке | 2 | 2 | |
| Количество испытательных камер | 2 | 2 | |
| Количество испытательных камер | 2 | 2 |
Пов'язані посилання
Каталог довідник круглошліфувальних верстатів
Паспорти до круглошліфувальних верстатів
Прайс-лист інформаційних видань