Постачальником настільного токарного верстата СТМК-150 є компанія Калібр-2001 ППК, ТОВ м. Корольов, заснована у 2001 році.
Виробництво комбінованого токарного верстата Калібр СТМК-150 здійснюється в Китайській народній республіці.
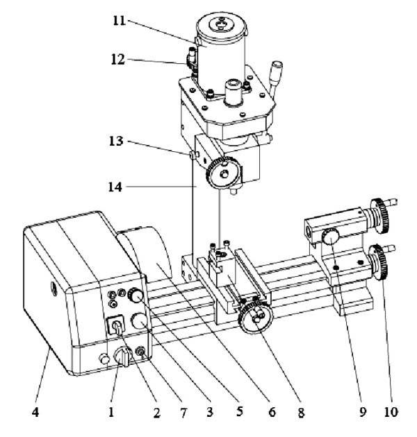
Токарний комбінований верстат СТМК-150 виготовлений на базі токарного настільного верстата СТМ-150 та відрізняється від нього пристроєм фрезерування, який має свій електродвигун, що обертає фрезу або свердло. Така комбінація дозволяє виконувати свердління та легке фрезерування оброблюваної заготовки.
Перед операцією фрезерування або свердління з супорта знімається різцетримка та встановлюються лещата для закріплення деталі на робочому столі-супорті.
Пристрій фрезерування має вертикальну та тонку поперечну ручну подачу. Поздовжня та поперечна подачі фрезерного столу здійснюється супортом верстата.
Даний верстат є верстатом класу «хобі», і призначений для індивідуального (побутового) застосування, тобто за своїми конструктивними особливостями та технічними характеристиками верстат не призначений для використання на виробництві.
Токарний верстат металу СТМК-150 призначений для обробки заготовок з металу, деревини, всіх видів пластмаси методом точення та фрезерування.
Лита чавунна станина і жорсткі загартовані напрямні забезпечують високу точність деталі, що обробляється. Він зручний для обробки деталей невеликих розмірів у майстернях, сервісному автомобілі, вдома.
Верстат СТМК-150 є настільним токарним верстатом і призначається для всіляких токарних робіт:
Регулювання частоти обертання шпинделя здійснюється плавно та безступінчасто за допомогою перетворювача частоти. Широкий діапазон регулювання частоти обертання шпинделя і швидкості поздовжньої подачі збільшує арсенал ріжучого інструменту, що застосовується.
Традиційне наочне компонування верстата у поєднанні з відпрацьованою кінематичною схемою дозволяє впевнено забезпечити токарну обробку з класом точності «Н» протягом тривалого терміну експлуатації.
У порівнянні з пропонованими на ринку малогабаритними верстатами - він простий в експлуатації, надійний та довговічний.
Верстат працює від однофазної мережі змінного струму напругою 220 В частотою 50 Гц.
Верстат може експлуатуватися за таких умов:

Фото токарного верстата СТМК-150. Дивитись у збільшеному масштабі







| Найменування параметру | СТМК-150 | |
|---|---|---|
| Основні параметри верстата | ||
| Найбільший діаметр заготовки над станиною, мм | 140 | |
| Найбільший діаметр заготовки над супортом, мм | ||
| Найбільша довжина заготовки у центрах (РМЦ), мм | 250 | |
| Рекомендована глибина точення за один прохід, мм | 0,1 | |
| Максимальна глибина точення за один прохід, мм | 0,2 | |
| Максимальний розмір державки різця, мм | 8 х 8 | |
| Шпиндель | ||
| Діаметр наскрізного отвору в шпинделі, мм | 9 | |
| Приєднання шпинделя | 2МК | |
| Число ступенів частот прямого обертання шпинделя | б/с | |
| Частота прямого обертання шпинделя, об/хв | 100..2000 | |
| Диаметр токарного патрона, мм | 80 | |
| Супорт (поперечний повзун). Подання | ||
| Найбільше поздовжнє переміщення каретки супорта, мм | ||
| Переміщення супорта поздовжнє на один поділ лімба, мм | ||
| Найбільше поперечне переміщення супорта, мм | 60 | |
| Переміщення супорта поперечне на один поділ лімба, мм | 0,025 | |
| Кут повороту різцевих санчат, град | ±45° | |
| Межі поздовжніх робочих подач супорту, мм/про | 0,05; 0,10 | |
| Межі кроків різьб метричних, що нарізаються, мм | 0,5; 0,7; 0,8; 1,0; 1,25 | |
| Межі кроків різьблення дюймових, ниток на дюйм | 16..24, 5 кроків | |
| Свердлильно-фрезерна приставка | ||
| Максимальний діаметр свердління, мм | 10 | |
| Конус свердлильного шпинделя, мм | MT2 | |
| Електродвигун постійного струму, Вт | 150 | |
| Частота обертання шпинделя (нижній ряд), об/хв | 100..1000 | |
| Частота обертання шпинделя (верхній ряд), об/хв | 100..2000 | |
| Частота обертання шпинделя (верхній ряд), об/хв | 100..2000 | |
| Габарити приставки (пакувальна скринька), мм | 700 x 430 x 620 | |
| Маса навісного обладнання, кг | 45/51 | |
| Задня бабка | ||
| Конус пінолі | 1 МК | |
| Найбільше переміщення пінолі, мм | 1 МК | |
| Електроустаткування | ||
| Номінальна напруга живлення, | 220 в 50 Гц | |
| Електродвигун постійного струму головного приводу, Вт | 150 | |
| Габарити та маса верстата | ||
| Габарити верстата (довжина ширина висота), мм | 540 х 300 х 270 | |
| Маса верстата, кг | 34,6 |