metalinstryment.com
Довідник по металорізальних верстатів та пресовому обладнанні

СУБД-4 Верстат деревообрабатывающий комбинированный
Схеми, опис, характеристики

СУБД-4 Верстат комбинированный деревообрабатывающий







Відомості про виробника деревообрабатывающего комбинированного верстата СУБД-4

Производитель універсального заточного верстата СУБД-4 - ПО "Промприбор" г. Чебоксары.





СУБД-4 Верстат деревообрабатывающий комбинированный. Назначение, область применения

Верстат Універсальный Деревообрабатывающий Бытовой Комбинированный СУБД-4 предназначен для комплексной обробки деталей из различных сортов дерева.

Принцип роботи і особливості конструкції верстата

Верстат СУБД-4 имеет простую конструкцию: електродвигатель з двухступенчатым шкивом і строгальный вал (шпиндель) з приемным шкивом соединены клиновым ремнем. Строгальный вал (шпиндель) имеет две скорости обертання - 3000 і 4500 об/мин при перестановке клинового ремня.

С торца строгального вала крепится приемный шкив і дискова пила (дискова фреза).

Машина СУБД-4 состоит из сварного основания, внутри которого расположен приводной електродвигатель.

Верстат СУБД-4 выполняет наступні операции:

  1. Строгание (фугование) по плоскости от 10 до 250 мм по ширине і до 3 мм в глубину за один проход при скорости подачі заготовки до 3,6; 5 м/мин;
  2. Фугование под углом;
  3. Рейсмусование з автоматичною подачей до 3,6; 5 м/мин;
  4. Строгание по ребрам (кромке) под углом от 0 до 45°;
  5. Распиловку вдоль і поперек волокон доски толщиной до 80 мм под прямым углом при скорости подачі заготовки до 1,0 м/мин;
  6. Фрезерование пазов дисковыми і кінцівыми фрезами глубиной до 10..120 мм;
  7. Сверление глубиной до 10..120 мм;

Модифікації бытовых деревообрабатывающих комбинированных верстатів СУБД-4

Основні технологические операции, выполняемые на верстатах модификации:

СУБД-4А, СУБД-4Б, СУБД-4Г - фугование, распиловка вдоль, поперек волокон в под углом, рейсмусование, шлифование, сверление, фрезерование торцевой фрезой (пазование) і дисковий фрезой, шпунтование, выборка четверти, заточка инструмента,

СУБД-4В - фугование, распиловка вдоль, поперек волокон і под углом, шлифование, выборка четверти, заточка инструмента, сверление, фрезерование торцевой фрезой (пазование) і дисковий фрезой, шпунтование.

СУБД-4Д - фугование, распиловка вдоль, поперек волокон і под углом, шлифование, выборка четверти, заточка инструмента, фрезерование дисковий фрезой, шпунтование.





Пристрій і робота бытового верстата СУБД-4Б

Основной частью верстатів универсальных бытовых деревообрабатывающих моделі СУБД-4 является фуговальный верстат.

При установці на фуговальном станке окремих складових частин і инструментов, верстат може работать как круглопильный, фрезерный, сверлильный, рейсмусовый, шлифовальный і заточный (в зависимости от модификации).


Фуговальный верстат СУБД-4


Фуговальная конфигурация комбинированного верстата СУБД-4

Фуговальная конфигурация комбинированного верстата СУБД-4

Фуговальная конфигурация комбинированного верстата СУБД-4. Дивитись у збільшеному масштабі



Пристрій верстата приведено на рис 3. Основным елементом фуговального верстата является ножевой вал 3.

Вращение ножевого вала осуществляется через клиноременную передачу от електродвигуна.

С одной стороны ножевого вала крепится двухступенчатые шкив, С другой — дискова пила, которая при фуговании должна быть снята.

Регулювання толщины стружек, снимаемой при обработке пиломатериалов, осуществляется за счет переміщення подвижного фуговального стола 8 при вращении ручки 9.

Для обеспечения условий безопасности при фуговании пиломатериалов в конструкції верстата предусмотрено ограждение ножевого вала 11.

Конструктивно ограждение 11 выполнено таким образом, что в процессе обробки пиломатериалов оставляет открытой работающую часть ножевого вала в размер обрабатываемой заготовки.

Рамка 15 предусмотрена доя крепленая к ней мешка 16, в который производится сбор стружки при обработке пиломатериалов. Мешок 16 в комплект поставки не входит.

Качество поверхности обрабатываемых пиломатериалов обеспечивается при соблюдения условий:

В верстатах модификации СУБД-4А,СУБД-4Б,СУБД-4В,СУБД-4Д при установці ножей в фуговальные пазы ножевого вала пользоваться текстолитовой планкой, к которой лезвия ножей прижимает выдавливающая пружина 4 (рис. 1а). После налаштування ножи должны быть надежно закреплены гвинтами 1 (рис. 1а). Во время смены ножей будьте внимательны, следите, чтобы не потерялись пружины 4 (рис. 1а).

В верстатах модификации СУБД-4Г налаштування ножей осуществляется вращением винтов 8 (рис. 16).

Необходимо помнить, что ножевой вал в сборе отбалансирован на предприятии-изготовителе. Поетому при смене ножей не следует смешивать комплекты деталей разных фигурных пазов ножевого вала (рис. 1а, рис 1б). Ножи після заточки должны быть одинаковых размеров, мати одну і ту же массу;

  1. ножи должны быть остро заточены. Заточка ножей производится шлифовальным бруском. Угол заточки режущей кромки ножей должен составлять 35..45°;
  2. режущая кромка ножей должна быть выставлена таким образом, чтобы находилась на одном уровне з поверхностью нерухомого фуговального стола.
  3. правильно выбирать скорость подачі обрабатываемого пиломатериала, так как скорость подачі зависит от качества і вида древесины. Подачу заготовки осуществлять плавно, без рывков з одинаковой скоростью;
  4. следить, чтобы при експлуатации верстатів не нарушались условия параллельности фуговальных столов относительно друг друга, неплоскостности і шероховатости поверхностей столов.




Круглопильный верстат

Пристрій верстата приведено на рис. 3.

Пила зажимается гайкой 6 между шайбой 7 і буртом резьбовой втулки 5 (рис. 1а) і крепится на конусный конец вала болтом 3 (рис. 1в).

Пильный стол 6 крепится на кронштейнах 5 к корпусу фуговального верстата гайками 12 (рис. 3).

При помощи гаек пильный стол можно выставить на разной высоте і осуществлять пропилы необходимой глубины.

Перед началом работ вращением ручки 8 поднять подвижной фуговальный стол на уровень нерухомого.

Пильный стол в установить на уровень фуговальных столов 7, 8.

Пила имеет ограждение 1, которое при продвижении под ним заготовки поднимается. Ограждение крепится к клину 2. Клин выставлен в одной плоскости з пилкою, і выполняет роль направляющего і расклинивающего заготовку пристроя. Сектора зубчасті 13 предназначены для заклинивания заготовки при подаче пиломатериала в обратном направлении.

На столе 6 може быть установлена упор-линейка 14, используемая для распиловки под углом.

Для поперечної распиловки необходимо снять ограждение ножевого вала 11 і упорной линейки 10, 14. Закрыть ножевой вал настилом (рис.11) из комплекта, поставляемого вместе со верстатом.

Закрепить настил на подвижном столе гвинтами. При наладке верстата на работу з дисковий фрезой необходимо вставку ни пильном столе около плиты заменить на вставку из комплекта поставки. Для етого отвернуть винты, крепящие вставку к пильному столу, заменить вставку і закрепить її теми же гвинтами. Установить дисковую фрезу на кінці ножевого вала, выставить пильный стол относительно фуговальных столов на высоту, обеспечивающую необходимую глубину фрезеруемого паза,





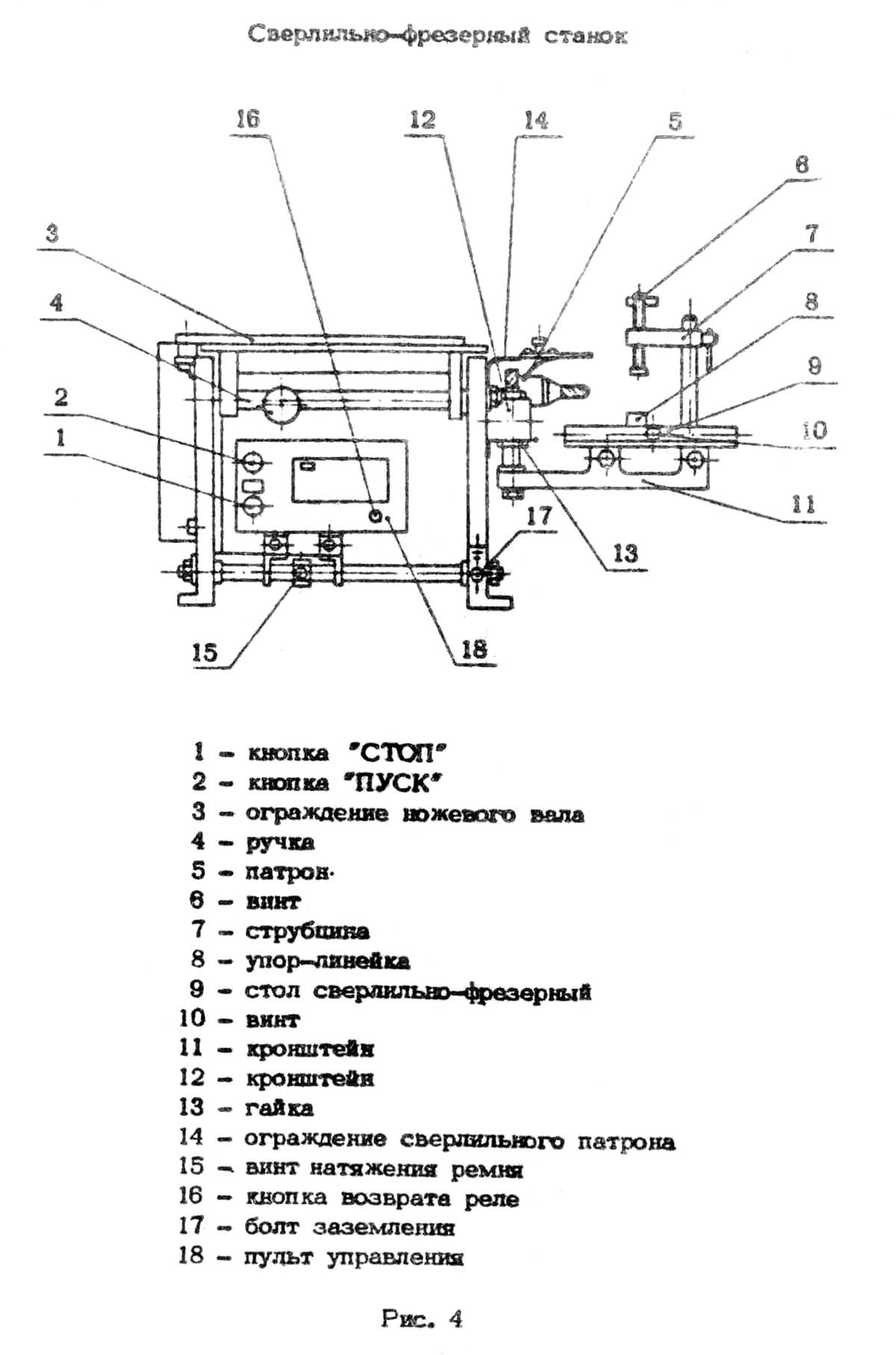
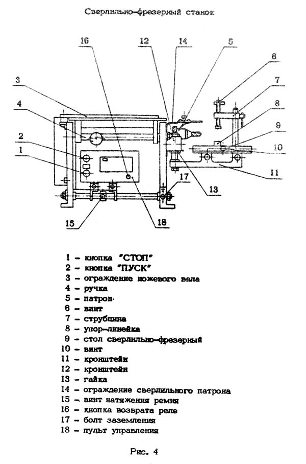
Сверлильно-фрееерный верстат

Фрезерно-свердлильний пристрій комбинированного верстата СУБД-4

Фрезерно-свердлильний пристрій верстата СУБД-4

Фрезерно-свердлильний пристрій комбинированного верстата СУБД-4. Дивитись у збільшеному масштабі



Пристрій верстата приведено на рис. 4.

Сверлильный патрон 2 (рис, 2) надевается на конусный конец ножевого вала і крепится винтом 3 (рис. 2а) или специальной гайкой 1 (рис. 26). В патроне могут быть закреплены сверла, фрезы.

Путем переустановки инструмента в патроне или самого патрона следует добиться минимального биения инструмента.

Для сверлильно-фрезерных работ используется сверлильно-фрезерный стол 9 (рис. 4), который крепится к фуговальному верстату при помощи кронштейна-переходника 11 (рис. 4) і гаек 13 (рис. 4) к кронштейну 12 (рис. 4) фуговального верстата. При помощи гаек 13 (рис. 4) стол може перемещаться в вертикальном направлении на нужную высоту.

На столе устанавливается упор-линейка 8 (рис. 4).

Струбцины 7 (рис. 4) при помощи винтов 6 обеспечивают прижатие заготовки к столу.

При сверлильно-фрезерных работах обязательно пользоваться ограждениями 3, 14 (рис. 4).

Подача заготовки при сверлении і фрезеровании осуществляется путем ручного переміщення сверлильно-фрезерного стола.

Винты 10 предназначены для предотобертання переміщення столов относительно друг друга при транспортировании і хранении.





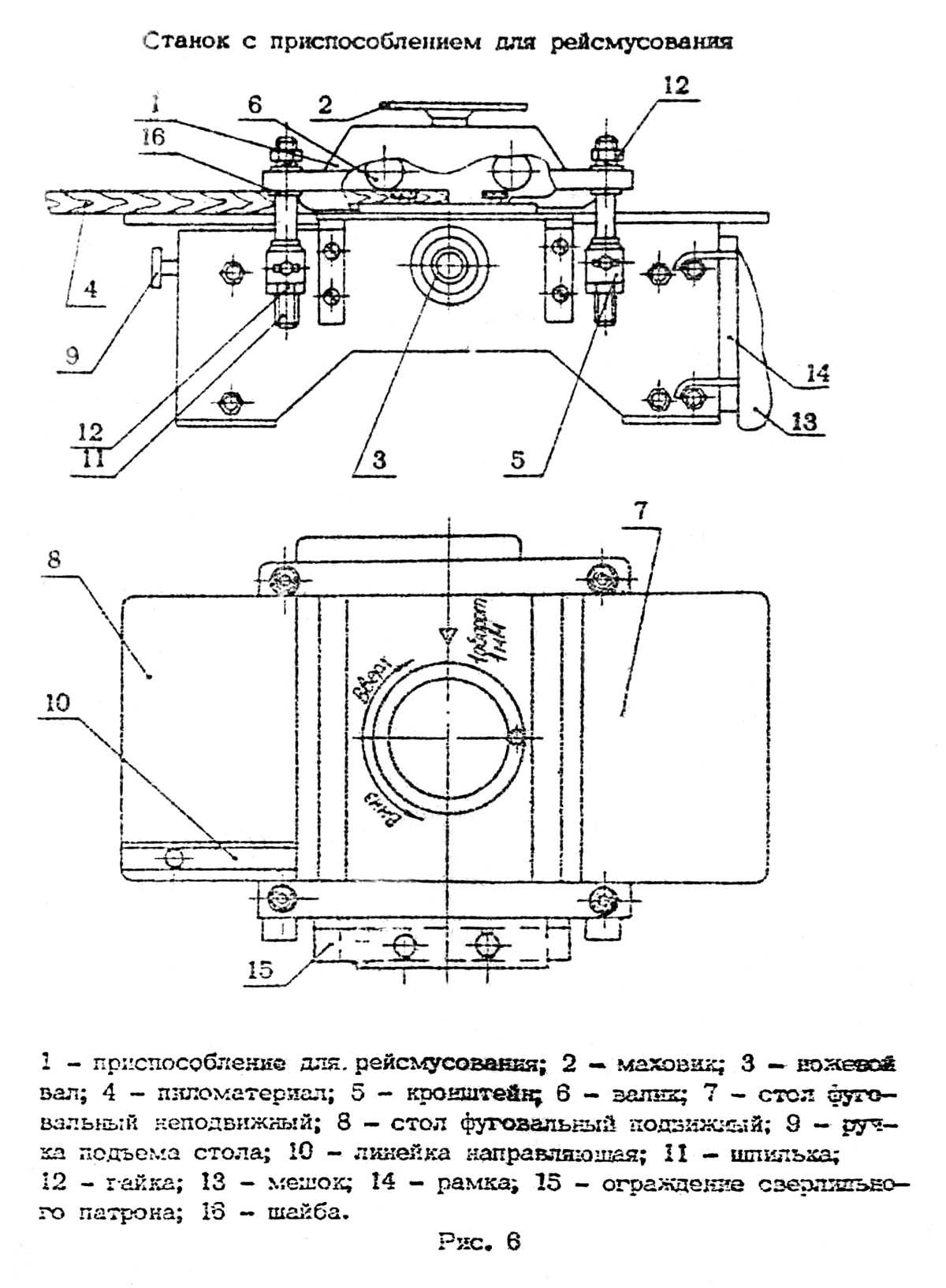
Верстат з пристрійм для рейсмусования

Рейсмусовое пристрій пристрій комбинированного верстата СУБД-4

Рейсмусовое пристрій пристрій верстата СУБД-4

Рейсмусовое пристрій пристрій комбинированного верстата СУБД-4. Дивитись у збільшеному масштабі



Пристрій верстата з пристрійм для рейсмусования приведено на рис. 6.

Приспособление для рейсмусования представляет из себя два подпружиненных прижимных валика, которые обеспечивают получение калиброванных ЗАГОТОВОК.

Порядок обробки заготовки в режиме рейсмусования:

  1. обработать заготовку на фуговальном станке в размер требуемой толщины з припуском на рейсмусование;
  2. собрать пристрій для рейсмусования, снять пильный стол, ограждение ножевого вала. На кронштейнах 5 закрепить шпильки 11 гайками 12. На шпильках установить пристрій для рейсмусования, закрепить его гайками 12. При установці і съеме приспособления следить, чтобы шайбы 16 не потерялись;
  3. опустить подвижный стол относительно нерухомого на толщину снимаемой стружки 1 мм. Указанный размер снимаемой стружки обеспечивает оптимальный режим роботи верстата, когда заготовка подается на ножевой вал легко, без особых усилий;
  4. замерить толщину заготовки до обробки;
  5. вращением маховика прижать заготовку к подвижному столу;
  6. произвести подачу заготовки на ножевой вал верстата под пристрійм. Замерить толщину заготовки після обробки і определить размер снимаемой стружки;
  7. рассчитать сколько раз нужно пропустить заготовку через пристрій для обробки її в требуемый размер;
  8. обработать заготовку;
  9. отрейсмусовать заготовку, постепенно уменьшая толщину снимаемой стружки подъемом подвижного стола.

Работу на рейсмусовом станке производить після установки на нем ограждения сверлильного патрона.





Заточной верстат

Шлифовальный круг 6 (рис. 7) зажимается между шайбой 2 і буртом резьбовой втулки 3 і крепится гайкой 4 на конусный конец ножевого вала болтом 5 (рис. 7).

На шлифовальный круг устанавливается защитный кожух 1 (рис. 7), который крепится гвинтами к корпусу фуговального верстата. Зазор между шлифовальным кругом і пластикой, служащий опорой для инструмента при заточке, должен быть не более 3 мм .

Перед пуском верстата произвести наступні роботи:

  1. очистить верстат і рабочую зону от опилок і стружки;
  2. соблюдать правила по технике безопасности к пожарной безопасности.

Наладки верстата на соответствующие вялы работ показаны на рис. 10 - 17.





Електроустаткування

В качестве приводу верстата применен асинхронный електродвигатель.

Електродвигун изолирован от корпуса верстата.

Аппаратура керування установлена в специальном отсеке верстата.

Во избежание перегрева і выхода електродвигуна из строя распиловку производить при частоте обертання вала 2810 об/мин, фугование -4480 об/мин.

Изменение частот обертання вала производится сменой положения ремня согласно рис. рис. 17.

При нарушении пломбы предприятие-изготовитель не принимает претензии от покупателя.

Запрещается експлуатация верстатів в условиях воздействия капель і брызг, а также на открытых площадках во время снегопада і дождя.





СУБД-4 Загальний вигляд комбинированного верстата

Фото вигляд комбинированного верстата СУБД-4

Фото комбинированного верстата СУБД-4


Фото вигляд комбинированного верстата СУБД-4

Фото комбинированного верстата СУБД-4


Фото вигляд комбинированного верстата СУБД-4

Фото комбинированного верстата СУБД-4



СУБД-4 Посадочные і присоединительные базы верстата

Крепление дисковий пилы і дисковий фрезы на кінці шпинделя

Крепление дисковий пилы на кінці шпинделя

Крепление дисковий пилы і дисковий фрезы на кінці шпинделя. Дивитись у збільшеному масштабі



Крепление дисковий пилы і дисковий фрезы на кінці шпинделя

Посадочные і присоединительные базы верстата СУБД-4

Наладка на продольную распиловку комбинированного верстата СУБД-4

Наладка на продольную распиловку верстата СУБД-4

Наладка на продольную распиловку комбинированного верстата СУБД-4. Дивитись у збільшеному масштабі



Наладка на поперечную распиловку комбинированного верстата СУБД-4

Наладка на поперечную распиловку верстата СУБД-4

Наладка на поперечную распиловку комбинированного верстата СУБД-4. Дивитись у збільшеному масштабі



Наладка на вырезку четверти комбинированного верстата СУБД-4

Наладка на вырезку четверти верстата СУБД-4

Наладка на вырезку четверти комбинированного верстата СУБД-4. Дивитись у збільшеному масштабі



Наладка на сверлильно-фрезерные роботи верстата СУБД-4

Наладка на сверлильно-фрезерные роботи верстата СУБД-4

Наладка на сверлильно-фрезерные роботи верстата СУБД-4. Дивитись у збільшеному масштабі



Наладка на шлифование верстата СУБД-4

Наладка на шлифование верстата СУБД-4

Наладка на шлифование верстата СУБД-4. Дивитись у збільшеному масштабі



Подготовительные операции

Заточка дисковий пилы комбинированного верстата СУБД-4

Заточка дисковий пилы верстата СУБД-4

Заточка дисковий пилы комбинированного верстата СУБД-4. Дивитись у збільшеному масштабі



Углы заточки дереворежущего инструмента

Углы заточки дереворежущего инструмента


Регулювання ножей в строгальном барабане верстата СУБД-4

Регулювання ножей в строгальном барабане верстата СУБД-4


Планка для калибровки ножей в баробане верстата СУБД-4

Планка для калибровки ножей в строгальном барабане


Ножи необходимо устанавливать так, чтобы они выступали на 1 мм за габарити ножевого вала. При установці контролировать равномерную выставку ножей по всей длине вала.

Затяжку болтов, удерживающих ножи, начинать от середины клина, выставку ножей произвести по калиберной планке. Перед началом роботи обязательно проверить надежность крепления ножей. Включив фугувальне пристрій, убедиться в нормальной его работе. Необходимо следить за работой підшибників ножевого вала. В случае повышения температуры необходимо заменить підшипники.






Технічні характеристики комбинированного верстата СУБД-4

Наименование параметра СУБД-4 ВЗ-335
Пиление дисковий пилкою
Длина заготовки при пилении, мм 0..4000
Ширина заготовки при пилении, мм 5..300
Диапазон глубины пропила, мм 55 80
Вертикальное перемещение пильного стола, мм 80
Наибольший диаметр пильного диска, мм Ø200 Ø200..Ø315
Посадочный диаметр пилы, мм 32 32, 50
Частота обертання пилы, об/мин 28100, 4500 3000, 4500
Розміри рабочей поверхности пильного стола, мм 720 х 170 750 х 400
Наибольший диаметр фрезы, мм Наибольшая глубина фрезерування, мм Фугование (строгание) Длина заготовки при фуговании, мм 400..4000 Наибольшая ширина фугования (строгания), мм 250 10..250 Наибольшая глубина снимаемого слоя за один проход при строгании, мм 3 3 Диаметр режущей частини ножевого вала, мм 86..88 Частота обертання ножевого вала на холостом ходу, об/мин 2810, 4500 3000, 4500 Розміри строгального ножа, мм 260 х 30 х 3
Сталь 65Г Количество строгальных ножей в ножевом барабане 2; 4 3 Ширина і длина строгальных столов, мм 320 х 720 335 х 810 Рейсмус Максимальная і минимальная толщина заготовки при рейсмусовании (Высота подъема рейсмусового стола), мм 50 120 Наименьшая длина обрабатываемой заготовки при рейсмусовании, мм 400 Величина подъема рейсмусового стола, мм 120 Скорость подачі заготовки в режиме рейсмуса, м/мин ручная 5 Розміри рабочей поверхности рейсмусового стола, мм 700 х 260 Максимальная ширина рейсмусования, мм Наибольшая толщина срезаемого слоя при рейсмусовании, мм 3 Сверление. Фрезерование кінцівой фрезой Длина заготовки при сверлении, фрезеровании, мм 200..4000 Наибольший диаметр сверла, фрезы, мм 3..20 Частота обертання сверла, фрезы, мин 3000, 4500 Розміри рабочей поверхности стола, мм 390 х 190 Глубина сверления, мм 85 150 Величина продольного і поперечного переміщення стола, мм 110 х 100 Пристрій токарное Частота обертання токарного шпинделя, об/мин - 1600 Наибольшая длина заготовки при токарной обработке, мм - 100..800 Наибольший диаметр заготовки при токарной обработке в центрах, мм - 80 Наибольший диаметр заготовки при токарной обработке на план-шайбе, мм - 300 Вес токарного приспособления, кг - Електроустаткування верстата Род тока питающей сети ~220В / ~380В ~380В Количество електродвигателей на станке, шт 1 1 Електродвигун, кВт (об/мин) 1,1 (2810) 3 Габарит і масса верстата Габарит верстата (длна х ширина х высота), мм 750 х 555 х 475 100 х 900 х 900 Масса верстата, кг 90 475