Фрезерний настільний верстат УФ-100м та УФ-100м-01 випускався підприємствами:
Фрезерний верстат УФ-100 випускався на початку 90-х років. Призначений для навчання та широкого продажу населенню.
Верстат УФ-100м настільного типу призначений для виконання дрібних фрезерних робіт та обробки деталей із чорних, кольорових металів та їх сплавів, а також дерева та пластмас.
На верстатах виконуються операції фрезерування, свердління, розгортання, зібрування під різними кутами.
Станина верстата лита. Зверху та збоку змонтовані напрямні:
Всі санки отримують подачу від ходових гвинтів, що приводяться в рух вручну маховичками.
Один розподіл лімба всіх трьох маховичків – 0,01 мм.
При встановленні важелів переміщення ходові гвинти необхідно зняти.
Модифікація верстата встановлюється залежно від мережі живлення та схеми підключення електродвигуна.
Для розширення можливостей верстата передбачено приладдя:

Фото фрезерного настільного верстата УФ-100м
Фото фрезерного настільного верстата УФ-100м. Дивитись у збільшеному масштабі

Фото фрезерного настільного верстата УФ-100м
Фото фрезерного настільного верстата УФ-100м. Дивитись у збільшеному масштабі

Фото фрезерного настільного верстата УФ-100м
Фото фрезерного настільного верстата УФ-100м. Дивитись у збільшеному масштабі

Фото фрезерного настільного верстата УФ-100м з УЦІ
Фото фрезерного настільного верстата УФ-100м. Дивитись у збільшеному масштабі

Фото фрезерного настільного верстата УФ-100м з УЦІ
Фото фрезерного настільного верстата УФ-100м. Дивитись у збільшеному масштабі

Фото фрезерного настільного верстата УФ-100м
Фото фрезерного настільного верстата УФ-100м. Дивитись у збільшеному масштабі

Фото фрезерного настільного верстата УФ-100м
Фото фрезерного настільного верстата УФ-100м. Дивитись у збільшеному масштабі

Фото фрезерного настільного верстата УФ-100м
Фото фрезерного настільного верстата УФ-100м. Дивитись у збільшеному масштабі

Фото фрезерного настільного верстата УФ-100м
Фото фрезерного настільного верстата УФ-100м. Дивитись у збільшеному масштабі

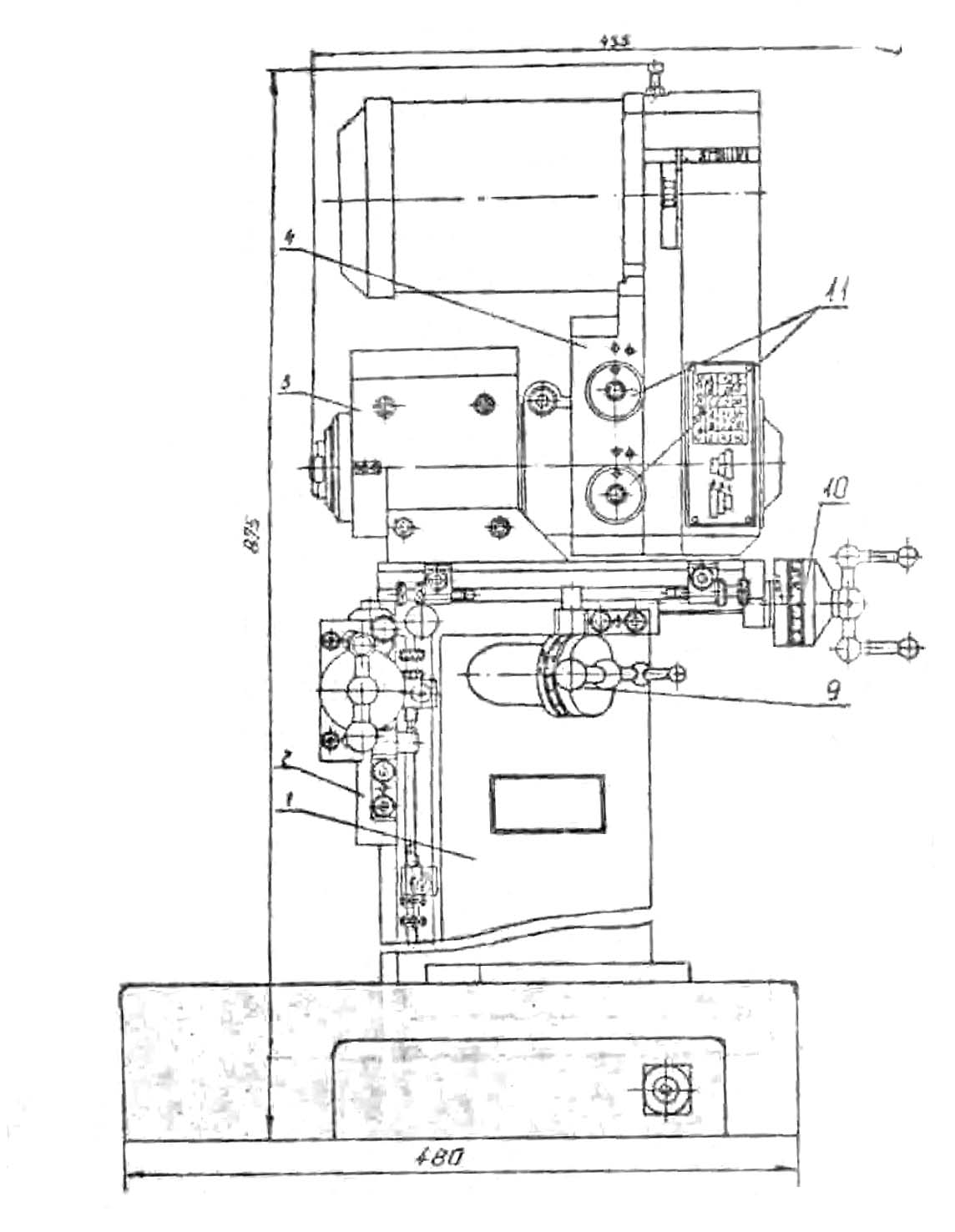
Основні вузли фрезерного настільного верстата УФ-100м
Основні вузли настільного фрезерного верстата УФ-100м. Дивитись у збільшеному масштабі

Органи керування настільним фрезерним верстатом УФ-100м
Органи керування фрезерним настільним верстатом УФ-100м. Дивитись у збільшеному масштабі

Органи керування настільним фрезерним верстатом УФ-100м
Органи керування фрезерним настільним верстатом УФ-100м. Дивитись у збільшеному масштабі

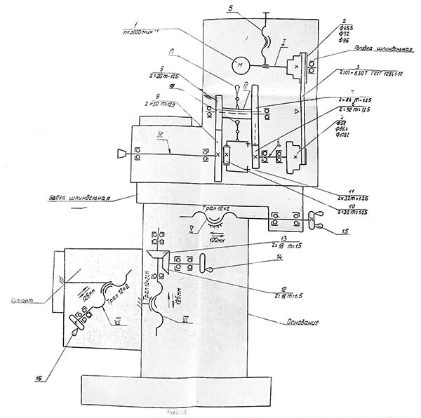
Кінематична схема фрезерного настільного верстата УФ-100м
Кінематична схема фрезерного настільного верстата УФ-100м. Дивитись у збільшеному масштабі

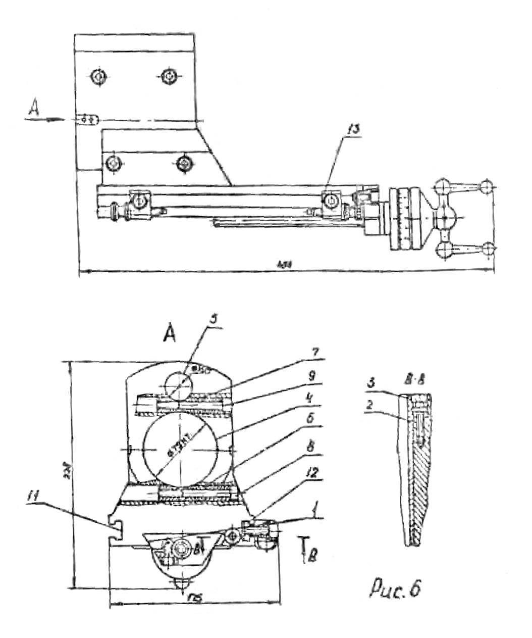
Бабка шпиндельна фрезерного настільного верстата УФ-100м
Бабка шпиндельна настільного фрезерного верстата УФ-100м. Дивитись у збільшеному масштабі

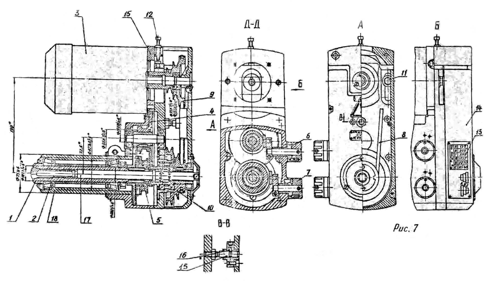
Головка шпиндельна фрезерного настільного верстата УФ-100м
Головка шпиндельна настільного фрезерного верстата УФ-100м. Дивитись у збільшеному масштабі
Шпиндельна головка (4) є автономним блоком, який здійснює привід і завдання швидкостей обертання шпинделя.
Обертання шпинделя здійснюється від електродвигуна через клинопасову передачу і коробку перебору.
Ланцюг приводу забезпечує 6 робочих частот обертання шпинделя: 125, 250, 500, 1135, 2270, 4540 об/хв. Три частоти обертання забезпечує триструмовий шків і 2 ступені - 2-х швидкісна коробка перебору.
Шпиндель встановлений у 2-х роликових конічних підшипниках (тип 7206А клас 5 30х62х16) з попереднім натягом та отримує обертання від електродвигуна:
У будь-якому випадку потрібна перестановка та натяг клинового ременя.
Затискач інструменту у шпинделі за допомогою цанг здійснюється тягою.

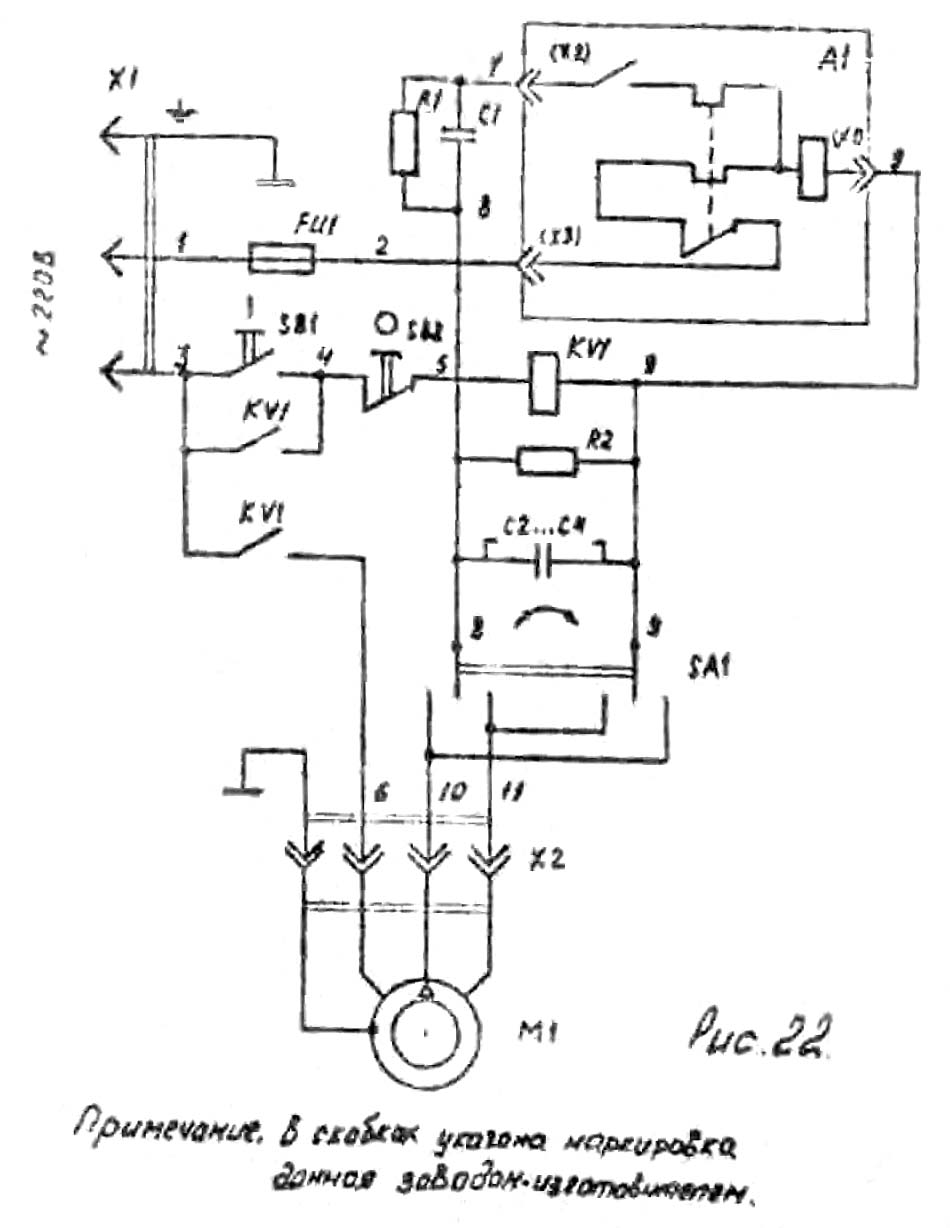
Електрична схема фрезерного настільного верстата УФ-100м
Електрична схема настільного фрезерного верстата УФ-100м. Дивитись у збільшеному масштабі
Модифікація верстата встановлюється залежно від мережі живлення та схеми підключення електродвигуна.
| Наименование параметра | С-169 | УФ-100м |
|---|---|---|
| Основні параметри верстата | ||
| Размер рабочей поверхности вертикального стола, мм | 100 х 305 | |
| Размер рабочей поверхности углового стола, мм | 100 х 200 | |
| Наибольшая масса заготовки, устанавливаемой на столе верстата (включая стол і приспособления), кг | 25 | |
| Наибольший диаметр сверления в стали, мм | 8 | |
| Наибольший диаметр сверления в цветном металле, мм | 10 | |
| Наибольший диаметр растачиваемого отверстия, мм | 60 | |
| Расстояние от оси горизонтального шпинделя до рабочей поверхности углового стола, мм | 67..272 | |
| Наибольший ход вертикальних салазок стола, мм | 90 | 205 |
| Наибольший продольный ход стола, мм | 120 | 125 |
| Наибольший поперечний ход шпиндельной бабки, мм | 100 | |
| Наибольший угол поворота кронштейна з пинолью делительного шпинделя, град | ±45° | |
| Наибольший угол поворота верхнего стола з Т- образными пазами, град | ±5° | |
| Число оборотів верхнего шпинделя, об/мин | 106..1280 | 125..4540 |
| Количество швидкостей шпинделя | 6 | |
| Привід і електрообладнання | ||
| Количество електродвигателей на станке | 1 | 1 |
| Електродвигун приводу головного руху, кВт (об/мин) | 0,6 (1400) |
0,37 |
| Габарити і масса верстата | ||
| Габарити верстата (длина х ширина х высота), мм | 620 х 500 х 1200 | 436 х 460 х 875 |
| Масса верстата, кг | 168 | 105 |
Связанные ссылки