Свердлильний настільний верстат ВСН випускався підприємством Касимівський механічний завод №8 .
Верстат ВСН призначений для свердління отворів та нарізування різьблення в дрібних деталях із чавуну, сталі, кольорових сплавів та неметалічних матеріалів в умовах промислових підприємств, ремонтних майстерень та побутових майстерень.
Основні параметри свердлильного верстата ВСН:
Простота конструкції забезпечує легкість керування, надійність та довговічність верстатів.
Відлік глибини свердління провадиться за плоскою шкалою або упором.
Оригінальна конструкція натягу ремінної передачі дозволяє швидко змінювати положення ременя на шківах для отримання потрібної швидкості різання.
Верстат ВСН дозволяє виконувати такі операції:
Шпиндель верстата ВСН отримує 3 швидкості обертання від триступеневих шківів приводу, що забезпечує вибір швидкостей різання - 450, 1200, 1800 об/хв.
Кінець шпинделя – зовнішній конус морзе КМ2, позначення В18 за ГОСТ 9953 (Конуси інструментальні укорочені) – конус укорочений: D = 17,780 мм, довжина конуса 37,0 мм.
Укороченому конусу В18 відповідає свердлильний трикулачковий патрон 16-го типорозміру за ГОСТ 8522 (Патрони трикулачкові свердлильні) з діапазоном затиску від 3 до 16 мм.
Приклад умовного позначення свердлильного 3-х кулачкового патрона, типорозміру 16, з конусним приєднувальним отвором В18:
Патрон 16-Б18 ГОСТ 8522-79
Конус інструментальний - Конус Морзе - одне з найбільш застосовуваних кріплень інструменту. Був запропонований Стівеном А. Морзе приблизно 1864 року.
Конус Морзе підрозділяється на вісім розмірів, від КМ0 до КМ7 (англійською: MT0-MT7, німецькою: MK0-MK7). Конусність від 1:19,002 до 1:20,047 (кут конуса від 2°51'26" до 3°00'52", ухил конуса від 1°25'43" до 1°30'26") залежно від типорозміру.
Стандарти на конус Морзе: ГОСТ 25557 (Конуси інструментальні. Основні розміри), ISO 296, DIN 228. У російському стандарті конус КМ7 до застосування не рекомендований, замість нього застосовується несумісний метричний конус № 80. Конуси, виготовлені за дюймовими та метричними стандартами у всьому, крім різьблення хвостовика.
Для багатьох застосувань довжина конуса Морзе виявилася надмірною. Тому було введено стандарт на дев'ять типорозмірів укорочених конусів Морзе (B7, B10, B12, B16, B18, B22, B24, B32, B45), ці розміри отримані видаленням більш товстої частинини конуса. Цифра позначення короткого конуса — діаметр товстої частинини конуса в мм.
Російський стандарт на укорочені конуси ГОСТ 9953-82 (Конуси інструментів укорочені).
Де D – діаметр конуса в основній площині.




Фото свердлильного верстата ВСН

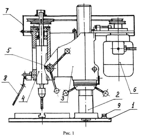
Розташування складових частинин свердлувального верстата ВСН
Станина є одночасно столом верстата, на якому встановлюються і закріплюються машинні лещата для закріплення заготовок.
Колонка - циліндрична стійка із зовнішнім циліндричним різьбленням, на якому змонтована шпиндельна бабка. Шпиндельна бабка піднімається і опускається по колонці за допомогою гайки, на яку спирається. Після встановлення шпиндельної бабки на потрібну висоту бабка затискається на колонці.
Основу шпиндельної бабки складає чавунний корпус. У корпусі змонтовано:
Позаду бабці прикріплений електродвигун.
Механізм підйому бабки призначений для переміщення бабки шпинделя колонкою.
Колонка прикріплена до плити кронштейна. У кронштейні колонка затиснута двома болтами. У разі необхідності повороту колонки навколо своєї осі, болти звільняються, колонка разом із бабкою повертається у потрібне положення, після чого болти затискаються.
Шпиндель свердлильного верстата - це багатоступінчастиний вал, виготовлений із якісної сталі. Шпиндель - деталь дорога і важка у виготовленні.
Нижний конец шпинделя - наружный конус морзе КМ2, обозначение В18 по ГОСТ 9953 (Конусы инструментальные укороченные) - конус укороченный: D = 17,780 мм, длина конуса 37,0 мм.
Верхний конец шпинделя - шлицевой вал на котором насажен приемный шкив ременного приводу от которого получает вращение.
Опори шпинделей — підшипники качения, воспринимают радиальную і осевую нагрузку от сил різання. Особо точно і надежно выполняют переднюю опору шпинделя, так как она воспринимает основную долю нагрузки і передает непосредственно на обрабатываемую деталь все погрешности своего монтажа. В качестве передньої опори шпинделей сверлильных верстатів часто применяют радиально-упорные шариковые підшипники, воспринимающие радиальную і осевую нагрузку, Этот подшипник имеет большую работоспособность, жесткость, высокую быстроходность.
Шпиндель смонтирован в стальной гильзе - пиноли. Пиноль перемещается вертикально на 100 мм внутри шпиндельной бабки вместе з вращающимся шпинделем.
Перемещение (подача) пиноли — ручная; осуществляется вращением штурвала на оси которого шестерня.
Електродвигун, посредством подмоторной плиты, прикреплен к бабке шпинделя. На оси електродвигуна находится ступенчатый шкив, который соединяется со шкивом шпинделя клиновым ремнем.
Верстат укомплектован аппаратурой для местного освещения. В связи з тем, что настольно-сверлильный верстат, моделі ВСН чаще всего устанавливается на верстаках или столах, поетому арматуру (кронштейн) і аппарат (трансформатор) местного освещения, при монтаже верстата, требуется прикреплять вблизи верстата, а если верстат устанавливается у стены — то к післядней.

Електрична схема сверлильного верстата ВСН
| Наименование параметра | 2М112 | ВСН |
|---|---|---|
| Основні параметри верстата | ||
| Наибольший диаметр сверления, мм | 12 | 12; 16 |
| Наименьшее і наибольшее расстояние от торца шпинделя до стола | 0..400 | 0..400 |
| Расстояние от оси вертикального шпинделя до направляючих стойки (вылет), мм | 190 | |
| Рабочий стол | ||
| Ширина рабочей поверхности стола, мм | 250 | 250 х 250 |
| Число Т-образных пазов Розміри Т-образных пазов | 3 | 1 |
| Шпиндель | ||
| Наибольшее перемещение шпиндельной головки, мм | ||
| Ход гильзы шпинделя, мм | 100 | 100 |
| Частота обертання шпинделя, об/мин | 450, 800, 1400, 2500, 4500 | 450, 1200, 1800 |
| Количество швидкостей шпинделя | 5 | 2; 3 |
| Конус шпинделя | Морзе В18 | Морзе В16 |
| Привод | ||
| Рабочее напряжение, В | ~380 | ~380 |
| Електродвигун приводу головного руху, кВт | 0,55 | 0,37; 0,55; 0,75 |
| Габарит і масса верстата | ||
| Габарити верстата (длина ширина высота), мм | 795 х 370 х 950 | 290 х 580 х 630 |
| Масса верстата, кг | 120 | 60 |
Пов'язані посилання