Виробник свердлильно-фрезерного верстата XJ9512 - Китай .
Верстат настільний фрезерно-свердлильний з ручним керуванням XJ9512 призначений для всіх видів фрезерних робіт, а також свердління розсвердлювання, зенкерування, зенкування та нарізування різьблення машинними мітчиками. Обробка проводиться швидкорізальним та твердосплавним інструментом в деталях з різних конструкційних матеріалів та з неметалічних матеріалів.
Верстат XJ9512 призначений на застосування у ремонтних майстернях промислових підприємств, цехах малих підприємств при індивідуальній трудовій діяльності у ремонтних та побутових майстернях.
Верстати XJ9512 дозволяють виконувати такі операції:
Верстат працює від напруги ~230 50 Гц.
Привід верстата XJ9512 здійснюється від електродвигуна постійного струму 550 Вт під керуванням електричного блоку.
Частота обертання шпинделя має два діапазони 50..1100 об/хв і 120..2500 об/хв. Діапазони High та Low перемикаються рукояткою переміщенням зубчастого колеса. Усередині діапазонів швидкість обертання шпинделя регулюється безступінчастиним потенціометром з пульта керування.
З пульта керування верстатом можна також перемикати напрямок обертання (вліво - вправо) і екстрено зупиняти гравець аварійною кнопкою.
УВАГА: Руку перемикання діапазонів можна перемикати лише при зупиненому електродвигуні.
Блок керування верстата має систему захисту від перевантажень, яка зупиняє електродвигун і включає жовтий індикатор.
Шпиндельна головка переміщається по колоні в направляючих "Ластівчин хвіст", які повинні бути відрегульовані планкою так, щоб забезпечити плавне ковзання та відсутність люфту одночасно.
Вага шпиндельної головки врівноважується пружиною.
Нахил колони (кут свердління) регулюється не більше ±45° .
При роботі слід керуватися правилом: маленький отвір або м'який матеріал – висока швидкість обертання шпинделя, твердий матеріал та великі отвори – низька швидкість.
Не варто використовувати високу швидкість (понад 2300 об/хв) при свердлінні дерева, оскільки це може спричинити загоряння заготовки.
Виробник – Китай.

Фото свердлильно-фрезерного верстата XJ9512
Фото свердлильно-фрезерного верстата XJ9512. Завантажити у збільшеному масштабі

Фото свердлильно-фрезерного верстата XJ9512
Фото свердлильно-фрезерного верстата XJ9512. Завантажити у збільшеному масштабі

Фото свердлильно-фрезерного верстата XJ9512
Фото свердлильно-фрезерного верстата XJ9512. Завантажити у збільшеному масштабі

Фото свердлильно-фрезерного верстата XJ9512 з УЦІ
Фото свердлильно-фрезерного верстата XJ9512. Завантажити у збільшеному масштабі

Розташування складових частинин свердлильно-фрезерного верстата XJ9512

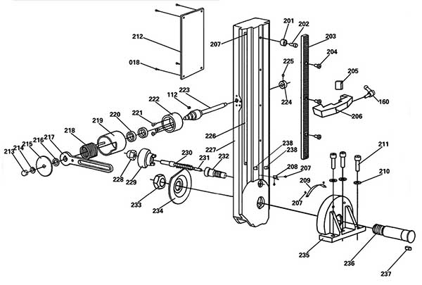
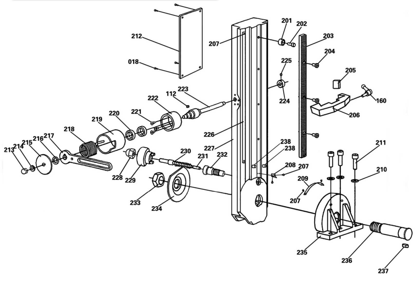
Схема складання шпиндельної бабки свердлильно-фрезерного верстата XJ9512

Схема складання вертикальної стійки свердлильно-фрезерного верстата XJ9512

Схема складання робочого столу свердлильно-фрезерного верстата XJ9512

Список деталей свердлильно-фрезерного верстата XJ9512
Список деталей свердлильно-фрезерного верстата XJ9512. Завантажити у збільшеному масштабі

Список деталей свердлильно-фрезерного верстата XJ9512
Список деталей свердлильно-фрезерного верстата XJ9512. Завантажити у збільшеному масштабі

Список деталей свердлильно-фрезерного верстата XJ9512
Список деталей свердлильно-фрезерного верстата XJ9512. Завантажити у збільшеному масштабі
| Найменування параметру | SF-16 | XJ9512 | |
|---|---|---|---|
| Основні параметри верстата | |||
| Найбільший умовний діаметр свердління сталі 45, мм | 16 | 16 | |
| Найбільший діаметр кінцевої фрези для обробки сталі 45 мм | 100 | 13 | |
| Найбільший діаметр торцевої фрези для обробки сталі 45 мм | 100 | ||
| Діапазон нарізних різьблень | М5..М22 | ||
| Найменша та найбільша відстань від торця шпинделя до столу | 82..482 | 220 | |
| Відстань від осі вертикального шпинделя до направляючих стійки (виліт), мм | 280 | ||
| Хрестовий робочий стіл | |||
| Розміри робочої поверхні хрестового 2-х координатного столу, мм | 320 x 900 | 112 x 460 | |
| Найбільша маса заготівлі, кг | 100 | ||
| Ціна поділу лімбів столу, мм | 0,05 | ||
| Найбільше переміщення поздовжнє x поперечне, (по осях X і Y), мм | 500 х 200 | 250 х 100 (300 х 130) | |
| Шпиндель, шпиндельна головка | |||
| Найбільше переміщення шпиндельної головки, мм | 400 | 180 | |
| Хід гільзи шпинделя, мм | 100 | - | |
| Частота обертання шпинделя, об/хв | 180..2800 | 50..1100 (120..2500) | |
| Кількість швидкостей шпинделя | 6 (2 на 3) | 2 діапазони | |
| Розмір внутрішнього конуса шпинделя | Морзе 3 | Морзе 3 | |
| Кут свердління (кут нахилу колони), град | - | ±45° | |
| Привід | |||
| Електродвигун приводу головного руху, кВт (об/хв) | 1,7 | 0,55 | |
| Габарит та маса верстата | |||
| Габарити верстата (довжина ширина висота), мм | 1260 х 1062 х 1145 | 640 х 565 х 760 | |
| Маса верстата, кг | 420 | 62 (80) |