Виробником горизонтально-розточувальних верстатів моделей 2620В, 2622В Іванівський завод важкого верстатобудування , заснований у 1953 році.
21 листопада 1958 року введено в експлуатацію першу чергу Іванівського заводу розточувальних верстатів. У 1958 році було налагоджено випуск вузлів та комплектуючих для ленінградського верстатобудівного Заводу імені Свердлова. Згодом, на заводі було розпочато випуск простих горизонтально-розточувальних верстатів за кресленнями того самого заводу. Оснастивши виробництво необхідною базою, верстатобудівники перейшли на виробництво складнішої продукції - обробних центрів (ОЦ).
2620В - верстат горизонтально-розточув Ø 90 - технічний опис.
2622В - верстат горизонтально-розточув Ø 110 - технічний опис.
Початок серійного виробництва серії горизонтально-розточувальних верстатів - 1973 рік. В даний час верстати не виготовляються.
Верстати універсальні горизонтально-розточувальні 2620В та 2622В призначені для обробки корпусних деталей з чорних та кольорових металів, що мають точні отвори, пов'язані між собою точними міжосьовими відстанями.
Найбільша вага оброблюваної деталі (при рівномірно розподіленому навантаженні на стіл верстата) 3000 кг.
На верстатах може проводитися: свердління, розточування, зенкерування, розгортання отворів, обточування торців радіальним супортом (модель 2620В), фрезерування торцевими фрезами і нарізування внутрішньої різьби розточним шпинделем, а також нарізання різьби радіальним супортом (0)

Розташування складових частинин верстата 2620В, 2622В

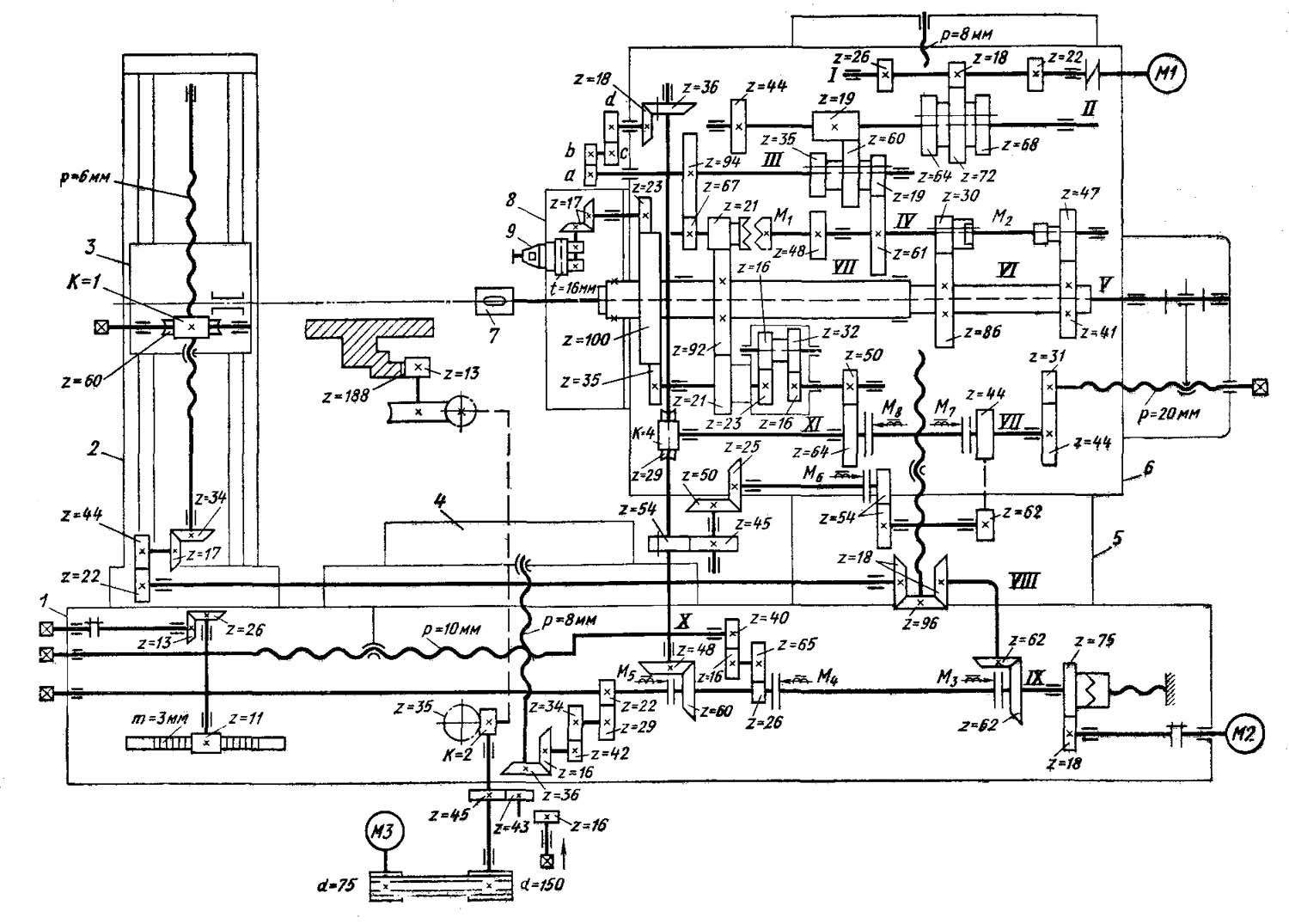
Кінематична схема розточувального верстата 2620В
Кінематична схема горизонтально-розточувального верстата 2620В. Дивитись у збільшеному масштабі
Універсальні горизонтально-розточувальні верстати моделі 2620В, 2622В, 2620Г, 2622Г, 2620ВФ-1, 2622ВФ-1, 2620ГФ-1, 2622ГФ-1 обладнані сучасним електричним приводом з розвиненим дистанційним. Експлуатацію та ремонт електроустаткування верстата можна довірити кваліфікованому електрику, що ознайомився з цим посібником.
Обертання шпинделя та планшайби здійснюється від двошвидкісного асинхронного двигуна через зубчастиний редуктор.
Верстат забезпечений пристроєм, що забезпечує плавне введення зубчастиних коліс у зачеплення при перемиканні швидкості головного приводу за рахунок імпульсного повороту головного двигуна зі зниженим моментом.
Робоча подача, повільні та швидкі настановні переміщення рухомих органів верстата здійснюються від двигуна постійного струму, що працює в системі Г-Д із проміжним електронним підсилювачем у ланцюгу зворотного зв'язку за швидкістю. Як генератор застосований електромашинний підсилювач ЕМУ.
Застосування глибокого регулювання зворотного зв'язку на швидкості дозволяє отримати широкий діапазон зміни швидкості двигуна подачі вниз від номінальної (1 ... 800).
Загальний діапазон зміни з урахуванням ослаблення потоку становить 1…1800.
Підключення рухомих органів до двигуна подачі здійснюється електромагнітними муфтами.
Керування всіма рухами верстата здійснюється дистанційно з центрального пульта та дублюється на переносному пульті.
Вибір рухомого органу верстата здійснюється перемикачем керування головному пульті. Для керування установочними переміщеннями застосовується «оператор», розташований там.
Величини подачі та швидкості настановного переміщення можуть бути змінені в процесі різання та при переміщенні рухомих органів верстата.
Електроустаткування верстата виконане для живлення від мережі трифазного змінного струму.
Напруга і частота мережі живлення вказуються в замовлення-наряді на верстат. Якщо такі вказівки на замовлення на верстат відсутні, то електрообладнання виконується від джерела напругою 380 В, 50 Гц.
Потужність електрообладнання верстата 18 кВт.
Електроустаткування верстата налаштоване та випробуване на стендах заводу-виробника.
Для живлення обмоток збудження двигуна та тахогенератора, а також ланцюгів керування постійного струму використовується статичний перетворювач, виконаний за мостовою схемою.
Використання джерела живлення вторинних обмоток стабілізаторів напруги дозволяє отримати в цьому ланцюгу високо стабілізовану напругу (±1% при зміні напруги мережі від +8 до -17%).
Для згладжування пульсацій в обмотці збудження тахогенератора застосовується П-подібний фільтр, що складається з конденсатора та дроселя.
(рис.1, 2, 3)

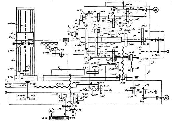
Схема перемикання швидкості двигуна головного приводу верстата 2620в

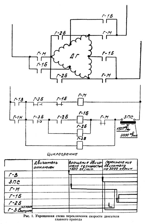
Схема переключения скорости шпинделя 1 Верстата 2620в
Привід шпинделя (или планшайби) осуществляется, от двухскоростного асинхронного двигуна через коробку швидкостей.
Главным двигателем производятся наступні операции:
Вращение шпинделя включается кнопками 1К і 2К.
Для остановки двигуна служит кнопка «Стоп» (3К).
Настановний поворот шпинделя включается кнопками 4К і 5К.
Все ети кнопки находятся на основном пульті, который помещается на станине верстата.
Керування дублировано на переносном пульті.
Скорость обертання двухскоростного двигуна шпинделя задается переключателем 3ПС, который действует от пристроя механического переключения швидкостей шпинделя.
Если выключатель нажат і его н.з. контакт принудительно разомкнут, то обмотки статора двигуна соединены контактором Г-М в треугольник, і двигатель будет вращаться з меньшим числом оборотів в минуту.
Если выключатель 3ПС не нажат і его н.з. контакт замкнут, то обмотки двигуна соединены контактами контакторов Г-1Б і Г-2Б в двойную звезду для обертання двигуна з большей скоростью. Разгон двигуна на большую скорость двухступенчатый, при пуске происходит разгон на меньшую скорость з післядующим автоматическим переключением з меньшей скорости на большую після срабатывания реле часу Г-3Б.
Чередование чисел оборотів в минуту двухскоростного двигуна для каждой ступени швидкостей обертання шпинделя определяется положением рукоятки переключателя скорости.
Установочное вращение шпинделя совершается з меньшей скоростью двигуна, независимо от положения рукоятки переключателя скорости.
В етом режиме двигатель включается контактором Г-В или Г-Н только при з'єднанні обмоток статора треугольником. Установочное вращение совершается при пониженном моменте двигуна, так как напряжение, подводимое к двигателю, понижено добавочными сопротивлениями в ланцюги каждой фазы обмотки статора.
Благодаря етому повышается плавность поворота шпинделя і уменьшается ток, разрываемый контакторами.
Для остановки шпинделя (планшайби) применяется динамическое торможение.
При вращении двигуна, включенного контактором Г-В (Г-Н), включается реле часу 1РВТ. После срабатывания 1РВТ включается другое реле часу 2РВТ. Таким образом подготавливается ланцюг для увімкнення тормозною контактора Г-Т.
При отключении контактора Г-В (Г-Н) разрывается ланцюг живлення реле 1РВТ і 2РВТ. С выдержкой часу (0,3… 0,5 сек) включается контактор Г-Т і начинается интенсивное динамическое торможение. По окончании торможения Г-Т отключается нормально открытым контактом 2РВТ. Выдержка часу при включении динамического торможения обеспечивает уменьшение е. д. с. обмоток двигуна, что уменьшает возможность пробоя селеновых вентилей.
Динамическое торможение действует также при управлении установочным пропоротом шпинделя (планшайби) і начинается після прекращения нажатия на кнопку 4К (5К).
При торможении двигуна обмотки статора соединены треугольником, независимо от скорости обертання перед началом торможения.
Переключення скорости шпинделя (или планшайби) производится механическим селективным переключателем з автоматическим пристрійм для плавного ввода зубчатых колес в зацепление.
Переключать скорость можно как при нерухомому шпинделе, так і на ходу, причем во втором случае не нужно останавливать шпиндель перед началом переключения.
Переключення скорости начинается з відведення рукоятки переключения скорости. При етом принудительно нажимается конечный выключатель 1ПС, в результате чего происходит торможение двигуна (как было описано выше).
Если зубчасті колеса після выбора новой скорости не попадают в зацепление, то принудительно нажимается конечный выключателе 2 ПС. Это приводит к автоматическому реверсированию двигуна, вследствие чего плавно завершается ввод зубчатых колес в зацепление.
Обычно для завершения зацепления достаточно 1—2 импульсов двигуна. После окончания зацепления остается нажатым только один выключатель 2 ПС, і шпиндель продолжает вращаться в ту же сторону з новой скоростью.
Для предотобертання чрезмерного износа зубчатых колес в процессе переключения импульсный поворот ведущих колес совершается при весьма малой величине момента двигуна, включенного в сеть через добавочное сопротивление в каждой фазе.

Циклограмма переключения скорости шпинделя верстата 2620в
Порядок манипуляций керування при переключении скорости, післядовательность переходов елементів приводу і действие схеми електроустаткування поясняются циклограммой (рис. 3).
Двигатель 1ДН насоса змазки механізмов шпиндельной бабки включает реле Г-1В или Г-1Н одновременно з включением шпинделя.
Отключается насос только після виключення шпинделя.
При установочном вращении шпиндели (или планшайби) двигатель насоса не работает.
Двигатель 2ДН насоса змазки направляючих не имеет самостоятельного керування і включается контактором КА одновременно з двигателем агрегата.
Керування двигателем установочного поворота стола производится кнопками 6К і 7К, которые находятся на пульті, встроенном в корпусе нижних саней стола.
Двигатель поворота стола включается только на время нажатия кнопки.
Пуск і зупинка ЭМУ осуществляются кнопками 8К «Пуск» і 9К «Стоп» з головного пульта керування верстатом. При вращении ЭМУ на главном пульті загорается сигнальная лампа 3ЛС. При длительных перерывах в работе ЭМУ должен быть отключен для увеличения срока службы підшибників і щіток електрических машин.
Захист двигуна обертання шпинделя от коротких замыканий осуществляется трехфазным автоматическим выключателем ВА з електромагнитным расланцюгителем; от перегрузок — двумя тепловыми реле (1РТ при 1500 об/мин і 2РТ при 3000 об/мин двигатели).
Двигатель агрегата ЭМУ-ДА і двигатель насоса 2ДН защищены автоматическим выключателем 4А, двигатель насоса 1ДН автоматическим выключателем 2А, а двигатель поворота стола — автоматическим выключателем ЗА.
При срабатывании автоматических выключателей размыкаются главные ланцюги живлення двигателей, а также ланцюги живлення соответствующих пускачів.
Благодаря етому исключается самопроизвольный запуск двигателей після увімкнення сработавшего автомата.
Захист ланцюгів керування переменного тока производится однополюсным автоматическим выключателем 7А.
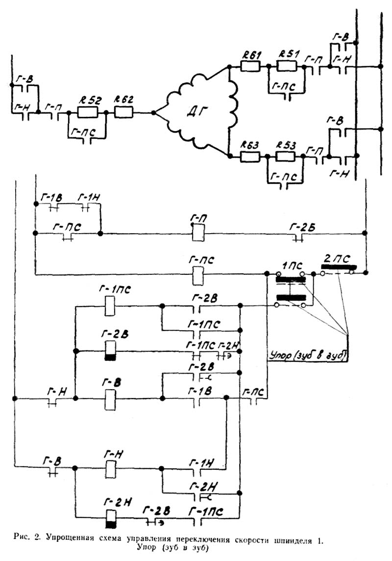
Электрический привід подачі выполнен в виде замкнутой системы автоматичного регулювання з исполнительным двигателем постоянного тока і електромашинным усилителем поперечного поля в качестве генератора. Скорость обертання двигуна може изменяться в широких пределах путем изменения напряжения питающего генератора.
Быстрые установочные переміщення (с наибольшей скоростью обертання двигуна) достигаются неравномерным ослаблением потока главных полюсов двигуна при максимальном напряжении генератора (ЭМУ).
(рис.4)

Упрощенная схема електроприводу подачі верстата 2620в
Главными елементами електрического приводу подачі являются:

Структурна схема приводу подачі верстата 2620в
Главной регулирующей связью в данной системе является отрицательная обратная связь по скорости, охватывающая всю систему регулювання (см. структурную схему привода, рис. 5).
Для измерения фактической скорости обертання исполнительного двигуна і сравнения її з заданной, на валу исполнительного двигуна устанавливается тахогенератор (измеритель скорости).
С помощью тахогенератора скорость двигуна преобразуется в напряжение постоянного тока.
Величина етого напряжения сохраняется пропорциональной скорости двигуна в широких пределах її изменения. Скорость задается величиной напряжения независимого источника постоянного тока. Сравнение фактической скорости з заданной производится вычитанием из величины напряжения независимого источника величины напряжения тахогенератора. Получаемая в результате етого разность пропорциональна заданной скорости і отклонению фактической скорости от заданной.
Для того чтобы получить высокую точность поддержания постоянства установленной скорости, необходимо значительно повысить чувствительность системы к отклонениям скорости.
С етой целью применен промежуточный електронный усилитель.
Разность напряжений подается на вход електронного усилителя. На выходе електронного усилителя диференціально включены обе обмотки керування ЭМУ так, что при отсутствии входного сигнала результирующий магнитный поток, создаваемый ими, будет равен нулю.
При подаче входного сигнала ток в одной из обмоток увеличивается, а в другой уменьшается, возникает магнитный поток керування ЭМУ, і на якоре ЭМУ создается напряжение, соответствующее заданной скорости.
В случае отклонения скорости двигуна от заданного значения соответственно изменяется і напряжение тахогенератора, а следовательно, напряжение на входе усилителя і поток керування ЭМУ.
При етом напряжение, подводимое к якорю двигуна, изменяется до величины, необходимой для обеспечения установленной скорости при данной величине нагрузки.
Для того чтобы обеспечить на всем диапазоне изменения скорости устойчивую работу приводу і необходимые показатели качества протекания переходных процессов, в схему введены наступні дополнительные гибкие отрицательные обратные связи:
Наличие емкости в ланцюги первичной обмотки трансформатора 1ТС-1 создает дополнительную гибкую обратную связь по второй производной от скорости.
Электронный усилитель служит для усиления дії отрицательной обратной связи по скорости і гибких (противоколебательных) обратных связей.
Применяемый в приводе подачі промежуточный усилитель выполнен в виде двухкаскадного електронного усилителя постоянного тока. Первый каскад является усилителем напряжения, второй — усилителем мощности. Анодной нагрузкой второго каскада служат высокоомные обмотки керування ЭМУ (Г-1 і Г-3), включенные встречно по потоку, создаваемому анодными токами ламп второго каскада.
Благодаря применению такой схеми, результирующий поток от обмоток Г-1 і Г-3 при Отсутствия напряжения на входе усилителя равен нулю, так как через каждую обмотку протекает в разных направлениях равный по величине ток. Достоинствами такой схеми является также чувствительность усилителя к полярности входного напряжения і практически нечувствительность к изменениям напряжения анодного живлення.
Различие в характеристиках однотипных ламп, а также различие токов покоя препятствует получению абсолютной симметричности плеч усилителя. Поетому как при первичной наладке, так і в условиях експлуатации требуется периодическая балансировка выхода усилителя (например, при смене ламп). Для етого в усилителе предусмотрено балансировочное переменное сопротивление, которое стоит в катодной ланцюги первого каскада.
Приборы в цепях обмоток Г-1 і Г-3 служат для контроля балансировки усилителя при налаштуванні или смене ламп.
ля повышения стабильности роботи усилителя питание анодной ланцюги і накала усилителя производится от електромагнитного стабилизатора напряжения.
При подаче напряжения на входе усилителя схема работает следующим образом.
Если полярность етого напряжения такова, что сетка левого пентода первого каскада получает положительное приращение напряжения, то анодный ток левого пентода увеличивается, а правого уменьшается.
Следовательно, увеличивается падение напряжения на сопротивлении левого плеча анодной нагрузки і уменьшается на сопротивлении правого плеча анодной нагрузки.
На выходе первого каскада електронного усилителя возникает напряжение, которое поступает на вход второго каскада. При етом правая сетка лампы второго каскада получает положительное, а левая сетка лампы выходного каскада — отрицательное приращение напряжения. Ток в правой обмотке керування електромашинного усилителя увеличивается, а в левой — уменьшается.
Так как магнитные потоки етих обмоток направлены встречно, то при етом появляется результирующий магнитный поток, равный разности потоков обеих обмоток керування ЭМУ, который определяет напряжение поздовжньої ланцюги ЭМУ.
Для того чтобы привід работал устойчиво, в схеме предусматривают стабилизирующие связи.
Основними стабилизирующими связями є гибкие обратные отрицательные связи по току первичной ланцюги ЭМУ, по скорости і ускорению двигуна.
Стабилизация електроприводу по приращению тока в поперечної ланцюги ЭМУ осуществляется з помощью трансформатора 2ТС, первичная обмотка которого включена в первичную ланцюг ЭМУ.
При изменении тока поперечної ланцюги ЭМУ на вторичных обмотках дифференцирующего трансформатора 2ТС возникают напряжения, которые подаются в сеточные ланцюги лампы второго каскада електронного усилителя.
Эти напряжения після усиления противодействуют изменению тока поперечної ланцюги ЭМУ.
Гибкая обратная связь по скорости двигуна осуществляется при помощи специального стабилизирующего трансформатора 1ТС.
Первичная обмотка трансформатора 1ТС включена на напряжение тахогенератора.
При изменении скорости исполнительного двигуна на вторичных обмотках трансформатора 1TC появляются напряжения, которые подаются в сеточные ланцюги первого каскада електронного усилителя. Эти напряжения противодействуют изменению скорости двигуна.
Для усиления дії етого стабилизирующего звена введена еще стабилизирующая связь по второй производной от скорости. Она осуществляется целью, включенной в первичную обмотку трансформатора 1ТС.
Селеновые выпрямители 18В, включенные на выходе первого каскада усилителя, служат для снижения коеффициента усиления електронного усилителя при увеличении входного сигнала, чти повышает устойчивость привода.
Разрядные сопротивления, включенные параллельно обмоткам Г-1 і Г-3, предохраняют ети обмотки от пробоя при возникновения перенапряжения.

Упрощенная схема пристроя ограничения тока верстата 2620в
Ограничение тока главной ланцюги при пуске, разгоне і торможении двигуна подачі производится посредством автоматичного пристроя, выполненного на стабилитронах.
Действие пристроя сводится к сравнению падения напряжения на компенсационной обмотке, пропорционального главному току, С постоянным напряжением, устанавливающим порог срабатывания. Напряжением сравнения в устройстве ограничения тока является напряжение пробоя стабилитрона.
Стабилитроны включены встречно, поетому для каждого направления тока один стабилитрон включен встречно. Если падение напряжения на компенсационной обмотке превысит (вследствие возрастания тока в главной ланцюги) напряжение сравнения, часть головного тока потечет в обход компенсационной обмотки.
При разгоне двигуна при увеличении тока сверх тока ограничения действие компенсационной обмотки ослабляется, вследствие чего усиливается размагничивающее действие реакции якоря ЭМУ. Благодаря етому разгон происходит при постоянной, максимально допустимой величине тока главной ланцюги.
Пристрій ограничения тока действует при разгоне приводу в обоих направлениях.
При торможении двигуна подачі ограничение тока достигается за счет подвозбуждения генератора током якорной ланцюги под действием е.д.с. двигуна в обход компенсационной обмотки.
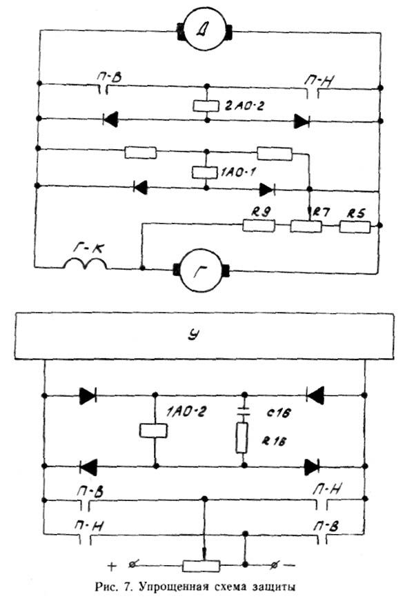
(рис.7)

Упрощенная схема защиты приводу верстата 2620в
В данном станке имеется пристрій (рис. 7), предохраняющее от резкого увеличения скорости исполнительного двигуна при повреждениях в приводе (амплитудная защита) і от несоответствия знака напряжения генератора знаку задающего сигнала (знаковая защита).
Принцип дії пристроя амплитудной защиты основан на сравнении заданной і фактической скорости исполнительного двигуна.
Сравнение напряжений, пропорциональных заданной скорости (напряжение входного сигнала), і фактической скорости производится з помощью двухобмоточного реле 1АО, обмотки которого (1АО-1 і 1АО-2) включены встречно по потоку. Обмотка 1АО-2 включена на напряжение входного сигнала, пропорционального величине заданной скорости. Обмотка 1AO-1 включена в двигатель тахометрического моста.
Тахометрический мост представляет собой мост, одним из плеч которого служит якорь двигуна, другим — післядовательно включенное сопротивление (компенсационная обмотка). Третье і четвертое плечи образованы дополнительными сопротивлениями R9 і R5.
Реле настраивается так, чтобы при нормальной работе системы м.д.с. обмотка 1АО-2 несколько преобладала над м.д.с. обмотки 1АО-1.
Срабатывание исполнительного, контакта реле 1АО происходит только в том случае, если м.д.с. обмотки 1АО-1 превышает м.д.с. обмотки 1АО-2, что соответствует превышению фактической скорости над заданной.
Потенциометр R7 служит для налаштування моста. Емкость С16, включенная параллельно обмотке 1АО-2, служит для поддержания тока в етой обмотке во время торможения двигуна і уменьшения заданной скорости для предотобертання ложных срабатываний защиты.
При срабатывании реле 1АО происходит екстренное торможение двигуна.
Знаковая защита производится з помощью реле 2АО. Направление обертання двигуна задается промежуточным реле П-В или ПН, контакты которого изменяют полярность сигнала на входе усилителя. Обмотка реле 2АО-2 включена на напряжение якоря двигуна через контакты П-В, ПН і диоды таким образом, что при заданном направлении обертання диоды заперты етим напряжением. При несоответствии знака скорости заданному напряжение на якоре двигуна также изменит свой знак, следовательно, произойдет отпирание одного из диодов.
По обмотке 2АО-2 потечет ток, который вызовет срабатывание етого реле. При етом произойдет екстренное торможение двигуна, а на шкафу загорится красная лампа ЛАС сигнализирующая об аварийном срабатывании защиты.
После устранения неисправности сброс защиты производится нажатием на кнопку 9К "Стоп".
При быстрых переміщеннях подвижных органів верстата амплитудная защита отключается.
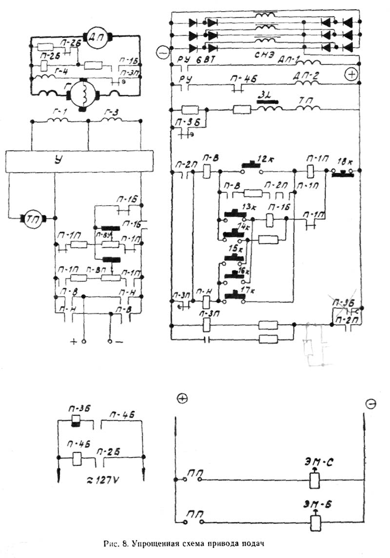
(рис.8)

Упрощенная схема приводу подач верстата 2620в
На главном пульті помещены наступні органы керування двигателем приводу подачі (рис. 8):
Все кнопки дублированы на переносном пульті.
Привід подачі общий для всех подвижных органів верстата.
Выбор того или другого подвижного органа производится переключателем ПП. В каждом положении переключателя керування включается своя електромагнитная муфта, которая замыкает кинематическую ланцюг соответствующего органа.
Одновременно з включением муфты в ланцюг катушки реле П-2П включаются конечные выключатели выбранного подвижного органа. Дли уменьшения остаточного момента електромагнітних муфт производится их размагничивание.
Направление руху органів верстата для подачі і установочных перемещений задается промежуточными реле П-В или П-Н, которые включаются пусковыми кнопками.
Эти реле изменяют полярность сигнала на входе усилителя.
При пуске подачі одновременно включается реле П-1П і П-2П, через н.о. контакты которых і собственный блок-контакт поддерживается включенным реле направления П-В (или П-П).
Затем включается реле П-3П, которое включает анодное питание усилителя і отключает самогашение поля ЭМУ.
При остановке подачі кнопкой «Стоп» отключается реле П-В (П-Н), П-1П і П-2П. С усилителя снимается входной сигнал.
На вход усилителя поступает полный сигнал з тахогенератора, следствием чего является резкое снижение е. д. с. ЭМУ і екстренное торможение привода.
Дальнейшее торможение двигуна осуществляется в режиме самогашения ноля ЭМУ. к якорю которого через н.з. контакты реле П-3П подключается обмотка Г-4.
При установочных переміщеннях реле П-В (ПП) і П-2П остаются включенными, только пока нажата кнопка оператора У-В (У-П) либо кнопка на переносном пульті 14К (l5K).
Остановка і торможение двигуна происходят після отпускания кнопок і протекают в том же порядке, что і при остановке подачі кнопкой «Стоп».

Циклограмма рабочей подачі і установочных перемещений верстата 2620в
Последовательность роботи всех аппаратов при рабочей подаче і установочных переміщеннях показана на циклограмме (рис. 9).
Скорость рабочих перемещений задается вариатором на шпиндельной бабке, а установочных перемещений — оператором на главном пульті.
Требуемая скорость быстрых перемещении достигается в приводе повышением напряжений на ЭМУ і неравномерным ослаблением вдвое потока главных полюсов двигуна.
Для етого на зажимы двигуна выведены концы обмоток от каждой смежной пары его главных полюсов.
Поток одной пары полюсов при включении швидкого переміщення полностью снимается. Поток другой пары полюсов сохраняется полным.
Увімкнення быстрых перемещений производится з головного пульта клавишей У-В, а з переносного пульта кнопками 13К і 16К.
Разгон двигуна до максимальной скорости производится в две ступени.
На первой ступени двигатель разгоняется до номинальной скорости, при етом напряжение ЭМУ достигает 180… 200 В, что вызывает срабатывание реле напряжения П-2Б.
Реле П-2Б своим н.о. контактом включает реле П-4Б, которое своим н.з. контактом отключает одну пару полюсов возбуждения двигуна, а н.о. контактом включает реле П-3Б, которое своим н.з. контактом ослабляет поток возбуждения тахогенератора.
Двигатель разгоняется до максимальной скорости.
Скорость швидкого переміщення не зависит от положения движка варіатора і оператора.
Торможение двигуна также происходит в два етапа.
Сразу же після отпускания кнопки восстанавливается поток возбуждения двигуна подачі, скорость обертання которого снижается до номинальной.
На втором етапе з выдержкой часу восстанавливается поток возбуждения тахогенератора і производится торможение двигуна самогашением поля ЭМУ (как ето было описано выше).

Циклограмма быстрых перемещений верстата 2620в
Последовательность роботи окремих аппаратов показана на циклограмме (рис. 10).
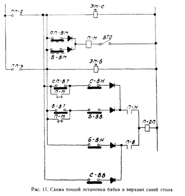
(рис.11)

Схема точной остановки бабки і верхних саней стола верстата 2620в
На станке имеется два одинаковых пристроя для керування режимом остановки приводу при точной установці бабки і верхних саней стола для расточки или сверления отверстий. Координаты осей расточки задаются расстановкой упоров по шаблонам на вертикальной (для бабки) і поперечно-горизонтальной (на санях) линейках.
Когда упор линейки дойдет до рычага, выступающего из пристроя, валик післяднего переместится і прекратится нажатие на микропереключатель замедления (Б-ВМ или СП-ВМ).
Н.з. контактом микропереключателя включится реле П-М, которое отключит ланцюг варіатора і включит на вход усилители напряжение з отдельного делителя. Благодаря етому скорость обертання двигуна перед точной остановкой снизится до 40… 50 об/мин независимо от предшествовавшем скорости обертання. С замедленной скоростью шпиндельна бабка или стол пройдет путь 4… 6 мм, пока тот же упор не нажмет на микропереключатель остановки (Б-ВТ или СП-ВТ).
Последний разомкнет ланцюг керування приводом, і двигатель затормозится.
Программное керування верстата (преднабор і цифровая индикация текущих координат) выполнено для 2 рабочих органів (2 координат) — шпиндельной бабки і верхних саней стола.
Схема керування верстата з УПУ позволяет работать в 3 режимах:
Выбор режима роботи осуществляется переключателем рода работ, установленным на пульті УПУ. При етом в режиме «индикация» пуск і зупинка приводу подач производятся от кнопок рабочих і установочных подач 12K… 18К і оператора, установленных на главном і переносном пультах. В режимах «позиционирование» і «фрезерование» ети кнопки (кроме 18К) отключаются н.з. контактами реле Р-1А. і ланцюги которого включена одна из секций переключателя режима роботи. Пуск приводу подач осуществляется от кнопки 22К, установленной на главном пульті, а останов — командой з УПУ (н.о. контакты реле РГ1, РГ2) или в случае необходимости кнопкой 18K.
Другая секция переключателя рода роботи в зависимости от его положения подготавливает ланцюги живлення реле П-В і П-1Г1 или П-1Б для пуска приводу подачі в режиме «фрезерование» или «позиционирование".
Для задания скорости приводу подачі і формирования характеристики торможения в схему УПУ выдается максимальное напряжение і етапы ограничения скорости з варіатора В-П, который в режимах «позиционирование» і «фрезерование» отключается от усилителя і заменяется выходным напряжением УПУ.
Ослабление поля двигуна і тахогенератора в режиме «позиционирование» для получения максимальной скорости подачі осуществляется командой з УПУ (н.о. контакты реле PБ1, РБ2).
В режимах «позиционирование» і «фрезерование» реле П-2П включено в ланцюги конечных выключателей только одного крайнего положения механізмов (через н.о. контакт реле П-В). В ланцюги конечных выключателей, контролирующих другое крайнее положение механізмов, включено реле РК. Так как блокировки от реле П-2П і РК введены в ланцюг пускового реле РП післядовательно, то при наезде механізмов на електроупор съезд з него возможен только в режиме «индикация».
Контурное фрезерование осуществляется на станке поочередным движением бабки і верхних саней стола. На главном пульті помещены наступні органы керування етим режимом:
Порядок увімкнення режима контурного фрезерування следующий:
Направление фрезерування по часовий стрелке или против задается поворотом ручки переключателя ПФ в соответствующую сторону.
Выключение руху осуществляется кнопкой 1-18К.
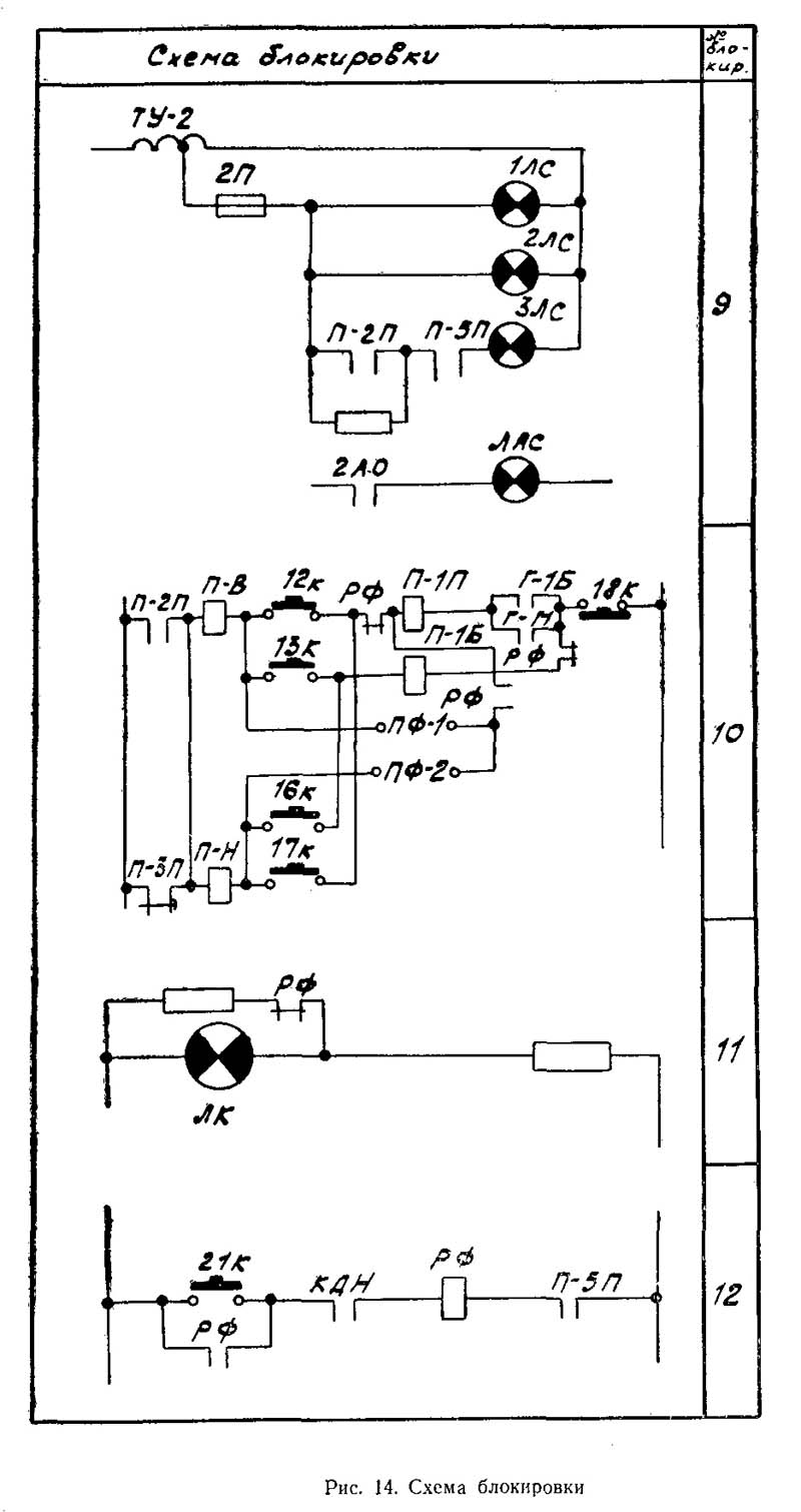
(рис. 12, 13, 14)

Схема блокировки в приводе верстата 2620в

Схема блокировки в приводе верстата 2620в

Схема блокировки в приводе верстата 2620в
Для освещения рабочей поверхности верстата служит светильник, расположенный на шпиндельной бабке. Увімкнення освещения производится выключателем ВО, расположенным на главном пульті. Для защиты используется автоматический выключатель 6А.
Для подключения переносных светильников на станке имеется штепсельная розетка (на нижних санях) на напряжение 36 В (для тропического исполнения 24 В). Суммарная мощность ламп, включаемых одновременно в розетку, не должна превышать 50 Вт. Захист местного освещения производится автоматическим выключателем 5А.
Питание ламп освещения оптических устройств производится напряжением 8 в от отдельного трансформатора, таким образом напряжение проверяется при включенном освещении оптики.
Зашита вторичной обмотки трансформатора производится автоматическим выключателем 11A.
Увімкнення освещения оптики люнета производится выключателем 2ВО.
Увімкнення освещения оптики окремих органів производится кнопками (19К, 20К), расположенными на шпиндельной бабке і нижних санях.
Для увімкнення оптики поворота стола служит выключатель 1ВО.
Учитывая малый срок службы ламп освещения оптики, необходимо следить за тем, чтобы ети лампы не включались без надобности.

Схема керування штурвалом верстата 2620в
Установчі переміщення подвижных органів верстата могут производиться не только двигателем подачі, но і поворотом штурвала от руки. С помощью штурвала могут производиться как грубые установочные переміщення шпинделя, так і тонкие доводочные переміщення любого подвижного органа верстата.
Выбор подвижного органа ставка производится переключателем ПП.
Для увімкнення тонких установочных перемещений рукоятка тумблера П-Ш, расположенного на главном пульті, устанавливается в верхнее положение, подготавливается ланцюг для увімкнення електромагнитной муфты ЭМ-РУ. Нажатием на кнопку 10K включается реле РУ, включающее електромагнитную муфту ЭМ-РУ, которая соединяет кинематическую ланцюг штурвала з механізмом подачі выбранного подвижного органа.
Для увімкнення грубых установочных перемещений рукоятку тумблера П-Ш необходимо установить в нижнее положение. При нажатии на кнопку 10K включаются реле РУ і електромагнитная муфта ЭМ-РУБ, которая соединяет кинематическую ланцюг штурвала з механізмом подачі шпинделя.
Увімкнення штурвала невозможно до полного торможения двигуна подачі (нормально замкнутый контакт реле П-3П в ланцюги катушки реле РУ). Відключення штурвала происходит при включении подачі или установочных перемещений нормально замкнутыми контактами реле П-В или П-Н.
1. Проверить і включить електрообладнання верстата в работу. Проверяются:
Сопротивление изоляции должно быть не ниже 0,5 Мом для тахогенераторов не ниже 1 Мом.
Направление обертання двигуна ЭМУ должно соответствовать стрелке на корпусе ЭМУ.
Если направление обертання ЭМУ не соответствует указанному на корпусе, нужно переключить фазы питающей сети на верхних зажимах вводною автомата.
Установить плавкие вставки на места і включить автоматы поочередно перед включением соответствующего двигуна.
Перед пуском проверить состояние і готовность механізмов верстата к пуску, наличие змазки ходовых винтов і направляючих.
Пуск верстата після окончания монтажа или ремонта рекомендуется вести в следующей післядовательности.
Включить автоматические выключатели ВА, 2А, 3А і 7А і проверить керування вращением шпинделя от кнопок головного і переносного пультов.
2. Проверить керування переключателем швидкостей шпинделя.
3. Проверить керування приводом поворотного стола.
4. Включить автоматический выключатель 4А і запустить ЭМУ.
5. Включить автоматический выключатель 9А, установить лампы і произвести балансировку усилителя (включая реле П-3П).
6. Включить автоматические выключатели 8А і 10А, установить предохранитель 5П, проверить керування рухуми подач установочных і быстрых перемещений всех подвижных органів і головного і переносного пультов (подача включается только при вращении шпинделя).
7. Проверить действие ограничителей ходу і електрических блокировок.
8. Включить автоматический выключатель ПА і проверить работу оптических устройств.
9. Проверить работу штурвального пристроя.
10. Установить предохранитель 3П і 4П і проверить работу пристроя защиты привода.
11. Установить предохранитель 2П і проверить действие сигнализации і измерительных приборов.
После ремонта і в других случаях демонтажу машин постоянного тока следует проверить установку щіток на нейтраль. Установка щіток двигуна постоянного тока на нейтраль проверяется по скорости обертання двигуна в обе стороны при номинальном напряжении і одинаковой нагрузке.
Расхождение больше чем на 50 оборотів нужно устранить установкой меток на нейтраль, сдвигая траверсу в том направлении, в котором якорь двигуна вращается з меньшей скоростью, в електромашинном усилителе щетки должны быть сдвинуты от нейтрали на 1… 1,5 ламели но направлению обертання якоря.
Отклонение напряжения холостого ходу ЭМУ от номинального значения должны быть не более ±7,5% при изменении полярности тока керування.
Наличие большого количества елементів електроустаткування требует регулярного тщательного наблюдения за их работой.
В нормальных условиях роботи уход за електрообладнанням сводится к безусловному соблюдению действующих правил технической експлуатации електроустановок промышленных предприятий і инструкций заводов-поставщиков електроустаткування.
Надежность роботи електроустаткування в значительной степени зависит от чистоты двигуна і електроаппаратов. Поддержание чистоты — первая задача обслуживающего персонала.
Заменять лампы можно только лампами того же типа.
Рекомендуется заменять весь комплект ламп одновременно, не дожидаясь выхода из строя каждой лампы. Перед установкой новой лампы проверять її исправность.
Нужно вставлять лампу в панельку всегда до отказа, не допуская перекоса.
Замена ламп производится при отсутствии подачі.
Так как характеристики ламп неодинаковы, після замены ламп необходимо сбалансировать усилитель.
Балансировка производится в следующем порядке:
При обслуживании, наладке і ремонтi електроустаткування верстата руководствоваться установленными правилами техники безопасности при електромонтажных работах. Работа у електрошафи може производиться лишь при условии применения изолирующей подставки или дорожки. При етом на пульті керування должна быть повешена табличка «Не включать».
Перед пуском подачі після налагодження всегда необходимо убедиться в том, что на концах валов приводов подачі или зажимных пристроях не остались съемные рукоятки ручного керування.
Не оставлять раскрытым електрошкаф.
Не загромождать подход к електрошкафу і електромагнитному усилителю.
Доступ к контактным частям електрических машин і аппаратов і к ящикам з полями сопротивлений разрешается только після отключения вводного автомата.
Наладка і испытание електроустаткування произведены заводом-изготовителем при выпуске верстата.
При пуске нового верстата і нормальной експлуатации какой-либо переналагодження електрической частини не требуется.
В условии длительной експлуатации, при ремонтi електроустаткування или замене елементів з ограниченным сроком службы (к числу которых относятся усилительные лампы, щетки електрических машин) може возникнуть необходимость выполнения восстановительной налагодження і проверки роботи приводов демонтированного участка схеми. Такая наладка сводится к восстановлению отработанных ранее режимов і параметров, указанных в електросхемах.
В схеме і конструкції електроустаткування верстата предусмотрев ряд мер для повышения его надежности в работе.
При експлуатации верстата могут возникать отдельные нарушения нормальной роботи того или иного участка схеми.
Возможность неполадок тем меньше, чем лучше уход за верстатом, чем чище содержится верстат і его електрообладнання.
Выявление причины і ликвидация неисправности доступны каждому квалифицированному електрику, ознакомившемуся з електрообладнанням верстата.
Электрик, обслуживающий верстат, обязан знать действие всех защитных, блокировочных связей і других видов защиты, чтобы не искать неисправность, когда її нет.
Если все же имеются налицо признаки неисправности, нужно убедиться, что неисправна именно електрична часть верстата.
В дальнейшем нужно попытаться сделать заключение о том, в каком участке схеми може быть неисправность.
Установить наличие неисправности при работе схеми в одном режиме (но еще не отыскав причины), следует опробовать работу в другом режиме: ето сократит поиски неисправности.
Только після определения возможно более узкого участка неисправности можно приступить к известным методам отыскания неисправности - проверке пробником, контрольной лампой, измерением і проч.
При проверке целей на панелях недопустимо продергивание проводов.
Проверка ланцюгів з контактами телефонных реле контрольной лампой мощностью более 8 Ватт недопустима.
Если неисправность в ланцюги керування приводами переменного тока, рекомендуется отсоединить от зажимов в шкафу питающие провода соответствующих двигателей. Это исключит возможность неправильной роботи двигателей для выявления причин неисправности і її устранения.
Структура схеми електрического керування позволяет проверить отдельные участки схеми изолированно от другая участков путем снятия вставок предохранителей, перемычек і отключения автоматов.
Выявление причин неисправности в цепям керування приводами подачі облегчается возможностью выделения поврежденного участка путем післядовательной проверки области дії неправильной команды (действует ли на все приводы или только при управлении одним приводом, при включении приводу в одну или обе стороны і т. п.), а также путем осмотра положения других органів той же ланцюги керування.
Отыскание неисправности в усилительной частини схеми облегчается наличием на станке измерительных приборов (включать приборы только на время налагодження).
Замена сопротивлений в условиях длительной експлуатации допускается только сопротивлениями той же величины і мощности, какие установлены заводом-изготовителем на станке.
Нельзя допускать работу верстата з поврежденными, отключенными или закороченными участками схеми.