metalinstryment.com
Довідник по металорізальних верстатів та пресовому обладнанні

4Г721М Верстат електроерозионный копировально-прошивочный
опис, характеристики, схеми

Фото копировально-прошивочного верстата 4г721м







Відомості про виробника координатно-расточного верстата 4г721м

Производитель електроерозионного копировально-прошивочного верстата 4г721м Троицкий станкостроительный завод, ТСЗ, основанный в 1941 году.





Верстати производства Троицкого станкостроительнного завода, ТСЗ


4Г721М Верстат електроерозионный копировально-прошивочный координатный універсальний. Назначение і область применения

Верстат електроерозионный копировально-прошивочный універсальний 4Г721М предназначен для обробки сквозных і глухих отверстий произвольной конфигурации в любых токопроводящих материалах, для обробки пресс-форм, кокилей, штампов (в том числе для обробки отверстий в закаленных деталях і деталях из твердых сплавов), а также для прорізання проходных щелей і разрезки заготовок проволочным електродом-инструментом.

На станке 4Г721М можно выполнять наступні операции:

Верстати 4Г721М могут быть использованы в приборостроительной, радиотехнической і др. отраслях промышленности.

Общая компоновка і особливості верстата 4Г721М

Материал електрода-инструмента: медь ГОСТ 859—66, латунь Л-63 ГОСТ 15527—70 і графитированный материал ЭЭГ ТУ608—59.

Верстат 4Г721М состоит из следующих вузлів: пинольной головки, пинольного вузла, редуктора і гвинта механического переміщення пинольной головки, колонны, станины, стола і салазок з их редукторами, настольной ванны, отсчетного пристроя переміщення стола і пиноли. Кроме того в комплект верстата входит: установка насосная, агрегат диелектрической жидкости, генератор, шкаф инструментальный і електрошкаф.

На жесткой станине закреплена колонна верстата, по двум призматическим направляющим которой перемещается пинольная головка. В пинольной головке находится пинольный узел і механізм зажиму пинольной головки. Пинольная головка уравновешивается специальным грузовым противовесом, встроенным в колонну. На колонне также установлен винт механического переміщення пинольной головки. Салазки расположены на двух направляючих станины (одна плоская і одна призматическая).

По направляющим салазок перемещается стол. На салазках установлен механізм зажиму стола, а на столе установлена настольная ванна.


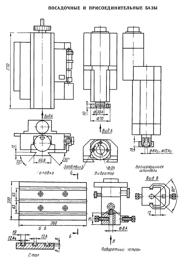
Посадочные і присоединительные базы копировально-прошивочного верстата 4г721м

Посадочные і присоединительные базы копировально-прошивочного верстата 4г721м

Посадочные і присоединительные базы верстата 4г721м


Загальний вигляд копировально-прошивочного верстата 4г721м

Фото копировально-прошивочного верстата 4г721м

Фото копировально-прошивочного верстата 4г721м


Фото копировально-прошивочного верстата 4г721м

Фото копировально-прошивочного верстата 4г721м


Фото копировально-прошивочного верстата 4г721м

Фото генератора копировально-прошивочного верстата 4г721м


Розташування складових частин копировально-прошивочного верстата 4г721м

Розташування складових частин копировально-прошивочного верстата 4г721м

Розташування складових частин копировально-прошивочного верстата 4г721м


Розташування складових частин копировально-прошивочного верстата 4г721м

Розташування складових частин копировально-прошивочного верстата 4г721м

Розташування складових частин копировально-прошивочного верстата 4г721м. Дивитись у збільшеному масштабі



Специфікація складових частин копировально-прошивочного верстата 4г721м

  1. Тумба з баком - 4Г721М.12.000
  2. Стол-ванна - 4Г721М.42.000
  3. Механізм проволочной резки - 4Г721М.35.000
  4. Вращающийся шпиндель - 4Г721М.34.000
  5. Вибратор - 4Г721М.33.000
  6. Головка - 4Г721М.31.000
  7. Стойка - 4Г721М.11.000
  8. Генератор - Ш1И40-44ОБ
  9. Каретки - 4Г721М.37.000
  10. Комплект инструмента і приладдя - 4Г721М.00.200
  11. Размещение електроустаткування - 4Г721М.90.000




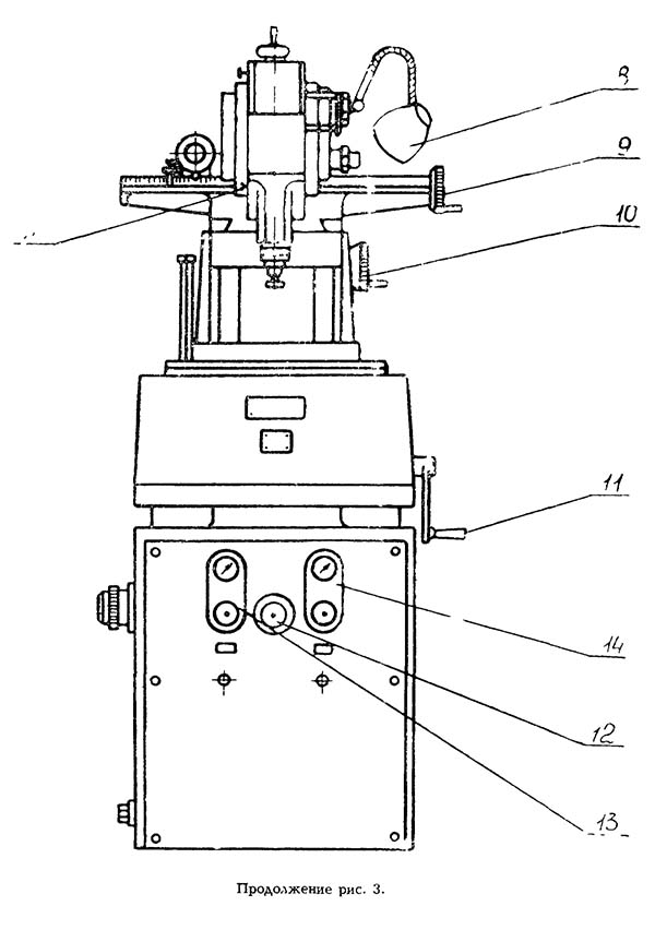
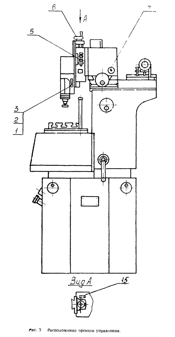
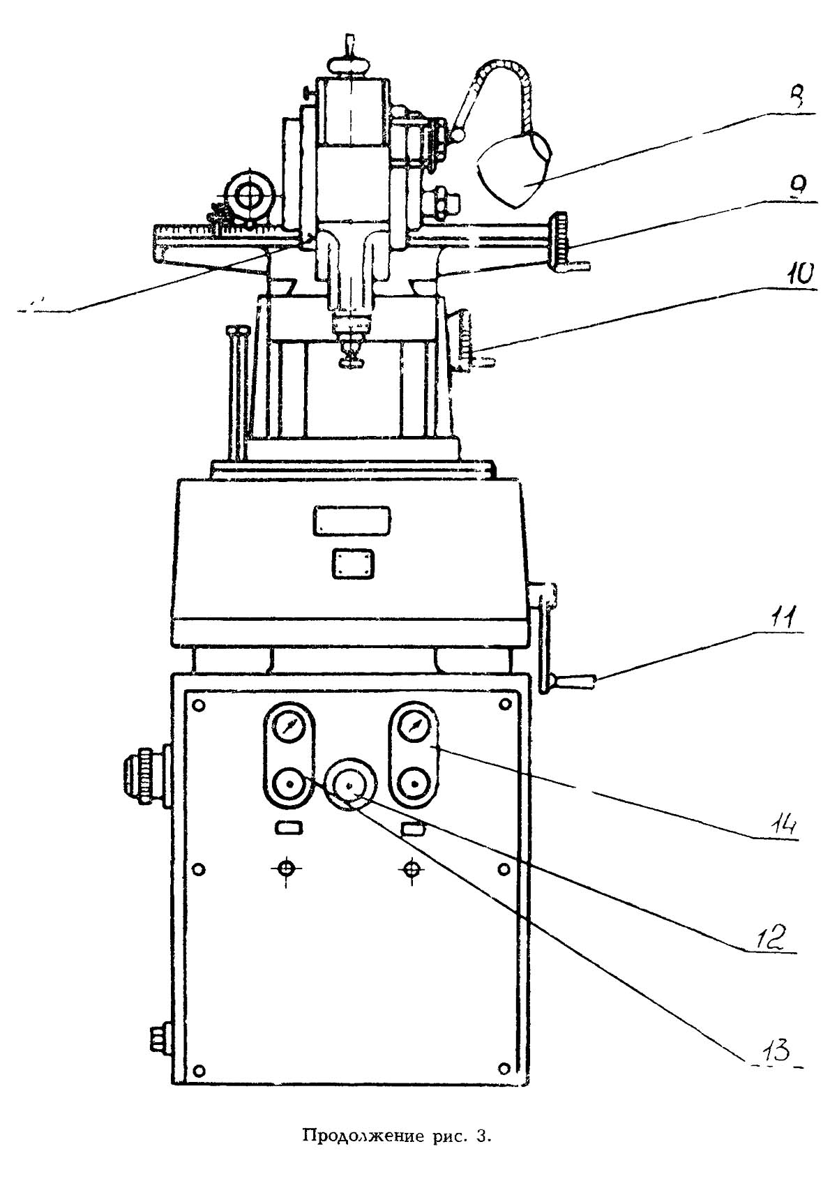
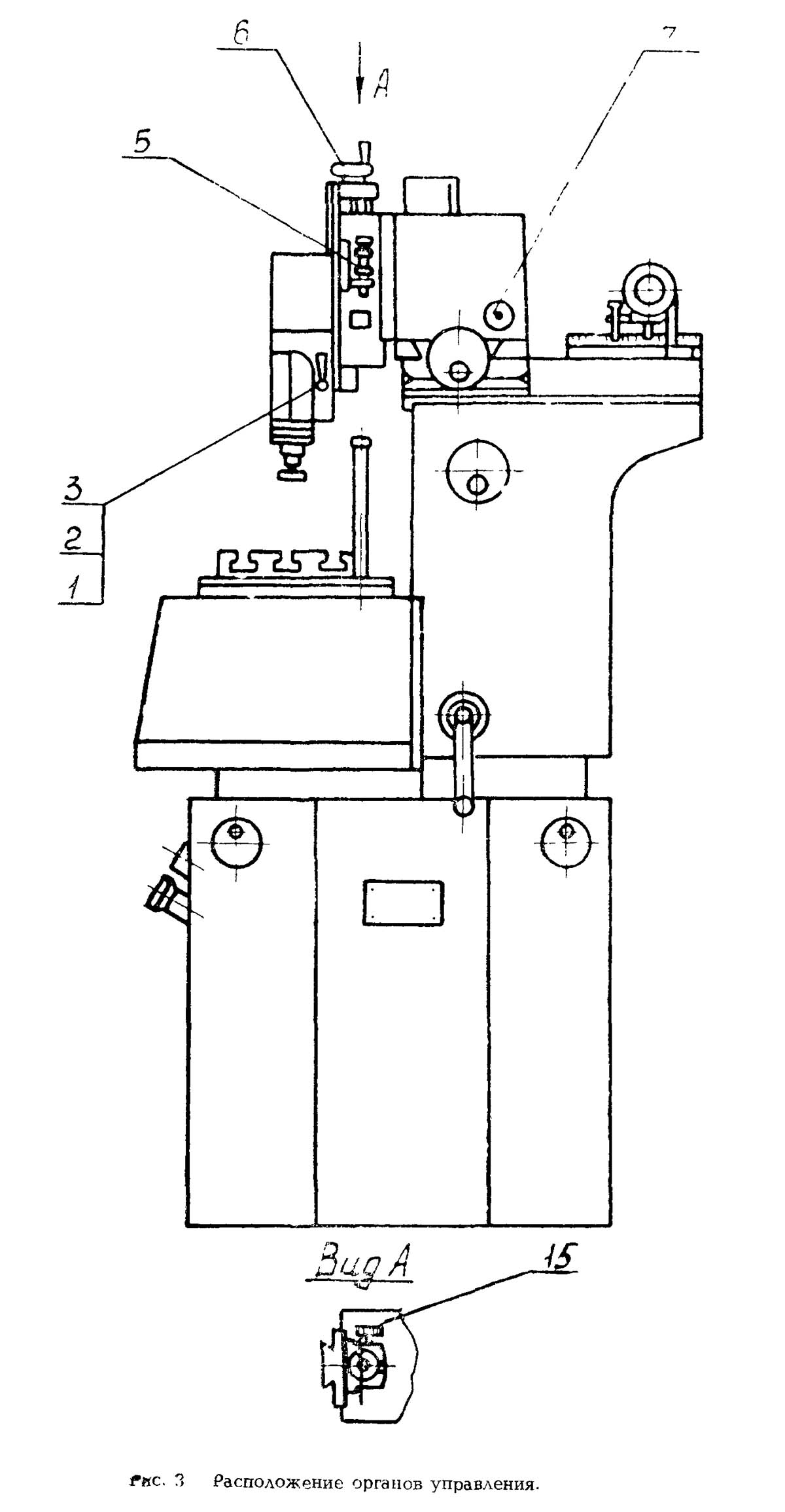
Розташування органів керування копировально-прошивочным верстатом 4г721м

Розташування органів керування копировально-прошивочным верстатом 4г721м

Розташування органів керування копировально-прошивочным верстатом 4г721м

Розташування органів керування копировально-прошивочным верстатом 4г721м. Дивитись у збільшеному масштабі



Розташування органів керування копировально-прошивочным верстатом 4г721м

Розташування органів керування копировально-прошивочным верстатом 4г721м

Розташування органів керування копировально-прошивочным верстатом 4г721м. Дивитись у збільшеному масштабі



Список органів керування копировально-прошивочного верстата 4г721м

  1. Рукоятка фиксации установочного ходу вибратора
  2. Рукоятка фиксации установочного ходу вращающегося шпинделя
  3. Рукоятка фиксации установочного ходу механізма проволочной резки
  4. Рукоятка стопора шпинделя вибратора
  5. Микрометрический винт отсчета глубины прошивки
  6. Маховичок вертикального переміщення головки
  7. Тумблер подсветки микроскопов
  8. Тумблер местного освещения
  9. Маховичок продольного переміщення головки
  10. Маховичок поперечного переміщення головки
  11. Рукоятка подъема ванны
  12. Рукоятка подачі керосина в ванну
  13. Рукоятка прокачки керосина через електрод-инструмент
  14. Рукоятка отсоса керосина
  15. Рукоятка стопора ходового гвинта головки




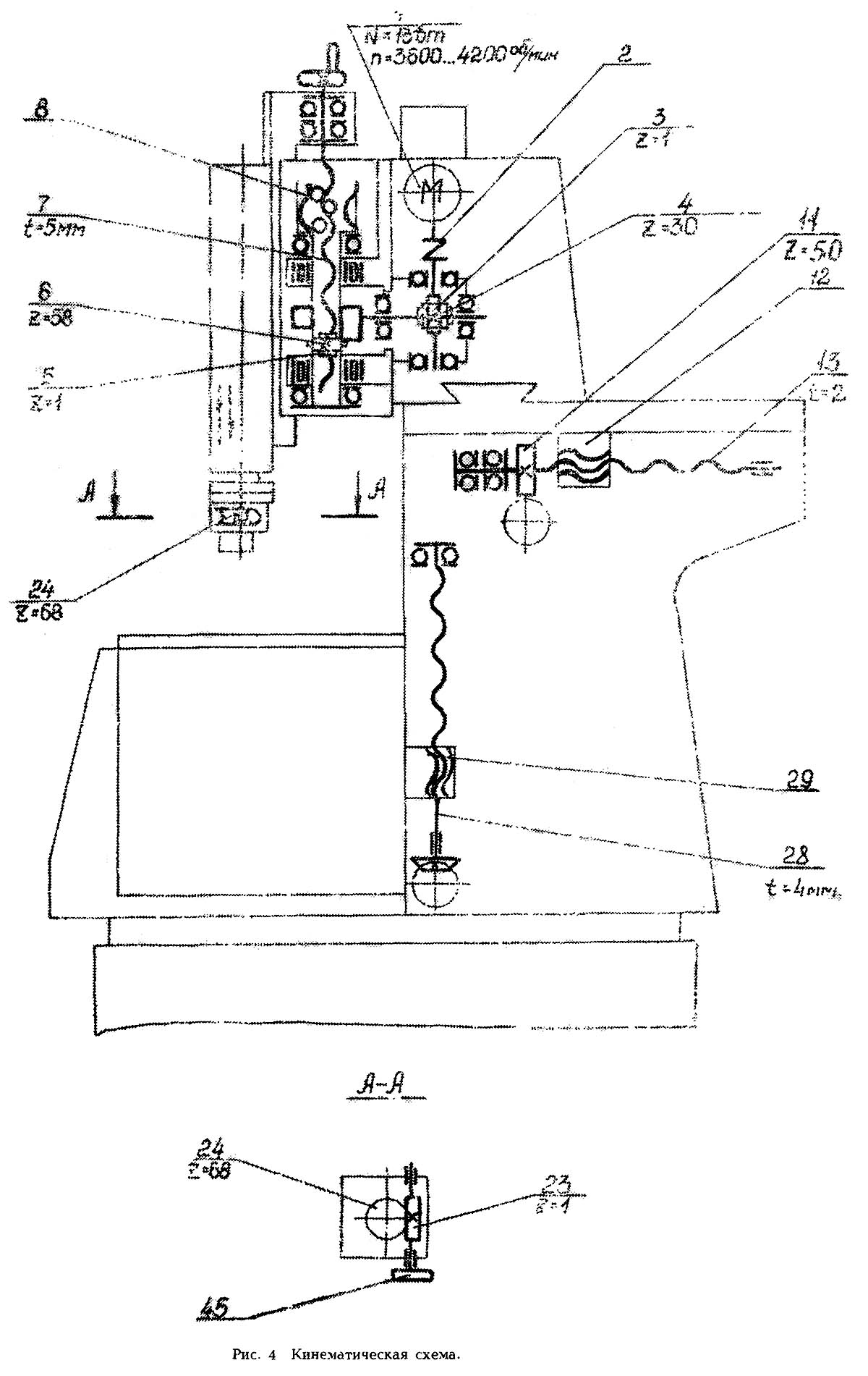
Кінематична схема копировально-прошивочного верстата 4г721м

Кінематична схема копировально-прошивочного верстата 4г721м

Кінематична схема копировально-прошивочного верстата 4г721м

Кінематична схема копировально-прошивочного верстата 4г721м. Дивитись у збільшеному масштабі



Кінематична схема копировально-прошивочного верстата 4г721м

Cхема розположення підшибників копировально-прошивочного верстата 4г721м

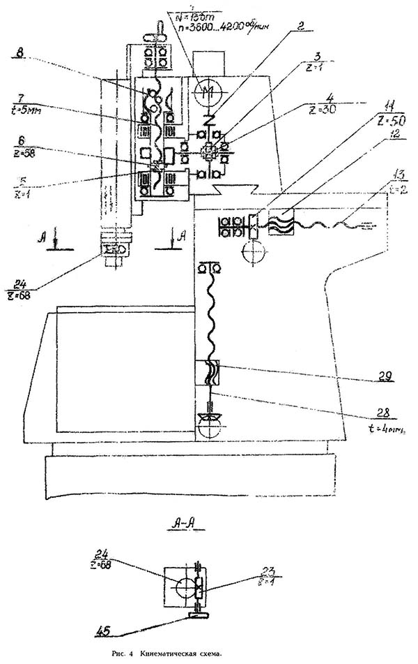
Кінематична схема верстата обеспечивает:

Автоматическая вертикальная рабочая подача осуществляется от регулятора подачі.

Вращение от валика електродвигуна 1 (СЛ-221) передається через муфту 2 на двухступенчатый червячный редуктор, состоящий из червячных пар 3, 4, 5, 6. От червячной шестерни 6 передається вращение на шариковую гайку 8 ходового гвинта 7. Гайка 8 сцеплена з корпусом з помощью зубчатого зацепления. Корпус крепится к стакану, на котором сидит червячная шестерня 6. При автоматичною подаче ходовой винт 7 винтовой пары качения застопорен.

Передаточное отношение редуктора:

ip = (1/30)·(1/58) = 1/1740

Перемещение инструмента за 1 оборот електродвигуна:

S = 1·5/1740 = 0,003 мм

Ручное вертикальное установочное перемещение осуществляется непосредственно рукояткой ходового гвинта 7, при незастопоренном ходовом винте.

Ручное поперечное координатное установочное перемещение осуществляется при помощи рукоятки 9 і винтовых колес 10, 11 на ходовой винт 13 з гайкой 12.

Ручное продольное координатное установочное перемещение осуществляется при помощи рукоятки 14 через ходовой винт 21 з гайкой 22.

Подъем і опускание ванны осуществляется от рукоятки 25 через конические шестерни 26, 27 і винтовую пару 28, 29.

Поворот електрода в патроне на нужный угол осуществляется от ручки 45 через червячную пару 23, 24.

Натяжение проволоки в зоне різання осуществляется от електродвигуна 33 (АДП-262) через пару конических шестерен 34, 35 на катушках.

Намотка проволоки осуществляется от електродвигуна 36 (АДП-262) через червячную пару 37, 38, цилиндрические пары 39, 40, 41 з помощью ведущего ролика 42 і нажимного ролика 43, далее на катушку, имеющую фрикционную связь з валом шестерни 40.





Опис конструкції електроерозионного копировально-прошивочного верстата 4г721м

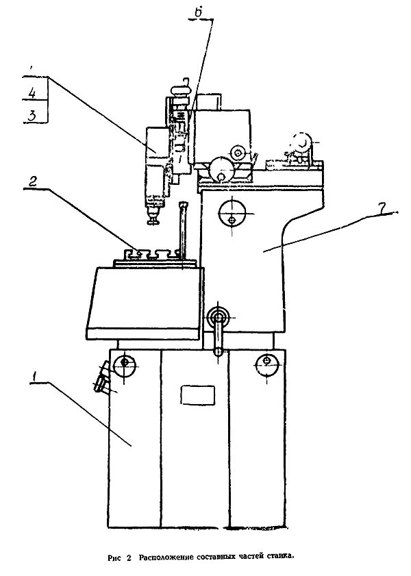
Общая компановка верстата

Электроерозионный копировально-прошивочный верстат моделі 4Г721М состоит из основних вузлів, обозначенных на рис. 2.

Все вузли верстата смонтированы на тумбе прямоугольной формы. Тумба выполнена в виде коробки з открытой лицевой стороной і нишей внутри, в которой размещается бак з рабочей жидкостью. Сверху па горизонтальной плоскости тумбы расположены стойка і стол-ванна. Из задньої стенки тумбы выходят два шланга, один из которых подключает верстат к водопроводу для охлаждения рабочей жидкости в баке, другой шланг подключен к канализации.

На направляющие стойки типа «ласточкин хвост» устанавливаются, каретки. Внутри стойки находится механізм подъема ванны. Па верхней стойке закреплено отсчетное пристрій поперечных координатных перемещений.

Стол з подъемной ванной закреплен на верхней плоскости тумбы і расположен перед стойкой. Подача рабочей жидкости в ванну осуществляется по трубопроводу, расположенному внутри подставки стола. Стол-ванна закрыта сварным съемным кожухом.

Обрабатываемое изделие устанавливается непосредственно на стол і закрепляется.

На стол верстата і шпиндель головки могут устанавливаться специальные приспособления, расширяющие технологические возможности применения верстата.

Поперечное перемещение нижней каретки производится маховичком, расположенным справа на боковой стенке стойки. Верхня каретка продольного ходу перемещается по направляющим типа «ласточкин хвост». Маховичок ручного переміщення каретки продольного ходу расположен справа на торне нижней каретки. Па левой боковой стенке верхней каретки расположено отсчетное пристрій продольных координатных перемещений, а па правой стороне закреплена лампа местного освещения.

К верхней каретке крепится головка. В зависимости от рода роботи на каретке головки крепится одно из трех приспособлении: вибратор, вращающийся шпиндель или механізм проволочной резки.

Для крепления електрода-инструмента имеется несколько пристосувань, входящих в комплект приладдя і инструмента.

Генератор технологического тока располагается слева от верстата.




Стойка (рис. 6).

Стойка копировально-прошивочного верстата 4г721м

Стойка копировально-прошивочного верстата 4г721м


Стойка представляет собой чугунную отливку коробчатого сечения.

К передньої стенке стойки крепится плита 1 з круглыми направляющими 2 і ходовым винтом 3. По круглым направляющим перемещается траверса 4 з помощью ходового гвинта 3 і гайки 5. Траверса несет на себе ванну 6. На нижнем кінці ходового гвинта крепится коническая шестерня 7, з ней сцепляется шестерня 8, расположенная на валу, выходящим на правую сторону верстата к рукоятке 9.

На верхнем плоскости стойки крепится ходовом винт 10 поперечного переміщення з парой винтовых колес 11, 12. С правой стороны стойки выведена рукоятка 13 поперечного переміщення кареток по направляющим «ласточкин хвост», а на верхней плоскости стойки закреплено отсчетное пристрій поперечных координатных перемещений.

Стойка крепится к тумбе.

Тумба з баком (рис. 7)

Тумба служит подставкой для установки і закрепления стойки і стола з ванной, а также для розміщення бака з рабочей жидкостью. Тумба представляет собой чугунную отливку коробчатой формы. На верхнюю часть тумбы крепится съемный сварной кожух, закрывающий стол-ванну. В верхней частини тумбы имеется полость для сбора рабочей жидкости, сливающейся из ванны.. Из етой полости по трубе, ввернутой в тумбу, рабочая жидкость сливается в бак. Бак располагается внутри тумбы і служит для розміщення рабочей жидкости. На баке смонтирована система подачі і очистки рабочей жидкости. Бак, емкостью_70 литров, сварной прямоугольной формы, внутри разделен на два отсека. Меньший отсек выполняет роль предварительного отстойника. Во втором отсеке расположен двухрядный змеевик 1, который предназначен для охлаждения рабочей жидкости. Змеевик подключается к источнику технической воды. Сверху бак закрыт крышкой, на которой установлены: шестеренный насос 2, з електродвигуном, распределительная коробка 3 і ежекторное пристрій 5. На правой стенке бака установлены два фильтра очистки рабочей жидкости 4. На распределительной коробке смонтированы органы керування і контроля системы подачі і очистки рабочей жидкости. От распределительной коробки выведены два гибких шланга: один присоединяется к трубопроводу наполнения ванны рабочей жидкостью, второй може быть присоединен; при необходимости, к електроду-инструменту для прокачки, через него, рабочей жидкости. От ежекторного пристроя также отходит гибкий шланг, который соединяется з електродом-инструментом і через который производится отсос рабочей жидкости. Если в «прокачке» или «отсосе» рабочей жидкости нет необходимости, то концы шлангов вставляются в специальные отверстия, находящиеся в кожухе ванны.

Головка (рис. 8)

Головка предназначена для автоматичною і ручной подачі инструмента в вертикальном направлении.

Каретка головки перемещается по шариковым направляющим вручную — при вращении ходового гвинта 1 от рукоятки 2 і механически — при вращении гайки 3 от двухступінчастого редуктора, при етом ходовой винт 1 застопорен.

Для обеспечения заданной глубины обробки на головке имеется отсчетное пристрій, состоящее из датчика 4 со встроенным микропереключателем, отсчетной линейки і микрометрической головки 5.

Датчик і отсчетная линейка крепятся на нерухомою частини. Микрометрическая головка з кронштейном крепится к каретке головки. Срабатывание датчика осуществляется измерительным стержнем микрометрической головки.

Налаштування на любую заданную глубину обробки в пределах 100 мм производится з помощью трех плиток 25, 50, 75 мм.

Каретка имеет направляющие «ласточкин хвост» для установки сменных пристосувань. К нерухомою частини головки крепится двухступенчатый червячный редуктор, который служит для приводу каретки головки.

Вращение от електродвигуна постоянного тока СЛ-221 передається через муфту входному валику редуктора.

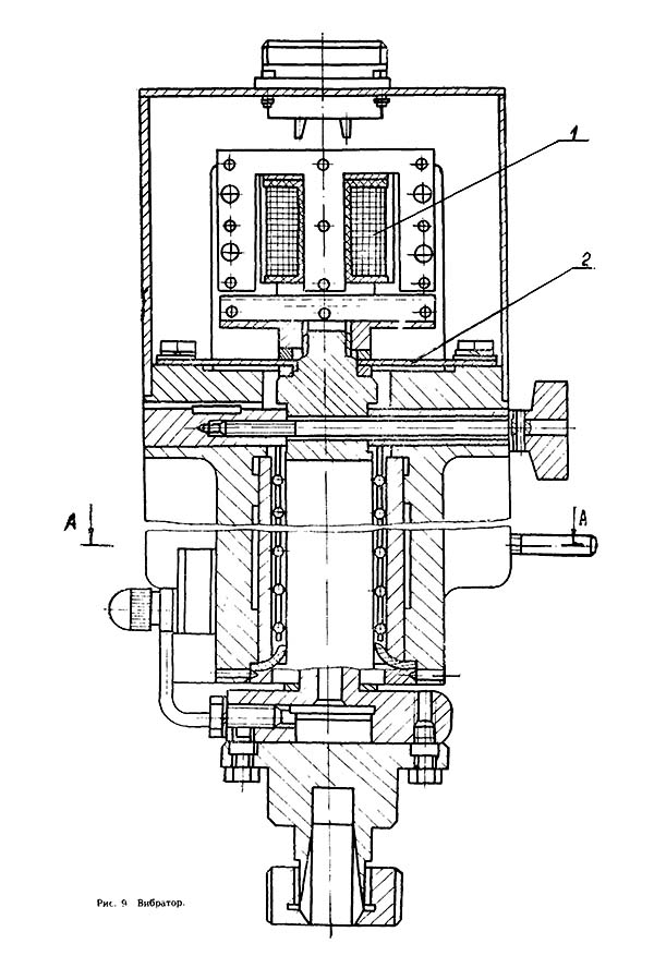
Вибратор

Вибратор копировально-прошивочного верстата 4г721м

Вибратор копировально-прошивочного верстата 4г721м


Вибратор служит для сообщения електроду-инструменту вибрации, необходимой для устойчивого процесса електроерозионной обробки.

Вибрация шпинделя производится електромагнитом 1, который закреплен на верхней плоскости корпуса вибратора. Со шпинделем жестко связано ярмо електромагнита.

Шпиндель подвешен на упругой мембране 2 і перемещается по скальчатым направляющим качения.

Нижня часть шпинделя выполнена в виде фланца, к которому крепятся сменные приспособления. Фланец, к которому подведен токопровод, изолирован от корпуса шпинделя.

В некоторых случаях, при работе со значительными зусиллями прокачки рабочей жидкости через електрод-инструмент, вибрации инструмента не требуется. В связи з етим для устранения продольных перемещений инструмента применен стопор шпинделя.

Вибратор крепится на каретке головки в направляючих «ласточкин хвост» сухарем 3.

Вращающийся шпиндель (рис. 10.)

Вращающийся шпиндель служит для обробки отверстий вращающимся електродом.

Конструктивно шпиндель выполнен в виде отдельного вузла, который устанавливается на каретку головки верстата і крепится к ней в направляючих «ласточкин хвост» сухарем 1.

Привід вала з електродом, зажатым в цанговом патроне з помощью гайки 2, осуществляется от електродвигуна постоянного тока типа СЛ-261.

Вал вращается в радиально-упорных шарикопідшипниках 5, 6, установленных в гильзе. Выборка зазору в радиально-упорных шарикопідшипниках производится пружиной сжатия 7.

Токоподвод к електроду-инструменту осуществляется через щетки 8 і коллекторное кольцо 9 насаженное на шпиндель.

Гильза шпинделя изолирована от корпуса, а изоляция електродвигуна от вала осуществляется втулкой 4; изготовленной из пластмассы.




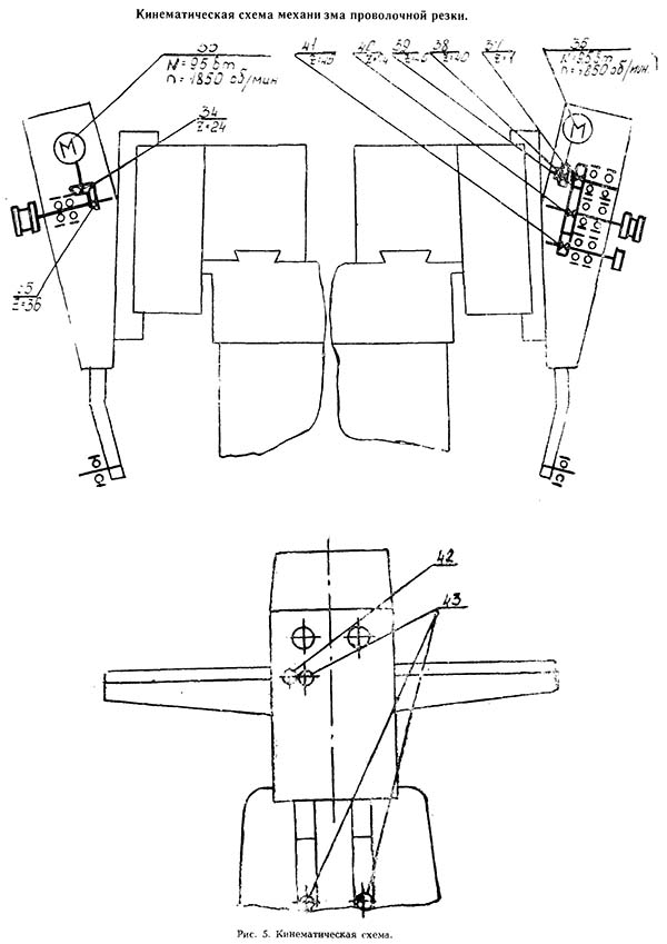
Механізм проволочной резки (рис. 11)

Кінематична схема механізма проволочной резки верстата 4г721м

Кінематична схема механізма проволочной резки верстата 4г721м


Механізм проволочной резки состоит из двух механізмов, механізма натяжения і механізма намотки проволоки, оба механізма смонтированы в одном корпусе. Для увеличения зоны обслуживания стола корпус механізма наклонен на 15° по отношению к направляющим «ласточкин хвост». Механізм проволочной резки крепится на каретке головки направляючих «ласточкин хвост» сухарем 1.

Механізм натяжения

Для создания необходимого натяжения тонкой проволоки-инструмента в зоне електроерозионного різання применяется електродвигатель АДП-252 з полным ротором, обеспечивающий работу в моментном режиме. Катушка 2 з проволокой крепится на оси 3, которая через пару конических шестерен 4, 5 связана з валом двигуна.

Натяжение проволоки осуществляется крутящим моментом електродвигуна, обратным по знаку движению проволоки. (Електродвигун типа АДП262 работает в заторможенном режиме).

Двигатель снабжен тормозным механізмом 6, который препятствует раскручиванию катушки з проволокой при її обрыве, при етом з помощью собачки 7, связанной з контактами 8, отключает напряжение робочого контура.

Механізм намотки

Вращение приводному ролику сообщается двигателем переменного тока АДП262 через червячную пару 9, 10 і пару цилиндрических шестерен 11, 12 і 12, 13.

Проволока з катушки механізма натяжения 2 тянется между двумя роликами 14, 15, один из которых является приводным, другой — нажимным, затем проволока наматывается на приемную катушку 16, свободно сидящую на валике 17.

Скорость обертання катушки 16 определяется скоростью поступления проволоки. Скорость обертання валика 17 несколько большая. Момент трения, возникающий при проскальзывании катушки на валике, создает небольшое натяжение проволоки, необходимое для плотной намотки проволоки на катушку.

Каретки (рис. 12)

Каретки служат для сообщения инструменту продольного і поперечного переміщення. Узел состоит из двух кареток: нижней 1 і верхней 2.

Верхня каретка 2 перемещается по направляющим «ласточкин хвост» относительно нижней каретки 1 от маховичка 3 з рукояткой через ходовой винт 4 і гайку 5 і обеспечивает продольное перемещение електрода-инструмента относительно стола.

Нижня каретка 1 перемещается по направляющим «ласточкин хвост» от маховичка з рукояткой через пару винтовых шестерен на ходовой винт і гайку. Маховичок расположен в узле стойки.

Отсчет координат ведут по отсчетным микроскопам, один из которых установлен на левой стенке верхней каретки, другой на верхней плоскости стойки. На правой стенке верхней каретки крепится тумблер для подсветки микроскопов і лампа местного освещения.

Обе каретки можно фиксировать в нужном положении. Для регулювання зазоров в направляючих кареток предусмотрены прижимные планки. Ниша продольного ходового гвинта закрыта подвижными шторами.

Стол-ванна (рис. 13)

Подставка к столу представляет собой круглую полую отливку, установленную на платике тумбы. Сверху на подставке через изоляционную прокладку 1 крепится стол 2 з тремя станочными пазами.

Внутри круглой подставки проходит трубопровод 3 от шестеренного насоса для подачі рабочей жидкости в ванну.

Ванна сварная, охватывающая круглую подставку стола, крепится четырьмя гвинтами к траверсе механізма подъема, расположенного в стойке. Подъем ванны осуществляется рукояткой, выведенной на правую сторону стойки.

Ванна при подъеме скользит сальником 4 по круглой подставке стола. Чтобы не переполнить ванну рабочей жидкостью, предусмотрена сзади сливная труба. В другой трубе установлено реле контроля уровня рабочей жидкости 5.

Рабочая жидкость сливается в полость тумбы, а оттуда по трубе в бак.

Комплект приладдя

В комплект приладдя входят наступні приспособления:

Тиски предназначены для установки і крепления па них деталей. Они состоят из двух параллельных губок, одна из которых подвижная. Тиски з помощью болтов крепятся к столу.

Цанговый патрон предназначен для крепления електрода-инструмента і трехкулачкового патрона Корпус патрона крепится гвинтами к фланцу вибратора. В корпус патрона ввернут штуцер, через который осуществляется прокачка рабочей жидкости.

Поворотный патрон-призма предназначен для крепления електрода-инструмента. Сам патрон крепится также гвинтами к фланцу вибратора. При необходимости електрод можно повернуть на нужный угол вокруг вертикальной оси. Для етого на верхней плоскости корпуса смонтирована червячная пара. Конструкція патрона состоит из корпуса, к низу которого крепится призма. Конструкція патрона позволяет работать на нем з прокачкой і отсосом рабочей жидкости через електрод-инструмент.





Електроустаткування

Загальні відомості

На станке і приспособлениях установлено п'ять електродвигателей. На станке применяются наступні величины напряжений:


Електрична схема копировально-прошивочного верстата 4г721м

Електрична схема копировально-прошивочного верстата 4г721м

Електрична схема копировально-прошивочного верстата 4г721м

Електрична схема копировально-прошивочного верстата 4г721м. Дивитись у збільшеному масштабі



На корпусе головки, справа, установлен датчик, з вмонтированным в него выключателем ВП1 для отключения технологического тока при достижении заданной глубины обробки.

В корпусе головки установлен конечный выключатель ВИЗ для ограничения вертикального переміщення каретки головки.

В углу ванны установлен датчик контроля уровня рабочей жидкости ВП2 для блокировки увімкнення генератора при незаполненной ванне і отключения его при падении уровня жидкости.

В механізме проволочной резки, на корпусе електродвигуна М4, смонтирован выключатель ВП4 для отключения технологического тока і електродвигателей М4 і М5 при обрыве проволоки. На верхней каретке верстата установлен тумблер увімкнення подсветки микроскопов ВМ. Освещение робочого места производится светильником з гибкой стойкой типа СГС-1-2В з лампой МО24-25, установленным на каретке з правой стороны. В качестве источника технологического тока используется генератор типа ШГИ40-44ОБ, который устанавливается слева от верстата.

Керування верстатом производится з пульта керування генератора ШГИ40-44ОБ (подробнее — смотри техническое опис і инструкцию по експлуатации генератора ШГИ40-44ОБ). Соединение верстата з генератором производится соединительным і жгутами через разъемы.

Во время експлуатации електродвигателей необходимо систематически производить их технические осмотры і профилактические ремонты. Периодичность техосмотров устанавливается в зависимости от производственных условий, но не реже одного раза в два месяца. При профилактических ремонтах должна производиться разборка електродвигуна, внутренняя і наружная чистка, і замена змазки підшибників. Смену змазки підшибників при нормальных условиях роботи следует производить через 4000 часов роботи, но при работе електродвигуна в пыльной среде її следует производить чаще, по мере необходимости.

Перед набивкой свежей змазки, підшипники должны быть тщательно промыты бензином. Камеру заполнить смазкой на 2/3 її объема.


Первоначальный пуск

При первоначальном пуске верстата необходимо прежде всего проверить надежность заземления і качество монтажа електроустаткування внешним осмотром. Проверить правильность і надежность соединения верстата з генератором і баком соединительными жгутами. Проверить действие блокирующих елементів.

Первоначальный пуск генератора — см. техническое опис і инструкцию по експлуатации генератора ШГИ40-44ОБ.


Опис роботи

Схема електрична принципова показана на рис. 14. В таблице 5 указан перечень к схеме.

Ввиду того, что вся питающая і пускорегулирующая аппаратура находится в генераторе — опис роботи електросхеми см. в техническом описании і инструкции по експлуатации генератора ШГИ40-44ОБ.


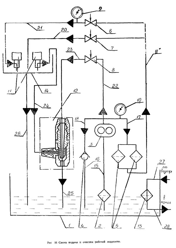
Система подачі і очистки рабочей жидкости

Схема подачі і очистки рабочей жидкости копировально-прошивочного верстата 4г721м

Схема подачі і очистки рабочей жидкости верстата 4г721м


Опис роботи

В станке в качестве рабочей жидкости применяется смесь 1:1 керосина з маслом «Индустриальное И-12А».

Система подачі і очистки рабочей жидкости обеспечивает:

Подача рабочей жидкости из бака 1 в ванну 14 через сетчатый фильтр-насадку, осуществляется шестеренным насосом 3. Из насоса рабочая жидкость проходит блок фильтров 5, распределительную коробку, вентильный кран наполнения 7 і по трубопроводу 20 подается в ванну 14. Для предотобертання перегрузок на выходе насоса установлен обратный клапан 4. Слив рабочей жидкости из ванны производится по трубопроводу 26.

При прокачке рабочая жидкость проходит блок фильтров 5, распределительное пристрій, вентильный кран прокачки 6 і по гибкому трубопроводу 21 через отверстия в електроде-инструменте по дается в зону обробки. При етом вентильный кран отсоса 8 должен быть закрытым, а давление прокачки регулируется путем открывания вентильного крана прокачки 6 і частиничного закрывания вентильного крана наполнения 7. За установленным режимом прокачки следят по манометру 9.

Отсос рабочей жидкости з продуктами ерозии из зоны обробки в бак осуществляется ежекторным пристрійм 12 через гибкий трубопровод 24 і отверстие в електроде-инструменте. Разрежение в ежекторном устройстве создается при прокачке рабочей жидкости насосом через ежекторное пристрій по пути: вентильный кран отсоса 8 і трубопроводы 22, 23

Тонкая очистка рабочей жидкости производится в блоке фильтров 5. Для определения состояния фильтров сгоят манометр 10 на входе в блок фильтров і манометр 9 на выходе из фильтров після вентильного крана прокачки 6. При величине перепада давления на манометрах более 2 кгс/см2 не обходимо произвести замену фильтроелементів, ввиду их значительной засоренности. Отсутствие пе репада давления свидетельствует о механическом повреждении фильтроелемента. В етом случае не обходима замена поврежденного фильтроелемента. Средний ресурс роботи фильтроелементів состав ляет при производительности:

Проверку состояния фильтроелементів следует производить при полностью открытом вентильном кране прокачки.

Охлаждение рабочей жидкости в баке осуществляется водой, проходящей через змеевик 13. Один конец змеевика подключается к источнику технической воды, а другой соединен з канализа цией, куда спускается отработанная вода. Расход воды составляет около 8 л/мин.

Система змазки

Список точок змазки приведен в таблице 6.

Одним из условий надежной роботи і длительного сохранения точності верстата является надежная смазка

Перед пуском верстата необходимо:

Смазку трущихся деталей, не предусмотренных в схеме змазки, производить при профилактическом осмотре і ремонтi верстата.

Смазку підшибників і ходовых винтов в вузлах верстата рекомендуется производить консистентной смазкой ЦИАТИМ-201 при ремонтi верстата.


Настановне креслення копировально-прошивочного верстата 4г721м

Настановне креслення копировально-прошивочного верстата 4г721м

Настановне креслення копировально-прошивочного верстата 4г721м




4г721м верстат електроерозионный. Відеоролик.




Технічні характеристики копировально-прошивочного верстата верстата 4г721м

Наименование параметра 4г721м
Основні параметри верстата
Класс точності верстата Н
Розміри рабочей поверхности стола, мм 200 х 360
Количество Т-образных пазов ГОСТ 6569—75 3
Ширина зажимных Т-образных пазов по ГОСТ 1574—75, мм 12
Расстояние между Т-образными пазами по ГОСТ 6569—75, мм 63
Наибольший ход головки (поперечний х продольный х вертикальний), мм 160 х 250 х 100
Расстояние от торца шпинделя вибратора до рабочей поверхности стола, мм 190..330
Точность установки по осям X і У, мм 0,01
Наибольшие розміри устанавливаемой на столе детали (длина х ширина х высота), мм 320 х 190 х 130
Наибольшая масса устанавливаемой детали, кг 60
Номинальная площидь обробки, мм2 1500
Вместимость ванны стола, л 70
Минимальный диаметр обробки (при глубине обробки не более 5 мм), мм 0,6
Материал електрода-инструмента медь
латунь
графит
Наибольшая масса електрода-инструмента, кг 5
Наибольшая производительность медным електродом по стали 45, мм3/мин 250
Наименьшая шероховатость медным електродом по стали 45, мкм 1,25..0,80
Наибольшая производительность латунным електродом по твердому сплаву ВК8, мм3/мин 40
Наименьшая шероховатость латунным електродом по твердому сплаву ВК8, мкм 1,25..0,40
Електроустаткування. Привод
Питающая електросеть, В 380±38
Источник импульсов тока широкодиапазонный генератор импульсов ШГИ40-44ОБ
Номинальная сила тока генератора, А 40
Максимальная потребляемая мощность, кВт 4
Ланцюг керування, В ~110
Ланцюг местного освещения, В ~24
Количество електродвигателей на станке 5
Електродвигун приводу салазок, кВт (об/мин) 0,013 (3600..4200)
Електродвигун приводу шпинделя, кВт (об/мин) 0,024 (3600..4600)
Електродвигун натяжения проволоки, кВт 0,0095 (1850)
Електродвигун обертання шпинделя, кВт =0,055 (3600..4600)
Електродвигун насоса диелектрической жидкости, кВт 0,27 (1400)
Суммарная мощность установленных електродвигателей і источника импульсов тока, кВт 0,326
Габарити і масса верстата
Габарити верстата (длина ширина высота), мм 760 х 865 х 1630
Масса верстата (без генераторв), кг 600