metalinstryment.com
Довідник по металорізальних верстатів та пресовому обладнанні

7А412 долбежный верстат з механическим приводом
опис, характеристики, схеми

Фото долбежного верстата 7А412







Відомості про виробника долбежного верстата верстата 7А412

Разработчиком і изготовителем долбежного верстата 7А412 является Саракташский станкостроительный завод "Коммунар", г. Саракташ, Оренбургская обл.

Саракташский станкостроительный завод основан в 1941 году. С 70-х годов специализируется на разработке, производстве і поставках широкого спектра гідроприводов для промышленного оборудования, насосов, клапанной апаратури, питателей, гідрораспределителей.





Верстати, выпускаемые Саракташским станкостроительным заводом "Коммунар"


7А412 долбежный верстат з механическим приводом. Назначение і область применения

Верстат 7А412 предназначен для обробки плоских і фасонных поверхностей, пазов і канавок, а также различных видов штампов, устанавливаемых непосредственно на столе или в приспособлениях.

Возможность поворота рамы з долбяком позволяет обрабатывать наклонные плоскости, не меняя позиции детали.

Круговая подача стола дает возможность обрабатывать на станке 7А412 круглые детали. С помощью делительного приспособления можно производить долбление зубчатых колес, шлицевых отверстий і валов з высотой долбления 100 мм.

Шероховатость обработанной поверхности не менее V6.

Верстат 7А412 является одной из моделей гаммы долбежных верстатів. Он характеризуется високою производительностью, удобством керування і обслуживания, надежностью і безопасностью в работе. В автоматическую линию верстат не встраивается.

Класс точності верстата Н.


Габаритные розміри робочого простору долбежного верстата 7А412

Габарит робочого простору долбежного верстата 7А412

Габарит робочого простору долбежного верстата 7А412

Габарит робочого простору долбежного верстата 7А412. Дивитись у збільшеному масштабі



Посадочные і присоединительные базы долбежного верстата 7А412

Резцовая головка долбежного верстата 7А412

Посадочные і присоединительные базы долбежного верстата 7А412

Посадочные і присоединительные базы долбежного верстата 7А412. Дивитись у збільшеному масштабі



Загальний вигляд долбежного верстата 7А412

Фото долбежного верстата 7А412

Фото долбежного верстата 7А412

Фото долбежного верстата 7А412. Дивитись у збільшеному масштабі



Фото долбежного верстата 7А412

Фото долбежного верстата 7А412

Фото долбежного верстата 7А412. Дивитись у збільшеному масштабі



Фото долбежного верстата 7А412

Фото долбежного верстата 7А412

Фото долбежного верстата 7А412. Дивитись у збільшеному масштабі



Фото долбежного верстата 7А412

Фото долбежного верстата 7А412

Фото долбежного верстата 7А412. Дивитись у збільшеному масштабі



Фото долбежного верстата 7А412

Фото долбежного верстата 7А412

Фото долбежного верстата 7А412. Дивитись у збільшеному масштабі



Розташування складових частин долбежного верстата 7А412

7А412 Розташування складових частин долбежного верстата

Розташування складових частин долбежного верстата 7А412

Розташування складових частин долбежного верстата 7А412. Дивитись у збільшеному масштабі



Список складових частин долбежного верстата 7А412

  1. Станина - 1 210 000
  2. Долбяк - 1 230 000
  3. Привід коробки подач - 1 251 000
  4. Стол - 1 260 000
  5. Коробка подач - 1 250 000
  6. Електроустаткування - 1 280 000
  7. Кулисный механізм - 1 240 000
  8. Привід - 1 221 000
  9. Насосная группа - 1 222 000

Все группы верстата выполнены в окремих корпусах і установлены на станке, что облегчает их сборку при изготовлении і ремонтi, Насоснолубрикаторная группа находится внутри верхней станины і установлена на коробке швидкостей.





Розташування органів керування долбежным верстатом 7А412

Розташування органів керування долбежным верстатом 7А412

Розташування органів керування долбежным верстатом 7А412

Розташування органів керування долбежным верстатом 7А412. Дивитись у збільшеному масштабі



Специфікація органів керування долбежного верстата 7А412

  1. Маховик поворота стола
  2. Маховик поперечного переміщення стола
  3. Рукоятка увімкнення червяка круговой подачі
  4. Винт зажиму поворотного стола
  5. Гайка зажиму резца
  6. Квадрат резцовой головки
  7. Рукоятка увімкнення фрікциону
  8. Квадрат перестановки долбяка
  9. Квадрат развода долбяка
  10. Квадрат ручного поворота привода
  11. Кнопка «Стоп»
  12. Кнопка «Пуск»
  13. Включатель местного освещения
  14. Рукоятка фиксации стола
  15. Гайка зажиму рамы долбяка
  16. Рукоятка реверсирования подач
  17. Лимб переключения подач
  18. Рукоятка барабанного переключателя швидкостей
  19. Барабан отключения механізма подач
  20. Маховик продольного переміщення стола




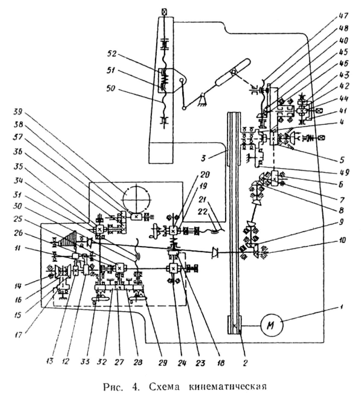
Кінематична схема долбежного верстата 7А412

7А412 Схема кінематична долбежного верстата

Кінематична схема долбежного верстата 7А412

Схема кінематична долбежного верстата 7А412. Дивитись у збільшеному масштабі

Розташування підшибників долбежного верстата 7А412. Дивитись у збільшеному масштабі



Конструкція верстата 7А412

Станина верстата

Станина (рис. 5) верстата состоит из верхней 1 і нижней 2 частин. Между двумя щеками верхней частини станины установлена рама з долбяком. В верхней частини станины находятся привод, кулисный механізм, насосная группа і масляная ванна. На боковых сторонах станины имеются защитные кожухи 3 і 4. Верхня часть станины установлена на нижнюю і закреплена болтами. В нижней частини станины находятся електродвигатель на плите 5, которая може быть повернута вокруг оси, і привід подачі. На передньої частини нижней станины установлена коробка подач і стол. С наружной задньої стороны прикреплен електрошкаф. Конструкція станины обеспечивает повышенную жесткость верстата.

Привод

Привід долбежного верстата 7А412

Привід долбежного верстата 7А412

Привід долбежного верстата 7А412. Дивитись у збільшеному масштабі



Привід (рис, 6) верстата предназначен для передачи обертання от електродвигуна кулисной шестерне, для увімкнення і виключення головного і вспомогательного руху верстата.

Крутящий момент передається от вала електродвигуна через клиноременную передачу і фрикционную муфту 4 валу 1, на котором сидит шестерня 5 привода, сцепляющаяся з кулисной шестерней.

Выключение фрікциону происходит одновременно з торможением приводного вала і кулисного механізма. Для поворота приводу вручную имеется валик з квадратным хвостовиком, который входит в зацепление з валом 1. Корпус фрікциону 3, на котором нерухомо сидит ведомый шкив 2, опирается на два шарикопідшипника.

Блокировка тормозной колодки 6 і фрикционной муфты 4 осуществляется тягой 7. Регулируют муфту гайками. При работе приводу масло попадает на рабочие поверхности дисков трения і тормоза, благодаря чему ети поверхности работают в благоприятных условиях: обеспечивается плавность роботи, малый износ. На корпусе фрікциону 3 установлена шестерня 9, приводящая в действие через шестерню 8 плунжерный насос.

Насосная группа

Насосная группа обеспечивает смазку трущихся поверхностей деталей верстата. Плунжерный насос 2 (рис. 7) крепится двумя пальцами 4, впрессованными в станину. Насос соединен трубками з фильтром 3 і з маслораспределителем 1, откуда масло поступает к различным точкам верстата. Эксцентрик 12 {см. рис. 6) приводит в действие насос. Для уменьшения нагрузки от трения і предохранения от износа ексцентрик снабжен шарикоподшипником 11, который напрессован на наружный диаметр ексцентрика.

Долбяк

Долбяк долбежного верстата 7А412

Долбяк долбежного верстата 7А412

Долбяк долбежного верстата 7А412. Дивитись у збільшеному масштабі



Долбяк (рис. 8) придает резцу возвратно-поступательное движение. Корпус долбяка 1 выполнен из алюминиевого сплава, что уменьшает инерционные нагрузки на механізм верстата во время роботи. К корпусу долбяка нерухомо крепится направляющая — стальная плита 5, которая ходит в направляючих рамы 6. Рух на долбяк передається от кулисы через серьгу 7, шарнирно соединенную з проушиной корпуса 3, через гайки 2, 4 і винт 13. Гайки имеют механізм автоматичного выбора осьового люфта.

На нижней частини долбяка устанавливается резцовая головка 12, которая поворачивается на 90° в обе стороны. Отсчет градусов ведется по риске на шейке долбяка. Резцовая головка закрепляется осью 11, затягиваемой клином 10. Для перестановки долбяка вращают винт 13.

На станке можно обрабатывать поверхности по наклонным плоскостям до 5° путем установки рамы долбяка, для чего необходимо ослабить упор 8 і вращать гайку 9 телескопического гвинта. Отсчет ведется по шкале на раме. После установки угла наклона долбяка упор 8 вновь затягивается. Смазка от насоса подается в ванну, расположенную в раме, откуда поступает к направляющим долбяка і к пальцу серьги.

Кулисный механізм

Кулисный механізм (рис. 9) предназначен для преобразования вращательного руху кулисной шестерни в возвратно-поступательное рух долбяка. Корпус 6, смонтированный в верхней частини станины, вращаясь в двух конических роликовых підшипниках, несет на себе шестерню 7. В направляючих корпуса имеется палец 4, на который надет камень 3. Кулиса 1 смонтирована в верхней частини станины на оси 2 і одним концом соединена з серьгой 7 (см. рис. 8).

При вращении кулисной шестерни палец 4 совершает вращательное рух вокруг осп корпуса. Камень, вращаясь вместе з пальцем, скользит по направляющим в пазу кулисы і заставляет її совершать качание на оси, чем і осуществляется возвратно-поступательное рух долбяка. Длина ходу долбяка устанавливается вращением вала 8 кривошипной рукояткой, надетой на квадрат. Через шестерни 10 і 11 вращение передається винту 5. Палец передвигается по винту, і по мере изменения расстояния между осями пальца 4 і корпуса 6 будет изменяться длина ходу долбяка. Отсчет ведется по лимбу 9. К підшипникам корпуса масло подается по трубке от маслораспределителя, к направляющим кулисного камня масло подводится по трубке от оси кулисы.




Коробка подач

Коробка подач долбежного верстата 7А412

Коробка подач долбежного верстата 7А412

Коробка подач долбежного верстата 7А412. Дивитись у збільшеному масштабі



Коробка подач (рис. 10) осуществляет прерывистое рух поздовжньої, поперечної і круговой подач стола. Валик 20 з набором ексцентричных кулачков 5, позволяющих осуществить десять различных подач, через шарнирные муфты соединен з приводом коробки подач і совершает вращательное движение. РОЛИК рычага 3 в контакте з кулачками совершает колебательное движение, а следовательно, зубчатый сектор 2, сидящий нерухомо на другом кінці вала 21, тоже совершает колебание, находясь в зацеплении з шестерней 23. На шестерню 2S насажен рычаг 24, несущий на себе толкающую собачку, что позволяет через храповое колесо 14 осуществлять прерывистую подачу. Далее через реверсивный механізм (зубчасті колеса 18, 15, 16 і 17) рух передається на шестерню 9 і через предохранительную муфту 8 на вал 13. С етого вала через шестерни 12 і 10 рух передається на вал 11, з которого передається рух на поперечное і круговое перемещение стола. Через шестерню 7 столу сообщается продольное перемещение. Рычаг 3 передвигают вдоль оси вала 21 з помощью рычага 1, скользящего по валу. На етом же валу установлен лимб переключения подач. Величина подачі устанавливается по нониусу лимба 18 (см. рис. 3). Чтобы переключить подачу, нужно вначале повернуть барабан 19, который соединен з ексцентриком 4 (см. рис. 10). Вращая лимб, установить нужную подачу. После етoгo ексцентрик 4 повернуть в рабочее положение.

Реверсирование производится включением кулачковой муфты 19 на валу 22 з шестернями 18 і 15, Для предотобертання поломок при перегрузках в коробке имеется предохранительная муфта 8, которая отжимает пружину 6 і выходит из кулачкового зацепления з шестерней 9. В етих случаях необходимо, выключив верстат, снять нагрузку, затем вновь продолжать работу.

Привід коробки подач

Привід коробки подач (рис. 11) служит для передачи крутящего момента от кулисной шестерни к коробке подач. Вращение от кулисной шестерни передається шестерне 10, сидящей на валу 12, откуда через конические пары 11, 1 і 8, 5 і шарнирный вал 7 коробке подач.

Смазывается механізм разбрызгиванием. Брызги масла попадают в стакан 2, где находятся два конических роликопідшипника. Отсюда по трубке масло стекает в корпус 4, где смазываются підшипники і коническая пара. Из корпуса масло отводится по трубке 6 в корпус коробки подач.

Стол

Стол (рис. 12) предназначен для крепления детали на станке і совершает з ней рух подач. Стол состоит из нижних салазок 16, верхних салазок 15 і круглого поворотного стола 10. Продольное перемещение стола осуществляется ходовым винтом 21.

Для поперечної і круговой подачі рух сообщается от шлицевого вала 18. По нему скользит шестерня 19, находящаяся в зацеплении з шестерней 20, которая сидит на одном валу з распределительной шестерней 7.

С шестерни 7 через паразитную шестерню 4 і шестерню 6 рух передається на винт поперечної подачі 5, через паразитную шестерню 8 і шестерню 2 — на вал 3. От вала 3 через шестерни 14, 11, 17, 9 і откидной червяк 38 (см. рис. 4), который входит в зацепление з шестерней 39, столу сообщается круговое движение. Все три руху стола имеют по десять подач, ручні і механические увімкнення, которые осуществляются маховичками. Для увімкнення механической подачі маховички толчком подаются от себя до сцепления кулачковых муфт 1 (см. рис. 12) з шестернями.

Упорные підшипники ходовых винтов і валов смазываются солидолом. Гітара распределения смазывается через масленки, червяк і его упорные підшипники смазываются через пресс-масленку 22, находящуюся в торце стола.

Делительное пристрій

С долбежным верстатом по особому заказу за особую плату поставляется делительное пристрій (рис. 13).

Делительное пристрій следует применять в тех случаях, когда требуется точное деление обрабатываемой детали на число частин, кратное 19, 17,16,14, 12, 11.

Делительное пристрій следует устанавливать на вал 12 (см. рис. 12), сняв фланец 13. В корпусе 11 приспособления расположены шестерня 12 (см. рис. 13) і вал-шестерня 3, на хвостовике которой, на шпонке, крепится кривошипная рукоятка 10 з фиксатором 7. Вращение от рукоятки через шестерни 3, 12 (см. рис. 13) і 17, 9 (см. рис. 12), откидной червяк 38 і шестерню 39 (см. рис. 4) передається столу. Для деления имеется диск 5 (см. рис. 13) і фиксатор 7. Диск установлен на втулке 4 і фиксируется колодкой 2. Пружина 6 заставляет фиксатор быть прижатым в отверстии диска. Отводится фиксатор ручкой 8.

Для облегчения отсчета имеются два указателя 1. Диск 5 имеет шесть окружностей, которые разделены отверстиями на 19, 17, 16, 14, 12, 11 частин. Один полный оборот рукоятки соответствует повороту стола на 4°.

Смазывать шестерни следует через пресс-масленку в верхней частини корпуса. Для монтажа делительного приспособления необходимо:

Устанавливать снятые детали в обратном порядке, закрепив корпус 11 четырьмя гвинтами М8Х70.


Електроустаткування долбежного верстата 7А412

Загальні відомості

На станке установлен трехфазный короткозамкнутый асинхронный електродвигатель (рис. 14).

На станке могут применяться наступні величины напряжений переменного тока:

Освещается рабочее место светильником з гибкой стойкой типа СГС-1-2 В з лампой МО 36-40. Панель з кнопками керування вмонтирована в нише верхней частини станины.

Ввод должен быть осуществлен проводом марки ПГВ сечением 4 мм, черного цвета для линейных і зелено-желтого цвета для заземления.

С боковой стороны шкафа керування установлен трехфазный автоматический выключатель АК 63-3МГ для подключения л отключения верстата от питающей сети (В) (рис. 15).

Опис роботи електроустаткування

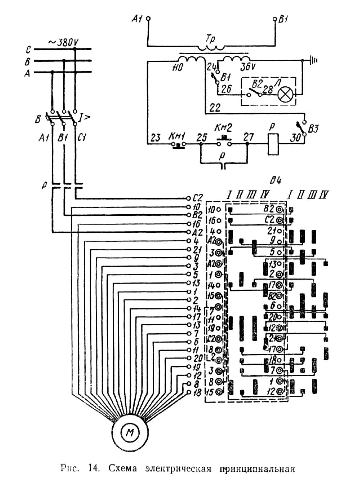
Електрична схема долбежного верстата 7А412

Електрична схема долбежного верстата 7А412

Електрична схема долбежного верстата 7А412. Дивитись у збільшеному масштабі



Схема електрична принципова показана на рис. 14, схема електрических з'єднань на рис. 15.

Увімкненням автоматичного выключателя В при включенном автоматическом выключателе ВЗ електросхема верстата подготовлена к работе. Нажатием на кнопку Кн2 по ланцюги 23-25-27-30 получает питание магнитный пускатель Р. который подключает електродвигатель М. После увімкнення магнитный пускатель ставится на самопитание. Изменение скорости обертання електродвигуна достигается изменением числа пар полюсов при помощи барабанного переключателя БП. Останов електродвигуна осуществляется нажатием на кнопку Кн1. Захист електроустаткування верстата от коротких замыканий осуществляется автоматическими выключателями В, В1 і В2. Минимальная защита електродвигуна обеспечивается магнитным пускателем Р.

При осмотре і ремонтi електроапаратури автоматический выключатель должен быть обязательно выключен.


Система змазки долбежного верстата 7А412

Опис роботи системы змазки

Схема змазки принципова показана на рис. 16.

Смазка верстата обеспечивается циркуляционной системой змазки долбяка, привода, кулисного механізма.

Эта система включает в себя резервуар 1, маслоуказатель 6, фильтр 7, плунжерный насос 8, маслораспределитель 10. Плунжерный насос закреплен во внутренней частини станины і приводится в действие ексцентриком 12 (см, рис. 6).

Масло из масляной ванны, расположенной в верхней станине, забирается насосом через фильтр і подается к маслораспределителю. От маслораспределителя 10 (см, рис. 16) масло подается к кулисному механізму, к масляной ванне 11, откуда масло поступает через фитили к направляющим долбяка і серьге з гайкой. Привід коробки подач смазывается разбрызгиванием і самотеком масла из стакана 2 по трубке.






Налаштування, наладка і режими роботи долбежного верстата 7А412

Число двойных ходов долбяка устанавливать в соответствии з требуемой скоростью долбления поворотом рукоятки 16 (см. рис. 3) до нужного числа двойных ходов.

Длину ходу долбяка устанавливать изменением ексцентриситета кулисного пальца, вращая квадрат 9 (см. рис. 3). Отсчет ведется по лимбу.

Установка величины подач стола. Для того, чтобы установить выбранную подачу, нужно кривошипной рукояткой повернуть барабан 19 (см. рис. 3) до момента виключення подачі, а затем лимбом 18 установить выбранную подачу. После етого барабан 19 повернуть до момента увімкнення подачі.

Установка режущего инструмента. Режущий инструмент устанавливать в резцедержатель, помещенный на резцовой головке, закреплять гвинтами і гайкой 5 (см. рис. 3).

Установка обрабатываемого вироби. Обрабатываемое изделие устанавливать непосредственно на столе верстата, в трехкулачковом патроне или в приспособлении.


Регулювання долбежного верстата 7А412

В процессе експлуатации верстата вследствие износа возникает необходимость в регулировании окремих вузлів і елементів.

Натяжение ремней приводу регулировать поворотом подмоторной плиты вместе з електродвигуном вокруг оси.

Износ направляючих, верхней і нижней салазок і долбяка регулировать клиньями посредством регулирующих винтов. При регулировке зазор в направляючих должен быть не более 0,03 мм, при етом не должно быть свободное перемещение движущихся частин.

Износ підшибників во всех вузлах регулировать компенсаторными кольцами і подтягиванием регулирующих гаек і винтов. При регулировке зазору в підшипниках должно быть обеспечено легкое вращение валов без люфта.

Фрикционную муфту регулировать гайками 10 (см. рис. 6). Расход масла в трубках, ведущих к различным вузлам, регулировать дросселями в маслораспределителе.


Особливості разборки і сборки при ремонтi долбежного верстата 7А412

Прежде чем приступить к разборке верстата, обязательно отключить верстат от електросети вводным выключателем.

Снятие коробки подач

Перед снятием коробки подач необходимо:

Снятие коробки приводу подачі

Для снятия коробки приводу подачі необходимо через окно нижней частини станины отсоединить трубки 6 і 3 от корпуса 4 (см. рис. 11) коробки приводу подач, отсоединить шарнирную муфту от вала 20 (см. рис. 10). Отсоединить шарнирную муфту от вала 9 (см. рис. 11) через первое окно верхней частини станины, которое расположено под кожухом. После етого можно снимать коробку приводу подач з нижней частини станины.

Разборка і монтаж остальных вузлів просты і не требуют описання.

Настановне креслення долбежного верстата 7А412

Настановне креслення долбежного верстата 7А412

Настановне креслення долбежного верстата 7А412. Дивитись у збільшеному масштабі







7А412 Долбежный верстат з механическим приводом. Відеоролик.




Технічні характеристики долбежного верстата 7А412

Наименование параметра 7А420 7А412
Основні параметри верстата
Класс точності верстата Н Н
Наибольший ход долбяка, мм 20..200 10..100
Пределы двойных ходов в минуту 40..163 52,67,101,210
Диаметр стола, мм 500 360
Расстояние от плоскости стола до направляючих долбяка, мм 320 200
Расстояние от долбяка до станины (вылет), мм 480 320
Установочное регулювання ходу долбяка, мм 264
Наибольшее усилие різання, кгс 1500 600
Наибольшие переміщення стола продольные, мм 500 350
Наибольшие переміщення стола поперечные, мм 400 280
Наибольшие переміщення стола круговые, град 360° 360°
Пределы подач за один двойной ход продольные, мм (число ступеней) 0,1..1,2 0,1..1,0 (10)
Пределы подач за один двойной ход поперечные, (число ступеней) мм 0,1..1,2 0,1..1,0 (10)
Пределы подач за один двойной ход круговые, (число ступеней) град 0,064...0,81 0,067..0,67 (10)
Скорость швидкого переміщення стола продольная, мм/мин 1,8
Скорость швидкого переміщення стола поперечная, мм/мин 1,8
Скорость швидкого переміщення стола круговая, град/сек 3,4
Наибольший угол наклона долбяка, град 5° от станины
Наибольший угол поворота головки резцедержателя, град ±90°
Наибольшее сечение резца (высота х ширина), мм 20 х 12
Електроустаткування. Привод
Количество електродвигателей на станке 2 1
Електродвигун приводу головного руху, кВт 2,8 0,8; 1,0; 1,4; 1,5
Електродвигун ускоренного переміщення стола, кВт 1,1 -
Габарити і масса верстата
Габарити верстата (длина ширина высота), мм 2300 х 1270 х 2175 1950 х 980 х 1825
Масса верстата, кг 2240 1200


    Список литературы:

  1. Копылов Р.Б. Работа на строгальных і долбежных верстатах, 1975
  2. Петруха П.Г. Резание конструкционных материалов, режущие инструменты і верстати, 1974
  3. Яковцев А.Д. Работа на строгальных і долбёжных верстатах, 1966