metalinstryment.com
Довідник по металорізальних верстатів та пресовому обладнанні

К2019 Пресс однокривошипный простого дії открытый
схеми, опис, характеристики

Фото пресса однокривошипного простого дії открытого ненаклоняемого К2019



Прессы механические, прессы гідравлические, верстати поперечно-строгальные

Відомості про виробника однокривошипного пресса К2019

Пресс К2019 выпускал Курский завод кузнечно-прессового оборудования, основанный в 1943 году.

В настоящее время пресс К2019 производят:





Верстати, выпускаемые Курским заводом кузнечно-прессового оборудования


К2019 Пресс однокривошипный простого дії открытый ненаклоняемый. Назначение, область применения

Механический быстроходный пресс К2019 усилием 80 кН (8,0 тс) предназначен для выполнения вырубки, гибки, неглубокой вытяжки, пробивки і других различных операций холодной штамповки.

Принцип роботи і особливості конструкції пресса К2019

Станина однокривошипного пресса К2019 литая чугунная коробчатого сечения С-образной формы установлена на двух стойках.

Ползун коробчатой формы з призматическими направляющими.

Высота межштампового простору регулируется вручную вращением гвинта шатуна.

Привід одноступенчатый от електродвигуна. Через клиноременную передачу рух передається на маховик, находящийся на кривошипном валу.

Муфта-тормоз жесткосблокированная многодискова фрикционная з пневматическим включением.

На прессе К2019 возможна установка средств механизации і автоматизации.

Електросхема обеспечивает работу пресса на одиночных і автоматических ходух, в режимах «Толчок» і «Ручной проворот». Для безопасной роботи предусмотрена двурукая кнопочная електроблокировка, а также ограждение штампового простору.

Керування прессом кнопкове і педальное.

Смазка ручная, индивидуальная.

Пресс К2019 изготовляется з основними параметрами по ГОСТ 9408—77.


Однокривошипный пресс простого дії. Загальні відомості

Прессы кривошипные простого дії

Кінематична схема кривошипного пресса:

  1. ползун
  2. тормоз
  3. маховик
  4. клиноремённая передача
  5. електродвигатель
  6. передавальний вал
  7. зубчатая передача
  8. муфта
  9. кривошипный вал
  10. шатун
  11. плита для крепления матрицы штампа

Кривошипный пресс - машина з кривошипно-шатунным механізмом, предназначенная для штамповки различных деталей.

Рабочей частью (инструментом) пресса является штамп, неподвижную часть которого крепят к столу, подвижную — к ползуну пресса. Ползун перемещается кривошипно-шатунным механізмом. За один оборот кривошипа шатун совершает полный ход, во время которого при движении ползуна вперёд происходит штамповка.

Усилие пресса создаётся за счёт крутящего момента, передаваемого кривошипному валу електроприводом. Привід состоит из електродвигуна, маховика, муфты увімкнення, тормоза і понижающей зубчатой передачи, от которой вращение передаётся кривошипному валу. Електродвигун вращает маховик, за счёт силы инерции которого на кривошипном валу возникает крутящий момент. Пресс може работать в режиме одиночных ходов, т. е. з вимкненням муфты після каждого полного ходу, или в автоматическом режиме, когда муфта включена постоянно.

Важнейшие характеристики пресса, в определяющие его технологические возможности:

Кривошипные прессы различных конструкций используют для объёмной і листовой штамповки.

По конструкції прессы имеют три основних исполнения:

Прессы наклоняемые позволяют использовать наклон станины для съема штампуемых изделий или удаления отходов под их собственным весом.

Прессы ненаклоняемые з передвижным столом предназначены для выполнения операций штамповки на деталях з широким диапазоном размеров по высоте, а при замене стола рогом обрабатывать вироби з замкнутым контуром.

Конструкція наклоняемых і ненаклоняемых прессов з нерухомим столом передбачає возможность установки механізмов автоматичною подачі металла і пневматических подушек, а также встраивать их в автоматизированные поточные линии.


Обозначение кривошипных прессов

Значения первых двух цифр в обозначениях кривошипных прессов:

За двумя первыми цифрами следуют еще две цифры, обозначающие номинальное усилие пресса, а затем буква, которая показывает его модификацию в группе прессов данного вида.


Значения основного параметра (номинальное усилие пресса) в обозначениях прессов:

Таблиця 1. Обозначение основного параметра пресса

Обозн. пресса Усилие пресса, кН Обозн. пресса Усилие пресса, кН Обозн. пресса Усилие пресса, кН Обозн. пресса Усилие пресса, кН
14 25 кН 20 100 кН 30 1000 кН 40 10000 кН
15 31,5 кН 21 125 кН 31 1250 кН 41 12500 кН
16 40 кН 22 160 кН 32 1600 кН 42 16000 кН
18 63 кН 23 200 кН 33 2000 кН 43 20000 кН
24 250 кН 34 2500 кН 44 25000 кН
25 315 кН 35 3150 кН 45 31500 кН
26 400 кН 36 4000 кН 46 40000 кН
28 630 кН 38 6300 кН 48 63000 кН

Пример обозначения механических прессов:





К2019 Габарити робочого простору кривошипного пресса

Габарити робочого простору кривошипного пресса К2019 открытого ненаклоняемого

Габарити робочого простору кривошипного пресса к2019

Габарити робочого простору кривошипного пресса к2019. Дивитись у збільшеному масштабі



К2019 Ескізы мест крепления инструмента кривошипного пресса

Ескізы мест крепления инструмента кривошипного пресса К2019

Ескізы мест крепления инструмента кривошипного пресса к2019

Ескізы мест крепления инструмента кривошипного пресса К2019. Дивитись у збільшеному масштабі



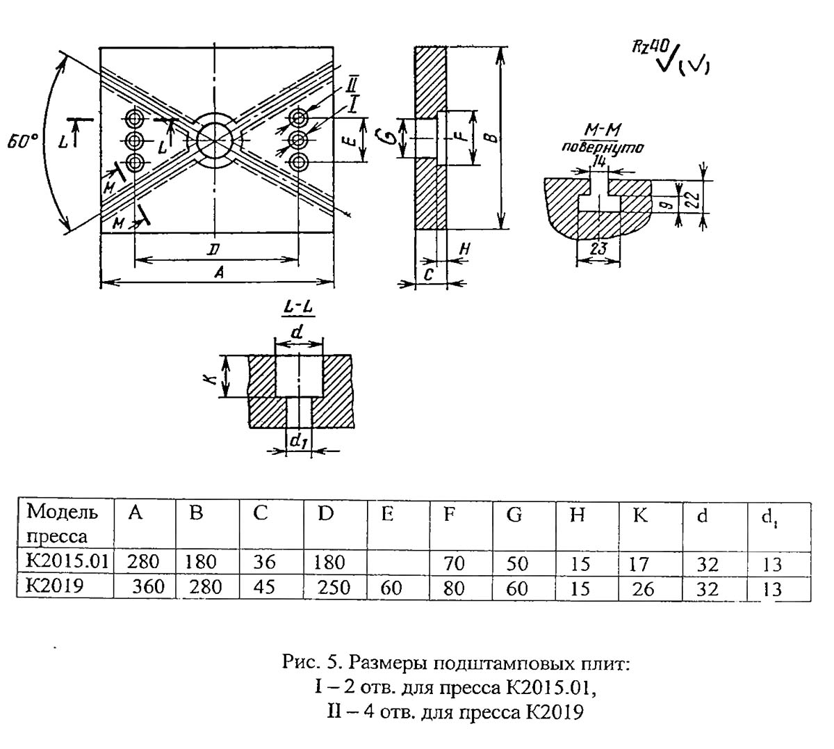
К2019 Розміри подштамповой плиты кривошипного пресса

Розміри подштамповой плиты кривошипного пресса К2019

Розміри подштамповой плиты кривошипного пресса к2019

Розміри подштамповой плиты кривошипного пресса К2019. Дивитись у збільшеному масштабі



К2019 Диаграмма допускаемых усилий кривошипного открытого ненаклоняемого пресса

Диаграмма допускаемых усилий однокривошипного пресса к2019

Диаграмма допускаемых усилий кривошипного пресса К2019. Дивитись у збільшеному масштабі






К2019 изображение однокривошипного пресса

К2019 Изображение кривошипного открытого ненаклоняемого пресса

Фото однокривошипного пресса к2019


К2019 Изображение кривошипного открытого ненаклоняемого пресса

Фото однокривошипного пресса к2019


К2019 Изображение кривошипного открытого ненаклоняемого пресса

Фото однокривошипного пресса к2019





Розташування основних вузлів однокривошипного пресса К2019

Розташування основних вузлів однокривошипного пресса К2019 открытого ненаклоняемого пресса

Розташування основних вузлів однокривошипного пресса к2019

Розташування основних вузлів однокривошипного пресса К2019. Дивитись у збільшеному масштабі



  1. Станина К2019-11-001
  2. Привід К2019-21-001
  3. Вал ексцентриковый К2019-23-001
  4. Командоаппарат - К2019-24-001
  5. Установка муфты-тормоза К2019-26-001
  6. Ползун К2019-31-001
  7. Воздухопровод КЕ2118.01-41-001
  8. Ограждение приводу К2019-71-001
  9. Ограждение командоаппарата - КЕ2114.01-72-001
  10. Ограждение рабочей зоны -
  11. Електроустаткування К2019-91-001
  12. Пост керування кнопочний КЕ2114.01-92-00
  13. Маховик -
  14. Сдуватель пневматический

Розташування органів керування однокривошипным прессом К2019

Розташування органів керування однокривошипным прессом К2019

Розташування органів керування однокривошипным прессом К2019

  1. Педаль
  2. Вводной выключатель
  3. Переключатель режимов роботи
  4. Счетчик
  5. Световая сигналізація
  6. Выключатель местного освещения
  7. Кнопка «Стоп непрерывных ходов»
  8. Кнопка «Загальний стоп»
  9. Кнопка «Пуск електродвигуна»
  10. Кнопки «Ход ползуна» (Двуручное включение)




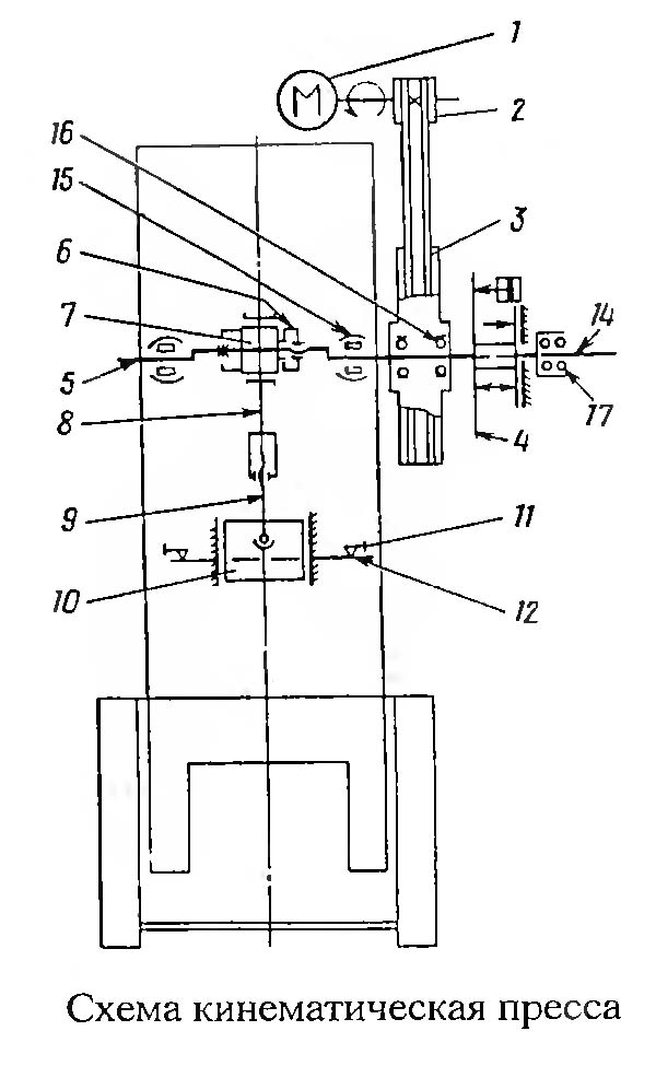
Схема кінематична однокривошипного пресса К2019

Кінематична схема однокривошипного пресса К2019 открытого ненаклоняемого пресса

Кінематична схема однокривошипного пресса К2019


Список елементів кінематичної схеми

  1. Електродвигун
  2. Шкив привода
  3. Маховик привода
  4. Муфта-тормоз
  5. Вал ексцентриковый
  6. Гайка
  7. Втулка ексцентриковая
  8. Шатун
  9. Винт регулировочный
  10. Ползун
  11. Упор выталкивателя
  12. Планка выталкивателя
  13. Головка воздухоподводящая
  14. Подшипник
  15. Подшипник
  16. Подшипник

Опис роботи пресса К2019

Станина

Станина пресса рис. 10 чугунная коробчатой формы, воспринимает все зусилля, возникающие при штамповке, крепится на двух стойках 8 і 10 посредством четырех пальцев.

В верхней частини станины 2 в стаканах 11 і 12 расположены підшипники качения 13, служащие опорой для ексцентрикового вала.

Сверху, на скосе станины 2, имеется платик для подмоторной плиты, на которой устанавливается електродвигатель.

Спереди, на специально обработанных местах станины, крепятся призматические регулируемые направляющие 17 для ползуна.

Регулювання направляючих осуществляется гвинтами з помощью резьбового соединения 14, 15 і 16.

Передня часть станины закрыта дверкой 3.

На рабочей плоскости стола закреплена подштамповая плита 6.

Для роботи на провал на столе і плите предусмотрены отверстия.

В нижней частини станины крепится наклонный склиз 7 для удаления штампованных деталей или отходов.

Привод

Привід (см. кинематическую схему на рис. 9).

Регулювання величины ходу ползуна осуществляется вращением ексцентриковой втулки 2, которая соединена з валом 1 через зубчатое зацепление і выводится из зацепления вращением гайки 3.

После установки необходимой величины ходу ползуна ексцентриковая втулка вводится в зацепление з ексцентриковым валом вращением гайки 3, которая стопорится винтом 6.

Необходимая величина ходу ползуна устанавливается по шкале 4 з помощью указателя 5.

Установка муфты-тормоза (рис. 12)

Установка муфты-тормоза состоит из маховика 1-3 і муфты-тормоза 5-14, закрепленных на ексцентриковом валу 4 пресса, воздухоподводящей головки 15-18, закрепленной на муфте-тормозе і кронштейна 21, соединенного пальцами 20 з муфтой-тормозом і закрепленного на станине пресса.

Опорами маховика 1 є радиальные шарикопідшипники 2, посаженные на втулку 3, установленную в свою очередь на ексцентриковый вал 4.

Муфта-тормоз жестко сблокированная многодискова фрикционная з пневматическим включением состоит из следующих частин:

По мере износа фрикционных накладок 5 і 12 увеличивается зазор «а», что вызывает повышенный стук при включении муфты і увеличивается расход воздуха. Для регулировки етого зазору служит разрезные гайки 10, которые фиксируются от отвинчивания гайками 13.

Унифицированная воздухоподводящая головка состоит из корпуса 15, штуцера 16, расположенных между ними резиновых уплотнений 17 і радиальных шарикопідшибників 18.

Работа муфты-тормоза происходит следующим образом:

Сжатый воздух через воздухоподводящую головку 15-18, поршень 7, ступицу 6 поступает в пневмокамеру «Б» і перемещает цилиндр 8 вдоль оси вала ексцентрикового в сторону муфты, который зажимает ведущие диски 5 муфты, связанные постоянно з маховиком через пальцы 19, обеспечивая передачу крутящего момента через ступицу б на вал ексцентриковый 4.

В момент торможения вала ексцентрикового 4 сжатый воздух из пневмокамеры выпускается в атмосферу через воздухоподводящую головку 15-18, при етом цилиндр 8 под воздействием пружин 14 возвращается в сторону тормоза і зажимает тормозной диск 18, сидящий на пальцах 20, закрепленных в кронштейне 21, который жестко связан со станиной.

Ползун (рис. 13)

Ползун является рабочим органом пресса, к которому крепится верхняя часть штампа.

Ползун 13 пресса имеет коробчатую форму з призматическими двусторонними направляющими. Ползун крепится к валу ексцентриковому посредством гвинта регулировочного 5 і разъемного шатуна 4 в корпусе і крышке которого расположены бронзовые вкладыши 2 і 3 підшипника ковзання, охватывающие ексцентриковую втулку.

Суммарный зазор между направляющими ползуна і станины должен быть в пределах 0,04-0,08 мм. Зазор в шаровом з'єднанні должен быть не более 0,015 мм. Зазор между бронзовыми втулками шатуна і ексцентриковой втулкой не более 0,1 мм.

Шаровая головка гвинта регулировочного 5, нижняя опора 10 і плавающий вкладыш 8 помещены в ползуне 12. После регулировки зазору в шаровом з'єднанні гайка 8, ввернутая в ползун 12, стопорится винтом 17.

Опорой шарового соединения является срезная предохранительная шайба 13, рассчитанная на разрушение при перегрузке пресса. При срезании предохранительной шайбы необходимо винтом 17 расстопорить гайку 18, вывернуты її на 1,5-2 оборота приподнять шатун з регулировочным винтом, вращая за маховик пресса в режиме «Ручной проворот», заменить предохранительную шайбу 13, сняв крышку на окне в передньої частини ползуна, затянуть гайку 18 і застопорить її винтом 17.

Регулювання величины штампового простору производится вращением регулировочного гвинта за его шестигранник, установленная величина штампового простору фиксируется стопорными втулками 20, которые стягиваются винтом з контргайкой 19.

Нижний предел регулировки штампового простору ограничивается фиксатором 23.

Величина регулировки определяется по линейке 6.

В нижней частини ползуна расположено отверстие под хвостовик верхней плиты штампа.

Крепление хвостовика осуществляется прижимом 17 посредством двух шпилек з гайками. Стопорный винт 15 служит для дополнительной фиксации хвостовика штампа, а также для отталкивании прижима при снятии штампа.

В пазу ползуна расположено коромысло выталкивателя, подпружиненное двумя прижимами.

Командоаппарат. (рис. 14)

Командоаппарат предназначен для коммутации тока в електрических цепях керування прессом і керування работой пневмосдувателя.

Командоаппарат устанавливается на левый конец вала ексцентрикового. На втулке 4 закреплены алюминевые диски 1, 2, 3. Бесконтактные выключатели 8, 9 і 10 типа БВК 201-24 установлены на кронштейне 7, закрепленном на станине.





Електроустаткування. Загальні відомості

Електрична схема однокривошипного пресса К2019 открытого ненаклоняемого пресса

Електрична схема однокривошипного пресса К2019

Електрична схема однокривошипного пресса К2019. Дивитись у збільшеному масштабі



Применяемое на прессе електрообладнання имеет следующий состав і характеристики:

Опис дії електроустаткування указано в паспорте на шкаф керування.

Блокировки

Електросхемами пресса і шкафа керування предусмотрены наступні блокировки:

Подача напряжения в схему пресса не вызывает самопроизвольного увімкнення електроаппаратов. Достигается ето путем заведения замыкающего контакта магнитного пускателя КМ в ланцюг собственной катушки.

Блокировка пневматических клапанов

При залегании одного из пневматических клапанов пневмораспределителя У7122А срабатывает микропереключатель SQ11 или SQ12 і отключает електродвигатель і муфту пресса.

Блокировка защитного екрана

При работе педалью увімкнення муфты пресса возможно только при закрытом екране (нажат конечный выключатель в режиме «Одиночный ход»).

При работе кнопками SB3 і SB4 в режиме «Непрерывные ходы» увімкнення муфты возможно только при закрытом екране (нажат конечный выключатель в режиме «Непрерывные ходы»).

Блокировка дверки станины

При открывании дверки станины освобождается конечный выключатель SQ15 і замыкающим контактом отключается електродвигатель і муфта пресса.

Блокировка окна ограждения маховика

При открывании окна ограждения маховика освобождается конечный выключатель і замыкающим контактом отключает електродвигатель і муфту пресса.

Блокировка реле давления воздуха

При падении давления воздуха в системе, реле SP срабатывает і своим замыкающим контактом отключает електродвигатель приводу і муфту пресса, при етом загорается сигнальная лампа красного цвета на шкафу керування

Блокировка каналов керування і отказа командоаппарата

Керування каждым клапаном сдвоенного пневмораспределителя осуществляется от самостоятельного управляющего елемента командоаппарата по независимой ланцюги. При отказе одного из каналов керування или командоаппарата не происходи срабатывание одного из пневматических клапанов пневмораспределителя У7122А. срабатывает микропереключатель SQ11 или SQ12 і отключает електродвигатель і муфту пресса.

Схема пневматическая однокривошипного пресса К2019

пневматическая схема однокривошипного пресса К2019 открытого ненаклоняемого пресса

Пневматическая схема однокривошипного пресса К2019

Пневматическая схема однокривошипного пресса К2019. Дивитись у збільшеному масштабі






К2019 Пресс кривошипный простого дії открытый. Відеоролик.




Технічні характеристики пресса К2019

Технічні характеристики однокривошипного пресса К2019 открытого ненаклоняемого пресса

Технічні характеристики однокривошипного пресса К2019

Технічні характеристики однокривошипного пресса К2019. Дивитись у збільшеному масштабі



Технічні характеристики однокривошипного пресса К2019 открытого ненаклоняемого пресса

Технічні характеристики однокривошипного пресса К2019

Технічні характеристики однокривошипного пресса К2019. Дивитись у збільшеному масштабі




    Список литературы:

  1. Банкетов А.Н., Бочаров Ю.А., Добринский Н.С. і др. Кузнечно-прессовое обладнання, 1970
  2. Бочаров Ю.А., Прокофьев В, Н. Гідропривід кузнечно-прессовых машин, 1969
  3. Белов А.Ф., Розанов Б. В., Линц В. П. Объемная штамповка на гідравлических прессах, 1971
  4. Живов Л.И. Кузнечно-штамповочное обладнання, 2006
  5. Кузьминцев В.Н. Ковка на молотах і прессах, 1979
  6. Розанов Б.В. Гідравлические прессы, 1959
  7. Титов Ю.А. Обладнання кузнечно-прессовых цехов, 2001
  8. Щеглов В.Ф. Кузнечно-прессовые машины, 1989
  9. Берлет Разработка чертежей поковок, 2001
  10. Рудман Л.И. Справочник по оборудованию для листовой штамповки, 1989
  11. Романовский В.П. Справочник по холодной штамповке, 1965
  12. Охрименко Я.М. Технология кузнечно-штамповочного производства, 1966
  13. Кузьминцев В.Н. Ковка на молотах і прессах, 1979
  14. Мещерин В.Т. Листовая штамповка. Атлас схем, 1975