metalinstryment.com
Довідник по металорізальних верстатів та пресовому обладнанні

КД2326 Пресс однокривошипный простого дії открытый наклоняемый
схеми, опис, характеристики

Фото пресса однокривошипного простого дії открытого наклоняемого КД2326



Прессы механические, прессы гідравлические, верстати поперечно-строгальные

Відомості про виробника однокривошипного пресса КД2326

Разработчик однокривошипного пресса КД2326 — Азовское специальное конструкторское бюро кузнечно-прессового оборудования і автоматических линий, СКБ КПО.

Пресс КД2326 производился на заводе:

В настоящее время пресс КД2326 производят:




Машины, выпускаемые Сальским заводом кузнечно-прессового оборудования


КД2326 Пресс однокривошипный простого дії открытый наклоняемый. Назначение, область применения

Однокривошипный механический пресс КД2326 изготовляется з параметрами по ТУ2.041.182—85.

Пресс КД2326 однокривошипный простого дії открытый наклоняемый духстоечный КД2326 предназначен для изготовления деталей операциями холодной листовой штамповки: гибкой, вырубкой, пробивкой, неглубокой вытяжкой і т.д., в том числе в составе автоматизированных комплексов.

Пресс КД2326 применяется на предприятиях различных отраслей промышленности, в цехах і на участках холодной листовой штамповки. Находит широкое применение при любом типе производства: мелкосерийном, серийном, массовом.

Станина пресса литая чугунная коробчатой формы, воспринимает все зусилля, возникающие при штамповке.

Ползун, изготовленный из высокопрочного чугуна, коробчатой формы, з призматическими двусторонними направляющими. Левая направляющая регулируемая. Ползун снабжен предохранителем от перегрузки і клиновым пристрійм для выведения пресса из распора. Величина ходу ползуна регулируемая. В механізм регулировки введено кулачковое зацепление для сокращения часу на переналадку. Для устранения влияния массы ползуна і верхней половины штампа на работу прессов, а также для предотобертання произвольного опускания ползуна в аварийных ситуациях предусмотрены пневматические уравновешиватели.

Межштамповое пространство регулируется.

Прессы оснащены пневмосдувателем, возможна установка пневмоподушки. Удаление изделий из штампа осуществляется на провал і в просвет между стойками прессов.

Привід ползуна — от електродвигуна через клиноременную передачу, маховик з вмонтированной в него муфтой-тормозом, і ексцентриковый вал.

Муфта-тормоз — жесткосблокированная, многодискова, фрикционная, з пневматическим включением; вмонтирована в маховик.

Електросхема блока керування выполнена бесконтактной і сдублированной. Предусмотрены контроль величины тормозного пути і керування системой змазки.

Электроблокировка і ограждения обеспечивают надежную работу і безопасное обслуговування прессов.

Смазка централизованная импульсная.

Керування кнопкове:

Режими роботи: одиночный, автоматический, наладочные ходы.

Прессы рассчитаны на работу в следующих режимах:

Примечание. По требованию заказчика возможна установка режима АВТОРАБОТА з керуванням от педали.

Прессы оснащены:

При согласовании з заказчиком на прессе може быть установлен защитный екран з електропневматическим керуванням.

Особливості конструкції пресса:

Для приводу рабочих органів пресса используется:


Обозначение кривошипных прессов

Значения первых двух цифр в обозначениях кривошипных прессов:

За двумя первыми цифрами следуют еще две цифры, обозначающие номинальное усилие пресса, а затем буква, которая показывает его модификацию в группе прессов данного вида.


Значения основного параметра (номинальное усилие пресса) в обозначениях прессов:

Таблиця 1. Обозначение основного параметра пресса

Обозн. пресса Усилие пресса, кН Обозн. пресса Усилие пресса, кН Обозн. пресса Усилие пресса, кН Обозн. пресса Усилие пресса, кН
14 25 кН 20 100 кН 30 1000 кН 40 10000 кН
15 31,5 кН 21 125 кН 31 1250 кН 41 12500 кН
16 40 кН 22 160 кН 32 1600 кН 42 16000 кН
18 63 кН 23 200 кН 33 2000 кН 43 20000 кН
24 250 кН 34 2500 кН 44 25000 кН
25 315 кН 35 3150 кН 45 31500 кН
26 400 кН 36 4000 кН 46 40000 кН
28 630 кН 38 6300 кН 48 63000 кН

Пример обозначения механических прессов:





Габаритные розміри однокривошипного пресса КД2326

КД2326 Габаритные розміри робочого простору однокривошипного пресса КД2326 открытого наклоняемого

Габаритные розміри однокривошипного пресса КД2326

Габаритные розміри однокривошипного пресса КД2326. Дивитись у збільшеному масштабі



Габаритные розміри робочого простору пресса КД2326

Габаритные розміри робочого простору однокривошипного пресса КД2326 открытого наклоняемого

Габаритные розміри робочого простору пресса КД2326

Габаритные розміри робочого простору пресса КД2326. Дивитись у збільшеному масштабі



Посадочные і присоединительные базы однокривошипного пресса КД2326

КД2326 Посадочные і присоединительные базы однокривошипного пресса открытого наклоняемого

Ескізы крепления инструмента пресса КД2326

Посадочные і присоединительные базы пресса КД2326. Дивитись у збільшеному масштабі



Диаграмма допустимых усилий на ползуне пресса КД2326

Диаграмма допустимых усилий на ползуне пресса КД2326

Диаграмма допустимых усилий на ползуне пресса КД2326

Диаграмма допустимых усилий на ползуне пресса КД2326. Дивитись у збільшеному масштабі



Загальний вигляд однокривошипного пресса КД2326

КД2326 Загальний вигляд  кривошипного открытого наклоняемого пресса

Фото однокривошипного пресса КД2326

Фото однокривошипного пресса КД2326. Дивитись у збільшеному масштабі



КД2326 Загальний вигляд  кривошипного открытого наклоняемого пресса

Фото однокривошипного пресса КД2326

КД2326 Загальний вигляд  кривошипного открытого наклоняемого пресса

Фото однокривошипного пресса КД2326

КД2326 Загальний вигляд  кривошипного открытого наклоняемого пресса

Фото однокривошипного пресса КД2326


Розташування складових частин однокривошипного пресса КД2326

КД2326 Розташування складових частин однокривошипного наклоняемого пресса КД2326

Розташування складових частин пресса КД2326


Список складових частин однокривошипного пресса КД2326

  1. Установка муфты-тормоза і маховика - КД2326е.26-001
  2. Привід - КД2326е.22-001
  3. Механізм наклона - КД2326е.12-001
  4. Станина - КД2326е.11-001
  5. Електроустаткування - КД2326е.92е-001
  6. Ползун - КД2326е.31-001
  7. Командоаппарат -
  8. Эксцентриковый вал - КД2326е.23-001
  9. Уравновешиватель -
  10. Воздухопровод - КД2326е.41-001
  11. Ограждение приводу - КД2326е.75-001
  12. Ограждение рабочей зоны - КД2326е.73-001
  13. Маслопровод - КД2326е.81-001, КД2326е.82Б-001




Розташування органів керування однокривошипным прессом КД2326

КД2326 Розташування органів керування однокривошипным прессом

Розташування органів керування прессом КД2326

Список органів керуванняоднокривошипным прессом КД2326:





Кінематична схема однокривошипного пресса КД2326

КД2326 Кінематична схема однокривошипного открытого наклоняемого пресса

Кінематична схема однокривошипного пресса КД2326

  1. Електродвигун 4АС
  2. Шкив привода
  3. Маховик привода
  4. Муфта-тормоз
  5. Винт механізма наклона
  6. Планка выталкивателя
  7. Ползун
  8. Винт регулировочный
  9. Вал ексцентриковый
  10. Втулка ексцентриковая
  11. Гайка

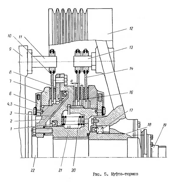
Муфта-тормоз однокривошипного пресса КД2326

Муфта тормоз однокривошипного наклоняемого пресса КД2326

Муфта тормоз однокривошипного пресса КД2326

Муфта тормоз однокривошипного наклоняемого пресса КД2326. Дивитись у збільшеному масштабі



Муфта-тормоз состоит из нормализованной сборочной единицы "Муфта-тормоз" (модели УВ3132, УВ3135, УВ3138, УВ3141, УВ3144 для прессов усилием соответственно 100, 160, 250, 400, 630 кН), воздухоподводящей головки 19 (рис.5) і маховика 12, опорами которого є радиальные шарикопідшипники 17, насаженные на втулку 18. Втулка устанавливается на ексцентриковый вал 22.

Муфта-тормоз жестко сблокированная, многодискова, фрикционная з пневматическим включением состоит из ведущей, ведомой і тормозной частин. В ведущую часть входят ведущие диски 14 з фрикционными накладками, в ведомую - ступица 21 з нерухомо присоединенным поршнем 2, цилиндр 3, перемещающийся вдоль оси, опорные диски 7 муфты і тормоза, установленные на резьбе ступицы 21 і поршня 2, нажимной диск 8 тормоза, жестко установленный на цилиндре, і промежуточный диск 16. Тормозная часть состоит из тормозного диска 10 з фрикционными накладками.

Работа муфты-тормоза происходит следующим образом: сжатый воздух через воздухоподводящую головку 19 і ексцентриковый вал 22 поступает в пневмокамеру I, перемещая цилиндр 3 вдоль оси ексцентрикового вала в сторону муфты і зажимая ведущие диски 14. Диски муфты связаны з постоянно вращающимся маховиком 12 через пальцы 13. Происходит передача крутящего момента через ступицу 21 на ексцентриковый вал 22. В момент торможения вала сжатый воздух выпускается из пневмокамеры в атмосферу через воздухоподводящую головку, соединительный рукав і трехходовой клапан. При етом цилиндр 3 под воздействием пружин 20 возвращается в сторону тормоза і зажимает тормозной диск 10, сидящий на пальцах 11, связанных со станиной 9. Происходит торможение подвижных частин пресса.





Эксцентриковый вал

Вал состоит из собственно вала I (рис. 6) і ексцентриковой втулки 2.

Регулювання величины ходу ползуна осуществляется вращением ексцентриковой втулки, которая входит в зацепление з валом через зубчатое евольвентное зацепление і выводится из зацепления вращением гайки 3.

После установки необходимой величины ходу ползуна втулка вводится в зацепление з ексцентриковым валом і стопорится болтом 4.

На левый конец вала устанавливается командоаппарат КД2324-48-001. Привід автоматических подач осуществляется через его втулку.

Для исключения явления "схватываемости" ексцентрикового вала з ексцентриковой втулкой (холодная сварка) периодически, не реже одного раза в месяц, следует изменять положение ексцентриситета в прессах усилием 250 кН.




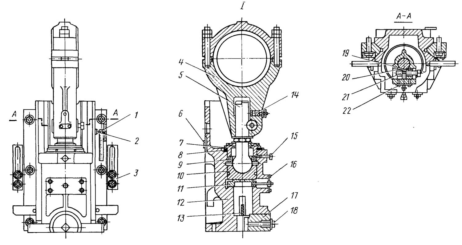
Ползун однокривошипного пресса КД2326

Ползун однокривошипного пресса КД2326

Ползун однокривошипного пресса КД2326

Ползун однокривошипного пресса КД2326. Дивитись у збільшеному масштабі



Ползун 12 (рис.7) является рабочим органом пресса, к которому крепится верхняя часть штампа. Ползун имеет коробчатую форму з призматическими двухсторонними направляющими і крепится к ексцентриковому валу посредством регулировочного гвинта 5 і разъемного шатуна 4. В корпусе і крышке шатуна установлены бронзовые вкладыши підшипника ковзання, охватывающие ексцентриковую втулку. Шаровая головка регулировочного гвинта 5 размещена в корпусе ползуна между опорой 10 і верхним плавающим вкладыше:.: 9. Опора устанавливается на срезную предохранительную шайбу II, рассчитанную на разрушение при перегрузке пресса. Плавающий вкладыш устанавливается между шаровой головкой регулировочного гвинта і гайкой 7. Гайка вворачивается в корпус ползуна і з помощью регулировочных прокладок 8 обеспечивает регулировку зазору в шаровом з'єднанні; гайка стопорится винтом 15.

В случае срізання предохранительной шайбы опустите ползун на подставку і снимите давление в пневмосистеме. Отвернув винты 16, удалите предохранительную шайбу вместе з крышкой і шпилькой. Отверните гайку 7 на один оборот, з помощью рычага поднимите опору 10 вверх, установите новую предохранительную шайбу со шпилькой і крышкой і заверните винты 16. Регулювання зазору в шаровом з'єднанні производите согласно п. 2.4.4.

Величина штампового простору регулируется вращением за шестигранник регулировочного гвинта з помощью гаечного ключа (прессы усилием 100, 160, 250 і 400 кН) і вращением з помощью трещетки (пресс усилием 630 кН). Установленная величина штампового простору фиксируется стопорными втулками 19 і 20, которые стягиваются винтом 21 і удерживаются от проворачивания гвинтами 22. Нижний предел регулювання ограничивается фиксатором 14, а величина регулювання определяется по линейке I.

В нижней частини ползуна имеются отверстия для крепления верхней плиты штампа і отверстие под її хвостовик. Крепление штампа на ползуне пресса усилием 630 кН осуществляется з помощью пазов. Хвостовик крепится прижимом 17 посредством двух шпилек з гайками.

Стопорный винт 18 служит для отталкивания прижима при снятии штампа. В пазу ползуна расположено коромысло 13 выталкивателя. Регулируемые по высоте упоры 3 для коромысла закреплены на станине.

В прессах усилием 250, 400, 630 кН на ползуне закреплены кронштейны 6, к которым крепятся тяги уравновешивателей ползуна.


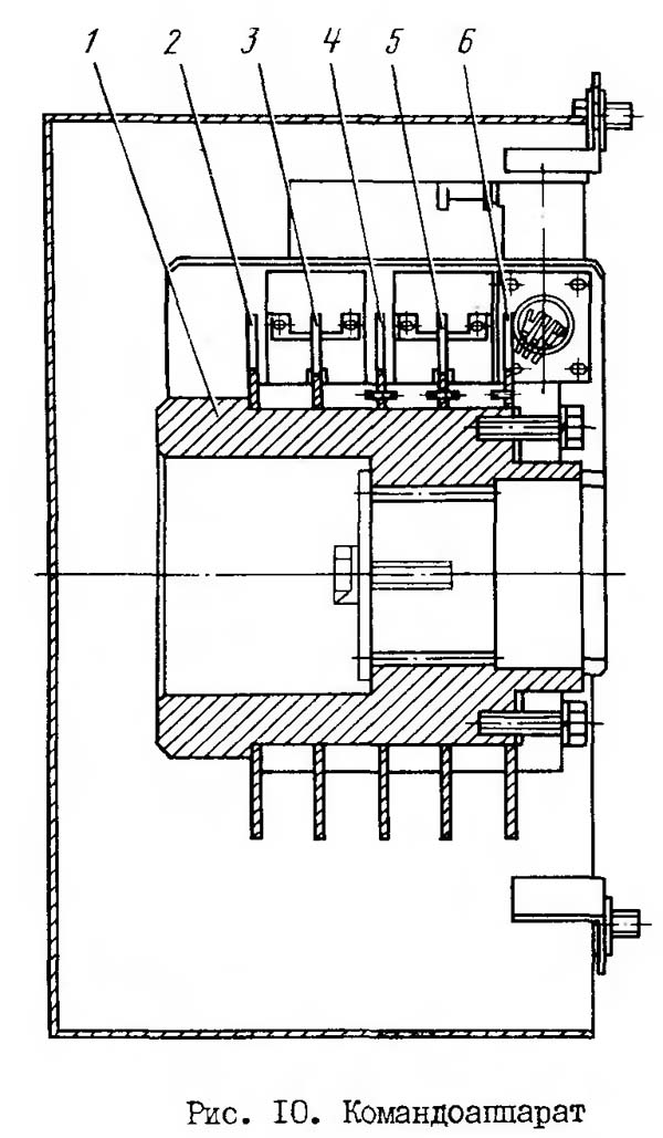
Командоаппарат

Командоаппарат однокривошипного пресса КД2326

Командоаппарат однокривошипного пресса КД2326

Регулируемый командоаппарат (система путевых бесконтактных выключателей, рис.10) предназначен для коммутации тока в електрических цепях керування однокривошипных открытых прессов простого дії усилием 250-630 кН. Он устанавливается на левый конец ексцентрикового вала.

Через втулку 1 осуществляется привід автоматических подач. Алюминиевые диски 4 і 6 управляют електромагнитными вентилями трехходового, сдвоенного, сблокированного клапана. Диск 5 предназначен для сопровождения ходу ползуна вниз при двуруком управлении (при отпускании кнопок двурукого керування ползун останавливается), для керування счетчиком числа ходов і блоком керування жидкой импульсной смазкой.

Диск 3 управляет схемой контроля тормозного пути; диск 2 служит для керування средствами механизации.

При изменении величины ходу ползуна на командоаппарате необходимо повернуть кронштейн бесконтактного конечного выключателя (БВК) на угол, соответствующий углу переміщення ексцентриковой втулки.

Возможна модификация командоаппарата з жестко закрепленным кронштейном з БВК. В етом случае при изменении ходу ползуна необходимо провернуть блок з Дисками, предварительно отпустив стяжные болты. При налаштуванні смещение дисков не допускается.





Пневматическая схема однокривошипного пресса КД2326

Пневматическая схема однокривошипного пресса КД2326

Пневматическая схема однокривошипного пресса КД2326

Пневматическая схема однокривошипного пресса КД2326. Дивитись у збільшеному масштабі



Трехходовой клапан, сдвоенный, сблокированный

Сдвоенные трехлинейные пневмораспределители з електрическим керуванням предназначены для керування пневмоприводами муфт і тормозов кузнечно-прессовых машин.


Електроустаткування однокривошипного пресса КД2326

Електроустаткування однокривошипного пресса КД2326. Загальні відомості

На арегате КД2326 применяется следующее електрообладнання:

Бесконтактный конечный выключатель SQ5 може быть использован для керування средствами околопрессовой механизации. К выходу БВК подключается нагрузка з сопротивлением не менее 220 Ом. Расцветка выводов БВК: "+•" красного цвета, "-" - белого или желтого, "Н" - синего или зеленого. Нагрузка подсоединяется между выводами "-" і "Н".

Для керування прессом применяется бесконтактный блок керування БУБ-1А. Система змазки управляется блоком БУС-3, встроенным в БУБ-1А.




КД2326 Пресс однокривошипный простого дії духстоечный открытый наклоняемый. Відеоролик.




Технічні характеристики пресса КД2326

Наименование параметра КД2126 КД2326 КД2128 КД2328
Основні параметри
Номинальное усилие пресса, кН (т) 400 400 630 630
Угол наклона станины, град нет 30° нет 30°
Наибольший ход ползуна (штока), мм 10..80 10..80 10..100 10..100
Частота ходов ползуна непрерывных, 1/мин 140 140 125 125
Частота ходов ползуна одиночных от кнопки, 1/мин 50 50 45 45
Розміри стола, мм 400 х 600 400 х 600 480 х 710 480 х 710
Розміри отверстия в столе, мм 200 х 300 200 х 300 240 х 360 240 х 360
Диаметр отверстия в столе, мм 250 250 300 300
Наибольшее расстояние между столом і ползуном в его нижнем положении - закрытая высота пресса, мм 280 280 340 340
Расстояние от оси штока до станины (вылет), мм 220 220 260 260
Величина регулировки расстояния между столом і ползуном, мм 65 65 80 80
Расстояние между стойками станины в свету, мм 280 280 340 340
Толщина подштамповой плиты, мм 80 80 85 85
Розміри нижней поверхности ползуна, мм 285 х 350 285 х 350 310 х 370 310 х 370
Диаметр отверстия в ползуне под хвостовик, мм 50Н8 50Н8 50Н8 50Н8
Глубина отверстия в ползуне под хвостовик, мм 70 70 75 75
Максимальный ход выталкивателя в ползуне, мм 35 35 50 50
Высота стола над уровнем пола, мм 835 900 840 900
Тип муфты тормоза УА3141 УА3144
Електроустаткування
Количество електродвигателей 1 1 1 1
Електродвигун головного привода, кВт 4,7 4,7 8,3 8,3
Габарити і масса пресса
Габарити пресса (длина ширина высота), мм 1305 х 1330 х 2600 1305 х 1880 х 2645 1500 х 1690 х 2890 1500 х 2010 х 2900
Масса пресса, кг 3170 3315 5540 5865

    Список литературы:

  1. Банкетов А.Н., Бочаров Ю.А., Добринский Н.С. і др. Кузнечно-прессовое обладнання, 1970
  2. Бочаров Ю.А., Прокофьев В, Н. Гідропривід кузнечно-прессовых машин, 1969
  3. Белов А.Ф., Розанов Б. В., Линц В. П. Объемная штамповка на гідравлических прессах, 1971
  4. Живов Л.И. Кузнечно-штамповочное обладнання, 2006
  5. Кузьминцев В.Н. Ковка на молотах і прессах, 1979
  6. Розанов Б.В. Гідравлические прессы, 1959
  7. Титов Ю.А. Обладнання кузнечно-прессовых цехов, 2001
  8. Щеглов В.Ф. Кузнечно-прессовые машины, 1989
  9. Берлет Разработка чертежей поковок, 2001
  10. Рудман Л.И. Справочник по оборудованию для листовой штамповки, 1989
  11. Романовский В.П. Справочник по холодной штамповке, 1965
  12. Охрименко Я.М. Технология кузнечно-штамповочного производства, 1966
  13. Кузьминцев В.Н. Ковка на молотах і прессах, 1979
  14. Мещерин В.Т. Листовая штамповка. Атлас схем, 1975