Виробник свердлувального магнітного верстата МС-51 - Вектор - спеціалізований виробник свердлильних верстатів на магнітній основі. Рік заснування підприємства: 1990
ЗАТ "Науково-виробниче об'єднання Вектор : Білорусь, м. Гродно, https://industry.by
Верстат свердлильний магнітний МС-51 на магнітній основі призначений для свердління, зенкування отворів в умовах, де застосування стаціонарного обладнання є неможливим.
Застосовується для ремонту великогабаритної техніки, верстатів та технологічного обладнання, у промисловості, у виробництві металевих конструкцій.
Верстат МС-51 застосовується в польових умовах при ремонті військової та спеціальної техніки, суднобудуванні, будівництві мостів та інших роботах.
Свердлильна машина МС-51 - останнє покоління універсальних свердлувальних машин на магнітній основі, яка здатна виробляти отвори діаметром до 51мм. Універсальність машини реалізована через оснастку для кріплення різального інструменту. Стандартне кріплення КМ2 (конус Морзе 2) дозволяє використовувати суцільні свердла з конічним хвостовиком діаметром до 23 мм. При цьому на даній машині можна застосовувати корончасті свердла зі швидкорізальної сталі (HSS) або з твердосплавними пластинами (ТСТ) через патрон Weldon 19мм, що збільшує діаметр свердлих отворів до 51мм. Широкий спектр оснастки може гнучко змінюватись під Ваші потреби. За допомогою державки та свердлильного патрона Ви легко закріпите у цьому верстаті звичайні свердла по металу для тонких отворів, а перехідник дозволить встановити зенкер до 51мм у діаметрі. При таких великих можливостях свердлильний верстат важить всього 16,5 кг.
Конструкція наших верстатів проста та надійна, але продумана до дрібниць. У компактному корпусі укладено привід на 1260 Вт, який у поєднанні з двоступінчастиним редуктором має достатню потужність і надійність для постійного промислового застосування на виробництві. Система подачі СОЖ (мастильно-охолоджувальної рідини) продовжує термін служби ріжучого інструменту — Ви значно економите свердлах, оскільки мінятимете їх у 2 рази рідше. Унікальна напівавтоматична система усунення люфту направляючих дозволяє просто, швидко і точно провести регулювання без спеціальних знань та навичок.
Для кріплення до заготівлі машина МС-51 використовує електромагнітну основу із силою тяжіння 12000 Н. У наших машинах застосовані останні розробки в технології виготовлення електромагнітів. Спеціальна електронна система контролю основи включає ряд функцій:
У статті прийнято такі скорочення:
Режим роботи – повторно-короткочасний (ПВ) 80% ГОСТ 183-74. 4 хвилини роботи, 1 хвилина перерви (4 хвилини/1 хвилина)
Вид кліматичного виконання - У 1* ГОСТ 15150.
Група механічного виконання – М 10 ГОСТ 17516.1.
Перешкодостійкість машин відповідає вимогам СТБ ЄН 55014-2.
Індустріальні радіоперешкоди відповідають вимогам СТБ ЄН 55014-1.
Закріплення машини за конкретним виконавцем відображається у розділі 7 цього РЕ.
Машина свердлильна МС-51 (Рис.1) є електричною свердлильною машиною з електромагнітним кріпленням до базової поверхні.
Основою конструкції машини є корпус. Для кріплення машини на базовій поверхні служить електромагнітна основа.
На корпусі змонтований привід машини, що переміщається направляючими супортами. Переміщення приводу здійснюється за допомогою обертання ручок керування подачею через механізм приводу подачі.
Редуктор має дві фіксовані передачі зі спеціально підібраними швидкостями обертання.
Вибір передачі здійснюється перемикачем, розташованому корпусі редуктора.
На корпусі машини змонтовано панель керування.
Вимикач електромагнітної основи МАГНІТ одночасно служить загальним вимикачем машини. Для керування двигуном служить вимикач МОТОР . Зовнішній вигляд панелі керування представлений Мал. 2
Зелена клавіша із символом I запускає двигун, а червона із символом Про служить для вимикання двигуна. Увімкнення живлення двигуна неможливе без попереднього включення електромагнітної основи.
Усередині корпусу, за панеллю керування, змонтовано електронний блок керування. Виконує такі функції:
Електронна система контролю напруги у разі аварійної ситуації відключає машину.
Електромагнітна основа забезпечує кріплення машини до базової поверхні із силою, що гарантує впевнену роботу обладнання та безпеку оператора при товщині базової поверхні понад 10 мм. Потрібно пам'ятати, що при товщині металу менше 10 мм фіксації кнопки Старт не відбувається.
Для роботи в цій ситуації потрібна ручна фіксація кнопки.
Такий тип кріплення робить можливим виконання отворів як у нормальному положенні, так і в нетипових позиціях, наприклад, при закріпленні машини до сталевої вертикальної стінки або сталевого перекриття. При цьому необхідно, з метою дотримання техніки безпеки, закріпити машину страхувальним ланцюгом, що входить до комплекту постачання.
Звільнити та очистити інструмент.
При роботі кільцевими фрезами слід прагнути виконання отвору за один прохід, без підйому інструменту. Це полегшує видалення висвердленого серцевини з кільцевого свердла.
При роботі спіральними свердлами, особливо в м'яких, в'язких матеріалах, необхідно зменшувати натиск на рукоятку подачі або навіть виводити свердло з отвору з метою так званої ламання стружки. З метою безпеки не слід допускати утворення довгих, спіральних стружок і тим більше намотування стружок на свердло.
* - за погодженням із Замовником
Машина та стандартний комплект знаходяться у ящику №1.
Спеціальний комплект знаходиться у ящику №2.
Свердлильний верстат на магнітній основі являє собою невеликий портативний пристрій, який може кріпитися до будь-яких металевих поверхонь.
Для нерівних або нестійких поверхонь, на яких магнітна плита не здатна забезпечити повноцінну фіксацію, передбачені спеціальні допоміжні адаптери - вакуумні та ланцюгові фіксатори.
Переваги переносних магнітних свердлильних верстатів перед стаціонарними:
Магнітні свердлильні верстати найбільш затребувані у сферах промисловості, будівництва, суднобудівної галузі, де необхідний монтаж сталевих конструкцій та трубопроводів із жорсткими умовами роботи. Такі верстати на магнітній основі без проблем можуть кріпитися до будь-яких поверхонь – горизонтальних, похилих або вертикальних, чому сприяє використання фіксуючих магнітів потужністю до 26 кН.
Залежно від функціонального призначення конкретного верстата на нього можуть встановлюватися або стандартні спіралеподібні свердла та корончасті фрези, за допомогою яких можуть створюватися отвори діаметром до 32 міліметрів, або посилені корончаті свердла або корончасті фрези, для свердління товстих поверхонь, або створення великих отворів5 міліметрів.
Свердлильна переносна машина на магнітній основі здатна виконувати такі операції:

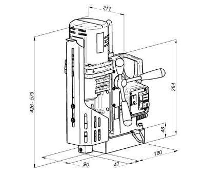
Габаритні розміри магнітного свердлувального верстата МС-51

Фото магнітного свердлильного верстата МС-51

Фото магнітного свердлильного верстата МС-51

Фото магнітного свердлильного верстата МС-51
Магнітний свердлильний верстат МС-51 є електричною свердлильною машиною з електромагнітним кріпленням до базової поверхні.
Основою конструкції верстата є корпус. Для кріплення верстата на базовій поверхні служить електромагнітна основа. На корпусі змонтований привід верстата, що переміщається направляючими супортами. Переміщення приводу здійснюється за допомогою обертання ручок керування подачею через механізм приводу подачі.
На корпусі верстата змонтовано панель керування. Вимикач електромагнітної основи МАГНІТ одночасно служить загальним вимикачем верстата. Для керування двигуном служить вимикач МОТОР.
Зелена клавіша із символом I запускає двигун, а червона із символом Про служить для вимикання двигуна. Увімкнення живлення двигуна неможливе без попереднього включення електромагнітної основи.
Усередині корпусу, за панеллю керування, змонтовано електронний блок керування. Виконує такі функції:
Электромагнитное основа обеспечивает крепление верстата к базовой поверхности з силой, гарантирующей уверенную работу оборудования і безопасность оператора при толщине базовой поверхности более 10 мм. Необходимо помнить, что при толщине метала менее 10 мм фиксации кнопки Старт не происходит. Для роботи в етой ситуации необходима ручная фиксация кнопки. Такой тип крепления делает возможным выполнение отверстий, как в нормальном положении, так и в нетипичных позициях, например, при закреплении верстата к стальной вертикальной стенке или стальному перекрытию. При етом необходимо, з целью соблюдения техники безопасности, закрепить машину страховочной ланцюгю, входящей в комплект поставки.
Машина должна подключаться к сети переменного тока напряжением 220В з защитным контуром (заземление) і имеющей в своём составе выключатель автоматический диференціальный (дифавтомат) типа АД… со следующими характеристиками:
В случае работ на открытых площадках електропитание верстата должно производиться от автотрансформатора з вышеуказанным варіантом подключения. Параметри питающей сети должны соответствовать техническим характеристикам верстата.
Машина предназначена для роботи в следующих условиях:
При експлуатации верстата в условиях пониженной температуры окружающей среды (от -10 ºС) перед началом роботи необходимо прогреть машину на холостом ходу в течение 5 минут.
После хранения или транспортирования верстата при низких температурах з післядующим вносом в помещение з более високою температурой для експлуатации, необходимо выдержать машину при данной температуре не менее 4-6 часов (в зависимости от величины разности температур) необходимых для удаления влаги (инея, росы).
При выполнении работ на немагнитных материалах і деталях, имеющих недостаточную площадь для установки магнитного основания верстата, использовать стальные пластины толщиной 10 мм, надёжно прикрепив их к обрабатываемым деталям.
Машина изготовлена согласно ТУ РБ 500043596.001-2004 і соответствует требованиям ГОСТ 12.2.013.0
| Наименование параметра | МС-36 | МС-51 |
|---|---|---|
| Основні параметри верстата | ||
| Наибольший диаметр сверления кольцевой фрезой в стали 45, мм | 40 | 51 |
| Наибольший диаметр зенкерования, мм | 40 | 50 |
| Наибольший глубина сверления, мм | 55 | 55 |
| Расстояние от оси шпинделя до основания (вылет), мм | 39 | |
| Найбільший діаметр свердління спіральним свердлом, мм | 13 | 23 |
| Найбільший діаметр свердління корончастиним свердлом, мм | 40 | 51 |
| Найбільший діаметр нарізування різьблення, мм | - | - |
| Шпиндель | ||
| Найбільший хід повзуна, мм | 70 | 79 |
| Число швидкостей обертання шпинделя | 1 | 2 |
| Частота обертання шпинделя, об/хв | 350 | 200/400 |
| Патрон | Weldon 19мм | Weldon 19/ КМ2, AMT2С-19/3-2 |
| Електроустаткування. Привід | ||
| Напруга мережі живлення, | ~220±10% 50±5% Гц | ~220±10% 50±5% Гц |
| Електродвигун приводу головного руху, Вт | 1000 | 1300 |
| Номінальна сила тяжіння електоромагніту, Н | 9500 | 12000 |
| Розміри електоромагнітної основи, мм | 80 х 160 | 90 х 180 |
| Довжина шнура, м | 3 | 3 |
| Клас ізоляції | я | я |
| Ступінь захисту оболонки (ГОСТ 14254) | IP20 | IP20 |
| Температурний режим роботи, град | -40 +45 | -40 +45 |
| Стендовий калібр | ||
| Довжина та ширина верстата, мм | 240 х 167 | 297 стор 206 |
| Висота верстата у верхньому положенні повзуна, мм | 376 | 460 |
| Висота верстата у складеному стані, мм | 306 | 381 |
| Маса верстата повна, кг | 10,5 | 16,5 |
МС-36 верстат вертикально - свердлильний: - паспорт, (pdf) 0,9 Мб, Завантажити