metalinstryment.com
Довідник по металорізальних верстатів та пресовому обладнанні

Н3121 Ножницы гильотинные для листового металла
Схеми, опис, характеристики

Н3121 Ножницы кривошипные листовые (гильотинные) з наклонным ножом для обробки листового металла



Прессы механические, прессы гідравлические, верстати поперечно-строгальные

Відомості про виробника гильотинных ножниц Н3121

Изготовителями ножниц Н3121 є Шимановский завод кузнечно-прессового оборудования і Львовский завод алмазного инструмента.

В настоящее время производит ПАО «Кувандыкский завод КПО «Долина» Оренбургская обл., г. Кувандык





Верстати, выпускаемые Шимановским заводом кузнечно-прессового оборудования


Н3121 Ножницы гильотинные для обробки листового металла. Назначение і область применения

Ножницы кривошипные гильотинные Н3121 выпускались по ГОСТ 6282-64 з 1968 года по 1983 год і были заменены более совершенной моделью НА3121.

Ножницы механические гильотинные Н3121 з наклонным ножом предназначены для резки листового металла з пределом прочности (временное сопротивление) σ BP = 500 МПа (50 кг/мм2). Поперечная резка листа толщиной до 12,5 мм і шириной до 2000 мм производится за один ход ножа. Продольная резка — при длине листа более 2000 мм — производится рядом повторных резов при продвижении листа вдоль линии реза.

Особливості конструкції гильотинных ножниц Н 3121

Станина гильотины сварная, из листовой стали. Две боковые стойки соединены столом і тремя стяжками. Стол, к которому крепится нижний нож, имеет регулировку для установки необходимого зазору.

Привід ножниц Н3121 осуществляется от електродвигуна через клиноременную передачу і двухступенчатый цилиндрический редуктор, конструкция закрытого цилиндрического редуктора обеспечивает значительное уменьшение шумовых характеристик ножниц. Ножевая балка гильотины получает возвратно-поступательное рух от коленчатого вала через шатуны. Уравновешена ножевая балка пружинным уравнавешивателем.

Усилие на ножевую балку от коленчатого вала передається двумя шатунами. Муфта увімкнення ножниц з двумя поворотными шпонками, тормоз ленточный, периодического дії. Периодичность торможения достигается за счет ексцентричного розположення шкива по отношению к оси коленчатого вала. Это торможение происходит тогда, когда ножевая балка находится в верхнем положении, чем устраняется її забегание под действием сил инерции.

Муфта увімкнення жесткая з двумя поворотными шпонками і електромагнитом. Конструкція муфты увімкнення головного приводу обеспечивает надежную работу листовых ножниц без воздуха, что значительно снижает експлуатационные расходы.

Разрезаемый материал прижимается к столу ножниц прижимной балкой, рух которой согласовано з движением ножевой балки.

Механические ножницы Н3121 снабжены задним упором. Для безопасной роботи на ножницах предусмотрена защитная решетка.

Гильотинные ножницы Н3121 могут работать на одиночных і автоматических ходух. Керування кнопкове з пульта керування і от ножной педали.

Конструкція соединения ножевой балки з шатунами передбачає возможность увеличения открытой высоты ножей на 20 мм, что необходимо для поздовжньої резки листа.

Прижим разрезаемого листа к столу осуществляется индивидуальными подпружиннеными штоками.

Резка може производиться как по разметке, так і з помощью заднего упора.

Ножницы могут быть использованы на складах і цехах различных предприятий, где требуется резка листовой стали.

При резке стали з пределом прочности больше или меньше 50 кг/мм 2 для расчета максимальной толщины реза необходимо пользоваться формулой, указанной в разделе «Регулювання ножниц». При етом твердость разрезаемого листа не должна превышать 35 единиц Роквелла по шкале «С».

Ножницы Н3121 изготовляются з основними параметрами по ГОСТ 6282—64


Основні параметри машины Н3121:


Загальний вигляд гильотинных ножниц Н3121

Н3121 Габарит робочого простору і креслення общего вида ножниц

Загальний вигляд гильотинных ножниц н3121


Н3121 Габарит робочого простору і креслення общего вида ножниц

Загальний вигляд гильотинных ножниц н3121. Вид сбоку


Посадочные і присоединительные базы ножниц Н3121

Н3121 Посадочные і присоединительные базы ножниц ножниц

Посадочные і присоединительные базы ножниц н3121


Фото гильотинных ножниц з наклонным ножом Н3121

Н-3121 фото гильотинных ножниц

Фото ножниц н3121


Розташування органів керування гильотинныи ножницами Н3121

Н3121 Розташування органів керування ножниц

Пульт керування ножницами н3121

Список органів керування на пульті керування ножницами Н3121

  1. Переключатель режима (ПP) "Одиночный ход" - "Автоматический ход"
  2. Переключатель режима (ПУ) "Управління педалью" - "Керування кнопками"
  3. Кнопка «Загальний стоп"
  4. Выключатель ланцюги керування
  5. Пуск двигуна
  6. Кнопка «Одиночный ход»
  7. Сигнальная арматура




Кінематична схема ножниц Н3121

Н3121 кинематика ножниц гильотинных

Кінематична схема ножниц н3121


Конструкція гильотинных ножниц Н3121

Ножницы состоят из станины, ножевой і прижимной балок, привода, валов приводных, муфты увімкнення, заднего упора, уравновешивателя, тормозов, ограждения, системы електроустаткування і змазки, решетки защитной.

Станина гильотинных ножниц Н3121

Станина является базовым узлом, на котором крепятся все остальные вузли ножниц. Станина представляет собой сварную конструкцию, состоящую из двух стоек, связанных между собой швеллерами.

На стойки опирается стол, к которому гвинтами крепятся нижние ножи.

Для регулировки зазору между ножами стола і ножевой балки стол перемещается болтами, ввернутыми в торцы станины при расслабленных болтах крепления стола. Установка ножа по высоте, при переточках, производится подшлифовкой прокладок, расположенных под ножами.

На столе имеются удлинители з Т-образными пазами.

На правом крае стола имеется зафиксированный штифтами удлинитель, в Т-образном пазу которого крепится упор поперечної резки. Для осуществления поздовжньої резки етот упор снимается.

Привід приводные валы гильотинных ножниц Н3121

Привід ножниц осуществляется от електродвигуна через клиноременную передачу на маховик, через зубчасті колеса і муфту увімкнення на коленчатый вал (см. рис. 3).

Електродвигун крепится к подмоторной плите, шарнирно укрепленной на станине. Регулювання натяжения ремня осуществляется гайками ушкового болта.


Муфта увімкнення гильотинных ножниц Н3121

Н3121 Муфта увімкнення ножниц гильотинных

Муфта увімкнення гильотинных ножниц н3121


На левом кінці коленчатого вала в ступице зубчатого колеса установлена шпоночная муфта увімкнення.

Втулки 1, 2, 3 нерухомо посажены в ступице зубчатого колеса. Остальные детали соединены з коленвалом. Поворотные (рабочая і запорная) шпонки муфты увімкнення включаются пружинами 6 и, поворачиваясь, захватываются полукруглыми пазами втулки 2.

Втулки 8 і 9, имеющие полукруглые пазы, дополняют гнезда для круглых концов шпонки. Правый конец рабочей шпонки снабжен легкоотъемным хвостовиком 4, который при работе ножниц отключает шпонки, соединенные между собой рычагами 5. При включении шпонок угол поворота их ограничивается пазом ведущей втулки 8.

Балка ножевая гильотинных ножниц Н3121

Ножевая балка представляет собой сварную конструкцию Г-образной формы, усиленную ребрами. К ножевой балке крепится задний упор.

Усилие от коленвала на нож передається двумя шатунами, в верхнем положении балка удерживается пружинами-уравновешивателями, шарнирно-соединенными з балкой, а при ремонтi фиксируется в верхнем положении двумя штырями Ø25, вставленными в отв. направляюших ножевой балки.

Прижим і решетка защитная гильотинных ножниц Н3121

Во время роботи ножниц разрезаемый лист прижимается к столу прижимной балкой. При движении ножевой балки вниз прижимная балка под действием пружин опускается і прижимает лист, причем вначале осуществляется прижим листа, а затем начинается рез. Это достигается за счет установки балки на высоту 24 мм, а ножевой — 26 мм от поверхности стола.

Подъем прижима осуществляется упорами ножевой балки, упирающимися в платики прижима.

Регулювання зусилля прижима осуществляется гайками, сжимающими пружину прижимной балки.

К направляющим прижимной балки прикреплена защитная решетка, предохраняющая руки робочого от попадания под прижим. При работе ножниц решетка опущена при етом: винт М8Х40 слева нажимает на шток микропереключателя, а винт справа ограничивает поворот решетки к прижиму.

В случае необходимости решетка може быть поднята вверх, при етом увімкнення ножниц невозможно — разомкнуты контакты переключения. В опущенном і поднятом положении решетка удерживается пружиной 2X16.

Упор задний ножниц Н3121

Задний упор устанавливается з тыльной стороны ножевой балки і служит упором для листа при поперечної резки. Задний упор состоит из двух цилиндрических резок, перемещаемых вручную маховичками, сидящими на валах шестерен, находящихся в зацеплении з рейками. Перемещая рейки, устанавливают упорную линию на необходимое расстояние от кромки ножа, чем достигается мерная резка листа з помощью заднего упора.

Уравновешиватель ножниц Н3121

Уравновешиватель служит для удержания ножевой балки в верхнем положении після каждого одиночного ходу — при ремонтi ножниц или смене ножей. Состоит из двух наборов пружин, установленных в стаканах, приваренных к верхнему швеллеру станины. Штоки шарнирно соединены осями з ножевой балкой. При опускании балки, во время реза, штоки сжимают пружины. При обратном ходе пружины, разжимаясь, способствуют поднятию, ножевой балки. Оба набора пружин рассчитаны на усилие 1,0 тонны при верхнем положении балки.

Тормоз ножниц Н3121

На правом кінці коленчатого вала насажен тормоз периодического дії. Периодичность торможения достигается за счет ексцентрического розположення шкива по отношению к оси коленвала.

Торможение происходит тогда, когда ножевая балка находится в верхнем положении, чем устраняется її забегание под действием сил инерции.

Электромагнитное керування ножниц Н3121

При нажатии на кнопку или педаль включается електромагнит, якорь которого поворачивает вилку з пальцем, освобождая зацепляющийся з ним хвостовик, связанный з рабочей шпонкой, После етого под действием пружин шпонки поворачивается і включается коленвал. Происходит рез. Если оператор не отпустит кнопку или педаль в режиме «Одиночный ход», срабатывает електрична блокировка (см. раздел електрообладнання).

Для повторения робочого ходу кнопку или педаль следует отпустить, затем снова нажать. При автоматичною работе якорь електромагнита устанавливается на ход 40 мм, а при работе на одиночных ходух — на 20 мм.

Ограждение ножниц Н3121

Ограждение ножниц выполнено из листовой стали толщиной 1,6 мм і служит для ограждения вращающихся деталей ножниц. Ограждение состоит из четырех кожухов, которые закрывают шкив мотора і маховик клиноременной передачи, шестерки приводных валов і тормоз ножниц.

Болтами М10 все кожуха прикреплены к станине.




Схема змазки ножниц Н3121

Схема змазки гильотинных ножниц Н3121

Схема змазки ножниц н3121

Основні трущиеся поверхности смазываются от ручной насосной станції через питатели. Через все установленные на ножницах индивидуальные масленки смазка производится при помощи ручного шприца. Шестерни приводу смазываются путем закладывания змазки соответственно на зубья шестерен.

В процессе роботи ножницы нужно смазывать так чтобы смазка поступала з боковых мест розположення підшибників. Выступающую из зазоров смазку нужно вытирать. Необходимо периодически проверять состояние масленок і маслопроводящих отверстий в деталях і обязательно их прочищать. Не реже одного раза в три месяца смазочные отверстия следует промывать чистым керосином.


Регулювання гильотинных ножниц Н3121

В процессе експлуатации ножниц регулировке і наладке могут подвергаться тормоз, муфта увімкнення, ножевая балка, прижим і зазор между ножами. Работу тормоза необходимо периодически контролировать, регулируя натяжение пружин і не допускать загрязнения шкива тормоза.

Зазоры направляючих ножевой балки і прижима необходимо регулярно проверять в соответствии з кормами точності.

Регулювання прижима сводится к тому, чтобы путем поджатия пружины разрезаемый лист во время реза надежно прижимался к столу.


Налаштування і режими роботи ножниц Н3121

Налаштування ножниц для резки полос заданной длины производится переміщенням заднего упора. Расстояние заднего упора от режущей кромки нижнего ножа, определяется по шкале линеек, укрепленных на рейках заднего упора.

Електросхема передбачає возможность роботи машины в режимах «Одиночный ход», «Автоматический ход». Резка листов максимальной толщины і ширины, указанных в технической характеристике ножниц, недопустима на автоматических ходух, так как мощность установленного електродвигуна рассчитана на использование 30% от числа ходов ножевой балки.


Регулювання зазору между ножами ножниц Н3121

При резке листов зазоры между ножами должны быть установлены в пределах 1/20 — 1/30 толщины разрезаемого листа.

Прямолинейность линии реза зависит от правильности регулировки зазору.

Регулювання зазору между ножами производится передвижением стола. Не допускается резка листов максимальной толщины і ширины из материала, з пределом прочности более 50 кг/мм2.

В случае резки листа, предел прочности (временное сопротивление) σ которого свыше 50 кг/мм2, максимально допустимая толщина его определяется по формуле:


δ Х = δ√ 50/σВР мм


где δ Х — максимально допустимая толщина листа из материала, предел прочности которого более 50 кг/мм 2.

δ — максимально допустимая для резки толщина листа, указанная в характеристике ножниц

σВР — предел прочности материала листа, который необходимо резать

Необходимо помнить, что точная і надежная робота ножниц зависит от качества заточки ножей. Нельзя допускать резки затупленными ножами.

При регулировке необходимо выдержать наступні зазоры: Толщина разрезаемого листа, мм — 1; 5÷3; 3÷6,3: 6,3÷12,5. Зазор между ножами, мм. — 0,15; 0,35; 0,5.

После установки зазору между ножами затянуть болты, крепящие стол к станине.

Ножи выполнены з четырьмя режущими кромками, при затуплении одной кромки ножи необходимо периодически переворачивать.


Особливості разборки і сборки ножниц Н3121

При снятии прижимной балки необходимо предварительно освободить штоки от дії пружин прижима, а затем отвинтить направляющие планки прижимной балки, поддерживая балку краном.

Перед снятием ножевой балки і шатунов следует зафиксировать балку в верхнем положении, вставив в отверстие в верхней частини направляючих балки фиксирующие штыри.





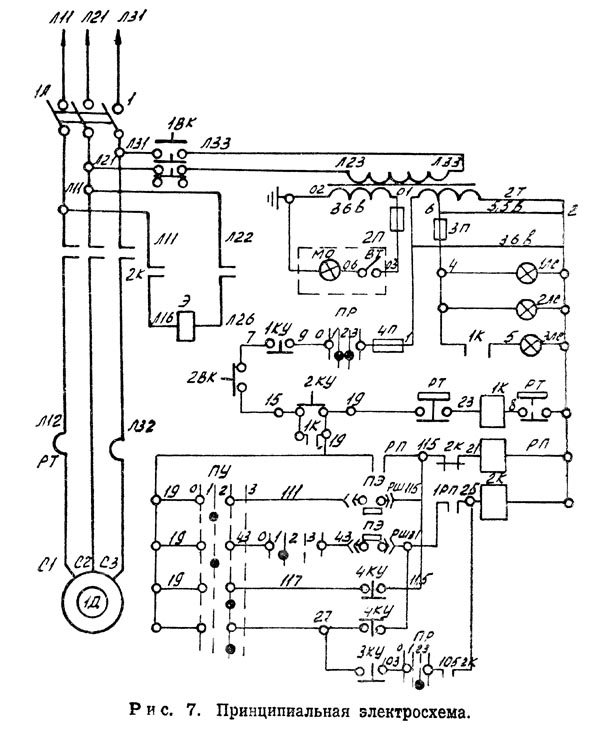
Схема електрична принципова гильотинных ножниц Н3121

Схема електрична принципова гильотинных ножниц Н3121

Електрична схема гильотинных ножниц н3121

Схема предназначена для керування машиной з жесткой муфтой для четкого увімкнення і отключения движущего ползуна з инструментом. Увімкнення муфты производится електромагнитом, который включается промежуточным реле.

Полное відключення схеми осуществляется вводным автоматическим выключателем.


Електроустаткування ножниц Н3121

Керування машиной осуществляется з пульта керування. на котором расположены кнопки керування і режимные переключатели

Сигнализация принята електрична световая, обозначение режимов і органів керування — символическое.

Допускается режим роботи:

Машиной можно управлять:

Електросхема включает в себя наступні ланцюги:

От силовой ланцюги получают питание:

Аппаратура керування і защиты (трансформатор, магнитные пускатели, автоматический выключатель) находятся в електрошкафу.

Керування работой ножниц ведется з пульта керування.


Опис дії електросхеми

Електросхема передбачає возможность роботи ножниц в режимах: «Одиночный ход»; «Автоматические ходы».

Выбор режима роботи осуществляется путем переналагодження ножниц (регулировкой тяги електромагнита) і установкой переключателей режимов роботи ПР і ПУ в нужное положение, расположенных в закрываемом на замок пульті керування. При переустановці переключателей ПР і ПУ електродвигатель необходимо отключать кнопкой 2КУ.


Режим одиночный ход

В етом режиме возможна робота кнопкой і педалью. Переключатель ПР ставится в положение «Одиночный ход». Механически регулируется тяга електромагнита.

а) Керування Кнопками

Переключатель ПУ устанавливается в положение «Кнопка». При нажатии на кнопку «Пуск привода» (2КУ) по ланцюги 1—9—7—15—19—23—3—2 включается магнитный пускатель 1К, который включает електродвигатель головного приводу (1Д).

Через нормально закрытые контакты кнопки 4КУ і магнитного пускателя 2К по ланцюги 19—17—115—21—2 получает питание реле 1РП, становится на самопитание і своим нормально открытым контактам (ланцюг 25—31) подготавливает к включению магнитный пускатель 2К, включающий електромагнит. При нажатии на кнопку 4КУ происходит увімкнення пускателя 2К, а следовательно електромагнита Э. Пускатель 2К, включаясь, разрывает своим нормально закрытым контактом ланцюг 21—115,

1 ПР выключается і отключает своим н. о. контактом ланцюг 25—31. Этим осуществляется відключення електромагнита Э., т. е. електрична блокировка от сдваивания ходов.

б) Керування педалью

Переключатель режимов ПУ устанавливается в положение «Керування педалью». При нажатии на кнопку «Пуск привода» (2КУ) включает електродвигатель головного приводу 1Д.

При нажатии на педаль происходит увімкнення магнитного пускателя 2К і електромагнита Э.

Електричнаблокировка от сдваивания ходов осуществляется также как і при управлении кнопками.


Режим Автоматичкие ходу

Механически регулируется тяга електромагнита для автоматических ходов. Переключатель режимов роботи ПР устанавливается в положение «Автоматические ходу», а переключатель ПУ в положение «Кнопки».

При нажатии на 4КУ магнитный пускатель 2К срабатывает і отключает електромагнит. Пускатель 2К своим н. о. контактами 25—105 становится на самопитание, происходят автоматические ходу до тех пор, пока не будет нажата кнопка 3КУ.





Блокировка і сигналізація

Блокировка, обеспечивающая полное снятие напряжения со всей апаратури при открывании дверки електрошафи, достигается путем виключення автоматичного выключателя 1А.

Блокировка, обеспечивающая вимкнення ланцюги керування, достигается конечным выключателем 1ВК, находящимся в електрошкафу, который отключает ланцюг керування при открывании дверки.

Блокировка, исключающая возможность получения ходов, когда поднята защитная решетка, осуществляется конечником 2ВК.

Блокировка, исключающая увімкнення муфты при работе на «Одиночных і автоматических ходух» без увімкнення головного привода, достигается контактом 1К (ланцюг 15—19).

Електросхема передбачає сигнализацию о наличии напряжения в схеме керування. При подаче напряжения зажигается на пульті керування лампа белого цвета 1ЛС.

При включении двигуна головного приводу на пульті керування зажигается лампа 2 ЛС зеленого цвета (двигатель включен).


Захист

Захист електроустаткування ножниц от токов короткого замыкания осуществляется автоматическим выключателем 1А і предохранителями 2П, 3П, 4П.

Тепловая защита двигуна головного приводу осуществляется тепловым реле РТ, встроенным в магнитные пускатели 1К.

Нулевая защита електросхеми обеспечивается магнитными пускателями 1К, 2К.


Техника безопасности

Електроустаткування ножниц должно быть надежно заземлено -в соответствии з действующими «Правилами пристроя електроустановок» путем присоединения станины ножниц і електрошафи к цеховому заземленному контуру.

Перед началом роботи осмотреть ножницы, проверить заземление.

В целях повышения техники безопасности обслуживающего персонала в електросхеме передбачаєся закрытие на замок:

При длительных перерывах в работе на ножницах или після окончания смены выключается вводной автоматический выключатель.

Первое увімкнення автоматичного выключателя производить кратковременно з післядующим осмотром і проверкой правильности показания световых сигналов.

На пульті керування имеется грибовидная кнопка красного цвета «Загальний стоп» (1КУ) для полного отключения схеми.

Категорически запрещается работать на ножницах при неисправных блокировках.

Установку выключателей ПУ і ПР производит наладчик.

Доступ в електрошкаф разрешается только електротехническому персоналу, закрепленному за данной машиной.


Креслення ножа гильотинных ножниц Н3121-11-402

Нож гильотинных ножниц Н3121

Креслення ножа гильотинных ножниц Н3121-11-402

Нож для гильотинных ножниц 25 х 60 х 625

  1. Ножи должны изготавливаться из стали марок 5ХВ2С, 6ХВ2С і 6ХС по ГОСТ 5950—73
  2. Твердость ножей — HRC 54 ... 58
  3. Допуск плоскостности поверхности Б — не более 0,1 мм на длине 100 мм
  4. Поле допуска размеров s а В комплекта ножей — по h11
  5. Допускаемая разность размеров ножей комплекта в месте стыка не более 0,03 мм
  6. H14; h14; ±IT14/2
  7. На ноже должна быть нанесена следующая маркировка: товарный знак предприятия-изготовителя, обозначение ножа, клеймо ОТК, шифр (номер) комплекта (для складових ножей).
  8. Остальные технические требования для комплекта ножей Н3121-11-402 по ГОСТ 25306-82 Ножи плоские к листовым ножницам. Основні і присоединительные розміри. Технічні требования



Н3121 Ножницы кривошипные листовые гильотинные з наклонным ножом. Відеоролик.




Технічні характеристики гильотинных ножниц Н3121

Наименование параметра Н3121 НА3121
Основні параметри ножниц
Класс точності 2 2
Наибольшая толщина разрезаемого листа при σ BP, не более - 500 МПа (50 кг/мм2), мм 12,5 12,0
Наибольшая длина разрезаемых листов в мм, мм 2000 2000
Число ходов ножа в минуту не менее 40 46
Угол наклона подвижного ножа в градусах 2°10' 2°10'
Ширина отрезаемого листа по заднему упору, мм 500 1000
Число режущих кромок ножа 4 4
Расстояние между стойками в свету, мм 2285 2235
Максимальное усилие реза, кН (кгс) 500 (5000) 500 (5000)
Ремни тип-«Б» ГОСТ 1284-67, длина, мм 3550
Підшипники ГОСТ-633-59, обозначение 7616
Усилие прижима, кН (т) 29 (2,9) 29 (2,9)
Режимов роботи 2 2
Тип тормоза ленточный ленточный
Тип муфты с поворотной шпонкой с поворотной шпонкой
Електроустаткування
Електродвигун, кВт (об/мин) 18,5 () 17 ()
Габарит і масса ножниц
Габарит ножниц (длина х ширина х высота), мм 1950 х 38075 х 2875 1950 х 3360 х 2135
Масса ножниц, кг 7000 7000

    Список литературы:

  1. Банкетов А.Н., Бочаров Ю.А., Добринский Н.С. і др. Кузнечно-прессовое обладнання, 1970
  2. Бочаров Ю.А., Прокофьев В, Н. Гідропривід кузнечно-прессовых машин, 1969
  3. Белов А.Ф., Розанов Б. В., Линц В. П. Объемная штамповка на гідравлических прессах, 1971
  4. Живов Л.И. Кузнечно-штамповочное обладнання, 2006
  5. Кузьминцев В.Н. Ковка на молотах і прессах, 1979
  6. Розанов Б.В. Гідравлические прессы, 1959
  7. Титов Ю.А. Обладнання кузнечно-прессовых цехов, 2001
  8. Щеглов В.Ф. Кузнечно-прессовые машины, 1989
  9. Берлет Разработка чертежей поковок, 2001
  10. Рудман Л.И. Справочник по оборудованию для листовой штамповки, 1989
  11. Романовский В.П. Справочник по холодной штамповке, 1965
  12. Охрименко Я.М. Технология кузнечно-штамповочного производства, 1966
  13. Кузьминцев В.Н. Ковка на молотах і прессах, 1979
  14. Мещерин В.Т. Листовая штамповка. Атлас схем, 1975