metalinstryment.com
Довідник по металорізальних верстатів та пресовому обладнанні

Н3222 Ножницы гильотинные з наклонным ножом для листового металла
Схеми, опис, характеристики

Н3222 Ножницы кривошипные листовые (гильотинные) з наклонным ножом для обробки листового металла



Прессы механические, прессы гідравлические, верстати поперечно-строгальные

Відомості про виробника гильотинных ножниц Н3222

Изготовителем ножниц Н3222 является Чимкентский завод пресс-автоматов им. Калинина, Чимкентское ПО по выпуску КПО ЧПОКПО (г. Шымкент), Казахстан.

В настоящее время производит ПАО «Кувандыкский завод КПО «Долина» Оренбургская обл., г. Кувандык





Верстати, выпускаемые Чимкентским ПО по выпуску КПО, ЧПОКПО


Н3222 ножницы гильотинные кривошипные для обробки листового металла. Назначение і область применения

Гильотинные ножницы Н3222 соответствуют ТУ-041-988-75. Разработчик — Чимкентское ПО по выпуску КПО.

Машина Н3222 предназначена для прямолинейной резки листового і полосового материала, возможна резка неметаллических листовых материалов. Ножницы могут быть использованы в заготовительных цехах машиностроительных предприятий. Ножницы аттестованы по первой категории качества. Выпускаются в общепромышленном і експортном виконанні.

Принцип роботи і особливості конструкції верстата

Станина жесткой конструкції, состоит из двух стальных стоек, стянутых вверху ресивером, а внизу траверсой. На траверсу і выступы стоек опирается стол, к которому з помощью Т-образных пазов крепятся три комплекта ножей. Специальный упор исключает продольное смещение ножей при резке.

Привід от електродвигуна через клиноременную передачу на маховик, далее через червячный редуктор на коленчатый вал. Маховик смонтирован на валу червячного редуктора.

Муфта пневматическая фрикционная дискова, смонтирована на червячном валу. На другом кінці вала установлен пневматический дисковый тормоз.

Ножевая балка сварной конструкції предназначена для крепления комплекта ножей к торцу балки з помощью Т-образных пазов. Ножевая балка перемещается по направляющим станины.

Прижимная балка сварной конструкції предназначена для прижима листа во время реза. Прижим осуществляется штоками гідравлических цилиндров.

Для обеспечения точності реза предусмотрены пневматические уравновешиватели.

Механізм регулировки заднего упора представляет собой балку, закрепленную на двух рычагах і расположенную параллельно линии реза. Привід механізма — от индивидуального електродвигуна через червячный редуктор.

Електросхема обеспечивает работу ножниц на одиночных, непрерывных і толчковых ходух.

Керування ножницами — кнопкове і педальное.

Смазка ножниц — комбинированная.

Основны параметри машины для резки листового металла Н3222:






Загальний вигляд гильотинных ножниц Н3222

н-3222 Складні частини гильотинных ножниц

Фото гильотинных ножниц Н3222


н-3222 Складні частини гильотинных ножниц

Фото гильотинных ножниц Н3222


Розташування складових частин гильотинных ножниц Н3222

н-3222 Складні частини гильотинных ножниц

Розташування складових частин ножниц Н3222


Список складових частин гильотинных ножниц Н3222

  1. Станина Н3222-11-001
  2. Редуктор Н3222-32-001
  3. Балка ножевая Н3222-31-001
  4. Балка прижимная H3222-32-001
  5. Механізм регулировки заднего упора H3222-33-001
  6. Уравновешиватели Н3222-34-001
  7. Механізм показаний положения заднего упора Н3222-36-001
  8. Пневмосистема Н3222-41-001
  9. Ограждение приводу Н3222-71-001
  10. Ограждение зоны реза H3222-72-001
  11. Система змазки H3222-81-001
  12. Насос гідравлический H3222-82-001
  13. Електроустаткування H3222-90-001
  14. Осветитель H3222-94-001
  15. фундамент

Розташування органів керування гильотинными ножницами Н3222

Н3222 Розташування органів керування ножниц

Розташування органів керування гильотинными ножницами Н3222


Список органів керування гильотинными ножницами Н3222

  1. Вводной автомат електроживлення
  2. Кран подачі сжатого воздуха
  3. Хвостовики регулировки зазору между ножами
  4. Вал регулировки ползуна по высоте
  5. Педаль електрична для увімкнення ходов
  6. Кнопка "Загальний стоп"
  7. Пристрій регулировки останова ползуна в верхнем положении
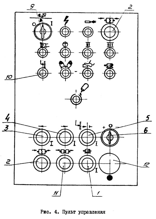
  8. Пульт керування (см. рис. 4)




Пульт керування гильотинными ножницами Н3222

Пульт керування гильотинными ножницами Н3222

Пульт керування гильотинными ножницами Н3222


Список органів керування на пульті ножниц Н3222

  1. Кнопка пуск головного двигуна
  2. Кнопки двурукового увімкнення ходу ползуна
  3. Переключатель швидкостей переміщення заднего упора
  4. Кнопка увімкнення переміщення упора "к ножам"
  5. Кнопка толчкового подвода упора "к ножам"
  6. Кнопка увімкнення переміщення упора "от ножей"
  7. Выключатель подсвета линии реза і местного освещения
  8. Сигнальные лампы налаштування ножниц
  9. Кнопка виключення ходов ползуна
  10. Загальний стоп
  11. Переключатель режимов роботи "Одиночный ход", "Толчок", "Непрерывные ходы"




Кінематична схема гильотинных ножниц Н3222

Н3222 кинематика ножниц гильотинных

Кінематична схема гильотинных ножниц Н3222

Кінематична схема гильотинных ножниц Н3222. Дивитись у збільшеному масштабі



Опис конструкції основних вузлів гильотинных ножниц Н3222


Станина (рис. 6)

Станина машины Н3222 состоят из двух стальных стоек 1, связанных вверху ресивером 2 і внизу - траверсой 3. На траверсу і выступы стоек опирается стол 4, к которому специальными гвинтами 5 крепится комплект ножей 6 в количестве трех штук. Ножи опирается на специальные прокладки для предотобертання выработки в детали стола. Прокладки заменяются для компенсации уменьшения размера ножей от переточок. Продольное смещение ножей при резне исключается специальным упором.

На поверхности стола выполнены Т- образные пазы для крепления специальных упорных пристосувань і пазы для удобства переміщення разрезаемого листа. Для замеров обрезаемого листа, поверхность стола оснащается линейками 7 і 8 з ценой деления 1 мм.

Слева в справа у кромок стола расположены клино-винтовые пристроя 9 для регулировки зазору между ножами при резке материала различной толщины.

Для крупногабаритных листов на передньої кромке стола устанавливаются дополнительные кронштейны 10 з роликам 11 для облегчения переміщення листа. Для той же цели на поверхности стола смонтированы шариковые опори 12. Для крепления всех вузлів на станине имеются соответствующие платики і крепежные отверстия.


Привід і червячный редуктор гильотинных ножниц Н3222 (рис. 7)

Редуктор червячный гильотинных ножниц Н3222

Червячный редуктор гильотинных ножниц н3222

Редуктор червячный гильотинных ножниц Н3222. Дивитись у збільшеному масштабі



Привід і червячный редуктор для обертання коленчатого вала ножниц расположен в литом корпусе, закрепленном на правой стойке станины. Коленчатый вал при помощи шпонок скреплен з червячным колесом 1 редуктора.

С колесом 1 зацепляется вал-червяк 2, смонтированный в корпусе на підшипниках, воспринимающих осевые і радиальные нагрузки вала 2.

На правом кінці вала на підшипниках, смонтирован маховик 3 з фрикционной муфтой, ведомый диск 4 которой з фрикционными колодками соединен шлицами з валом 2. Муфта включается сжатым воздухом через воздухоподводящую головку 5. Воздух перемещает поршень 6, вращающийся з маховиком 3, і смыкает трущиеся поверхности дисков 7, вращающихся з маховиком, і диска 4. Вращение маховика воспринимается клиновыми репняки от електродвигуна 8, закрепленного на плате, которая регулируется по вертикали з помощью винтов 10, після ослабления крепящих болтов 11, для необходимого натяжения ремней.

На левом кінці вала 2 смонтирован тормоз для остановки в нужном положении коленчатого вала і удержания подвижных частин. Торможение производится пружинами 12, смыкающие трущиеся поверхности связанных з корпусом дисков 13 і диска з фрикционными колодками 14, соединенного длинами з валом 2. Растормаживание производится сжатым воздухом через поршень 15, который отводит подвижный диск 13, преодолевая действие пружины 12 і освобождая диск 14.

Для подачі електрических сигналов на відключення і увімкнення муфты і тормоза на крышке редуктора смонтированы бесконтактные датчики 16 і 17, действующие от подвижных дисков 18 з вырезами, связанных з коленчатым валом.

Для установки счетчика числа ходов дополнительно устанавливается датчик 19. Для регистрации уровня змазки в редукторе имеется маслоуказатель 20. Пульт керування 21 крепится к корпусу для удобства пользования.


Ножевая балка гильотинных ножниц Н3222 (рис. 8)

Ножевая балка гильотинных ножниц Н3222

Ножевая балка гильотинных ножниц н3222

Ножевая балка гильотинных ножниц Н3222. Дивитись у збільшеному масштабі



Представляет собой сварную жесткую конструкцию ползуна 1 з коленчатым валом 2, шатуном 3 я пристрійм 4 для регулировки ползуна по высоте.

К нижней кромке ползуна специальными гвинтами крепится комплект ножей 5 в количестве трех штук, одинаковых з неподвижными ножами на станине. Для предотобертання выработки в детали ползуна - от усилий різання ножи опираются на прокладки 6. Прокладки заменяются для компенсации размера ножей при переточках. Продольное смещение ножей при резке исключается специальным упором.

Коленчатый вал 2, смонтированный в подлинниках ковзання 7 і 8, заключенных в буксы, закрепленные на стойках станины, связан з ползуном 1 шатунами 3, в которых заключены підшипники ковзання 9, охватывающие ексцентрики коленчатого вала, і підшипники 10, охватывающие ексцентрики 11 пристроя регулировки ползуна по высоте.

Эксцентрики 11 посредством корпусов прочно соединяются з ползуном 1 і зубчатыми передачами соединены з регулировочным валиком 4. Стопорение ексцентриков от поворота производится зубчатыми фиксаторами 12.

Для присоединения уравновновешивателей в кронштейнах ползуна 1 имеется отверстия з підшипниками ковзання 13.

Коленчатый вал имеет дополнительные опори 14, в виде полупідшибників ковзання на кронштейнах станины, что уменьшает изгиб вала от усилий різання.

Для відведення заднего упора от листа на ползуне закреплен кронштейн 15 з направляющими для ролика упора. Направление руху ножевой балки относительно вертикали неподвижных ножей составляет 3°, позволяет применять ножи со взаимно-перпендикулярными плоскостям заточки.

Для облегчения смены і переустановки ножей на нижней кромке ползуна предусмотрены резьбовые отверстия для крепления специальной планки, поддерживающей снимаемые ножи. Планка изготавливается силами предприятия-потребителя в случае необходимости.





Прижимная балка гильотинных ножниц Н3222 (рис. 9)

Прижимная балка гильотинных ножниц Н3222

Прижимная балка гильотинных ножниц н3222

Прижимная балка гильотинных ножниц Н3222. Дивитись у збільшеному масштабі



Прижимная балка представляет собой стальную траверсу 1, закрепленную на передних выступах стоек станины і имеющую специальные пазы для закрепления передних концов кронштейнов станины з дополнительными опорами коленчатого вала. В нижней частини траверсы, имеющей наклонный продольный паз, закреплены 12 гідравлических прижимов, которые удерживают от смещения разрезаемый лист. Каждый прижим состоят из сборного поршня 2 з нажимным штоком 3, уплотняющегося резиновыми манжетами 4 і резиновыми кольцами 5, возвратной пружины 6, заключенных в корпусе 7 со сменной втулкой 8 і соединяется з продольным каналом отверстиями, уплотняемыми резиновыми кольцами 9.

Масло под давлением подводится к каналу присоединением 10, уплотняемым резиновым кольцом 11. Сзади крепится екран 12, образующий луч освещения линии реза. Слева крепится корпус з краном 16 і манометром 14 для замера давления і краном 15 з клапаном 13 для выпуска воздуха из гідросистемы. Уплотнение кранов осуществляется резиновыми кольцами 17. Для регулировки зазоров в направляючих ползуна случат 8 резьбовых втулок 19 з упорными сферическими вставками 20, которыми достигается перемещение направляючих клиньєв 21. Зажим отрегулированных клиньєв достигается шпильками 22 і гайками 23 і 24.


Механізм регулировки заднего упора (pис. 10)

Предстявляет собой балку 1, закрепленную на двух рычагах 2, шарнирно соединенных з двумя ползунами 3, в расположенную параллельно линии реза. Ползуны 3 могут двигаться "от ножей" і "к ножам" з помощью винтов 4, которые вращаясь, перемещают гайки 5 повзунів движущихся по круглым направляющим 6. Одна из гаек каждого ползуна имеет резьбовую регулировку для избежания, осьового зазору в резьбе. Винты 4 з помощью конических шестерен 7 зацепляются з поперечний сборным валиком 8, приводящимся во вращение редуктором 9. Кулачковая муфта 10 валика позволяет отрегулировать положение повзунів на гвинтах, обеспечивающие параллельность упорной балки з линией реза. Ведущий вал редуктора приводится через предохранительную муфту 11 от трехскоростного електродвигуна который в момент виключення тормозится противовключением з помощью реле контроля скорости 12. Упорная балка связана з ползуном ножниц подвеской, имеющей ролики 13 і пружину 14, обеспечивающую прижим балки з рычагами і роликами 15, к направляющим линейками 16, закрепленными на стойках. Кулачки 17 служат для подъема упорной балки в крайнем заднем положении, что обеспечивает проход разрезаемого листа под балкой. Конечный выключатель 18 ограничивает перемещение балки "от ножей". Путевой переключатель 19 запрещает увімкнення реза до нажима выключателя 18, что исключает поломку упора в положении ходу, обеспечивающего подъем балки. Конечный выключатель 20 ограничивает перемещение балки "к ножам" в положении упора около нижнего ножа. Подвод упора к ножу производится толчками з малой скоростью.

В корпусе 21 имеется пара конических шестерен для передача руху механізму показания положения заднего упора.


Уравновешиватели (рис. 11)

Служат для облегчения роботи приводу ножевой балки за счет її уравновешивания. Представляют собой два пневматических цилиндра, усилие которых преодолевает вес ножевой балки і обеспечивает постоянное її прилегание к направляющим станины для большей точності резки. Подъемные полости цилиндров постоянно соединены з ресивером, наполненным сжатым воздухом под определенным давлением. В цилиндрах I располагаются поршни 2 з полыми штоками, в которых на подвесках 3 шарнирно закреплены тяги 4 на осях 5 через втулки підшибників ковзання 6. Нижние вилки тяг шарнирно соединены з кронштейнами ножевой бачки з помощью осей 7. Поршни і штоки цилиндров уплотняются манжетами 8 і 9. Подвод жидкой змазки к поршням совершается периодически через масленки 10.


Механізм показаний положения заднего упора (рис. 12)

Между корпусом червячного редуктора к станиной вмонтирован счетчик, цифрами которого отмечается расстояние до упорной балки от лиши реза. Рух передається счетчику шестерней I смонтированной на валике счетчика, который закреплен на корпусе 3. Шестерне 1 вращательное рух передається шестерней 2, которая закреплена на сборном валике 4. Валик 4 получает рух от гвинта упора через конические шестерни 5 і 6. Хвостовики сборного валика смонтированы на шарикопідшипниках в корпусах, укрепленных на стойке станины.


Осветитель (рис. 17)

Представляет собой щит 3, укрепленный на прижимной балке ножниц. На прижимной балке укреплены на кронштейнах лампы люминесцентные для освещения зоны реза, з пускорегулирующим пристрійм 2 і светильником 4 для освещения поверхности стола.


Пневматическая схема гильотинных ножниц Н3222 (рис. 13)

Пневматическая схема гильотинных ножниц Н3222

Пневматическая схема гильотинных ножниц н3222

Пневматическая схема гильотинных ножниц Н3222. Дивитись у збільшеному масштабі



Через вентиль 1 сжатый воздух пневмосети подводится к пневмосистеме машины, осушается влагоотделителем 2. Давление в муфте і тормозе регистрируется манометром 4.

Регулятором давления 6 настраивается давление в муфте і тормозе. Дроссель з обратным клапаном 9 обеспечивает задержку подачі воздуха в муфту на увімкнення і быстрый выброс воздуха при отключении через воздухоподводящую головку, что создает очередность і западает от излишнего износа в случае одновременного увімкнення муфты і тормоза. Подача воздуха к муфте і тормозу совершается сдвоенным воздухораспределителем 10, имеющим преимущества в исключении повторных ходов ножевой балки в случае отказа одной из двух клапанных групп. Полость ресивера з і тормозом защищена реле давления 11, которое в случае падения давленая воздуха в етой полости дает сигнал о запрещении роботи. Для остановки маховика при выключенном електродвигателе используется тормоз 14 з керуванням трехходового клапана 13. Обратный клапан 12 снижает влияние на работу ножниц резких колебаний давления в сети сжатого воздуха. В таблице 5 указан перечень покупного пневмооборудования к системе. Нижня поверхность полости ресивера снабжена пробкой для периодического выпуска осадка из воздуха.





Гідравлічна схема гильотинных ножниц Н3222. Насос гідравлический (рис. 15,16)

Гідравлічна схема гильотинных ножниц Н3222

Гідравлічна схема гильотинных ножниц н3222

Гідравлічна схема гильотинных ножниц Н3222. Дивитись у збільшеному масштабі



В сборном корпусе, содержащем цилиндр 1 і бак 2, располагается поршневая группа, включающая поршень 3 і поршень 4, приводимая в действие кулачком 5, закрепленном на коленчатом валу, 1ерез ролик 6 і сухарь 7, смонтированные на качающемся рычаге 8. Возврат поршней достигается пружиной 9.

Полость большего поршня 3 защищена двумя напорными золотниками 10, управлявший давлением от магистрали поршня 4. Полость поршня 4 защищена предохранительным клапаном II з регулировкой пружины 12. Всасывание масла поршнями обеспечивается, возвратом прижимов і обратным клапаном 13.

Обратный клапан 14 позволяет подвести прижимы к разрезаемому листу з помощью обоих поршней. Контроль давления в полостях поршней 3 і 4 достигается соответственно нанометрами 15 і 16, подключенными через дроссели 17 і краны 18 для виключення манометров після измерения.

Работа гідросистемы поясняется схемой гідравлической (рис. 16). Поворот кулачка 5 з коленвалом машины через ролик 6 і сухарь 7 вызывает перемещение поршней 3 і 4, которые совместно направляют масло в магистраль прижимов 19. Напорные золотники 10 заперты до тех пор, пока прижимы не коснутся листа. Затем давление в магистрали прижимов быстро нарастает і вызывает открытие золотників 10 і сообщение полости поршня 3 з баком.

Клапан 14 закрывается і давление поддерживается только поршнем 4. Избыток масла под давлением открывается -предохранительный клапан II і сливается в бак. После разрезки листа кулачок 5 отпускает поршни і давление падает.

Под поршень 4 поступает масло, подаваемое прижимами от возвратных пружин і под поршень 3 поступает масло из бака через обратный клапан 13. Отверстия "а", расположенные на поршне 4, открываются, когда все масло прижимов поступило в полость поршня 4 і далее полость заполняется через обратный клапан 13.

Заполнение маслом гідросистемы производится на холостых ходух ножниц при открытом кране 20. При етом ведется наблюдение за вытеканием масла из магистрали прижимов в бак. При вытекании масла без воздуха і пены в течение 5-10 ходов ползуна ножницы останавливают, кран 20 закрывают. Гідросистема заполнена.


Електроустаткування гильотинных ножниц Н3222. Загальні відомості

На ножницах Н3222 установлено следующее основне електрообладнання:

Электроаппаратура защиты і керування работой ножниц в различных режимах смонтирована на станине ножниц і в отдельно стоящем блоке керування БУБ-2.

Органы керування (кнопки, переключатели), арматура световой сигнализации і счетчик числа ходов смонтированы в блоке керування і пульті керування, установленном на внешней стороне редуктора ножниц.

Електрична схема передбачає работу ножниц в следующих режимах:

Подключение і відключення електроустаткування ножниц к сети производится вводным автоматическим выключателем. Аварийное відключення ножниц осуществляется кнопками "Аварийный стоп", которые находятся на пульті керування, і выносном кнопочном посту, установленном на другой стороне стола.

В електросхеме ножниц используются напряжения:

Креслення ножа для гильотинных ножниц Н3222-11-401

Н3222 Креслення ножа для ножниц гильотинных

Креслення ножа для гильотинных ножниц Н3222-11-401


Нож для гильотинных ножниц 35 х 140 х 1080 мм (5 отв. Ø18, 6 шт), (Н3222, НБ3222, НБ478А)

  1. HRC 54...58
  2. Допускается изготовление ножей из стали марок 5ХВ2С і 6ХС по ГОСТ 5950-73
  3. Поле допуска по толщине і ширине комплекта ножей по hll
  4. Допускаемая разность размеров ножей комплекта в месте стыка не более 0,03 мм



НА3222 Ножницы кривошипные листовые гильотинные з наклонным ножом. Відеоролик.




Технічні характеристики гильотинных ножниц Н3222

Наименование параметра Н3222
Основні параметри ножниц
Наибольшая толщина разрезаемого листа при σ BP 50 кг/мм 2, мм 16
Наибольшая ширина разрезаемых листов в мм, мм 3200
Максимальное усилие реза, кН 1000
Число ходов ножа в минуту не менее 30
Ход верхнего ножа, мм 150
Угол наклона подвижного ножа в градусах 2°10'
Длина отрезаемого листа по заднему упору, мм 0..750
Длина отрезаемого листа по переднему упору, мм 1500
Число режущих кромок ножа
Расстояние от нерухомого ножа (линии реза) до стоек станины (вылет), мм 500
Расстояние между стойками в свету, мм
Высота стола над уровнем пола, мм 800
Регулювання верхнего ножа по высоте, мм 25
Пределы регулировки между зазору между подвижным і нерухомим ножами, мм 0..0,5
Усилие прижима гідравлічного прижимного пристроя, кН 240
Режимов роботи 3
Тип тормоза Пневмо -пружинный
Тип муфты Пневматическая
Електроустаткування
Количество електродвигателей 2
Електродвигун, кВт (об/мин) 27 (1400)
Електродвигун приводу заднего упора, кВт (об/мин) 0,75 (940)/ 0,9 (1440)
Общая мощность електродвигателей, кВт
Габарит і масса ножниц
Габарит ножниц (длнна х ширина х высота), мм 4750 х 3380 х 2460
Масса ножниц, кг 25650

    Список литературы:

  1. Банкетов А.Н., Бочаров Ю.А., Добринский Н.С. і др. Кузнечно-прессовое обладнання, 1970
  2. Бочаров Ю.А., Прокофьев В, Н. Гідропривід кузнечно-прессовых машин, 1969
  3. Белов А.Ф., Розанов Б. В., Линц В. П. Объемная штамповка на гідравлических прессах, 1971
  4. Живов Л.И. Кузнечно-штамповочное обладнання, 2006
  5. Кузьминцев В.Н. Ковка на молотах і прессах, 1979
  6. Розанов Б.В. Гідравлические прессы, 1959
  7. Титов Ю.А. Обладнання кузнечно-прессовых цехов, 2001
  8. Щеглов В.Ф. Кузнечно-прессовые машины, 1989
  9. Берлет Разработка чертежей поковок, 2001
  10. Рудман Л.И. Справочник по оборудованию для листовой штамповки, 1989
  11. Романовский В.П. Справочник по холодной штамповке, 1965
  12. Охрименко Я.М. Технология кузнечно-штамповочного производства, 1966
  13. Кузьминцев В.Н. Ковка на молотах і прессах, 1979
  14. Мещерин В.Т. Листовая штамповка. Атлас схем, 1975