metalinstryment.com
Довідник по металорізальних верстатів та пресовому обладнанні

НД3318Г Ножницы гильотинные з наклонным ножом для листового металла
Схеми, опис, характеристики

НД3318Г Ножницы кривошипные листовые (гильотинные) з наклонным ножом для обробки листового металла



Прессы механические, прессы гідравлические, верстати поперечно-строгальные

Відомості про виробника гильотинных ножниц НД3318Г

Изготовителем ножниц НД3318Г является Стрыйский завод кузнечно-прессового оборудования г. Стрый, Украина.

В настоящее время производит ПАО «Кувандыкский завод КПО «Долина» Оренбургская обл., г. Кувандык





Верстати, выпускаемые Стрыйским заводом КПО


НД3318Г ножницы гильотинные кривошипные для обробки листового металла. Назначение і область применения

Ножницы гильотинные НД3318Г разработаны в 1977 году і серийно выпускались з 1979 года. Разработчик Азовский ПО КПО, Донпрессмаш г. Азов.

Кривошипные листовые ножницы (гильотинные) з наклонным ножом НД3318Г предназначены для холодной резки листового материала з пределом прочности σBP ≤ 500 МПа (50 кгс/мм2) і з наибольшими размерами поперечного сечения 6,3 х 2000 мм

Возможна резка неметаллических листовых материалов, исключающих быстрое затупление режущих кромок ножей і растрескивание вырезаемой заготовки.

Ножницы НД3318Г находят широкое применение в заготовительных цехах предприятий машиностроения, автотракторостроения, авиастроения, судостроения, сельхозмашиностроения і других отраслях промышленности.


Отличие гильотинных ножниц серий НД, НК, Н

Стрыйский завод КПО выпускает ножницы листовые кривошипные з наклонным ножом (гильотина), з пневмо-муфтой серии ”НД” , “НК” і “Н” і на протяжении 30-ти лет і експортирует свою продукцию в 52 страны мира.

В серии ножниц “НК”, “Н” установка необходимой величины зазору между ножами выставляется автоматически, в зависимости от толщины разрезаемого листового материала, что позволяет резать металл различной толщины без переналагодження. Ножницы данной серии оснащены механизированным задним упором, предназначенным для установки разрезаемого листового материала в заданный размер. Длина отрезаемой заготовки устанавливается по счетчику, установленному на лицевой частини ножниц через привід механизированного заднего упора.

В серии ножниц “НД” регулировка зазору между ножами осуществляется вручную путем переміщення стола ножниц, согласно диаграммы, в зависимости от толщины разрезаемого листа. Длина отрезаемой заготовки устанавливается маховичком заднего упора, по линейке расположенной на направляючих рейках механізма заднего упора.

Ножницы моделі НК3418Р оснащены ручным задним упором, аналогичным ножницам серии ”НД”.





Основны параметри машины для резки листового металла НД3318Г:

Електросхема обеспечивает работу ножниц в режимах:

  1. Одиночный ход
  2. Непрерывные (автоматические) ходы
  3. Наладочный режим - толчковый ход

Станина ножниц цельносварная, что увеличивает жесткость конструкції і снижает трудоемкость изготовления. Она состоит из двух стоек, стола і стяжки. В стойках выполнены расточки, в которых установлен на підшипниках качения кривошипный вал з шатунами.

Привід ножниц от електродвигуна, закрепленного на поворотной плите, через клиноременную передачу на приводной вал редуктора і далее на кривошипный вал.

Редуктор выполнен в виде агрегатного вузла і состоит из двух ступеней зубчатой передачи.

Муфта-тормоз пневматическая, фрикционная, многодискова, смонтирована на входном кінці вала редуктора.

Механізм реза состоит из прижимной і ножевой балок. Прижимная балка качающейся (консольной) конструкції: в її прямолинейных направляючих движется ножевая балка. Прижимная і ножевая балки связаны между собой рычажной системой, которая соединена з приводом ножниц. В верхней частя прижимной балки установлены винтовые упоры, служащие для возврата її в верхнее положение.

Ножевая балка снабжена пневматическими уравновешивателями, смонтированными в кронштейнах, закрепленных на станине.

Механізм заднего упора закреплен на ножевой балке і состоит из двух ходовых винтов, по которым перемещаются ползушки, з закрепленной (шарнирно) упорной планкой.

Для резки тонкого листа на ножницах предусмотрен поддерживатель.

Для защиты рук оператора в зоне реза служит защитная решетка, сблокированная з пусковым пристрійм ножниц.

Режим роботи:

  1. автоматический
  2. наладочный
  3. одиночные ходы
  4. ручной проворот

Керування кнопкове или педальное.

Система змазки централизованная і позволяет експлуатацию в условиях низких температур.





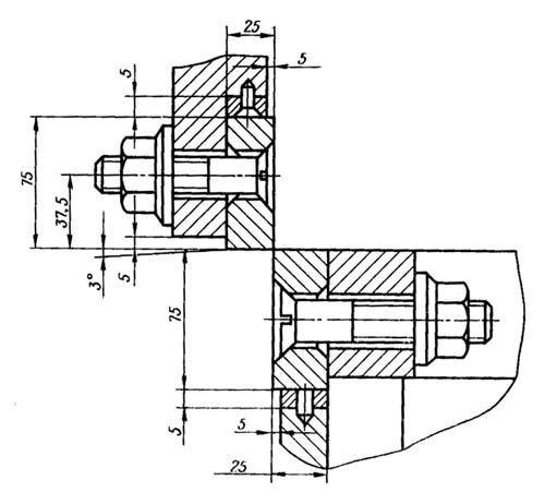
Крепление инструмента гильотинных ножниц НД3318Г

НД-3318г Крепление инструмента гильотинных ножниц НД3318Г

Крепление инструмента гильотинных ножниц НД3318Г


НД-3318г Крепление инструмента гильотинных ножниц НД3318Г

Крепление инструмента гильотинных ножниц НД3318Г


Загальний вигляд гильотинных ножниц НД3318Г

НД-3318г Складні частини гильотинных ножниц

Фото гильотинных ножниц НД3318Г


НД-3318г Складні частини гильотинных ножниц

Фото гильотинных ножниц НД3318Г


НД-3318г Складні частини гильотинных ножниц

Фото гильотинных ножниц НД3318Г


Розташування складових частин гильотинных ножниц НД3318Г

НД-3318г Складні частини гильотинных ножниц

Розташування складових частин ножниц НД3318Г

Розташування складових частин гильотинных ножниц НД3318Г. Дивитись у збільшеному масштабі



Специфікація складових частин ножниц НД3314г, НД3316г, НД3318г

Наименование параметра НД3314г НД3316г НД3318г
1 Пульт керування НД3314г-93-001 НД3316г-93-001 НД3318г-93-001
2 Упор боковой НД3314г-35-001 НД3316г-35-001 НД3318г-35-001
3 Освещение линии реза НД3314г-76-001 НД3316г-76-001 НД3318г-76-001
4 Ограждение станины НД3314г-71-091 НД3316г-71-001 НД3318г-71-001
5 Защитная решетка НД3314г-75-001 НД3316г-75-001 НД3318г-75-001
6 Привод НД3314г-21-001 НД3316г-21-001 НД3318г-21-001
7 Ограждение ножевой балки НД3314г-72-001 НД3316г-72-001 НД3318г-72-001
8 Приводной вал НД3314г-24-001 НД3316г-24-001 НД3318г-24-001
8 Редуктор червячный з муфтой-тормозом НД3314г-22-001 НД3316г-22-001 НД3318г-22-001
9 Ограждение привода НД3314г-73-001 НД3316г-73-001 НД3318г-73-001
10 Упор задний НД3314г-34-001 НД3316г-34-001 НД3318г-34-001
11 Станина НД3314г-11-001 НД3316г-11-001 НД3318г-11-001
12 Уравновешиватель НД3314г-33-001 НД3316г-33-001 НД3318г-33-001
13 Пристрій для удержания ножевой балки НД3314г-77-001 НД3316г-77-001 НД3318г-77-001
14 Балка ножевая НД3314г-31-001 НД3316г-31-001 НД3318г-31-001
15 Балка прижимная НД3314г-32-001 НД3316г-32-001 НД3318г-32-001
16 Електроустаткування НД3314г-91-001 НД3316г-91-001 НД3318г-91-001
17 Пневмообладнання НД3314г-43-001 НД3316г-43-001 НД3318г-43-001
18 Указатель положения ножевой балки НД3314г-77-001 НД3316г-77-001 НД3318г-77-001
19 Смазка НД3314г-81-001 НД3316г-81-001 НД3318г-81-001
20 Установка БВК НД3314г-41-001 НД3316г-41-001 НД3318г-41-001
21 Ограждение БВК НД3314г-74-001 НД3316г-74-001 НД3318г-74-001

Розташування органів керування гильотинными ножницами НД-3316г

НД3318Г Розташування органів керування гильотинными ножницами

Розташування органів керування гильотинными ножницами НД3318Г

Розташування органів керування гильотинными ножницами НД3318Г. Дивитись у збільшеному масштабі



Список органів керування гильотинными ножницами НД-3316г

  1. Переключатель керування
  2. Переключатель режимов роботи
  3. Педаль електрична керування ножницами
  4. Болт регулировки стола
  5. Маховичок переміщення заднего упора
  6. Вводной выключатель
  7. Кнопка „Загальний стоп"
  8. Кнопка „Пуск" муфты
  9. Кнопка „Пуск" електродвигуна
  10. Выключатель освещения линии реза
  11. Кнопка „Стоп непрерывных ходов"




Кінематична схема гильотинных ножниц НД3318Г

НД3318Г кинематика ножниц гильотинных

Кінематична схема гильотинных ножниц НД3318Г

Кінематична схема гильотинных ножниц НД3318Г. Дивитись у збільшеному масштабі



Кінематична схема кривошипных листовых ножниц з наклонным ножом показана на рис. 9, 10.

В ножницах НД3314Г і НД3318Г (см. рис. 9) рух передається от електродвигуна 7 через клиноременную передачу 6 на маховик 5, соединенный муфтой-тормозом 11 з приводным валом II. От приводного вала II через пару цилиндрических косозубых колес 3, 4 вращение передається на ексцентриковый вал I, который соединен з ножевой балкой 1 шатунами 2.

В ножницах НД3318Г (см. рис. 10) привід ножниц осуществляется от електродвигуна 3 через клиноременную передачу 5 на маховик 7, соединенный муфтой-тормозом 6 з валом червяка через червячную пару 4, 8. Червячное колесо 8 соединено з ексцентриковым валом I.

Эксцентриковый вал I соединен з ножевой балкой шатунами 2.

Перемещение заднего упора осуществляется з помощью маховика 10 через шестерни 8, соединенные валом III і перемещающиеся по рейкам 9 (ножницы НД3314Г і НД3316Г), через шестерни 11, соединенные валом III і перемещающиеся по рейкам 9 (ножницы НД3318Г).

Перемещение стола для регулировки зазору между ножами осуществляется при помощи двух болтов.


Станина

Станина (рис. 11, 12) является базовой сборочной единицей, на которой крепятся все остальные сборочные единицы ножниц. Станина имеет сборно-сварную конструкцию і сострит из двух стоек 1 і 19, которые соединены между собой траверсой 2 і стяжкой 7.

На стойки і траверсу опирается стол 4, к которому при помощи винтов крепятся нижние ножи 12. Затягивание гаек на гвинтах, крепящих ножи, производится через окна в столе.

Регулювання зазору между ножами ножевой балки і станины осуществляется путем переміщення стола 4 з помощью болтов 17. і гаек 18, расположенных з обеих сторон стола. Болты 14 перед регулюванням зазору необходимо отпустить, а після окончания - затянуть.

Направляющие 5 стоек вместе з прикрепленными к ним накладками 6 наклонены к плоскости стола под углом 87°.

Установка ножа по высоте при переточке і замене ножей производится подгонкой планки 13.

В столе имеются паз для крепления бокового упора і пазы для пальцев рук оператора, облегчающие манипуляции з листом.

В сборочную единицу „Станина" входит также ексцентриковый вал 3 з насаженными на нем ексцентриками 16 і шатунами 15. С помощью осей 11 шатуны соединяются з ножевой балкой.

На внутренних сторонах стоек 1 і 19 на осях 8 установлены рычаги 9, соединенные з одной стороны серьгами 10 з ножевой балкой, з другой стороны — з уравновешивателями.


Привід ножниц

Привід ножниц (рис. 13, 14) осуществляется от електродвигуна 2, установленного на качающейся плите 1, через клиноременную передачу 3 на маховик 4.

Маховик ножниц НД3314Г, НД3316Г установлен на промежуточном валу з внутренней стороны правой стойки, маховик ножниц НД3318Г — на червячном валу редуктора, установленного на правой стойке ножниц.

Маховик з помощью пальцев связан з ведущими дисками муфты-тормоза.


Приводной вал і червячный редуктор з муфтой-тормозом гильотинных ножниц НД3318Г

Приводной вал і червячный редуктор з муфтой-тормозом гильотинных ножниц НД3318Г

Приводной вал і червячный редуктор з муфтой-тормозом ножниц НД3318Г

Приводной вал і червячный редуктор з муфтой-тормозом гильотинных ножниц НД3316г. Дивитись у збільшеному масштабі



Муфта-тормоз (рис. 15) состоит из нормализованной сборочной единицы: муфты-тормоза моделі УВ3132, воздухоподводящей головки 19 (см. рис. 15, 16) і маховика 8, опорами которого є радиальные шарикопідшипники 9, насаженные на втулку 7, которая, в свою очередь, устанавливается на приводной вал 6 ножниц НД3314Г, НД3316Г і непосредственно на вал-червяк 6 ножниц НД3318Г.

Жестко сблокированная многодискова фрикционная муфта-тормоз з пневматическим включением состоит из следующих частин: ведущей, ведомой і тормозной.

К ведущей частини относятся ведущие диски 13 муфты з фрикционными накладками 14.

В ведомую часть входят ступица 20 з нерухомо присоединенным поршнем 18 цилиндра 17, перемещающегося вдоль оси опорных дисков 11 муфты і тормоза, установленных на резьбе ступицы 20 і поршня 18; нажимной диск 16 тормоза, жестко установленный на цилиндре промежуточного диска 12 муфты.

Тормозная часть состоит из тормозного диска 15 з фрикционными накладками.

Работа муфты-тормоза происходит следующим образом: сжатый воздух через воздухоподводящую головку 19 поступает в пневмокамеру 21, перемещает цилиндр 17 вдоль оси ексцентрикового вала в сторону муфты і зажимает ведущие диски 13 муфты, связанные з Постоянно вращающимися маховиком 8 через пальцы 10, обеспечивая передачу крутящего момента через ступицу 20 на приводной вал 6 (см. рис. 16) ножниц НД3314Г, НД3316Г і на вал червяка 6 ножниц НД3318Г (см. рис. 15).

Приводной вал ножниц НД3314Г і НД3316Г смонтирован на конических роликовых підшипниках в ступице правой стойки станины. На одном кінці вала смонтирован маховик 8, на другом кінці — шестерня (цельная з валом на ножницах НД3316Г, съемная на ножницах НД3314Г), от которой вращение передається зубчатому колесу, смонтированному на ексцентриковом валу.

Червячный вал ножниц НД3318Г соединен з червячным колесом, состоящим из зубчатого венца 5 і ступицы 4, соединенных болтами 1. Червячное колесо через шлицевую втулку 3 соединено з ексцентриковым валом 2 ножниц.


Ножевая балка. Прижимная балка гильотинных ножниц НД3318Г

Ножевая балка. Прижимная балка гильотинных ножниц НД3318Г

Приводной вал і червячный редуктор з муфтой-тормозом ножниц НД3318Г

Ножевая балка. Прижимная балка гильотинных ножниц НД3318Г. Дивитись у збільшеному масштабі


Ножевая балка

Ножевая балка (рис. 17) представляет собой жесткую конструкцию сварного типа, состоящую из вертикального 8, горизонтального 5 і наклонного 6 листов. С проушиной 7, приваренной к листу 8, соединяется шатун станины, благодаря чему балка совершает возвратно-поступательные руху. Рух балки происходит в направляючих под углом 3° к вертикальной плоскости. На ножевой балке в нижней частини имеется паз, в котором крепятся ножи 2 і 4 (только для ножниц НД3314Г)..

В ножевой балке имеются два выступа 1 і 3, з помощью которых при возврате в верхнее исходное положение ножевая балка приподнимает прижимную балку (см. рис. 18).


Прижимная балка

В ножницах НД3314Г, НД3316Г і НД3318Г применяется унифицированная прижимная балка (рис. 18).

Прижим листа осуществляется балкой 7 з выступами. Балка 7 скользит в пазах, образованных направляющими 3, 19 і планками 2 і 20. Ножевая балка скользит в пазах, образованных накладками 4, 5, 6, 13, 18 і планкой 17.

Крепление направляючих 3 і 19 к станине осуществляется через проставки 8 і 14.

Зазор в направляючих ножевой балки регулируется подгонкой компенсационных прокладок 1 і 16.

Боковий зазор в направляючих ножевой балки регулируется переміщенням планки 17 гвинтами 15.

Прижимная балка 7 взаимодействует з ножевой балкой. Высота прижимной балки над столом в верхнем положении регулируется гвинтами 11, которые упираются в выступы 12 ножевой балки.

При совершении робочого ходу одновременно опускаются ножевая і прижимная балки. Прижим листа осуществляется за счет силы сжатых пружин 10 і собственного веса балки 7. Сила сжатия пружин регулируется гвинтами 9.


Уравновешиватели

На внутренних сторонах обеих стоек станины установлены уравновешиватели (рис. 19). Штоки 1 уравновешивателей з помощью осей 4 связаны з рычагами станины (см. рис. 11, 12). При ходе ножевой балки вниз шток 1 поднимается вверх і снимает пружину 2, которая опирается на кронштейн 3 станины.

Пружина смонтирована з предварительным сжатием, благодаря чему даже в случае разладки тормоза ножевая балка удерживается в верхнем положении.

Кроме того, за счет постоянного направленного зусилля пружин все зазоры в сочленениях подвижных частин ланцюги ексцентриковый вал — шатун — ножевая балка — уравновешиватели выбираются в одну сторону, что обеспечивает плавную работу ножниц. Действие уравновешивателей на ножевую балку направлено под углом 15° к вертикали, вследствие чего ножевая балка постоянно прижата к направляющим станины, чем обеспечивается постоянство зазору между ножами.


Задний упор

В ножницах НД3314Г, НД3316Г і НД3318Г применяется ручной задний упор (рис. 20).

Установка упорной линейки 8 на заданный размер от нижнего ножа, то есть на ширину отрезаемой полосы, осуществляется вращением маховика 1. При етом шестерни 3, насаженные на общем валу з маховиком 1, перемещаются вместе з корпусами 4 по рейкам 5, которые закреплены нерухомо в ножевой балке.

Выверка линейки 8 на параллельность нижнему ножу осуществляется вращением ексцентриков 7, которые після регулировки необходимо зафиксировать гайкой. Винтом 2 регулируется высота поднятия упора і зазор между ним і верхним ножом.

Для отсчета величины переміщення заднего упора на рейке закреплена линейка 9.

При работе без упора, в случае, когда ширина отрезаемых листов более 600 мм, линейка 8 з рычагами 6 приподнимается і укладывается на горизонтальное ребро ножевой балки.


Боковий упор

В ножницах НД3314Г, НД3316Г і НД3318Г применяется боковой упор (рис. 21), предназначенный для определения начала реза і для получения прямоугольных заготовок. Упор состоит из корпуса 1 і закаленных планок 2.


Бесконтактный конечный выключатель

На левом кінці ексцентрикового вала закреплены два алюминиевых диска 2 і 3 (рис. 22), которые входят в пазы путевых бесконтактных выключателей 1 і предназначены для керування електромагнитными вентилями, трехходового сдвоенного сблокированного клапана.


Освещение линии реза

Освещение линии реза (рис.27) позволяет вести работу по разметке. В отверстиях ножевой балки над верхним ножом установлены лампочки накаливания 1. Путем горизонтального переміщення патронов 2 осуществляется совмещение нитей лампочек з плоскостью ножей. В результате етого на разрезаемый лист отбрасывается резко очерченная теневая лінія, з которой оператор і совмещает разметочные риски на листе при резке.


Пристрій для удержания ножевой балки

Пристрій (рис.28) служит для удержания ножевой балки в верхнем положении при выполнении ремонтных і наладочных работ.

Оно состоит из планки 1 і болтов 2, устанавливаемых з двух сторон ножевой балки. В планку упирается микропереключатель 3, включенный в ланцюг головного привода. При повороте планок микропереключатель отключается і електрична ланцюг размыкается. Ножницы выключаются (или не могут быть включены). Для закрепления ножевой балки в верхнем положении необходимо отпустить болты 2 на станине, вывернуть их і повернуть планку 1 на 90°, після чего надежно закрепить болты 2 на станине і ножевой балке.


Указатель положения ножевой балки

Указатель (рис. 29) служит для указания положения ножевой балки. Он состоит из указателя 1, прикрепленного к ножевой балке гвинтами 2, і шкалы 3, закрепленной на ограждении ножевой балки.


Схема пневматическая принципова гильотинных ножниц НД3318Г

Схема пневматическая принципова гильотинных ножниц НД3318Г

Пневматическая схема гильотинных ножниц НД3318Г


Воздухопровод

Воздухопровод (рис. 23, 24) состоит из пневматического блока 1, стяжки-ресивера 2, маслораспылителя 3 і трехходового сдвоенного сблокированного клапана 4, соединенных лініями связи з муфтой-тормозом.

Трехходовой сдвоенный сблокированный клапан (рис. 25) представляет собой сдвоенный клапан з сервокеруванням от електропневматических включающих вентилей типа ВВ-32. Виконання клапана нормально-закрытое, т.е. при обесточенных катушках електромагнита включающих вентилей переход через клапан закрыт. Для увімкнення клапана подается напряжение на обмотки катушек магнитов включающих вентилей ВВ-32, при етом клапан вентиля соединяет полость 1, постоянно соединенную з ресивером ножниц, з полостью IV. Сжатый воздух, подводимый к включающим вентилям, проходит через фильтр 9. Под давлением сжатого воздуха поршни 6 поднимаются вверх, сжимая пружины 4, предварительно уменьшая (живое) сечение, перекрывают выхлопные отверстия. Одновременно в кінці ходу штока 7 поднимаются клапаны 2, Сжимая пружины 1. Полости I і II соединяются. Полость III отключается, соединяя пневмосеть от ресивера з пневмоцилиндром муфты-тормоза, происходит увімкнення дисков муфты.

После снятия напряжений з обмоток катушек електромагнитов (відключення муфты) вентили ВВ-32 перекрывают доступ сжатого воздуха в полость IV, одновременно соединяя її з атмосферой. При етом давление в полости IV падает і поршни 6 возвращаются в исходное положение под действием пружин 4, соединяя полость II з атмосферой. Сжатый воздух, выходя из полости, проходит через глушители 8. В ето время пружины 1 возвращают в исходное положение клапаны 2, перекрывая доступ сжатого воздуха из ресивера в муфту-тормоз і клапан (муфта-тормоз отключается). Если при включении клапана один из поршней (клапанов) не включится, сжатый воздух из полости II будет поступать в атмосферу через щель между кольцом 5 і втулкой 3 — увімкнення муфты-тормоза не произойдет. Одновременно коромысло станет з перекосом і нажмет на микропереключатель, который отключит електрическую ланцюг керування прессом. Если во время роботи на одиночных ходух один из клапанов електропневматического керування не выключится (не соединится з атмосферой), то управляемый им поршень останется в верхнем положении, при етом верхний клапан будет открыт, а нижний — закрыт. Сжатый воздух, пропускаемый верхним клапаном, будет поступать через открытый нижний клапан другого поршня в атмосферу. При етом коромысло также перекосится і отключит електрическую ланцюг керування.





Схема електрична принципова гильотинных ножниц НД3318Г

Схема електрична принципова гильотинных ножниц НД3318Г

Електрична схема гильотинных ножниц НД3318Г

Схема електрична гильотинных ножниц НД3318Г. Дивитись у збільшеному масштабі



Електроустаткування гильотинных ножниц НД3318Г. Загальні відомості

На ножницах установлены один трехфазный асинхронный електродвигатель з повышенным скольжением, електропневматические вентили, воздухораспределитель типа У7122А на 24 В постоянного тока і бесконтактные конечные выключатели типа БВК261-24 на 24 В постоянного тока.

Для керування ножницами применяется ящик керування Я9101.

Применение бесконтактной схеми керування муфтой в сочетании з дублированием таких елементів, как електропневматические вентили і бесконтактные конечные выключатели, обеспечивает высокую надежность роботи і безопасность обслуживания.

Керування работой ножниц осуществляется з пульта керування і панелі переключателей ящика Я9101. На пульті установлены кнопки керування головним приводом, муфтой, выключатель ланцюги освещения линии реза, кнопка „Загальний стоп" і сигнальные лампы.

На ножницах применяются наступні величины напряжений переменного і постоянного тока:

От силовой ланцюги питается електродвигатель головного привода. Ланцюги керування і сигнализации питаются от вторичных обмоток трансформатора Тр1 (он входит в ящик Я9101). Аппаратура керування і защиты установлена в запираемом ящике керування Я9101.

Креслення ножа для гильотинных ножниц НД3318Г

НД3318Г Креслення ножа для ножниц гильотинных

Креслення ножа для гильотинных ножниц НД3318Г


Нож для гильотинных ножниц 16 х 60 х 540

  1. HRC 54...58
  2. Допускается изготовление ножей из стали марок 5ХВ2С і 6ХС по ГОСТ 5950-73
  3. Поле допуска по толщине і ширине комплекта ножей по hll
  4. Допускаемая разность размеров ножей комплекта в месте стыка не более 0,03 мм



НД3318Г Ножницы кривошипные листовые гильотинные з наклонным ножом для обробки листового металла. Відеоролик.




Технічні характеристики гильотинных ножниц НД3318Г

Наименование параметра НД3314г НД3316г НД3318г
Основні параметри ножниц
Наибольшая толщина разрезаемого листа при σ BP 50 кг/мм 2, мм 2,5 4,0 6,3
Наибольшая длина разрезаемых листов в мм, мм 1600 2000 2000
Число холостых ходов ножа в минуту не менее 65 65 60
Число ходов ножа прирезке материала наиболших размеров, мин-1 34 33 25
Угол наклона подвижного ножа в градусах 52 65 74
Ход ножа, мм 1°20' 1°19' 1°30'
Ширина отрезаемого листа по заднему упору, мм 630 630 630
Число режущих кромок ножа 4 4 4
Розміри стола, мм 400 х 1870 495 х 2350 495 х 2350
Расстояние между стойками в свету, мм 1815 2270 2270
Высота стола над уровнем пола, мм 850 940 900
Максимальное усилие реза, кН
Усилие прижима, кН 240 930 630
Режимов роботи 4 4 4
Тип муфты-тормоза УВ3132 УВ3132 УВ3132
Електроустаткування
Количество електродвигателей 1 1 1
Електродвигун, кВт (об/мин) 3,2 (1390) 5,6 (1390) 8,5 (1390)
Електродвигун приводу заднего упора, кВт нет нет нет
Ящщик керування Я9101-30-73-УХЛ4 Я9101-32-73-УХЛ4 Я9101-34-73-УХЛ4
Габарит і масса ножниц
Габарит ножниц (длнна х ширина х высота), мм 2300 х 1535 х 1320 2850 х 1635 х 1600 3125 х 1520 х 1550
Масса ножниц, кг 2040 3250 4320