Фрезерний настільний верстат моделі АЛЕ-800 випускався підприємством Мінський годинниковий завод , заснованим у 1953 році.
Подібний верстат Ф-2А (Ф-2М) випускав Чистопольський завод годинників .
Конструкція настільного фрезерного верстата Ф-2А скопійована з фрезерного верстата Henri Hauser SA
Універсальний фрезерний верстат НО-800 настільного типу призначений для виконання дрібних фрезерних робіт під час виготовлення деталей приладів на підприємствах приладобудівної промисловості.
У Верстат вбудовані привід та пускова апаратура.
Обертання шпинделя здійснюється електродвигуном через триступінчасту круглочасну передачу, що обгинає натяжний ролик.
Можливі виконання верстата з горизонтальним та вертикальним розташуванням шпинделя.
Основа шпиндельної бабки закріплюється на призматичних направляючих станини за допомогою двох ексцентриків.
Поздовжній хід шпиндельної бабки обмежується затятими ггвинтами, і може регулюватися мікрометричним гвинтом із ціною розподілу 0,01 мм. Зазор у направляючих регулюється за допомогою клину.
Шпиндель верстата обертається у двох бронзових втулках. Передня втулка цілісна з внутрішнім отвором конусним, а задня розрізна. Регулювання радіальних та осьових ліфтів здійснюється за допомогою гайок.
Оброблювана деталь встановлюється на круглому столі або пристрої, що кріпиться до нього.
Поворот та вертикальний хід столу та шпиндельної бабки здійснюються вручну за допомогою важелів.
Горизонтальний хід шпиндельної бабки виробляється від ггвинта, крім того поздовжній хід столу може здійснюватися як вручну, так і від мікроггвинта.
Переміщення механізмів обмежується переставними колодками з наполегливими ггвинтами.
Обробка деталей може проводитись у спеціальному розподільчому пристосуванні, що кріпиться до столу. Затискає деталі в цангу за допомогою ексцентрика.
Круглий стіл у вертикальному напрямку переміщається за допомогою рейкової пари від ручки, закріпленої на осі рейкової шестерні.
Обертання столу, вертикальний і поздовжній його хід обмежується затятими ггвинтами. Нахил столу та шпиндельної бабки фіксується затискними болтами. Зазори у направляючих регулюються клинами.
У станині верстата розміщені валик підйому столу з пружинною противагою, стійка з натяжними роликами та електроустаткування.
Стійка служить для надання бабці шпиндельної вертикального положення.
Закріплення бабки на стійці здійснюється за допомогою двох екцентриків.
Фрезерні верстати, що застосовуються в точному приладобудуванні, зазвичай працюють фрезами невеликого діаметру, у зв'язку з чим економічно доцільних швидкостей різання можна досягти за рахунок збільшення частоти обертання шпинделів (до 4000 об/хв). Особливість більшості цих верстатів – відсутність автоматичної подачі. Ручна подача здійснюється переважно системою елементарних механізмів (важеля або важеля, колеса та рейки), а зняття стружки малого перерізу обумовлює необхідність застосовувати при компонуванні верстатів короткі фрезерні оправки, обходитися без використання хобота тощо.
Фрезерні верстати точного приладобудування залежно від розташування шпинделя поділяються на вертикальні та горизонтальні. Існують також комбіновані верстати, у яких шпиндель може встановлюватись горизонтально або вертикально, що визначається характером виконуваних робіт. В основному ці фрезерні верстати є малогабаритними, встановлюються вони на столи або верстати. Деякі вертикально-фрезерні верстати мають поворотні головки, шпиндель яких можна встановлювати під кутом ±40°.

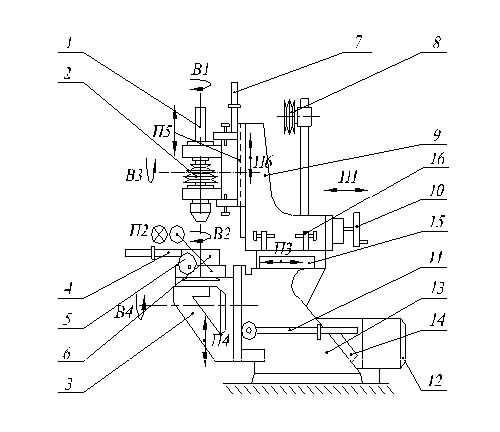
Основні вузли настільного фрезерного верстата НО-800
Консоль 3, що несе на собі круглий стіл 6, переміщається у вертикальному напрямку по призматичним напрямним за допомогою зубчасто-рейкової передачі від рукоятки 11, закріпленої на осі рейкової шестерні. Консоль може повертатися навколо горизонтальної осі. Обертання столу 6 навколо вертикальної осі здійснюється за допомогою важеля 4, а поперечне переміщення стола здійснюється обертанням маховика мікрометричного 5 ггвинта. Всі рухи столу обмежуються затятими ггвинтами. Поворот консолі та шпиндельної бабки фіксується затискними болтами. Зазори у направляючих регулюються клинами.
Шпиндель верстата обертається у двох бронзових втулках. Одна втулка цільна з внутрішнім отвором конусним, а друга - розрізна. Регулювання радіальних та осьових люфтів здійснюється за допомогою гайок.

Фото настільного фрезерного верстата НО-800

Фото настільного фрезерного верстата НО-800

Фото настільного фрезерного верстата НО-800

Фото настільного фрезерного верстата НО-800
Фото настільного фрезерного верстата НО-800. Дивитись у збільшеному масштабі

Фото настільного фрезерного верстата НО-800

Фото настільного фрезерного верстата НО-800
Фото настільного фрезерного верстата НО-800. Дивитись у збільшеному масштабі

Фото настільного фрезерного верстата НО-800
Фото настільного фрезерного верстата НО-800. Дивитись у збільшеному масштабі

Фото настільного фрезерного верстата НО-800
Фото настільного фрезерного верстата НО-800. Дивитись у збільшеному масштабі
| Найменування параметру | НІ-800 | Ф-2А |
|---|---|---|
| Основні параметри верстата | ||
| Продуктивність верстата, шт/год | 50 | |
| Відстань від осі шпинделя до направляючих стійки (виліт), мм | 90 | 80 |
| Відстань від осі шпинделя до бічних санок, мм | 80 | |
| Шпиндельна бабка | ||
| Максимальне переміщення шпиндельної бабки у горизонтальній та вертикальній площинах, мм | 50 | 50 |
| Кут нахилу шпиндельної бабки, град | ±30° | - |
| Конус у шпинделі спеціальний під цангу, град | 28° | 29° |
| Отвір у шпинделі під цангу, мм | 9 | 9 |
| Точність обробки при фрезеруванні, мм | 0,02 | |
| Частота обертання шпинделя, об/хв | 5300 | 2120, 3350, 5300 |
| Стіл | ||
| Розміри поздовжніх санок, мм | 230 х 120 | |
| Розміри поперечних санок, мм | 225 х 120 | |
| Діаметр робочої поверхні столу, мм | 100 | 100 |
| Максимальне поздовжнє переміщення столу, мм | 100 | 85 |
| Максимальний вертикальний хід столу, мм | 80 | 50 |
| Ціна поділу лімба переміщення столу, мм | 0,01 | 0,01 |
| Кут нахилу столу у вертикальній площині, град | ±30° | |
| Кут повороту столу, град | 270° | 270° |
| Привід та електроустаткування | ||
| Напруги живлення, | 220/380 | 220/380 |
| Кількість електродвигунів на верстаті | 1 | 1 |
| Електродвигун приводу головного руху, кВт (об/хв) | 0,25 (3000) | 0,27 (2800) |
| Габарити та маса верстата | ||
| Габарити верстата (довжина x ширина x висота), мм | 650 x 610 x 770 | 620 х 520 х 720 |
| Маса верстата, кг | 71 |
Пов'язані посилання