Конструкторська документація на плоскошліфувальний верстат ПШ-30540 розроблена на автомобільному заводі Горького (ГАЗ).
Крім самого заводу верстати збиралися також на підприємствах:
ПШ-30540 на Тульському машинобудівному заводі ім. В.М. Рябікова.
С-827 у СДПТУ №6 м. Горький.
Універсальний плоскошліфувальний верстат ПШ-30540 високої точності з горизонтальним шпинделем та хрестовим столом призначений для шліфування поверхонь периферією кола. У певних межах можливе оброблення поверхонь, розташованих під кутом 90° до дзеркала столу.
Плоскошліфувальний верстат ПШ-30540 призначений для шліфування плоских поверхонь різних виробів, закріплених на дзеркалі столу, магнітній або електромагнітній плиті або пристосуванні. У межах, допустимих кожухом, можливе шліфування пазів та фасонних поверхонь.
Верстат ПШ-30540 добре зарекомендував себе при шліфуванні профільних калібрів дрібних розмірів (шаблонів, збірних та шліцевих калібрів, втулок).
Шліфувальний верстат ПШ-30540 має ручну подачу столу, що важливо при шліфуванні невеликих заготовок. Із застосуванням плоскошліфувальних верстатів С-827 механізуються лекальні роботи, полегшується праця лікальників та трудомісткі довідкові операції замінюються тонким шліфуванням.
Оснащення цих верстатів спеціальними пристроями дозволяє шліфувати інструменти зі складним профілем, отримуючи високу точність поверхні.
Верстати С-827 прості при виготовленні та експлуатації. На цих верстатах шліфують профільні деталі, інструменти, так як на них можна вести обробку кругами шліфувальними колами діаметром від 6 до 200 мм при висоті заготовки від 0,5 до 100 мм.
За спеціальним замовленням за окрему плату разом зі верстатом ПШ-30540 може бути поставлена низка пристроїв, що розширюють технологічні можливості верстата.
Із застосуванням різних пристроїв можливе профільне шліфування різних деталей. Точність профілю при цьому залежить від методу заправки профілю кола і від пристрій, що застосовується для кріплення деталей.

Фото плоскошліфувального верстата ПШ-30540

Фото плоскошліфувального верстата ПШ-30540
Фото плоскошліфувального верстата ПШ-30540. Дивитись у збільшеному масштабі

Фото плоскошліфувального верстата ПШ-30540
Фото плоскошліфувального верстата ПШ-30540. Дивитись у збільшеному масштабі

Фото плоскошліфувального верстата ПШ-30540
Фото плоскошліфувального верстата ПШ-30540. Дивитись у збільшеному масштабі

Фото плоскошліфувального верстата С-827. Виробництво ГАЗ
Фото плоскошліфувального верстата С-827. Дивитись у збільшеному масштабі

Розташування складових частинин шліфувального верстата ПШ-30540
Розташування складових частинин шліфувального верстата ПШ-30540. Дивитись у збільшеному масштабі

Розташування органів керування плоскошліфувальним верстатом ПШ-30540

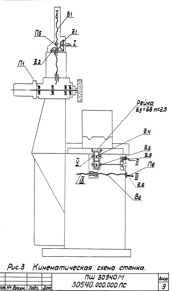
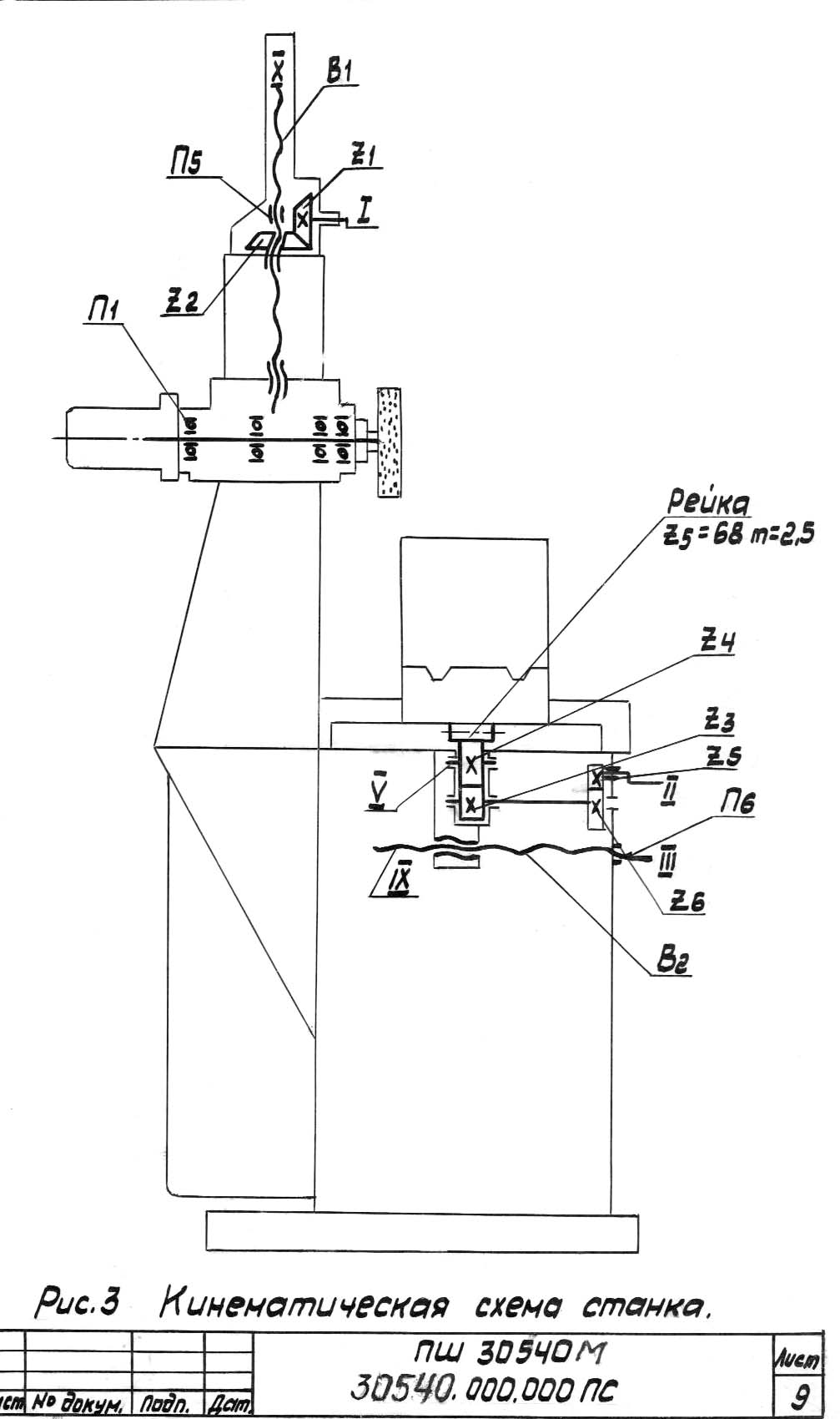
Кінематична схема плоскошліфувального верстата ПШ-30540
Схема кінематична плоскошліфувального верстата ПШ-30540. Дивитись у збільшеному масштабі

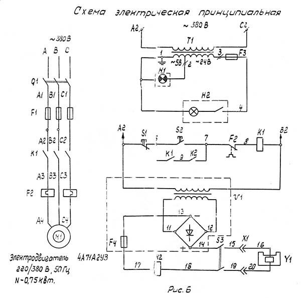
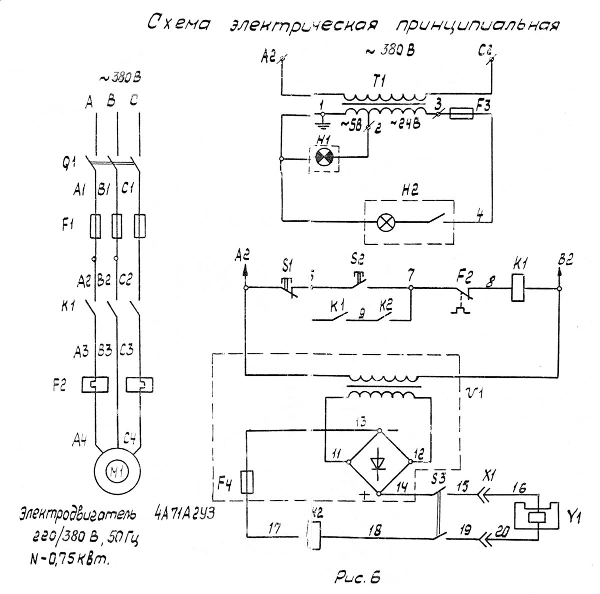
Електрична схема плоскошліфувального верстата ПШ-30540
Схема Електрична плоскошліфувальний верстат ПШ-30540. Дивитись у збільшеному масштабі
| Найменування параметру | 3B70B | ПШ-30540 м | C-827 |
|---|---|---|---|
| Основні параметри | |||
| Клас точності згідно з ГОСТ 8-82 | У | П | П |
| Найбільші розміри виробів, що обробляються (довжина х ширина х висота), мм | 400 х 160 х 320 | 400 х 156 х 200 | |
| Відстань від осі шпинделя до дзеркала стола, мм | 80..420 | 270 | 150..350 |
| Найбільша маса виробів, що обробляються, кг | 50 | ||
| Точнісні параметри, що максимально досягаються на зразку-виробі | |||
| шорсткість поверхні, обробленої периферією шліфувального кола, Ra | 10 | ||
| Робочий стіл верстата | |||
| Розміри робочої поверхні столу (довжина x ширина), мм | 400 х 160 | 400 х 156 | 460 x 150 |
| Найбільше поздовжнє переміщення столу, мм | 480 | 460 | |
| Найбільше поперечне переміщення столу, мм | 190 | 150 | |
| Швидкість поздовжнього переміщення столу (безступінчасте регулювання), м/хв. | 2..20 | руч | руч |
| Санки (Супорт) столу. Механізм поперечної подачі столу | |||
| Ціна поділу лімба маховика поперечного переміщення столу, мм | 0,02 | 0,02 | 0,02 |
| Ціна поділу лімба мікрометричної подачі поперечного переміщення столу, мм | 0,005 | - | - |
| Автоматична поперечна подача на кожен хід столу (безступінчасте регулювання), мм | 0,3..10 | руч | руч |
| Прискорене переміщення хрестового супорту столу, м/хв. | 0,7 | руч | руч |
| Шліфувальна головка. Шліфувальне коло | |||
| Найбільше вертикальне переміщення шліфувальної головки, мм | 340 | 150..460 | |
| Прискорене вертикальне переміщення шліфувальної головки, м/хв. | 0,7 | руч | руч |
| Розміри шліфувального кола, мм | 200 х 25 х 32 | Ø 150 | |
| Число оборотів шліфувального кола за хвилину | 3380..4550, 1680..2260 | 3000 | 2800 |
| Максимальна швидкість різання, м/с | 25 | ||
| Ціна поділу лімба маховика вертикального переміщення, мм | 0,005 | 0,01 | 0,01 |
| Ціна поділу лімба тонкої вертикальної подачі, мм | 0,002 | - | - |
| Електроустаткування та привід верстата | |||
| Кількість електродвигунів на верстаті | 6 | 1 | 1 |
| Електродвигун приводу шпинделя шліфувального круга, кВт (об/хв) | 1,0/ 1,4 (2750/ 1400) | 0,75 (3000) | 0,6 (2800) |
| Електродвигун гідроприводу столу, кВт (об/хв) | 0,6 (1350) | - | - |
| Електродвигун приводу поперечної подачі, кВт (об/хв) | 0,12 (1390) | - | - |
| Електродвигун прискореного переміщення шліфувальної головки, кВт (об/хв) | 0,6 (2800) | - | - |
| Електродвигун насоса охолодження, кВт (об/хв) | 0,125 (2800) | - | - |
| Електродвигун магнітного сепаратора у комплекті з агрегатом, кВт (об/хв) | 0,08 (1390) | - | - |
| Загальна встановлена потужність усіх електродвигунів, кВт | 2,92 | ||
| рід струму мережі живлення | 380 В, 50 Гц | 380 В, 50 Гц | 380 В, 50 Гц |
| Габарити та маса верстата | |||
| Габарит верстата (довжина x ширина x висота), мм | 1465 х 1950 х 1610 | 875 х 1170 х 1980 | 800 х 1170 х 1960 |
| Маса верстата, кг | 1500 | 820 | 800 |
Гарна бесіда вкорочує робочий день.
Закон Мерфі