Конструкторська документація на плоскошліфувальний верстат С-827 розроблена на автомобільному заводі Горького (ГАЗ).
Крім самого заводу верстати збиралися також на підприємствах:
С-827 у СДПТУ №6 м. Горький.
ПШ-30540 на Тульському машинобудівному заводі ім. В.М. Рябікова.
Універсальний плоскошліфувальний верстат С-827 високої точності з горизонтальним шпинделем та хрестовим столом призначений для шліфування поверхонь периферією кола. У певних межах можливе оброблення поверхонь, розташованих під кутом 90° до дзеркала столу.
Плоскошліфувальний верстат С-827 призначений для шліфування плоских поверхонь різних виробів, закріплених на дзеркалі столу, магнітній або електромагнітній плиті або пристосуванні. У межах, допустимих кожухом, можливе шліфування пазів та фасонних поверхонь.
Верстат С-827 добре зарекомендував себе при шліфуванні профільних калібрів дрібних розмірів (шаблонів, збірних та шліцевих калібрів, втулок).
Шліфувальний верстат С-827 має ручну подачу столу, що важливо при шліфуванні невеликих заготовок. Із застосуванням плоскошліфувальних верстатів С-827 механізуються лекальні роботи, полегшується праця лікальників та трудомісткі довідкові операції замінюються тонким шліфуванням.
Оснащення цих верстатів спеціальними пристроями дозволяє шліфувати інструменти зі складним профілем, отримуючи високу точність поверхні.
Верстати С-827 прості при виготовленні та експлуатації. На цих верстатах шліфують профільні деталі, інструменти, так як на них можна вести обробку кругами шліфувальними колами діаметром від 6 до 200 мм при висоті заготовки від 0,5 до 100 мм.
За спеціальним замовленням за окрему плату разом зі верстатом С-827 може бути поставлена низка пристроїв, що розширюють технологічні можливості верстата.
Із застосуванням різних пристроїв можливе профільне шліфування різних деталей. Точність профілю при цьому залежить від методу заправки профілю кола і від пристрій, що застосовується для кріплення деталей.
Плоскошліфувальний верстат С-827 складається зі станини в зборі, столу, санок, стійки, шліфувальної головки, електроустаткування та магнітної плити.
Станіна є жорстким коробчастиним чавунним виливком. З лівої та правої сторін верстата є ніші для розміщення електроустаткування. Внизу станини знаходиться електродвигун, ззаду встановлені напрямні ролики та кронштейн для натягу нескінченного плоского ременя.
На верстаті V-подібним напрямним переміщаються санки столу, здійснюючи поперечне переміщення. Санки отримують рух від точного ходового ггвинта з кроком 5 мм. На маховичку нанесено 250 поділів. Поворот маховичка на один поділ відповідає 0,02 мм поперечної подачі столу.
Стіл, переміщаючись направляючими санчатами, здійснює поздовжню подачу. У поздовжньому напрямку стіл переміщується вручну маховичком за допомогою шестірні, що знаходиться в зачепленні з нерухомо укріпленою на столі рейкою.
Стійка служить для переміщення шліфувальної головки, усередині стійки по направляючих переміщається траверса. Стійка жорстко кріпиться до станини.
Шліфувальна головка (рис. 2) жорстко кріпиться до траверси стійки і переміщається у вертикальному напрямку вручну по направляючих стійки за допомогою точного ггвинта та маховичка, на якому нанесені поділки ціною 0,01 мм.
Шпиндель головки змонтований на трьох опорах, що є здвоєними радіально-упорними шарикопідшипниками, встановлені з невеликим попереднім натягом, при цьому зазор повністю вибирається. Передня гільза має дві опори шпинделя, при цьому в середній опорі посадка шпинделя допускає плавання в опорі. Третя задня опора шпинделя є втулкою з вмонтованими в ній шарикопідшипниками. Між задньою та середньою опорами на шпиндель 3 жорстко встановлений шків 4 для приводного ременя. На передньому кінці шпинделя на фланці 5 кріпиться шліфувальний круг 2, огороджений кожухом 6 з кришкою 1.
Верстати С-827 та С-541 мають комплект запасних фланців із шайбами (планшайби) для кріплення різних шліфувальних кіл. Фланець шліфувального кола має конусний отвір, що відповідає конусній шийці шпинделя верстата. Кожен шліфувальник повинен мати запас встановлених і відбалансованих у фланцях шліфувальних кругів, щоб не втрачати час на балансування та правку кіл за профілем, а також мати можливість підібрати необхідне в даний момент шліфувальне коло.

Габаритні розміри робочого простору плоскошліфувального верстата С-827

Фото плоскошліфувального верстата С-827.
Фото плоскошліфувального верстата С-827. Дивитись у збільшеному масштабі

Фото плоскошліфувального верстата С-827.
Фото плоскошліфувального верстата С-827. Дивитись у збільшеному масштабі

Фото плоскошліфувального верстата С-827.
Фото плоскошліфувального верстата С-827. Дивитись у збільшеному масштабі

Фото плоскошліфувального верстата С-827.

Фото плоскошліфувального верстата С-827.

Фото плоскошліфувального верстата С-827. Виробництво ГАЗ
Фото плоскошліфувального верстата С-827. Дивитись у збільшеному масштабі

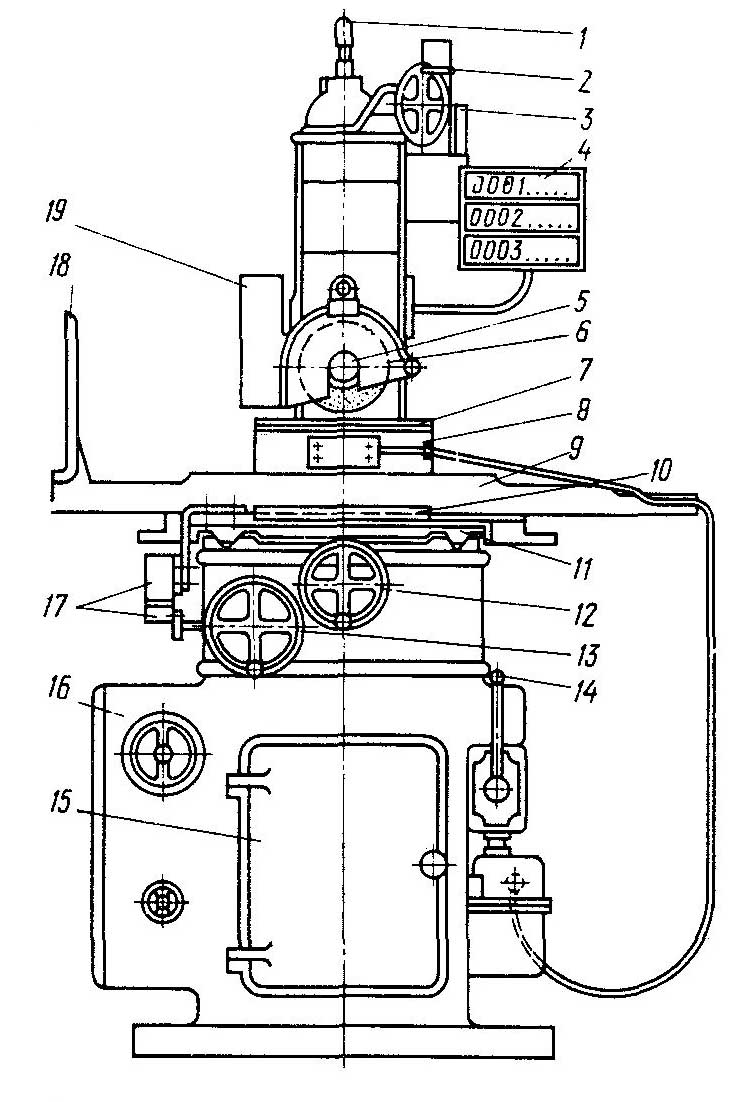
Розташування складових частинин шліфувального верстата С-827
Розташування складових частинин шліфувального верстата С-827. Дивитись у збільшеному масштабі

Кінематична схема плоскошліфувального верстата С-827
Схема кінематична плоскошліфувального верстата С-827. Дивитись у збільшеному масштабі
| Найменування параметру | 3B70B | ПШ-30540 м | C-827 |
|---|---|---|---|
| Основні параметри | |||
| Клас точності згідно з ГОСТ 8-82 | У | П | П |
| Найбільші розміри виробів, що обробляються (довжина х ширина х висота), мм | 400 х 160 х 320 | 400 х 156 х 200 | |
| Відстань від осі шпинделя до дзеркала стола, мм | 80..420 | 270 | 150..350 |
| Найбільша маса виробів, що обробляються, кг | 50 | ||
| Точнісні параметри, що максимально досягаються на зразку-виробі | |||
| шорсткість поверхні, обробленої периферією шліфувального кола, Ra | 10 | ||
| Робочий стіл верстата | |||
| Розміри робочої поверхні столу (довжина x ширина), мм | 400 х 160 | 400 х 156 | 460 x 150 |
| Найбільше поздовжнє переміщення столу, мм | 480 | 460 | |
| Найбільше поперечне переміщення столу, мм | 190 | 150 | |
| Швидкість поздовжнього переміщення столу (безступінчасте регулювання), м/хв. | 2..20 | руч | руч |
| Санки (Супорт) столу. Механізм поперечної подачі столу | |||
| Ціна поділу лімба маховика поперечного переміщення столу, мм | 0,02 | 0,02 | 0,02 |
| Ціна поділу лімба мікрометричної подачі поперечного переміщення столу, мм | 0,005 | - | - |
| Автоматична поперечна подача на кожен хід столу (безступінчасте регулювання), мм | 0,3..10 | руч | руч |
| Прискорене переміщення хрестового супорту столу, м/хв. | 0,7 | руч | руч |
| Шліфувальна головка. Шліфувальне коло | |||
| Найбільше вертикальне переміщення шліфувальної головки, мм | 340 | 150..460 | |
| Прискорене вертикальне переміщення шліфувальної головки, м/хв. | 0,7 | руч | руч |
| Розміри шліфувального кола, мм | 200 х 25 х 32 | Ø 150 | |
| Число оборотів шліфувального кола за хвилину | 3380..4550, 1680..2260 | 3000 | 2800 |
| Максимальна швидкість різання, м/с | 25 | ||
| Ціна поділу лімба маховика вертикального переміщення, мм | 0,005 | 0,01 | 0,01 |
| Ціна поділу лімба тонкої вертикальної подачі, мм | 0,002 | - | - |
| Електроустаткування та привід верстата | |||
| Кількість електродвигунів на верстаті | 6 | 1 | 1 |
| Електродвигун приводу шпинделя шліфувального круга, кВт (об/хв) | 1,0/ 1,4 (2750/ 1400) | 0,75 (3000) | 0,6 (2800) |
| Електродвигун гідроприводу столу, кВт (об/хв) | 0,6 (1350) | - | - |
| Електродвигун приводу поперечної подачі, кВт (об/хв) | 0,12 (1390) | - | - |
| Електродвигун прискореного переміщення шліфувальної головки, кВт (об/хв) | 0,6 (2800) | - | - |
| Електродвигун насоса охолодження, кВт (об/хв) | 0,125 (2800) | - | - |
| Електродвигун магнітного сепаратора у комплекті з агрегатом, кВт (об/хв) | 0,08 (1390) | - | - |
| Загальна встановлена потужність усіх електродвигунів, кВт | 2,92 | ||
| рід струму мережі живлення | 380 В, 50 Гц | 380 В, 50 Гц | 380 В, 50 Гц |
| Габарити та маса верстата | |||
| Габарит верстата (довжина x ширина x висота), мм | 1465 х 1950 х 1610 | 875 х 1170 х 1980 | 800 х 1170 х 1960 |
| Маса верстата, кг | 1500 | 820 | 800 |
Гарна бесіда вкорочує робочий день.
Закон Мерфі