Виробником настільного токарного верстата ТНШ є Машинобудівний завод м. Первомайськ, Миколаївська обл., Україна
Основним призначенням верстата було навчання токарній справі у школах, профтехучилищах, технікумах, що широко використовуються в лабораторіях, навчальних та ремонтних майстернях.
На даний час випуск верстатів припинено.
Настільний токарний шкільний верстат моделі ТНШ призначається для різних токарних робіт з дерева, пластмас і металу, що виконуються в патроні та центрах.
Область застосування шкільні та похідні майстерні технічні училища, лабораторії, а також у домашніх умовах для любителів токарної справи та конструкторів-моделістів, що допоможе використати дозвілля для розвитку трудових навичок та винахідливості.
Настільний токарний верстат ТНШ дозволяє проводити такі види робіт:
Виробник: Машинобудівний завод ім. 25 Жовтня м. Первомайськ, Миколаївська обл., Україна.
Токарний верстат ТНШ проводився за ТУ 24.06.01-85.
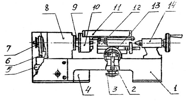
Шпиндель верстата ТНШ отримує 3 швидкості обертання від асинхронного електродвигуна через 3-ступінчастиний шків.
Передній кінець шпинделя має різьблення М30х2 для встановлення проміжного фланця з токарним патроном

Фото токарного настільного верстата ТНШ

Фото токарного настільного верстата ТНШ. Суппорт верстата

Фото токарного настільного верстата ТНШ. Вид знизу

Фото токарного настільного верстата ТНШ. Задня бабка

Фото токарного настільного верстата ТНШ. Станина верстата

Фото токарного настільного верстата ТНШ. Різцетримка

Фото токарного настільного верстата ТНШ. Шківи приводу

Конструкція токарного настільного верстата ТНШ

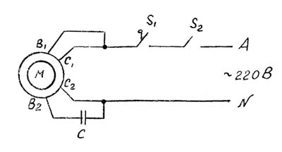
Електрична схема токарного верстата ТНШ
| Найменування параметру | 1D601 | Партнер | |
|---|---|---|---|
| Основні параметри верстата | |||
| Клас точності | Н | Н | |
| Найбільший діаметр заготовки над станиною, мм | 125 | 125 | |
| Найбільший діаметр заготовки над супортом, мм | 75 | 63 | |
| Найбільша довжина заготовки у центрах (РМЦ), мм | 180 | 180 | |
| Найбільша довжина оброблюваної заготовки без переустановки супорта, мм | 55 | 55 | |
| Найбільша висота різця, мм | |||
| Шпиндель | |||
| Різьба шпинделя, мм | М27 х 3 | M30x2 | |
| Діаметр наскрізного отвору в шпинделі (найбільший діаметр прутка), мм | 10,2 (10) | 10,7 (10,5) | |
| Конус внутрішній (інструментальний) шпинделя | Морзе 2 | Морзе 2 | |
| Число ступенів частот прямого та зворотного обертання шпинделя | 3 | 3 | |
| Частота прямого обертання шпинделя, об/хв | 700, 1400, 2800 | 700, 1400, 2800 | |
| Супорт. Подання | |||
| Поздовжнє переміщення супорта | Ручна перестановка | Ручна перестановка | |
| Найбільше поперечне переміщення супорта, мм | 65 | ||
| Різьблення ходових гвинтів поздовжнього та поперечного, мм | M6x1 | M6x1 | |
| Переміщення супорта поперечне на один поділ лімба, мм | 0,05 | 0,05 | |
| Найбільше переміщення верхніх (різцевих) санчат, мм | 55 | 55 | |
| Переміщення різцевих санок на один поділ лімба, мм | 0,05 | 0,05 | |
| Кут повороту верхньої каретки супорта, град | ±30° | ±30° | |
| Ціна поділу шкали повороту верхньої каретки супорта, град | 4° | 2° | |
| Задня бабка | |||
| Конус Морзе задньої бабки | Морзе 1 | Морзе 1 | |
| Найбільше переміщення пінолі, мм | 35 | 30 | |
| Електроустаткування | |||
| Електродвигун головного приводу, кВт (об/хв) | 0,180 (1400) | 0,25 (1400) | |
| Габарити та маса верстата | |||
| Габарити верстата (довжина ширина висота), мм | 680 х 200 х 220 | 625 х 380 х 226 | |
| Маса верстата, кг | 30 |