metalinstryment.com
Довідник по металорізальних верстатів та пресовому обладнанні

Концы шпинделей токарных верстатів

Ескіз шпинделя токарно-гвинторізного верстата







Шпиндель токарного верстата должен сообщать крутящий момент детали, обрабатываемой на станке. Для етого к концу шпинделя крепится зажимное пристрій, наиболее соответствующее обрабатываемой детали. Зажимных пристосувань существует большое множество, но обычно ето трехкулачковый патрон - он обеспечивакет надежность і точность зажима, удобство установки і снятия большинства симметричных деталей.

Конструкція кінця шпинделя токарного верстата должен удовлетворять следующим требованиям:

  1. Обеспечивать надежность крепления токарного патрона
  2. Обеспечивать точность центровки патрона по отношению к оси шпинделя
  3. Обеспечивать установку і снятие патрона для замены за минимальное время





    Содержание

  1. Разновидности передних концов шпинделей токарных верстатів
  2. Концы шпинделей резьбовые
  3. Концы шпинделей фланцевые типа А
  4. Концы шпинделей фланцевые под поворотную шайбу
  5. Концы шпинделей типа Кемлок (Camlock)
  6. Фланцы промежуточные (переходные) к самоцентрирующим патронам

Разновидности передних концов шпинделей токарных верстатів

Передний конец шпинделя токарного верстата служит для базирования (центрирования) і закрепления токарного патрона, планшайби или поводкового патрона.

На сегодняшний день существует четыре разновидности передних концов шпинделей универсальных токарных верстатів:

  1. Резьбовой конец шпинделя - в обязательном порядке требует промежуточный (переходной) фланец, для того чтобы установить на шпиндель патрон или другое зажимное пристрій;
  2. Фланцевый конец шпинделя - з конусной посадкой - форма А. Фланец шпинделя имеет резбовые отверстия для непосредственного крепления патрона спереди гвинтами з внутренними шестигранниками, проходящими сквозь патрон;
  3. Фланцевый конец шпинделя - з конусной посадкой. Фланец шпинделя имеет отверстия для непосредственного крепления патрона з помощью поворотной (байонетной) шайбы - ето наиболее распространенный і предпочтительный вигляд крепления;
  4. Фланцевый конец шпинделя - з конусной посадкой. Фланец шпинделя имеет отверстия для непосредственного крепления патрона з помощью шпилек типа Camlock

В соответствии з четырьмя существующими разновидностями шпинделей на сегодняшний день действует четыре государственных стандарта регламентирующих конструкцию і розміри передних концов шпинделей:

  1. ГОСТ 16868 - Концы шпинделей резьбовые (Взамен ОСТ 428)
  2. ГОСТ 12595 - Концы шпинделей фланцевые типа А і фланцы зажимных устройств
  3. ГОСТ 12593 - Концы шпинделей фланцевые под поворотную шайбу і фланцы зажимных устройств
  4. ГОСТ 26651 - Концы шпинделей фланцевые типа Кемлокк і зажимные пристроя

  5. ГОСТ 3889 - Фланцы промежуточные к самоцентрирующим патронам.

Концы шпинделей резьбовые. ГОСТ 16868 (Взамен ОСТ 428)

ГОСТ 16868-71 Концы шпинделей резьбовые

Крепление патрона на резьбовой конец шпинделя

Крепление патрона на резьбовой конец шпинделя. Дивитись у збільшеному масштабі



ГОСТ 16868 (Концы шпинделей резьбовые) предлагает два типоразмера концов шпинделей:

  1. М39 х 4,0
  2. М45 х 4,5

ГОСТ 16868-71 Концы шпинделей резьбовые

Кінець шпинделя резьбовой ГОСТ 16868

В реальности существуют множество моделей верстатів, выпущенных до начала 60-х годов, з резьбовыми концами шпинделей от М33 до М150. Резьбовой конец шпинделя использовался на токарных верстатах старых моделей, например, 1А62 (М90 х 6) і в малых токарных верстатах - учебных і настольных, например, ТВ-7 (М45 х 4,5) і т.д.

Если резьбовой конец шпинделя не соотвтствует ГОСТ 16868 (Концы шпинделей резьбовые) как, например, на станке ТВ-4 (d = М36 х 4), требуется изготовить нестандартный промежуточный фланец, используя посадочные розміри необходимого патрона.

Для того, чтобы на переднем кінці шпинделя закрепить токарний патрон, необходимо изготовить или приобрести промежуточный (переходной) фланец, который еще называют планшайбой.

Со стороны шпинделя промежуточный фланец должен навинчиваться на резьбу шпинделя d і очень точно надвигаться на цилиндрический центрирующий поясок диаметром Ø d1 і длиной l мм.

Со стороны токарного патрона промежуточный фланец должен мати центрирующий поясок - ступеньку D4 для точной установки і центрирования токарного патрона на промежуточном фланце, а также мати сквозные отверстия для крепления патрона. Очевидно, что для каждого типоразмера токарного патрона должен быть свой промежуточной фланец.

Допускается устанавливать на промежуточном фланце исполнения 1 запорное пристрій против самоотвинчивания.

Недостаток шпинделей з резьбой в том, что при торможении или реверсировании быстроходного верстата патрон по инерции може соскочить со шпинделя. Кроме того, токарные патроны, устанавливаемые на етих шпинделях по посадке ковзання, не вполне точно центрируются. На точность центрирования оказывает влияние зазор. При частом навинчивании і свинчивании патронов зазор из-за износа сопрягаемых поверхностей увеличивается. В етих условиях даже плотные соединения со временем теряют свою первоначальную точность, і возникает потребность в ремонтi головки шпинделя.


В средних і крупных токарных верстатах используются фланцевые концы шпинделей з центрирующим коротким конусом (7°7′30″). Конические направляющие обеспечивающют более точное центрирование при установці патронов і планшайб.


Концы шпинделей фланцевые типа А ГОСТ 12595

ГОСТ 12595-2003 (DIN 55026, ИСО 702-1:2001). (Взамен ГОСТ 2570-58). Верстати металорізальні. Концы шпинделей фланцевые типа А і фланцы зажимных устройств. Основні і присоединительные розміри.

Настоящий стандарт распространяется на фланцевые концы шпинделей з коротким конусом 1:4 (7°7′30″) типа А для токарных і шлифовальных верстатів, а также на фланцы зажимных устройств, устанавливаемых на концы шпинделей.

Фланцевые концы шпинделей типа А имеют резьбовые крепежные отверстия по окружности фланца, которые служат для для крепления патрона гвинтами з внутренними шестигранниками. Для концов шпинделей такого типа (А) должны использаваться зажимные патроны 2 типа по ГОСТ 2675-80 Тип 2.



Концы шпинделей фланцевые типа А

Крепление патрона на фланцевый конец шпинделя типа А

Крепление патрона на фланцевый конец шпинделя типа А. Дивитись у збільшеному масштабі



ГОСТ 12595 Верстати металорізальні. Концы шпинделей фланцевые типа А

Концы шпинделей фланцевые типа А по ГОСТ 12595

ГОСТ 12595 Верстати металорізальні. Концы шпинделей фланцевые типа А

Условные розміри концов шпинделей типа А по ГОСТ 12595


Всего предусмотрено девять условных размеров концов шпинделей (3, 4, 5, 6, 8, 11, 15, 20, 28) з номинальным наружным диаметром 92, 108, 133, 165, 210, 280, 380, 520, 725 мм.

Фланец шпинделя снабжен коротким конусом 1:4 (7°7′30″), обеспечивающим надежное центрирование патрона. Допуски на конусы назначаются з таким расчетом, чтобы при установці патрона от руки между торцевыми поверхностями шпинделя і патрона оставался небольшой зазор, при затягивании крепежных винтов зазор ликвидируется, а конусы сопрягаются по посадке, близкой к прессовой. Вследствие большого угла конуса патрон після освобождения винтов легко снимается. Вылет патрона минимальный.

Фланцевые концы типа А могут изготавливаться в двух исполнениях.

  1. Крепежные отверстия расположены на делительных окружностях диаметров D1 і D2;
  2. Крепежные отверстия расположены только на делительной окружности диаметром D2. Виконання 2 следует применять для концов шпинделей условного размера №3 і №4;

Исполнения 1 і 2 - следует применять для концов шпинделей условного размера от №5 до №28.

Для крепления токарного патрона на фланцевом шпинделе необходимо установить его на центрирующем конусе шпинделя, пропустить крепежные винты сквозь устанавливаемый токарний патрон в торцевые крепежные отверстия фланца шпинделя, затянуть винты.


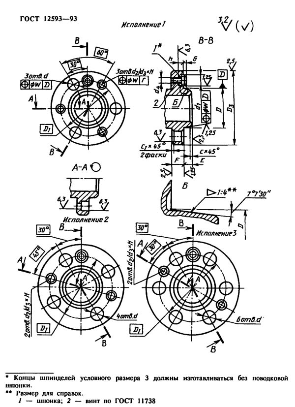
Концы шпинделей фланцевые под поворотную шайбу ГОСТ 12593

ГОСТ 12593-93 (DIN 55027, ИСО 702-3-75). (Взамен ГОСТ 2570-58). Верстати металорізальні. Концы шпинделей фланцевые под поворотную шайбу і фланцы зажимных устройств.

Настоящий стандарт распространяется на фланцевые концы шпинделей з коротким конусом 1:4 (7°7′30″) і поворотной шайбой для токарных верстатів і на фланцы зажимных устройств, устанавливаемых на концы шпинделей. ГОСТ 12593-93 представляет собой полный аутентичный текст ИСО 702-3-75 "Верстати. Концы шпинделей і планшайби. Розміри для взаимозаменяемости. Часть III. Байонетный тип".

Фланцевые концы шпинделей типа Б имеют сквозные крепежные отверстия по окружности фланца і байонетную поворотную шайбу которые служат для для крепления патрона без свинчивания крепежных гаек, что позволяет быстро закреплять і снимать патроны. Для концов шпинделей такого типа (Б) должны использаваться зажимные быстросменные патроны 3 типа по ГОСТ 2675-80 Тип 3.



Крепление патрона на фланцевый конец шпинделя под поворотную шайбу

Крепление патрона на фланцевый конец шпинделя под поворотную шайбу

Крепление патрона на фланцевый конец шпинделя под поворотную шайбу. Дивитись у збільшеному масштабі



Пример применения фланцевых концов шпинделей под поворотную шайбу

Пример применения фланцевых концов шпинделей под поворотную шайбу


Исполнения фланцевых концов шпинделей под поворотную шайбу

Исполнения фланцевых концов шпинделей под поворотную шайбу

Исполнения фланцевых концов шпинделей под поворотную шайбу. Дивитись у збільшеному масштабі



Розміри фланцевых концов шпинделей под поворотную шайбу

Розміри фланцевых концов шпинделей под поворотную шайбу


Токарний патрон по ГОСТ 2675-80 Тип 3 для установки c поворотной шайбой

Токарний патрон по ГОСТ 2675-80 Тип 3 для установки c поворотной шайбой


Фланцы для быстросменных патронов (тип Б) з посадкой на конус 1:4 (7°7′30″) под поворотную шайбу выполняются восьми условных размеров (3, 4, 5, 6, 8, 11, 15, 20) з номинальным наружным диаметром 102, 112, 135, 170, 220, 290, 400, 540 мм.

Фланцевые концы шпинделей з поворотной шайбой могут изготавливаться в трех исполнениях:

  1. Условный размер кінця шпинделя 3 і 4;
  2. Условный размер кінця шпинделя 5, 6, 8;
  3. Условный размер кінця шпинделя 11, 15, 20.

На рисунке показана установка быстросменного токарного патрона 2 на фланцевом шпинделе з помощью байонетной поворотной шайбы 1. Шпильки 5, имеющие в средней частини цилиндрическое утолщение з лыской под ключ, завинчиваются в торец патрона і при установці пропускаются через отверстие фланца і поворотной шайбы 1. После етого шайбу поворачивают по часовий стрелке і гайками 6 зажимают патрон на конусе шпинделя.

Сама поворотная шайба крепится к фланцу шпинделя з помощью втулки 3 і гвинта 4 (варіант 1) или только винтом 7 (варіант 2), при етом она остается подвижной і може вращаться на шпинделе в пределах вытянутого крепежного отверстия.

Крепление на фланцевом шпинделе з поворотной шайбой отнимает немного часу, вместе з тем фланцевое соединение обеспечивает высокую точность центрирования (отсутствует зазор), полную надежность при больших оборотах шпинделя.


Концы шпинделей фланцевые типа Кемлок ГОСТ 26651

Концы шпинделей фланцевые типа Кемлок ГОСТ 26651-85 (DIN 55029, ИСО 702/II-75) Верстати металорізальні. Концы шпинделей фланцевые типа Кемлок і зажимные пристроя.

Настоящий стандарт распространяется на фланцевые концы шпинделей з коротким конусом типа Кемлок (Camlock) для токарных верстатів і зажимные пристроя, устанавливаемые на концы шпинделей. Стандарт полностью соответствует СТ СЭВ 4853-84 і ИСО 702/II-75.



Крепление патрона на фланцевый конец шпинделя типа Кемлок

Крепление патрона на фланцевый конец шпинделя типа Кемлок

Крепление патрона на фланцевый конец шпинделя типа Кемлок. Дивитись у збільшеному масштабі



Фланцевые концы шпинделей типа Кемлок з посадкой на конус 1:4 предусмотрены восьми условных размеров (3, 4, 5, 6, 8, 11, 15, 20).

Эксцентриковые зажимы Кемлок существенно ускоряют установку токарного патрона, поетому устанавливаются там, где требуется частая смена патрона.


Фланцы промежуточные к самоцентрирующим патронам ГОСТ 3889-80

Настоящий стандарт распространяется на промежуточные фланцы, предназначенные для установки на концы шпинделей металлорежущих верстатів самоцентрирующих патронов общего назначения.

Промежуточные фланцы (их называют еще План-шайбы) необходим для центрирования і крепления патронов з центрирующим пояском (ГОСТ 2675 тип 1) на любой из 4-х типов концов шпинделей токарных верстатів.

ГОСТ 3889-80 (DIN 6350) Фланцы должны изготавливаться исполнений:

  1. Виконання 1 - устанавливаемое на резьбовые концы шпинделей по ГОСТ 16868;
  2. Виконання 2 - устанавливаемое на фланцевые концы шпинделей по ГОСТ 12593 под поворотную шайбу;
  3. Виконання 3 - устанавливаемое на фланцевые концы шпинделей по ГОСТ 12595 исполнения 1;
  4. Виконання 4 - устанавливаемое на фланцевые концы шпинделей по ГОСТ 12595 исполнения 3.

ГОСТ 3889 Виконання 1. Фланцы промежуточные на резьбовые концы шпинделей

ГОСТ 3889-80 (СТ СЭВ 4852-84) Фланцы промежуточные к самоцентрирующим патронам. Конструкція і розміри

ГОСТ 3889 Фланцы промежуточные на резьбовые концы шпинделей

ГОСТ 3889-80 (СТ СЭВ 4852-84) Фланцы промежуточные к самоцентрирующим патронам. Конструкція і розміри

ГОСТ 3889 Фланцы промежуточные на резьбовые концы шпинделей


Для того, чтобы на переднем кінці шпинделя закрепить токарний патрон, необходимо изготовить или приобрести промежуточный (переходной) фланец, который еще называют планшайбой.

Со стороны шпинделя промежуточный фланец должен навинчиваться на резьбу шпинделя d і очень точно надвигаться на центрирующий поясок - цилиндр диаметром Ø d1 і длиной l мм.

Со стороны токарного патрона промежуточный фланец должен мати центрирующий поясок - ступеньку D4 для точной установки і центрирования токарного патрона на промежуточном фланце, а также мати сквозные отверстия для крепления патрона. Очевидно, что для каждого типоразмера токарного патрона должен быть свой промежуточной фланец.

Допускается устанавливать на промежуточном фланце исполнения 1 запорное пристрій против самоотвинчивания.

Процесс установки токарного патрона состоит из следующих етапов:


Пример: фланец промежуточный к токарномуу верстату ТВ-4

Фланец промежуточный к токарномуу верстату ТВ-4

Фланец промежуточный к токарномуу верстату ТВ-4



Пример условного обозначения фланца исполнения 1, диаметром 100 мм:


Фланец 7081-0592 ГОСТ 3889-80


Пример условного обозначения фланца исполнения 1, диаметром 125 мм:


Фланец 7081-0593 ГОСТ 3889-80


Фланец промежуточный к токарномуу верстату з резьбовым концом шпинделя

ГОСТ 3889-80 (СТ СЭВ 4852-84) Фланцы промежуточные к самоцентрирующим патронам. Конструкція і розміри

Фланец промежуточный к токарномуу верстату з резьбовым концом шпинделя



ГОСТ 3889-80 Виконання 2. Фланцы промежуточные под фланцевые концы шпинделей под поворотную шайбу (ГОСТ 12593)

ГОСТ 3889-80 (СТ СЭВ 4852-84) Фланцы промежуточные к самоцентрирующим патронам. Конструкція і розміри

ГОСТ 3889-80 Фланцы промежуточные под поворотную шайбу

ГОСТ 3889-80 (СТ СЭВ 4852-84) Фланцы промежуточные к самоцентрирующим патронам. Конструкція і розміри

ГОСТ 3889-80 Фланцы промежуточные под поворотную шайбу


ГОСТ 3889-80 Виконання 3. Фланцы промежуточные под фланцевые концы шпинделей исполнения 1 по ГОСТ 12595

ГОСТ 3889-80 (СТ СЭВ 4852-84) Фланцы промежуточные к самоцентрирующим патронам. Конструкція і розміри

ГОСТ 3889-80 Фланцы промежуточные к концам шпинделей типа А. Виконання 1

ГОСТ 3889-80 (СТ СЭВ 4852-84) Фланцы промежуточные к самоцентрирующим патронам. Конструкція і розміри

ГОСТ 3889-80 Фланцы промежуточные к концам шпинделей типа А. Виконання 1


ГОСТ 3889-80 Виконання 4. Фланцы промежуточные под фланцевые концы шпинделей исполнения 3 по ГОСТ 12595

ГОСТ 3889-80 (СТ СЭВ 4852-84) Фланцы промежуточные к самоцентрирующим патронам. Конструкція і розміри

ГОСТ 3889-80 Фланцы промежуточные к концам шпинделей типа А. Виконання 3



Відеоролик: Разборка і сборка токарного патрона

Відеоролик: Установка токарного патрона і проверка точності центрирования токарного верстата









Заказать

Кто владеет информацией - тот владеет миром.

Натан Ротшильд