
Схема установки підшипників токарно-гвинторізного верстата 16к20
Схема встановлення підшипників токарно-гвинторізного верстата 16к20. Дивитись у збільшеному масштабі

Перелік підшипників токарно-гвинторізного верстата 16к20
Перелік підшипників токарно-гвинторізного верстата 16к20. Дивитись у збільшеному масштабі

Перелік підшипників токарно-гвинторізного верстата 16к20
Перелік підшипників токарно-гвинторізного верстата 16к20. Дивитись у збільшеному масштабі
Шпиндельні підшипники токарного верстата 1К620 відрегульовані на заводі та не вимагають додаткового регулювання.
Однак у разі нагальної потреби споживач може силами висококваліфікованих фахівців вдатися до регулювання шпиндельних опор.
Необхідність регулювання може виникнути після заміни підшипників та інших ремонтних робіт.
Перед регулюванням необхідно перевірити жорсткість шпиндельного вузла . Для цього на станині під фланцем шпинделя встановлюється домкрат з перевіреним в лабораторії динамометром і через прокладку, що оберігає шпиндель від пошкоджень, до фланця додається зусилля, спрямоване вертикально знизу вгору.
Зміщення шпинделя контролюється атестованим індикатором з ціною розподілу не більше 0,001 мм, що встановлюється на шпиндельній бабці і що стосується своїм вимірювальним наконечником верхньої частинини фланця шпинделя. Відхилення шпинделя на 0,001 мм має відбуватися при докладеному зусиллі щонайменше 45—50 кгс. Якщо величина навантаження при зміщенні на 0,001 мм значно нижча від зазначеної, то пошипник необхідно регулювати.
Примітка. Шпиндельні підшипники замовлення не регламентуються. Верстати можуть комплектуватись двома типами передніх шпиндельних підшипників:
1-й варіант комплекту шпиндельних підшипників (див. мал. 14):
2-й варіант комплекту шпиндельних підшипників (див. мал. 97):

Шпиндельна бабка токарного верстата 16к20 із підшипником № 3182120
Шпиндельна бабка токарно-гвинторізного верстата 16к20. Дивитись у збільшеному масштабі

Фото шпиндельної бабки токарно-гвинторізного верстата 16к20
Фото шпиндельної бабки токарно-гвинторізного верстата 16к20. Дивитись у збільшеному масштабі
Подшипниковые опори шпинделя (передний — роликовый двухрядный і задние — радиальные упорные підшипники) отрегулированы на заводе і не требуют никакой регулировки.
При ремонтi регулировка підшибників производится следующим образом. Передний подшипник шпинделя регулируется гайкой 233 (рис. l4), расположенной внутри корпуса передньої бабки, в следующем порядке: освобождают винт і поворачивают гайку в необходимую сторону. Поворотом етой гайки осуществляется осевое перемещение внутреннего кольца підшипника на конусной шейке шпинделя.
При повороте гайки вправо происходит натяжение внутреннего кольца підшипника на конусную шейку шпинделя. При етом кольцо деформируется, его наружный диаметр увеличивается, обеспечивая плотное прилегание всех роликов к поверхностям внутреннего і наружного колец підшипника, что уменьшает радиальный зазор в подшипнике. После регулировки вновь затягивают винт.
Регулювання осьового зазору радиальных упорных підшибників задньої опори шпинделя производится вне корпуса бабки гайкой через тепловой компенсатор. Натяг осуществляется поворотом гайки вправо на угол 18..20° до того, как в стыках между підшипниками і приставками будут выбраны зазоры. Наружные кольца устанавливаются вплотную до упора гайкой.

Шпиндель токарного верстата 16к20 з подшипником № 697920Л
Шпиндель токарно-гвинторізного верстата 16к20. Дивитись у збільшеному масштабі
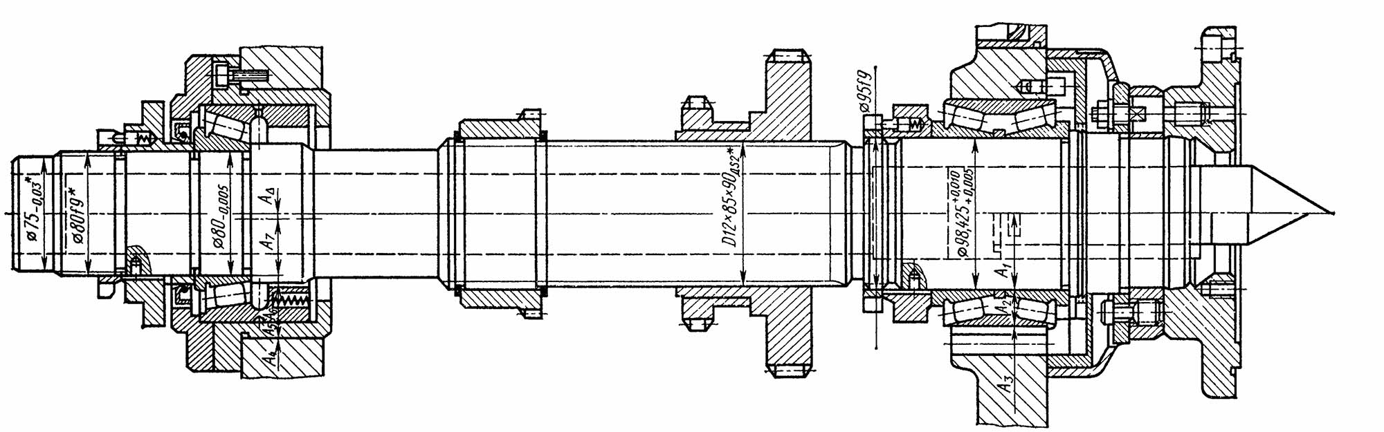
На рис. 97 изображен шпиндельный узел токарно-гвинторізного верстата 16К20. Передней опорой шпинделя служит конічний двухрядный роликоподшипник 6 з малым углом конуса у внутреннего кольца і буртом на наружном кольце. Задний конец шпинделя опирается на конічний однорядный роликоподшипник 2 з малым углом конуса і автоматическим усуненням зазоров.
К регулировке шпиндельных підшибників следует прибегать только в случае крайней необходимости, обязательно выполнив перед етим проверку вузла на жесткость. Проверку производят з помощью динамометра і индикатора з ценой деления 1 мкм. Усилие от динамометра, направленное вертикально знизу вверх, передається шпинделю через фланец 7. Измерение переміщення шпинделя осуществляют индикатором, установленным на шпиндельную бабку і упирающимся наконечником во фланец шпинделя. Подшипниковый узел не подлежит регулировке, если смещение шпинделя на 1 мкм происходит при приложении нагрузки не менее 45—50 кгс. Если ета нагрузка значительно ниже, регулировка необходима.
Регулировку переднего підшипника выполняют путем подшлифовывания полуколец 8, к которым внутреннее кольцо підшипника прижимается з помощью гайки 5 з контргайкой 4. Усунення радиального зазору в подшипнике происходит за счет деформаций внутреннего кольца підшипника при надвигании его на коническую шейку шпинделя. Для того чтобы вынуть полукольца, необходимо снять з переднего кінця шпинделя детали, прикрывающие полукольца, отвернуть гайки 4 і 5 і сдвинуть з места внутреннее кольцо підшипника.
Зазоры в заднем подшипнике выбираются автоматически з помощью пружин 9, упирающихся в шайбу 3. Предварительное сжатие пружин осуществляют навинчиванием гайки 1 на резьбовой конец
Подшипник № 3182120 - ето двухрядный роликовый радиальный, з короткими цилиндрическими роликами, з безбортовым наружным кольцом, з коническим посадочным отверстием (1:12), канавкой і отверстиями для внесения смазочного материала. Комплект тел качения з внутренним кольцом способны перемещаться относительно наружного в обе стороны. Двухрядные роликовые підшипники способны обеспечивать высокую грузоподъемность і жесткость при своих незначительных размерах (прежде всего, расстояние между наружным і внутренним кольцами). Этот тип, как і большинство роликопідшибників етой серии производится в настоящее время только высокоточным, вторым или четвертым классом, поскольку основная область применения — прецизионные верстати, при работе которых недопустимо высокое биение. Продукция низких степеней точності (6) доступна з хранения.
Основным производителем підшибників подобной конструкції всегда считался московский ГПЗ-1, сейчас же его производство перевели в город Волжский, на филиал Завода Авиационных Подшипников при 15 ГПЗ (все заводы объединены под егидой Европейской Подшипниковой Корпорации), так что підшипники з маркировкой ГПЗ-1 реализуются з хранения (или же бывает еще контрафакт). В настоящее время изготавливается две разные модификации - 2-3182120К, 4-3182120К, которые отличаются по классу точності. Помимо указанных заводов, данный тип выпускал і 10 ГПЗ (Ростов-на-Дону). После развала отечественной промышленности на рынке переизбыток підшибників етого типа, которые были сняты з оборудования, распроданы из складских остатков і т.д. Среди такой продукции може встречаться как очень качественная і недорогая, так і негодная к експлуатации.
Купить заводские підшипники, длительная работоспособность которой гарантирована производителем, з минимальными торговыми наценками можно у официальных представителей ЕПК (ориентировочная цена — около 6500 рублей, причем класс точності влияет на нее не сильно), неликвидную продукцию і підшипники з хранения можно купить в фирмах, расположенных в крупных промышленных центрах прошлого.
Импортные підшипники етого типоразмера имеют обозначение NN3020K (наличие буквы К в номере обязательно, так как она указывает на коническую посадку). В России наиболее распространена продукция следующих производителей — FAG, SKF, NACHI, IBC. Также, как і отечественные підшипники, импортные также широко реализуются из числа неликвидов, прежде всего, ето продукция восточно-европейских производителей — URB (Румыния) і FLT (Польша), выпущенная і завезенная в страну еще во времена существования Союза. Под видом импортных могут продавать і китайские підшипники CX, SZPK, ZWZ і другие.

Схема підшипника 3182120

Фото підшипника 3182120
Подшипник 46216 - ето шариковый однорядный радиально-упорный подшипник з углом контакта 26°. Поскольку ряд шариков один, то осевую нагрузку данный тип способен воспринимать только в одну сторону. В случае необходимости фиксации вала в обе стороны. підшипники устанавливают парами. На валы з високою точностью исполнения ставят притертые друг к другу на заводе підшипники з точно совпадающими углами контакта (так называемые «дуплексы»). Они продаются в комплекте і имеют маркировку 446216.
Направление воспринимаемых нагрузок - радиальное і осевое только в одну сторону. Осевая нагрузка - до 150% неиспользованной допустимой радиальной.
Основной завод по выпуску радиально-упорных підшибників в нашей стране — саратовский завод ОАО «СПЗ». Здесь изготавливают наступні модификации етого типа: Т-46216Л, 4-46216Л, 6-46216Л, 46216Л (Т, 4, 6 — классы точності. Нулевая точность в номере не отображается). Также сборка етого типа осуществляется і в Самаре на СПЗ-4 (ориентировочную цену можно посмотреть здесь). Підшипники етого производителя значительно дешевле, но і похуже.
Импортные підшипники (например, SKF і FAG), етого типа имеют маркировку по ISO - 7216A. Сепаратор из латуни отражается наличием в номере буквы М.

Схема підшипника 46216

Фото підшипника 46216
Подшипник № 697920Л подшипник является роликовым, радиально-упорным, коническим (или же такой тип еще именуют «с коническими роликами»), двухрядным, широкой серии. Отличительной особенностью является наличие борта на наружном кольце, который упрощает обработку посадочных отверстий в корпусе. Підшипники изготавливаются з заранее заданным осевым зазором. Широкое наружное кольцо і увеличенное поперечное сечение позволяет осуществлять монтаж без запрессовки. Разное количество роликов в рядах способствует гашению резонансной вибрации шпинделя. Підшипники выпускаются только високою степени точності (2 і 4), з сепараторами из латуни, по ТУ 37.006.107: 2-697920Л1У і 4-697920Л1У.
Единственный производитель етого типа — Волжский підшибниківый завод (прежнее наименование — 15 ГПЗ), хотя формально производителем считается Самарский Завод Авиационных Подшипников, филиал в г. Волжский. Оба предприятия находятся в составе Европейской Подшипниковой Корпорации. Продажа підшибників осуществляется Торговым Домом ЕПК і дилерской сетью (купить підшипники у дилеров може быть выгоднее, чем в Торговом Доме, так как у них действует существенная скидка). Ориентировочная цена на качественное изделие з паспортами і действующей заводской гарантией составляет около 11500 за подшипник второго класса точності. Изделие 4-го класса стоит на 800 — 1000 рублей меньше. Помимо представителей ЕПК, подшипник массово продается в фирмах, которые занимаются неликвидной продукцией, а также замечены контрафактные підшипники етого типа, маркировка на которых явно подделана. Всю ету продукцию отличают цены, значительно ниже указанных.
Данный тип — один из немногих из серии 697000, который до сих пор очень широко используется в верстатах различного назначения на многих предприятиях страны.

Схема підшипника 697920Л

Фото підшипника 697920Л
Подшипник 17716 - ето роликовый, радиально-упорный, конічний (или же такой тип еще именуют «с коническими роликами»), однорядный. Производится етот тип согласно ТУ 37.006.133. Угол контакта ? у етого типа составляет от 10 до 18°, что позволяет експлуатировать его в условиях высоких радиальных і осевых нагрузок. Характерной особенностью изделий етой серии является наличие пружин на внешнем кольце.
Підшипники етого типа выпускаются в настоящее время только на одном предприятии страны — ОАО «Завод Авиационных Подшипников», а точнее в его филиале при 15 ГПЗ в городе Волжский. Изготавливаются две модификации 2-17716 Л4 і 4-17716 Л4 (разница — в классе точності). Купить заводские підшипники по минимальным ценам можно только непосредственно у дилеров Европейской Подшипниковой Корпорации, к которой принадлежит завод-изготовитель, по цене около 6400 рублей (2 степень точності) і 5000 (4 степень точності), однако крайне проблематично. Стоит отметить, что етот тип прошлых годов выпуска можно приобрести значительно дешевле (они в изобилии есть на складах фирм, занимающихся выкупом неликвидных підшибників), но в таком случае гарантии их работоспособности никто не даст.

Схема підшипника 17716

Фото підшипника 17716
Российская система маркировки підшибників качения. Основное і дополнительное цифровое обозначение:

Условные обозначения підшибників
Условные обозначения підшибників. Дивитись у збільшеному масштабі
Расшифровка обозначения всегда должна начинаеться з правой края маркировки:
№ 4-3182120
- код внутреннего диаметра внутреннего кольца - число в обозначении (20) умножаем на шаг 5 мм, в нашем случае диаметр равен 100 мм.
№ 4-3182120
- обозначение серии диаметров зовнішнього кольца совместно з седьмым знаком (3000100), обозначающим серию ширин (высот), определяет размерную серию (габарит) підшипника, ГОСТ 3478
№ 4-3182120
- условное обозначения типа підшипника. В нашем случае - Роликовый радиальный з короткими цилиндрическими роликами
№ 4-3182120
- конструктивное виконання підшипника по ГОСТ 3395. В нашем случае: (182000) Подшипник радиальный роликовый з короткими цилиндрическими, двухрядный з коническим отверстием 1:12, з бортами на внутреннем кольце, ГОСТ 7634
№ 4-3182120
- Обозначение серии ширины (3000100). Совместно з третьим знаком, обозначающим серию диаметров, определяет размерную серию (габарит) підшипника.
№ 4-3182120
- Обозначение класса точності підшипника по ГОСТ 520-2002. В нашем случае - 4 класс точності - высокий.
№ 2-697920Л
- код внутреннего диаметра внутреннего кольца - число в обозначении (20) умножаем на шаг 5 мм, в нашем случае диаметр равен 100 мм.
№ 2-697920Л
- обозначение серии диаметров (6000900) зовнішнього кольца совместно з седьмым знаком, обозначающим серию ширин (высот), определяет размерную серию (габарит) підшипника.
№ 2-697920Л
- конструктивное виконання підшипника по ГОСТ 3395. В нашем случае: (97000) Подшипник радиально-упорный роликовый конічний, двухрядный з внутренним дистанционным кольцом, ГОСТ 6364
№ 2-697920Л
- Обозначение серии ширины (6000900). Определяет размерную серию (габарит) підшипника.
№ 2-697920Л
- В нашем случае - 2 класс точності - высокий (прецизионный).
№ 2-697920Л
-
Современная система маркировки підшибників (ГОСТ 520-2002), принятая в нашей стране различает наступні классы точності (в порядке уменьшения допусков і повышения точності):
8, 7, 0, нормальный, 6X, 6, 5, 4, Т, 2
Підшипники более высоких классов точності 4, Т, і 2 могут стоить в разы дороже, чем более низких классов — 5, 6, 0.

Буквенные обозначения класса точності підшибників

Современные обозначения класса точності підшибників

Классы точності підшибників для шпинделей верстатів
Наряду з обычными требованиями, предъявляемыми к підшипникам качения по критериям их работоспособности, к шпиндельным опорам качения предъявляют дополнительные требования по условиям роботи шпиндельного вузла і всего верстата. К числу таких требований относятся высокая точность обертання, повышенные радиальные і осевые жесткости, незначительное выделение тепла і небольшие температурные деформации.
Высокую точность обертання шпиндельного вузла достигают прежде всего при високою точності изготовления підшибників качения. В табл. 11 приведены рекомендуемые классы точності підшибників для шпинделей верстатів.
Геометрические погрешности підшибників з точностными требованиями выше класса С должны быть в пределах 1—2 мкм, волнистость беговых дорожек колец 0,1—0,2 мкм, а разноразмерность і некруглость тел качения примерно 0,3 мкм. Биение ∆ кінця шпинделя, ограниченное требованиями точності обробки, связано з биениями передньої δА і задньої δВ опор, если они направлены в разные стороны (рис. 20, а), простой геометрической зависимостью
Если при сборке шпиндельного вузла в соответствии з техническими условиями гарантирована установка підшибників (за счет поворота одного из них в корпусе) таким образом, что биения их направлены в одну сторону (рис. 20, б), то ето резко снижает биение кінця шпинделя.
Выбор посадки підшибників качения оказывает большое влияние на точность обертання шпинделя, а также і на другие критерии работоспособности шпиндельного вузла. С увеличением натяга ухудшается форма дорожек качения, но наряду з етим в еще большей мере происходит усреднение погрешностей підшибників. Усреднение погрешностей усиливается після устранения зазоров в подшипнике і при увеличении натяга до определенного значения, что. і предопределяет целесообразный выбор посадок.
Для шпинделей верстатів классов точності Н і П наружные і внутренние кольца радиально-упорных шарикопідшибників рекомендуется устанавливать по посадке П1п, а наружные кольца роликопідшибників типа 3182100 по посадке Н1п. В шпинделях прецизионных верстатів (классов точності В, А і С) желательно гарантировать натяг при посадке до 5 мкм.
Жесткость підшибників качения зависит головним образом от типа підшипника, его диаметра і величины предварительного натяга. Радиальная і осевая жесткости підшибників шпинделей наиболее распространенных типов приведены на рис. 21. На жесткость підшибників оказывают влияние погрешности изготовления. Неперпендикулярность торца кольца підшипника его оси може снизить осевую жесткость в 2—2,5 раза; повышенные зазоры в подшипнике существенно снижают как радиальную, так і осевую жесткость.
Предварительный натяг в підшипниках качения, используемых для опор шпинделей, необходим для повышения точності обертання і жесткости. Шариковые радиально-упорные і конические роликовые підшипники при сборке устанавливаются попарно з предварительным натягом.
Каталог справочник токарно-винторезных верстатів і их аналогов
Схеми та паспорти до токарно-гвинторізних верстатів та обладнання