Виробник вертикального свердлувального верстата 2Б125 - Красномовний верстатобудівний завод ім. Фрунзе , Луганська область Кремінський р-н, с. Красноріченське.
Вертикально-свердлильний верстат 2Б125 був замінений у виробництві на більш досконалу модель 2Г125 .
Верстат універсальний вертикально-свердлильний 2Б125 , з умовним діаметром свердління 25 мм, може використовуватися на підприємствах з одиничним та дрібносерійним випуском продукції та призначені для виконання наступних операцій: свердління, розсвердлювання, зенкування, зенкерування, розгортання та підрізування торців.
Верстат складається з наступних вузлів:
До задньої частинини фундаментної плити, що є основою верстата і одночасно служить резервуаром для охолодної рідини, закріплена болтами колона жорсткої конструкції з вертикальними напрямними у формі хвоста ластівки. По направляючих колони за допомогою ггвинта підйому переміщається стіл верстата. На підставі верстата встановлений також електронасос ПА-22, що служить для подачі рідини, що охолоджує, до інструменту через гнучкий трубопровід з краном для регулювання струменя.
На передній платі колони розташований механізм подачі з вбудованим шпинделем.
У верхній частинині колони закріплений чавунний корпус, що складається з коробки швидкостей, виконаної у вигляді лівої кришки корпусу, коробки подач, виконаної у вигляді правої кришки.
На верхній частинині корпусу лівої та правої кришок змонтовано електродвигун приводу з варіатором.
Усередині колони вміщено вантаж, який служить як противага шпинделя.
Забезпечений різними додатковими пристроями, верстат може бути використаний у великосерійному та масовому виробництві.
Клас точності верстата Н.

Фото вертикально-свердлильного верстата 2Б125

Фото вертикально-свердлильного верстата 2Б125

Фото вертикально-свердлильного верстата 2Б125

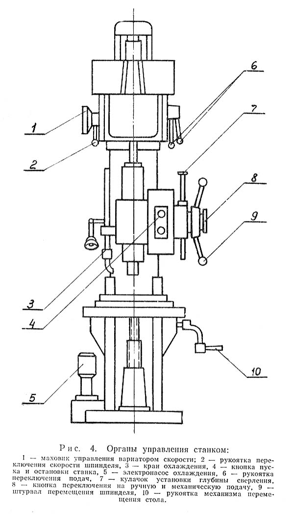
Розташування органів керування свердлильним верстатом 2Б125

Кінематична схема сверлильного верстата 2Б125
Механізми верстата получают рух от индивидуального електродвигуна типа АОЛ-2-32-4 мощностью 3 кВт, 1440 об/мин, установленного па поворотном штативе над коробкой швидкостей (см. рис. 5).
Шкив електродвигуна 1 через клиновой ремень 2 і раздвижной шкив варіатора 3 приводит во вращение промежуточный валик 4 коробки швидкостей. Для передач обертання применяется клиновой ремень типа Б длиной 1120 мм по ГОСТу 5813—51. Промежуточный валик 4, несущий на себе скользящий тройной шестеренный блок 9, через шестерни 7, 8 і 10 передает вращение пустотелой гильзе 11, по шлицевому отверстию которой свободно перемещается шлицевой конец шпинделя 14.
Механізми подачі получают рух по следующей, ланцюги: от шестерни 5, сидящей па гильзе, через паразитную шестерню 6 вращение передається на шестерню 15, насаженную наглухо на валик 16.
Свободно вращающиеся шестерни 25, 26 і 27 находятся в постоянном зацеплении з шестернями 17, 18 і 22. Шестерни 22, 23 і 24 также постоянно сцеплены з шестернями 19, 20 і 21, свободно вращающимися, в свою очередь, на втором валике.
В шпоночных канавках обоих валиков при помощи муфт перемещаются скользящие шпонки, блокирующие шестерни 25, 26 і 27, а также 19, 20 і 21, благодаря чему получается девять различных подач. От второго валика вращение передається червяку 12 і червячному колесу 13, сидящему на горизонтальном валу. Горизонтальный вал сцепляется з рейкой, нарезанной на гильзе шпинделя. Таким образом, вращательное рух всего механізма преобразуется в поступательное рух шпинделя. Шпиндель може перемещаться также і от руки при помощи штурвала, закрепленного на горизонтальном валу.
Ручной подъем і опускание ствола производятся вращением рукоятки через пару конических зубчатых колес і винтовую пару.
Масло для змазки механізмов верстата должно быть чистым і бескислотным. Механізми коробки швидкостей і коробки подач, находящиеся в одном резервуаре — корпусе коробки швидкостей, смазываются разбрызгиванием из специального червячного шнека. Приводом шнека является вал варіатора скорости.
Со шнека-насоса масло попадает на быстро вращающиеся зубчасті колеса і благодаря етому — на все рабочие поверхности механізмов коробки швидкостей і коробки подач. Для заливки в коробку швидкостей требуется 2 литра масла.
Смазка рабочих деталей механізма подачі осуществляется з помощью маслиной ванны. В кронштейн механізма подачі рекомендуется залить не менее 0,5 литра масла. При первоначальном пуске верстата необходимо масло заменить після 20..25 дней роботи, а затем менять его через три месяца.
Направляющие колонны, поверхность стола, ванны подъема, шлицевая часть шпинделя смазываются вручную ежедневно.

Коробка швидкостей сверлильного верстата 2Б125
Коробка швидкостей (рис. 6) состоит из варіатора скорости, і трехступенчатой зубчатой передачи 8, вмонтированной внутри корпуса коробки швидкостей.
Варіатор работает по принципу ременной передачи з той разницей, что, сдвигая і раздвигая конические диски 3 і 4, насаженные на промежуточный валик 2, изменяется рабочий диаметр етого шкива, а, следовательно, і передаточное отношение.
При раздвинутых дисках до отказа передаточное отношение равно 1440 х 1440 пли 1 : 1, при сдвинутых дисках отношение оборотів будет 720 х 1440 или 1 : 2.
При повороте по часовий стрелке маховика 5 з помощью червячного колеса происходит поворот штатива з укрепленным на нем електродвигуном 1.
Расстояние между осями шкивов увеличивается, в результате чего натяжением клинового ремня происходит разжатие дисков.
Постепенный переход ремня з большего на меньший диаметр раздвижного диска увеличивает обороты промежуточного вала коробки швидкостей.
При поворачивании маховика против часовий стрелки расстояние между центрами шкивов сокращается. Под нажимом пружины диски сдвигаются, Клиновый ремень переходит на периферию шкива. Обороты промежуточного вала понижаются.
Керування маховиком следует производить только при вращающемся електродвигателе. По мере износа клинового ремня нужно периодически производить регулировку натяжки ремня електродвигуна. Для етой пели необходимо отпустите гайку штатива, повернуть плиту з електродвигуном до требуемой величины, компенсирующей величины износа ремня, і затянуть гайку,
Продолжением кінематичної ланцюги изменения скорости является трехступенчатая зубчатая передача. Цель етой передачи — соблюсти необходимый диапазон регулювання і увеличить передаваемый крутящий момент до требуемой величины за счет понижения числа оборотів.
Три ступени зубчатой передачи совместно з вариатором скорости дают соотношение крайних чисел оборотів шпинделя 163:2130, или 1 : 13. Переключення шестерен осуществляется при помощи вилки і зубчатого сектора, управляемого рукояткой 6, расположенной на левой стороне корпуса коробки. Переключення шестерен производится только при выключенном електродвигателе.
Смазка деталей коробки швидкостей осуществляется разбрызгиванием масла от специального червячного шнека 7.

Коробка подач сверлильного верстата 2Б125
Механізми, коробки подач (рис, 7) выполнены в виде самостоятельного вузла в правой крышке коробки швидкостей.
Привід коробки подач осуществляется от паразитной шестерни вала варіатора.
Валик 3 в нижнем кінці имеет торцовый кулачок, который через крестовую муфточку передает вращение механізму подачі.
Вытяжные шпонки управляются рукоятками, расположенными на наружной частини правой крышки. Положение рукояток устанавливается на требуемую подачу соответственно таблице подач, укрепленной на правой стороне колонны.
Смазка механізма коробки подач осуществляется от того же червячного насоса, который смазывает механізм коробки швидкостей. Шестерня вала варіатора зацепляется з приемной шестерней коробки подач 1, закрепленной на валике 2.
В шпоночных канавках валиков 2 і 3 вмонтированы вытяжные шпонки 4 і 5. Вход вытяжных шпонок в паз зубчатых колес обеспечивается спиральными пружинами. При надобности демонтажу коробки подач нужно через спусковое отверстие слить масло из корпуса коробки швидкостей; опустить вниз по валу маслоудерживающую втулку, отвинтить для етого три крепежных гвинта. После етого снимается правая крышка вместе з механізмом коробки подач.

Механізм подачі сверлильного верстата 2Б125
Механізм подачі (рис. 8) размещен на платике передньої стенки колонны.
Передача обертання от коробки подач к червяку 1 осуществляется вертикальным валиком, соединяющим кинематические звенья коробки подач і механізма подачі. Червяк 1 находится в постоянном зацеплении з червячным колесом 2. На червячном колесе прикреплен зубчатый диск 3, Второй двухсторонний зубчатый диск 7 сидит в обойме 6, перемещающейся по валу 5. Перемещение обоймы 6 достигается поворотом муфты 12, имеющей скошенные торцовые зубья, как і на самой обойме. Поворот муфты 12 производится штурвалом 9. Зубчатый диск 7 соединяется з обоймой 6 з помощью собачек 4, прижимаемых к нему пружинами,
Ручная подача осуществляется вращением штурвала У. При етом необходимо повернуть кнопку 11 так, чтобы выступы кнопки вошли в соответствующие впадины вала 5 і муфты 12, благодаря чему вал 5, получая вращение Непосредственно от штурвала, производит перемещение стакана шпинделя. Зубчасті диски 3 і 7 при етом расцепляются пружиной і на червячное колесо 2 вращение вала 5 не передається.
Механическая подача включается поворотом штурвала, причем предварительно необходимо включить кнопку 11, повернув її на 90°.
Вращение червяка 1, червячного колеса 2, зубчатых дисков 3 і 7, обоймы 6, вала 5 передається стакану шпинделя.
Для отключения автоматичною подачі на ходу достаточно удержать штурвал 9, вместе з которым остановится муфта 12, имеющая возможность повернуться относительно вала 5. При етом обойма 6 отжимается осевой силой, возникающей благодаря наклону зубцов дисков, а также усилием пружины.
При механической подаче можно производить ускоренную ручную подачу (опережение).
Автоматическое вимкнення подачі при заданной глубине сверления осуществляется упором 8, устанавливаемым в соответствующем положении на круглой рейке 10.
Смазка деталей механізма подачі осуществляется заполнением масляного резервуара в кронштейне подачі до отмеченного уровня.

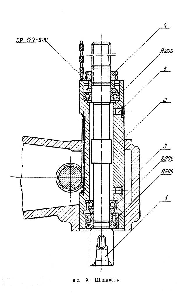
Шпиндель сверлильного верстата 2Б125
Шпиндель 1 (рис. 9) вращается в шариковых підшипниках № А206.
Осевые зусилля подачі воспринимаются упорным подшипником № 8206, вмонтированным в стакан 2 у нижней опори шпинделя.
Регулювання підшибників шпинделя производится путем подтягивания гайки 4, расположенной над верхней опорой шпинделя.
Противовесом шпинделя является чугунный груз, помещенный внутри колонны верстата і соединенный со стаканом шпинделя велосипедной ланцюгю (ПР-12,7—900 ГОСТ 10947-64).
Смазка підшибників шпинделя производится солидолом при помощи шприца через две масленки 3.

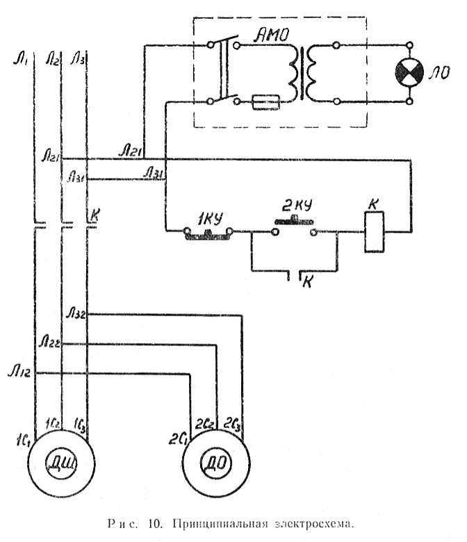
Електрична схема сверлильного верстата 2Б125
Питание електросхеми верстата осуществляется от сети переменного трехфазного тока напряжением 380 вольт.
Подключение електроаппаратов керування і роботи верстата выполнено в соответствии з принципиальной електросхемой (рис. 10).
На станке установлено следующее електрообладнання:

Настановне креслення сверлильного верстата 2Б125
| Наименование параметра | 2Б125 | 2Г125 |
|---|---|---|
| Основні параметри верстата | ||
| Наибольший диаметр сверления в стали 45, мм | 25 | 25 |
| Наибольший диаметр нарізання різьби в стали 45, мм | 24 | |
| Наименьшее і наибольшее расстояние от торца шпинделя до стола, мм | 700 | 75..700 |
| Расстояние от оси вертикального шпинделя до направляючих стойки (вылет), мм | 250 | 260 |
| Рабочий стол | ||
| Розміри рабочей поверхности стола, мм | 400 х 350 | 400 х 450 |
| Число Т-образных пазов Розміри Т-образных пазов | 3 | 3 |
| Наибольшее вертикальное перемещение стола (ось Z), мм | 400 | 425 |
| Шпиндель | ||
| Наибольшее перемещение (ход) шпинделя, мм | 200 | 200 |
| Перемещение шпинделя на одно деление лимба, мм | ||
| Частота обертання шпинделя, об/мин | 165..2130 | 63..2000 |
| Количество швидкостей шпинделя | 3 х Б/С | 16 х Б/с |
| Наибольший допустимый крутящий момент, Нм | ||
| Конус шпинделя | Морзе 3 | Морзе 3 |
| Механіка верстата | ||
| Число ступеней рабочих подач шпинделя | Б/с | Б/с |
| Пределы вертикальних рабочих подач на один оборот шпинделя, мм | 0,104...0,837 | 0,1...1,6 |
| Наибольшая допустимая сила подачі, кН | 9 | 9 |
| Динамическое торможение шпинделя | ||
| Привод | ||
| Електродвигун приводу головного руху, кВт (об/мин) | 3,0 (1430) | 2,2 |
| Электронасос охлаждающей жидкости Тип | ПА-22 | |
| Габарит верстата | ||
| Габарити верстата, мм | 950 х 650 х 2460 | 730 х 910 х 2105 |
| Масса верстата, кг | 880 | 750 |