Виробник вертикальних свердлильних верстатів моделі 2Г125 - Красномовний верстатобудівний завод ім. Фрунзе , Луганська область Кремінський р-н, с. Красноріченське.
Верстат вертикально-свердлильний 2Г125 замінив у виробництві застарілу модель 2Б125
Верстат універсальний вертикально-свердлильний 2Г125 , з умовним діаметром свердління 25 мм, використовується на підприємствах з одиничним та дрібносерійним випуском продукції та призначені для виконання наступних операцій: свердління, розсвердлювання, зенкування, зенкерування, розгортання та підрізування торців ножами.
Межі чисел оборотів та подач шпинделя дозволяють обробляти різні види отворів на раціональних режимах різання.
Наявність на верстатах 2Г125 механічної подачі шпинделя при ручному керуванні циклами роботи.
Допускає обробку деталей у широкому діапазоні розмірів з різних матеріалів з використанням інструменту з високовуглецевих та швидкорізальних сталей та твердих сплавів.
Верстати 2Г125 забезпечені пристроєм реверсування електродвигуна головного руху, що дозволяє робити на них нарізування різьблення машинними мітчиками при ручній подачі шпинделя.
У верстаті передбачено автоматичне відключення подачі під час досягнення необхідної глибини обробки, а також автоматичне реверсування шпинделя при нарізанні різьблення.
Клас точності верстата Н.
Шорсткість обробленої поверхні при свердлінні Rz 40.
Категорія розміщення 4 за ГОСТ 15150-69.
Розробник – Одеське спеціальне конструкторське бюро спеціальних верстатів (СКБРС).
МН25Н-01 - Ø20 - виробник Молодечненський верстатобудівний завод МСЗ, РУП
2Н125Л, МН25Л - Ø25 - виробник Молодечненський верстатобудівний завод МСЗ, РУП
2Т125 - Ø25 - виробник Гомельський завод верстатних вузлів, РУП
Z4025-2 - Ø25 - виробник Guangzhou Pearl River Machine Tool Works Co., Ltd Китай
Z5025-1A, Z5025-1B, Z5025-3A, Z5025-3B - Ø25 - виробник Guangzhou Pearl River Machine Tool Works Co., Ltd Китай

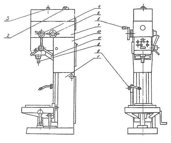
Габарит робочого простору свердлильного верстата 2г125

Фото свердлильного верстата 2г125

Розташування складових частинин свердлильного верстата 2г125

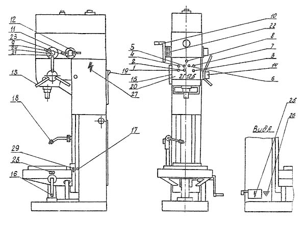
Розташування органів керування свердлильним верстатом 2г125

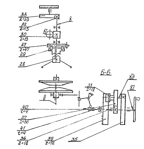
Кінематична схема свердлильного верстата 2г125

Електрична схема свердлильного верстата 2Г125
Електрична схема свердлувального верстата 2Г125. Дивитись у збільшеному масштабі
| Найменування параметру | 2B125 | 2G125 |
|---|---|---|
| Основні параметри верстата | ||
| Найбільший діаметр свердління сталі 45, мм | 25 | 25 |
| Найбільший діаметр нарізування різьблення сталі 45, мм | 24 | |
| Найменша та найбільша відстань від торця шпинделя до столу, мм | 700 | 75..700 |
| Відстань від осі вертикального шпинделя до направляючих стійки (виліт), мм | 250 | 260 |
| Робочий стіл | ||
| Максимальне навантаження на стіл (по центру), кг | ||
| Розміри робочої поверхні столу, мм | 400 x 350 | 400 х 450 |
| Число Т-подібних пазів Розміри Т-подібних пазів | 3 | 3 |
| Найбільше вертикальне переміщення столу (вісь Z), мм | 400 | 425 |
| Шпиндель | ||
| Найбільше переміщення (хід) шпинделя, мм | 200 | 200 |
| Переміщення шпинделя на один поділ лімба, мм | ||
| Частота обертання шпинделя, об/хв | 165..2130 | 63..2000 |
| Кількість швидкостей шпинделя | 3 х Б/С | 16 х Б/с |
| Найбільший допустимий момент, що крутить, Нм | ||
| Конус шпинделя | Морзе 3 | Морзе 3 |
| Механіка верстата | ||
| Число ступенів робочих подач шпинделя | Б/с | Б/с |
| Межі вертикальних робочих подач на один оборот шпинделя, мм | 0,104...0,837 | 0,1...1,6 |
| Найбільша допустима сила подачі, кН | 9 | 9 |
| Динамічне гальмування шпинделя | ||
| Привід | ||
| Електродвигун приводу головного руху, кВт (об/хв) | 3,0 (1430) | 2,2 |
| Електронасос охолоджувальної рідини | ПА-22 | |
| Стендовий калібр | ||
| Габарити верстата, мм | 950 х 650 х 2460 | 730 х 910 х 2105 |
| Маса верстата, кг | 880 | 750 |