Виробник настільного свердлувального верстата моделі 2Н115пм - Навчально-виробничі майстерні Пермського механічного технікуму ім. Слов'янова .
Свердлильний настільний верстат 2Н115ПМ призначений для свердління отворів та нарізування різьблення в дрібних деталях з чавуну, сталі, кольорових сплавів та неметалічних матеріалів в умовах промислових підприємств, ремонтних майстерень та побутових майстерень.
Свердлильний верстат 2Н115ПМ дозволяє виконувати наступні операції:
Відлік глибини свердління провадиться за плоскою шкалою або упором.
Оригінальна конструкція натягу ремінної передачі дозволяє швидко змінювати положення ременя на шківах для отримання потрібної швидкості різання.
Шпиндель свердлильного верстата 2Н115ПМ отримує 7 швидкостей обертання від 4-ступінчастиних шківів приводу, що забезпечує вибір швидкостей різання в діапазоні від 500 до 4000 об/хв.
Кінець шпинделя – зовнішній укорочений конус морзе КМ2, позначення В18 за ГОСТ 9953 (Конуси інструментальні укорочені) – конус укорочений: D = 17,780 мм, довжина конуса 37,0 мм.
Укороченому конусу В18 відповідає свердлильний трикулачковий патрон 16-го типорозміру за ГОСТ 8522 (Патрони трикулачкові свердлильні) з діапазоном затиску від 3 до 16 мм.
Приклад умовного позначення свердлильного 3-х кулачкового патрона, типорозміру 16, з конусним приєднувальним отвором В18:
Патрон 16-Б18 ГОСТ 8522-79
Розробник – Молодечненський верстатобудівний завод МСЗ.
Виробник – Навчально-виробничі майстерні Пермського механічного технікуму ім. Слов'янова.
Параметри верстата відповідають - ТУ2-024-730 від 2.03.1967 р. та ГОСТ 8-53.
Конус інструментальний - Конус Морзе - одне з найбільш застосовуваних кріплень інструменту. Був запропонований Стівеном А. Морзе приблизно 1864 року.
Конус Морзе підрозділяється на вісім розмірів - від КМ0 до КМ7 (англійською: MT0-MT7, німецькою: MK0-MK7).
Стандарти на конус Морзе: ГОСТ 25557 (Конуси інструментальні. Основні розміри), ISO 296, DIN 228. Конуси, виготовлені за дюймовими та метричними стандартами, взаємозамінні у всьому, крім різьблення хвостовика.
Для багатьох застосувань довжина конуса Морзе виявилася надмірною . Тому було введено стандарт на дев'ять типорозмірів укорочених конусів Морзе (B7, B10, B12, B16, B18, B22, B24, B32, B45), ці розміри отримані видаленням більш товстої частинини конуса. Цифра позначення короткого конуса — діаметр товстої частинини конуса в мм.
Російський стандарт на укорочені конуси ГОСТ 9953 Конуси інструментів укорочені .
Російський стандарт на свердлильні патрони ГОСТ 8522 Патрони свердлильні трикулачні .
Де D – діаметр конуса в основній площині.

Габаритні розміри робочого простору верстата 2н115пм

Посадочні місця та приєднувальні розміри свердлильного верстата 2н115пм

Фото свердлильного верстата 2н115пм
Фото свердлильного верстата 2н115пм. Дивитись у збільшеному масштабі

Фото свердлильного верстата 2н115пм
Фото свердлильного верстата 2н115пм. Дивитись у збільшеному масштабі

Фото свердлильного верстата 2н115пм
Фото свердлильного верстата 2н115пм. Дивитись у збільшеному масштабі

Фото свердлильного верстата 2н115пм
Фото свердлильного верстата 2н115пм. Дивитись у збільшеному масштабі

Розташування органів керування свердлильним верстатом 2н115пм
Розташування органів керування свердлильним верстатом 2н115пм. Дивитись у збільшеному масштабі

Кінематична схема свердлильного верстата 2Н115пм
Кінематична схема свердлильного верстата 2Н115пм. Дивитись у збільшеному масштабі

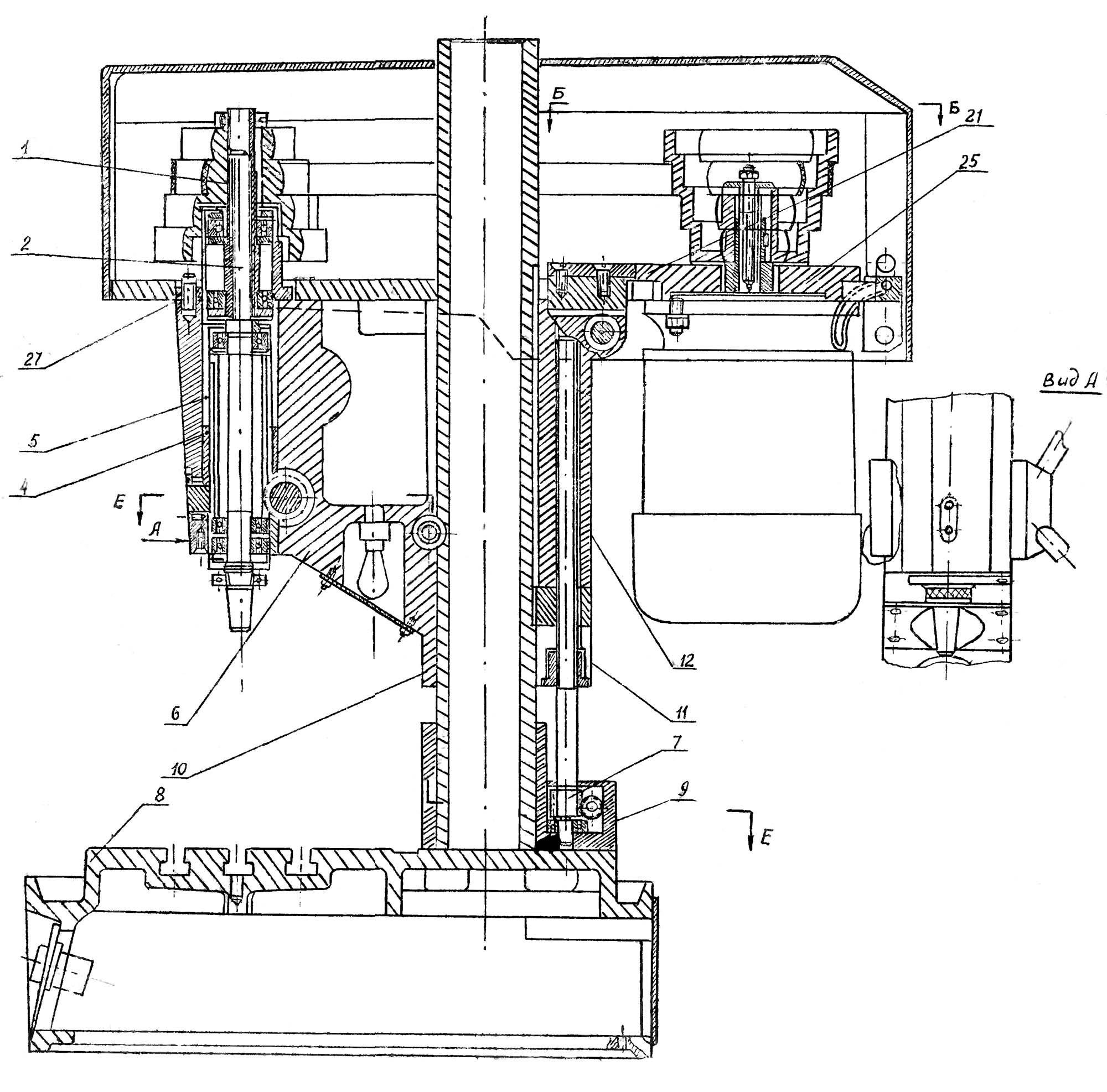
Шпиндельна бабка свердлильного верстата 2Н115пм
Шпиндельна бабка свердлильного верстата 2Н115пм. Дивитись у збільшеному масштабі

Шпиндельна бабка свердлильного верстата 2Н115пм
Шпиндельна бабка свердлильного верстата 2Н115пм. Дивитись у збільшеному масштабі
| Найменування параметру | 2M112 | 2H112 | 2H115 вечора |
|---|---|---|---|
| Основні параметри верстата | |||
| Найбільший умовний діаметр свердління, мм | 12 | 12 | 15 |
| Найменша та найбільша відстань від торця шпинделя до столу | 0...400 | 70..420 | 70..520 |
| Відстань від осі вертикального шпинделя до направляючих стійки (виліт), мм | 190 | 160 | 160 |
| Робочий стіл | |||
| Ширина робочої поверхні столу, мм | 250 х 250 | 250 х 250 | 250 х 250 |
| Число Т-подібних пазів | 3 | 3 | 3 |
| Шпиндель | |||
| Найбільше переміщення шпиндельної (свердлувальної) головки по колоні, мм | 250 | 350 | |
| Хід гільзи шпинделя, мм | 100 | 100 | 100 |
| Частота обертання шпинделя, об/хв | 450, 800, 1400, 2500, 4500 | 500, 710, 1000, 1400, 2000, 2800, 4000 | 500, 710, 1000, 1400, 2000, 2800, 4000 |
| Кількість швидкостей шпинделя | 5 | 7 | 7 |
| Конус шпинделя | Морзе В18 | Морзе В18 | Морзе В18 |
| Привід | |||
| Електродвигун приводу головного руху, кВт (об/хв) | 0,55 | 0,6 (1350) | 0,8 (1350) |
| Габарит та маса верстата | |||
| Габарити верстата (довжина ширина висота), мм | 795 х 370 х 950 | 785 х 465 х 795 | 785 х 465 х 895 |
| Маса верстата, кг | 120 | 120 | 130 |