Виробником універсального заточувального верстата 3В641 - Читинський верстатобудівний завод , заснований у 1957 році.
Завод виробляв таке обладнання:
Універсальний заточувальний верстат 3В641 призначений для заточування та доведення основних видів різальних інструментів абразивними та алмазними колами основних видів ріжучого інструменту: різців, фрез, зенкерів тощо з інструментальної сталі, твердого сплаву, металокераміки абразивними, алмазними та ель.
Верстат 3В641 може бути застосований в одиничному, дрібносерійному та серійному виробництві.
Заточування та шліфування інструментів здійснюється за допомогою пристроїв, що входять до комплекту верстата або поставляються за окрему плату. Додатково на верстати можна поставити:
Верстати мають такі основні вузли: станину, колону, супорт, шліфувальну головку, механізм підйому шліфувальної головки, планетарний редуктор, систему охолодження.
Універсально-заточним верстатом моделі 3В641 можна користуватися для заточування інструментів алмазними та звичайними шліфувальними колами з охолодженням та без охолодження. Для заточування твердосплавного інструменту застосовують шліфувальні круги з карбіду кремнію або алмазні тих самих розмірів та форми.
Для захисту від розбризкування охолоджувальної рідини та відведення її в бак використовують спеціальну огорожу.
Область використання універсально-заточувальних верстатів розширюється пристроями, що додаються до них:
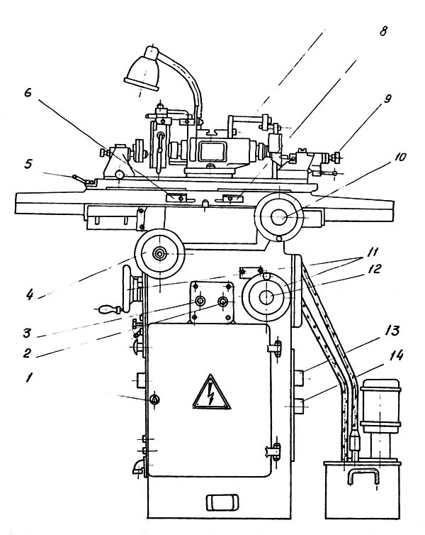
Верстат виконаний з вертикальним переміщенням шліфувальної головки, з поздовжнім та поперечним переміщенням столу та нижнім розташуванням приводу шпинделя.
Усі механізми верстата змонтовані всередині станини та на її верхній площині. Робоче місце залежно від характеру роботи може бути або попереду верстата, або зліва.
Пиловідведення призначене для відсмоктування пилу. Сопло та металорукав пилососа встановлюють на кронштейні, закріпленому на корпусі шліфувальної головки, після чого його підводять до шліфувального круга.
Для зручності роботи є три змінні сопла різних конструкцій. Пиловідведення поставляється в комплекті зі верстатом, а пилосос - на особливе замовлення.
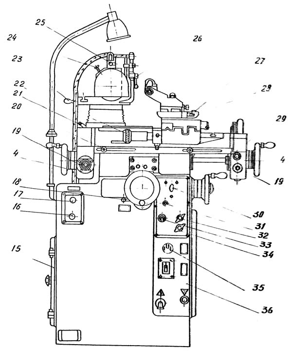
Верстат виконаний з вертикальним переміщенням шліфувальної головки, з поздовжнім та поперечним переміщенням столу та нижнім розташуванням приводу шпинделя. Усі механізми верстата змонтовані всередині станини та на її верхній площині (рис. 2).
Робоче місце залежно від характеру роботи може бути або попереду верстата, або зліва. Відповідно до цього розміщені органи керування.
Верстати універсально заточувальні 3В641 мають литу чавунну станину, це підвищує точність обробки і зменшує коливання, викликані при обробці деталі.
Пристосування, що встановлюються на верхній площині поворотного столу, закріплюються за допомогою болтів із Т-подібними головками.
Як видно з переліку пристроїв, на верстатах можна проводити, крім заточувальних операцій, також зовнішнє, внутрішнє та плоске шліфування.
Кліматичне виконання та категорія розміщення верстатів, окремо розташованого обладнання та приладдя відповідає ГОСТ 15150-69 для поставки в райони:
з помірним кліматом – УХЛ4;
Клас точності верстата - П. Шорсткість обробленої поверхні V8-V10.

Габаритні розміри робочого простору верстата 3в641

Загальний вигляд універсально-заточувального верстата 3-641

Розташування органів керування универсально-заточным 3в641

Розташування органів керування универсально-заточным 3в641

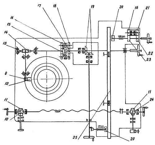
Кінематична схема универсально-заточного верстата 3в641

Кінематична схема универсально-заточного верстата 3в641
Кинематические ланцюги осуществляют наступні рабочие і установочные руху:
Вращение шпинделя шлифовальной головки производится от двухскоростного електродвигуна мощностью 0.6/0,85 кВт з числом оборотів 1400 і 2700 в минуту. Установленный на валу електродвигуна шкив имеет четыре ручья. Вращение от електродвигуна на шпиндель шлифовальной головки передається клиновым і плоским ремнями.
Продольное перемещение стола осуществляется вручную з двух рабочих мест — переднего і бокового. С переднего робочого места производится медленное продольное перемещение стола шестерней 20 через планетарный механізм, состоящий из шестерен 16, 21, 22 і 23; з бокового робочого места — быстрое продольное перемещение стола.
Поперечное перемещение стола происходит при помощи ходового гвинта 4, перемещающегося вместе со столом относительно закрепленной в станине гайки 8. При помощи зубчатых колес 10. 11, 24 возможно более медленное, тонкое поперечное перемещение стола, применяемое головним образом для подачі при заточке. С переднего робочого места предусмотрена также возможность толчковой поперечної подачі.
Вертикальное перемещение шлифовальной головки производится подъемом і опусканием колонны. Это перемещение осуществляется з переднего і бокового рабочих мест. Вращение от маховичков через коническую пару 19 передається на планетарный механізм, состоящий из шестерен 15, 16, 17 і 18, а от него на червячную передачу 13, 14. От червячного колеса вращение через шестерню 9 передається на рейку 12. укрепленную на гильзе несущей колонны. Вертикальное перемещение колонны може осуществляться быстро і медленно при помощи увімкнення і отключения планетарного механізма.

Електрична схема универсально-заточного верстата 3в641
На станке применяются наступні величины напряжений переменного тока з частотой 50 Гц:
Питание електродвигателей охлаждения, приспособления і пылесоса осуществляется через соответствующие штепсельные соединения.
Рабочее место освещается светильником з гибкой стойкой з лампой Л1 МО 24X25.
Ввод питающих проводов должен быть осуществлен проводом з сечением 1,5 мм² черного цвета для линейных і зеленого цвета - для заземления.

Настановне креслення универсально-заточного верстата 3в641
| Наименование параметра | 3В642 | 3В641 |
|---|---|---|
| Основні параметри | ||
| Класс точності по ГОСТ 8-82 | П | П |
| Наибольшие розміри обрабатываемых изделий в центрах (длина х диаметр), мм | 630 х 250 | 400 х 160 |
| Расстояние между центрами универсальной і задньої бабок, мм | 550 | |
| Расстояние между осью шлифовального круга і линией центров в горизонтальной плоскости, мм | 70..300 | 60..230 |
| Расстояние между осью шлифовального круга і линией центров в вертикальной плоскости, мм | 65..185 | 50..255 |
| Рабочий стол верстата | ||
| Розміри рабочей поверхности стола по ГОСТ 6569-75 (длина х ширина), мм | 1900 х 140 | 1095 х 100 |
| Наибольшее продольное/ поперечное ручное перемещение стола, мм | 450/ 230 | 280/ 170 |
| Перемещение продольное/ поперечное стола на одно деление лимба, мм | 0,1/ 0,01 | 0,1/ 0,01 |
| Перемещение поперечное стола на одно деление тонкой подачі, мм | 0,0025 | 0,0025 |
| Угол поворота стола в горизонтальной плоскости, град | ±45 | ±45 |
| Бабка шлифовальная | ||
| Наибольшее вертикальное перемещение бабки, мм | 250 | 205 |
| Цена деления лимба подачі вертикального переміщення стола, мм | 0,005 | 0,005 |
| Угол поворота бабки в горизонтальной плоскости, град | 350 | 350 |
| Шлифовальная головка | ||
| Число оборотів заточного круга при ступенчатом регулировании, об/мин | 2240, 3150, 4500, 6300 | 1120, 1600, 2240, 3150 4500, 6300, 9000 |
| Кінець шлифовального шпинделя по ГОСТ 2324-77 виконання 2 | Морзе 3 | Морзе 4 |
| Найбільший діаметр шліфувального круга, що встановлюється, мм | 200 | 150 |
| Найбільший діаметр встановлюваного шліфувального кола інших типів, мм | 150 | 125 |
| Універсальна головка | ||
| Розмір внутрішніх конусів шпинделів | Морзе 5 | Морзе 4 |
| Кут повороту в горизонтальній та вертикальній областях, град | 360 | 360 |
| Електроустаткування та привід верстата | ||
| Кількість електродвигунів на верстаті | 4 | 4 |
| Електродвигун приводу шпинделя шліфувальних кругів, кВт | 1,5/ 1,1 | 0,6/ 0,85 |
| Електродвигун приводу виробу, кВт | 0,25 | 0,18 |
| Електродвигун насоса охолодження, кВт | 0,125 | 0,125 |
| Електродвигун пилососа, кВт | 0,125 | 0,6 |
| Загальна встановлена потужність усіх електродвигунів, кВт | 1,795 | |
| рід струму мережі живлення | 50Гц, 380/220 В | 50Гц, 380 В |
| Габарити та маса верстата | ||
| Розміри машини, мм | 2050 х 1820 х 1550 | 1375 х 1260 х 1410 |
| Маса верстата, кг | 1250 | 790 |
Той, хто не дивиться вперед, виявляється позаду.
Г. Уеллс