metalinstryment.com
Довідник по металорізальних верстатів та пресовому обладнанні

5Д07 Верстат резьбонарезной напівавтомат
опис, характеристики, схеми

5993 общий вигляд резьбонарезного верстата







Відомості про виробника резьбонарезного верстата 5Д07

Производителем резьбонарезного верстата 5Д07 - Читинский станкостроительный завод, основанный в 1957 году.

Завод производил следующее обладнання:





Верстати, выпускаемые Читинским станкостроительным заводом


5Д07 Верстат резьбонарезной напівавтомат. Загальні відомості

Резьбонарезной верстат напівавтомат 5Д07 предназначен для нарізання наружной цилиндрической різьби вращающимися резьбонарезными головками на обработанных (головками типов КА ГОСТ 21760—76 і головками типа Т) і необработанных (головками типа Т) заготовках стержней, труб, болтов і т. п.

Конструкція резьбонарезного напівавтомату 5Д07 напівавтомату напоминает токарний верстат упрощеной конструкції без задньої бабки і кареткой вместо суппорта.

Резьбонарезной верстат 5ДО7 выпускается Читинским станкостроительным заводом і является резьбонарезным напівавтоматом, в котором, кроме ручной установки і съема вироби, все операции механизированы.

Принцип роботи і особливості конструкції верстата

Верстат 5Д07 укомплектован резьбонарезной головкой МИЗ (Московского инструментального завода). Конструкція резьбонарезной головки МИЗ описана на ВМС-2А.


Принцип резьбонарізання плашкми резьбонарезного верстата 5Д07

Принцип резьбонарізання плашкми


Верстат состоит из следующих вузлів:

Розташування складових частин резьбонарезного станк 5Д07

Розташування основних вузлів резьбонарезного верстата 5Д07


  1. електрообладнання
  2. вводный пакетный переключатель
  3. станина
  4. переключатель ланцюги освещения
  5. кнопка «пуск» гідропривода
  6. кнопка «пуск» шпинделя
  7. кнопка «общий стоп» верстата
  8. сигнальная лампа гідросистемы
  9. сигнальная лампа вводного переключателя
  10. рукоятка відомості і разведения плашек резьбонарезной головки
  11. рукоятки налаштування частоти обертання шпинделя
  12. коробка швидкостей
  13. охолодження
  14. супорт і зажимное пристрій
  15. тяга керування ходом суппорта
  16. рукоятка керування подачі суппорта
  17. рукоятка налаштування зажимного пристроя
  18. упоры ограничения ходу суппорта і керування циклом роботи верстата
  19. упоры ограничения ходу суппорта і керування циклом роботи верстата
  20. рукоятка керування зажимным пристрійм
  21. механізм налаштування увімкнення рабочей подачі суппорта
  22. отсек гідропривода
  23. рукоятка налаштування давления зажиму заготовки
  24. рукоятка налаштування давления разжима

Резьбонарезной напівавтомат 5Д07 работает следующим образом:

Заготовку вручную устанавливают в тисках зажимного пристроя і при повороте рукоятки в положение «зажим» закрепляют в нем. Для минимального ходу зажимных губок заготовку загружают з торца зажимного пристроя.

С поворотом рукоятки 16 в положение «вперед» супорт з изделием получает ускоренное рух по направлению к резьбонарезной головке і при подходе к ней за счет соответствующей установки кулачка автоматически переключается на рабочую подачу.

После того как плашки резьбонарезной головки захватят заготовку, резьба нарезается самозатягиванием за счет ввинчивания вироби в головку.

Для нарезании різьби нужной длины закрепляют упор на тяге. После наезда на него суппорта тяга открывает плашки.

После нарізання різьби требуемой длины, плашки резьбонарезной головки автоматически раскрываются і одновременно супорт автоматически отводится назад в исходное положение.

В кінці своего ходу, определяемого установкой упора, супорт автоматически закрывает плашки резьбонарезной головки, подготавливая її к нарезанию очередного вироби.

При повороте рукоятки 20 в положение «разжим» тиски зажимного пристроя раскрываются, після чего готовое изделие снимают.

При необходимости раскрыть і закрыть плашки резьбонарезной головки можно вручную з помощью рукоятки 10. При ручном управлении для нарізання різьби следует повернуть рукоятку 16 влево в положение «вперед», в результате чего супорт з изделием получит поступательное рух к резьбонарезной головке. Затем при повороте рукоятки 10 влево происходит раскрытие резьбонарезной головки і при етом супорт автоматически отходит назад. Останавливают супорт в исходном положении поворотом рукоятки 10 вправо, при етом резьбонарезная головка закроется, і супорт остановится.





5Д07 Загальний вигляд резьбонарезного верстата

Загальний вигляд  резьбонарезного верстата 5Д07

Фото резьбонарезного верстата 5Д07


Розташування складових частин резьбонарезного верстата 5Д07

Розташування складових частин резьбонарезного станк 5Д07

Розташування основних вузлів резьбонарезного верстата 5Д07

Розташування складових частин резьбонарезного верстата 5Д07. Дивитись у збільшеному масштабі



Верстат резьбонарезной 5Д07 (рис. 33) состоит из:





5Д07 Кінематична схема резьбонарезного верстата

Кінематична схема резьбонарезного станк 5Д07

Кінематична схема резьбонарезного верстата 5Д07

Кінематична схема резьбонарезного верстата 5Д07. Дивитись у збільшеному масштабі



На рис. 37 показана кінематична схема верстата 5Д07.

Вращение от електродвигуна передається на шкив клиноременной передачи 57, посаженный на первом валу 58 коробки швидкостей, на котором нерухомо посажена также шестерня 59 і блок двух шестерен 60 і 61. На втором валу 62 на призматической шпонке посажен блок из трех шестерен — 63, 64, 65 і блок из двух шестерен 66 і 67. На третьем валу коробки швидкостей нерухомо сидит блок из двух шестерен 68 і 69 і резьбонарезная головка 70. Блоки шестерен, сидящие на втором валу на призматических шпонках, могут под действием рычагов 71 і 72 двигаться вправо і влево і вводить в зацепление ту или иную пару шестерен. Перерух рычагов 71 і 72 управляется рукоятками 3 і 4 (см. рис. 33).

В зависимости от положения рукояток 3 і 4 (рис. 33) резьбонарезная головка получает одну из шести швидкостей обертання.

Переключення швидкостей, а следовательно, повороты рукояток 3 і 4 можно производить только при полной остановке верстата.


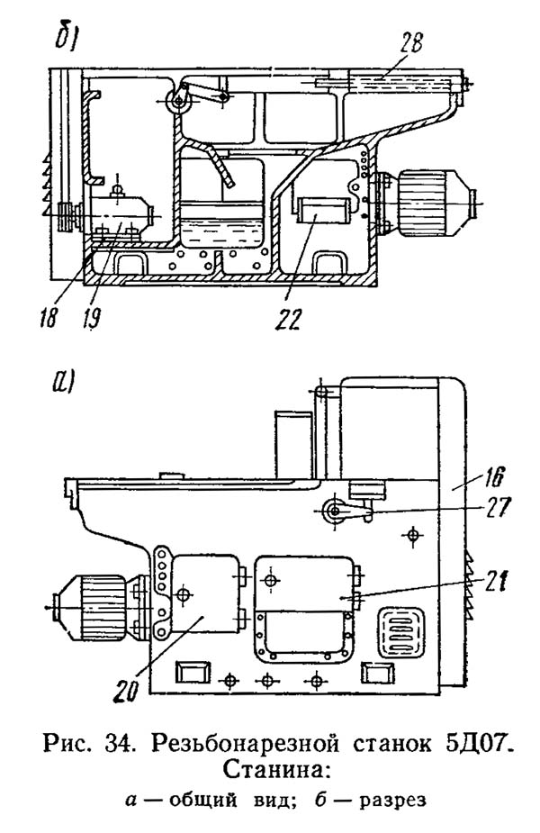
Пристрій резьбонарезного верстата 5Д07

Станина резьбонарезного верстата

Станина резьбонарезного верстата 5Д07

Станина резьбонарезного верстата 5Д07

Основной деталью верстата является станина (рис. 34, а, б). Она представляет собой чугунную отливку коробчатой формы. На левой верхней частини станины крепится коробка швидкостей з резьбонарезной головкой, а на правой верхней частини имеются направляющие, по которым перемещается супорт з зажимным пристрійм. На станине смонтированы все вузли і механізмы верстата (рис. 34, а).

В левом отсеке станины установлен на качающейся плите 18 електродвигатель 19, приводящий через клиноременную передачу в рух коробку швидкостей.

В правом отсеке станины смонтирован гідропривід верстата. Для доступа к гідроприводу служит крышка 20.

Средний отсек станины разделен поздовжньої стенкой, которая образует две полости. Передня представляет собой електрошкаф, закрытый крышкой 15, а задня полость служит резервуаром для охлаждающей жидкости, здесь же монтируется електронасос охлаждения. Доступ в резервуар для осмотра осуществляется через крышку 21. Залив масла в бак гідроприводу проводится через ванночку 22 (рис. 34, б). Слив масла из гідробака і резервуара охлаждения производится через выводные трубки в нижней частини станины. Уровень масла, а также емульсии в гідробаке поддерживается по маслоуказателям.

На тяге 23 (рис. 33) размещены упоры 24, 25, 26, служащие для керування автоматическим переміщенням суппорта. Тяга 23 связана со ступицей рукоятки 5, управляющей открытием і закрытием резьбонарезной головки. На втором кінці оси рукоятки 5 насажен упор, обеспечивающий нажатием на плунжер гідравлічного аппарата остановку суппорта в заданном положении. Упор 26 і палец 27 управляют реверсом суппорта після раскрытия резьбонарезной головки. Между направляющими станины смонтирован цилиндр 28 подачі суппорта.

5Д07 Коробка швидкостей резьбонарезного верстата

Коробка швидкостей резьбонарезного верстата 5Д07

Коробка швидкостей резьбонарезного верстата 5Д07

Коробка швидкостей резьбонарезного верстата 5Д07. Дивитись у збільшеному масштабі



Верстат снабжен трехваловой коробкой швидкостей (рис. 35), которая обеспечивает шесть швидкостей обертання шпинделя 29. Фланец 30 шпинделя служит для установки на нем резьбонарезной головки. Блоки шестерен передвигаются вдоль валов по призматическим шпонкам в зависимости от положения рукояток 3 і 4. Палец з роликом для переруху шестерни рукояткой 3 виден на сечении А—А. Хомут 31 з гвинтами 32 служит для раскрытия і закрытия резьбонарезной головки. Хомут 31 связан через рычаги з рукояткой 5 (рис. 33).

Внутренняя полость коробки швидкостей представляет собой резервуар для масла, уровень которого контролируется по маслоуказателю 33.

Смазку коробки швидкостей осуществляют плунжерным насосом 34 через распылитель 35. Плунжерный насос работает от ексцентрика 36. Залив масла производится через фильтр 37, слив — через штуцер 38.

5Д07 супорт резьбонарезного верстата

Суппорт резьбонарезного верстата 5Д07

Суппорт резьбонарезного верстата 5Д07

Суппорт резьбонарезного верстата 5Д07. Дивитись у збільшеному масштабі



На рис. 36 показан супорт і зажимное пристрій. Суппорт перемещается по направляющим станины з помощью гідроцилиндра 28 (см. рис. 34), смонтированного между направляющими станины. На передньої частини суппорта имеется зажимное пристрій типа самоцентрирующих тисков.

В направляючих губкодержателя перемещаются з помощью гвинта 39, имеющего правую і левую резьбу, губки 40 з зажимными плашками 41. Привід обертання гвинта осуществляется от гідроцилиндра 42 з двумя плунжерами і рейкой 43. Под давлением масла, поступающего на один из торцов плунжера, рейка через шестерню 44 і муфту 45 поворачивает винт, зажимая вироби. При изменении направления потока масла происходит разжим вироби.

Верстати могут работать і з ручным приводом зажиму тисков от маховика, насаженного на конец гвинта 39.

Для налаштування зажимного пристроя в зависимости от диаметра нарезаемого вироби (изменения места ходу губок) служит рукоятка 46, которая через тягу 47 і вилки 48 і 49 производит вимкнення муфты 45, отключая таким образом винт от рейки гідропривода.

Штанга 50, закрепленная в стойке 51, служит упором, обеспечивающим установку всей партии нарезаемых изделий в одном і том же положении. При необходимости (при нарезании длинных изделий) упор може быть отведен «а 90°, для етого нужно отжать гайку 52.

Контроль давления в системе при зажатии вироби производится манометром 53. Суппорт соединяется з приводным гідроцилиндром на станине через планку 54. Масло в цилиндр подается через крышку 55 гибким шлангом. Кулак 56 служит для автоматичного переключения ускоренной подачі суппорта на рабочую. Охлаждающая жидкость подается в зону нарізання різьби насосом з самостоятельным електродвигуном, «вмонтированным внутри станины через систему труб і наконечник 7 (см. рис. 33). Уровень жидкости в резервуаре контролируется по указателю.





5Д07 Схема гідравлічна принципова резьбонарезного верстата

Схема гідравлічна резьбонарезного верстата 5Д07

Гідравлічна схема резьбонарезным верстатом 5Д07

Схема гідравлічна принципова резьбонарезного верстата 5Д07. Дивитись у збільшеному масштабі



Гідропривід верстата осуществляет зажим і разжим вироби, подачу «вперед» і возврат суппорта. Гідропривід размещен в правом отсеке станины. Органы керування гідроприводом расположены на гідропульті, смонтированном на специальной крышке передньої стенки станины. Лопастной насос гідроприводу через муфту получает вращение от фланцевого електродвигуна 14 (рис. 33), смонтированного на правой стенке станины. Схема пристроя гідроприводу показана на рис. 38.

Гідропривід работает следующим образом (рис. 38). Масло от насоса А по магистрали 1, через фильтр Б по магистрали 2 поступает к реверсивному золотнику В і кранам керування Д1 і Д2 (рукоятки 9 і 10 на рис. 33). Положение аппаратов, изображенных на гідросхеме, соответствует ускоренному ходу суппорта к резьбонарезной головке з зажатым в тисках изделием. При етом рукоятка крана керування Д1 установлена в положение «зажим» і масло из магистрали 2 через кран керування VII і магистраль 9 поступает под один из торцов плунжера цилиндра зажимного пристроя, производя зажим вироби. Рукоятка крана керування Д2 (VIII) установлена в положение «вперед» і масло, подведенное к реверсивному золотнику (VI) по магистрали 2, поступает через проточку реверсивного золотника в магистраль 3.

Пока плунжер золотника Е1 нажат рычагом Ж, при нахождении ролика рычага X на выступе кулака 3, весь поток масла, нагнетаемого насосом, поступает через открытый золотник (I), обратный клапан золотника Е2 і магистраль 8 в бесштоковую полость цилиндра подачі, осуществляя ускоренный подвод суппорта. Как только ролик рычага Ж сойдет з выступа кулака 3, золотник Е1 (I) перекрывается, і масло може поступать в цилиндр подачі только через дроссель И (IX), который резко снижает количество поступающего масла, обеспечивая соответствующую величину рабочей подачі суппорта. В дальнейшем плашки резьбонарезной головки захватывают изделие, і нарезание різьби происходит самозатягиванием. При етом недостающий объем масла вследствие несоответствия налаштування дросселя И (IX) величине рабочей подачі, определяемой шагом плашек резьбонарезной головки, засасывается цилиндром подачі через обратный клапан К (X).

Слив масла из штоковой полости цилиндра происходит по магистрали 4 і соответствующей проточке реверсивного золотника VI.

По достижении требуемой длины нарезки супорт через упор на тяге керування раскрывает резьбонарезную головку. Одновременно упор Г, насаженный на ось рукоятки раскрытия резьбонарезной головки, отходит от плунжера золотника Е2 (II), обеспечивая открытие післяднего. В кінці раскрытия резьбонарезной головки постоянный, упор на тяге керування осуществляет з выдержкой часу, определяемой налаштуванням дросселя Л (IX) реверсивного золотника В (VI), переключение крана керування Д2 (VIII) в положение «назад». При етом масло, подведенное к крану керування Д2 (VIII), по магистрали 2 поступает в магистраль 6 под левый (на схеме) торец реверсивного золотника В (VI), перебрасывая его плунжер вправо (по схеме). Масло, подведенное по магистрали 2 к реверсивному золотнику В, поступает через магистраль 4 в штоковую полость цилиндра подачі, осуществляя отвод суппорта назад. При етом масло из бесштоковой полости цилиндра подачі через магистраль 8, открытый золотник E1 (II), обратный клапан золотника Е2 (III), магистраль 3 і проточку в реверсивном золотнике В (VI) уходит в слив.

В кінці ходу суппорта післядний через упор на тяге керування производит закрытие резьбонарезной головки. В кінці закрытия упор К производит перекрытие золотника Е2 (II), і супорт останавливается в исходном положении, где поворотом рукоятки крана керування Д1 (VII) в положение «отжим» производят разжим вироби. После установки очередного вироби цикл повторяется.

Работа на станке происходит следующим образом

При ручном зажиме закрепление детали в тисках осуществляется поворотом штурвала на винте 39 (см. рис. 36). Изделие вручную устанавливается в тисках зажимного пристроя і поворотом рукоятки 9 (см. рис. 33) в положение «зажим» жестко зажимается в нем. Для получения минимального ходу зажимных губок загрузку вироби предусмотрено производить з торца. С поворотом рукоятки 10 (рис. 33) в положение «вперед», супорт з изделием получает ускоренный подвод к резьбонарезной головке. При достижении заданного положения срабатывает кулачок 26, в результате чего происходит автоматическое переключение ускоренной подачі на рабочую.

После того как плашки головки захватят изделие, нарезание різьби происходит самозатягиванием за счет ввинчивания вироби в резьбонарезную головку.

По достижении требуемой длины нарезки, устанавливаемой упором 24 на тяге 23 происходит автоматическое раскрытие плашек резьбонарезной головки, і супорт автоматически отводится в исходное положение. В кінці своего ходу, определяемого установкой упора 25 (рис. 33), супорт производит автоматическое закрытие плашек резьбонарезной головки, подготавливая її к нарезке очередного вироби.

Поворотом рукоятки 9 (рис. 33) в положение «разжим» или поворотом маховика ручного зажиму производят раскрытие тисков зажимного пристроя і снимают готовое изделие. После установки очередного вироби цикл повторяется.

При необходимости раскрытие і закрытие плашек резьбонарезной головки може быть произведено вручную з помощью рукоятки 5 (рис. 33). При етом поворот рукоятки влево обеспечивает після раскрытия резьбонарезной головки автоматический отвод суппорта. Поворотом етой рукоятки вправо супорт може быть остановлен в любом положении в пределах всего его ходу. Таким образом, з помощью рукоятки 5 (рис. 33) може быть обеспечено ручное керування нарезанием різьби, а также наладочные переміщення суппорта.


Некоторые указания по експлуатации верстата

Перед первоначальным пуском верстата в насос гідроприводу необходимо залить 50—100 г масла через нагнетательный штуцер, предварительно отсоединив трубу от насоса. Насос, запущенный без масла, выйдет из строя в течение нескольких секунд. Внутренняя часть масляного резервуара должна быть тщательно очищена, причем нельзя пользоваться «концами». Масло должно быть хорошо профильтровано. Через три месяца після начала експлуатации верстата масло в резервуаре должно быть заменено свежим. В дальнейшем замену масла проводить через каждые шесть месяцев при непрерывной работе верстата.

До начала роботи нужно убедиться в нормальной работе всех механізмов верстата на холостом ходу. При правильной наладке верстата з доведением холостых ходов до минимума машинное время при нарезании різьби на трубах на станке 5Д07 (гідравлический зажим вироби, нарезание короткой різьби, раскрытие головки, отвод і разжим вироби) може быть равным на трубах з диаметром условного прохода 15 мм — 4,5 сек; 20 мм — 5 сек; 25 мм — 6 сек.

При нарезании різьби на заготовках длиной до 200—300 мм средняя производительность з учетом установки і снятия детали составляет 500—600 шт/ч.




5Д07 Верстат резьбонарезной напівавтомат. Відеоролик.




Технічні данные і характеристики резьбонарезного верстата 5Д07

Наименование параметра 5993 5Д07
Основні параметри
Класс точності по ГОСТ 8-82 Н Н
Производительность при нарезке коротких резьб, шт/ч 500
Диаметр нарізання різьби метрической, мм 12..42 10..39
Шаги нарезаемой метрической різьби, мм 1,75..4,5
Диаметр нарізання різьби дюймовой, мм ¼..1¼
Шаги нарезаемой трубной (дюймовой) різьби, ниток на дюйм 19..11
Наибольшая длина нарезаемой різьби, мм 280 320
Наибольший і наименьший установочный диаметр вироби, мм 12..56
Диаметр внутреннего отверстия головки, мм 45
Диаметр сквозного отверстия в шпинделе, мм 49
Количество швидкостей шпинделя 6 6
Пределы частоти обертання шпинделя, об/мин 0,75..4,16 63, 90, 125, 180, 250, 355
Привід зажиму детали Электромех
Привід переміщення каретки Гідро
Длина переміщення каретки, мм 400
Електроустаткування і привід верстата
Количество електродвигателей на станке 4
Електродвигун приводу шпинделя, кВт (об/мин) 3,0 3,0 (1420)
Електродвигун гідропривода, кВт (об/мин) 2,2 1,1 (930)
Електродвигун насоса охлаждения, кВт (об/мин) 0,12 0,125 (2800)
Електродвигун зажимного пристроя, кВт 0,8
Общая установленная мощность всех електродвигателей, кВт
род тока питающей сети 50Гц, 380/220 В 50Гц, 380/220 В
Габарити і масса верстата
Габарит верстата, мм 1980 х 1095 х 1125 1500 х 725 х 1140
Масса верстата, кг 1550 1150

    Список литературы

  1. Полуавтоматы зубодолбежные 5М150, 5М150П, 5М161. Руководство по експлуатации 5М150.00.000 РЭ, 1981

  2. Колев Н.С. Металлорежущие верстати.
  3. Гальперин Е.И. Наладка зуборезных верстатів, 1960.
  4. Козлов Д.Н. Зуборезные роботи, 1971.
  5. Лоскутов В.В., Ничков А.Г. Зубообрабатывающие верстати, 1978.
  6. Малахов Я.А. Зубообрабатывающие і резьбофрезерные верстати і их наладка, 1972.
  7. Мильштейн М.З. Нарезание зубчатых колес, 1972.
  8. Овумян Г.Г., Адам А.И. Справочник зубореза, 1983.
  9. Писманик К. М., Шейко Л. И., Денисов В. М. Верстати для обробки конических зубчатых колес, 1993
  10. Птицин Г.А., Кокичев В.Н. Зуборезные верстати, 1957.
  11. Сильвестров Б.Н., Захаров И.Д. Конструкція і наладка зуборезных і резьбофрезерных верстатів, 1979.
  12. Шавлюга Н.И. Расчет і примеры наладок зубофрезерных і зубодолбежных верстатів, 1978.
  13. Список литературы для налаштування верстата

  14. Верстат для нарізання спиральнозубых конических колес моделі 528с. Руководство к верстату, ЭНИМС, МЗКРС 1956 год.
  15. Инструкция по расчету наладочных установок зуборезных верстатів моделі 525 і 528 для нарізання конических колес со спиральными зубьями, ЭНИМС, МЗКРС.
  16. Руковдство по расчету геометрических размеров гипоидных зубчатых колес і наладок для их нарізання на верстатах моделей 528с, 528с, 5а27с1, Саратовский завод тяжелых зуборезных верстатів, 1967 год.
  17. Руковдство по расчету наладок верстатів 528с, 525 і 5а27с4п для нарізання конических колес методом обкатки, Саратовский завод тяжелых зуборезных верстатів, 1969 год.









Тот кто не смотрит вперед оказывается позади.

Г. Уеллс