metalinstryment.com
Довідник по металорізальних верстатів та пресовому обладнанні

5П23Б Верстат зубострогальный напівавтомат підвищеної точності
схеми, опис, характеристики

5П23Б Загальний вигляд  зубострогального верстата







Відомості про виробника зубострогального напівавтомату 5П23Б

Производитель зубострогального напівавтомату 5П23Б Саратовский завод зубострогальных верстатів, СЗЗС, основанный в 1934 году.





Продукция Саратовского завода зубострогальных верстатів


5П23БП Верстат зубострогальный напівавтомат підвищеної точності. Назначение і область применения

Начало серийного производства зубострогального напівавтомату 5П23Б і 5П23БП - 1963 год. Верстат был заменен более совершенной моделью - 5С23П.

Зубострогальные верстати 5П23Б і 5П23БП предназначены для обробки по методу обката конических зубчатых колес з прямым зубом диаметром до 125 мм і модулем до 2,5 мм.

Верстати можно использовать при любом характере производства; однако, учитывая широкую универсальность, рациональнее експлуатировать их в условиях серийного і мелкосерийного производства.

Принцип роботи і особливості конструкції верстата

Наименьший диаметр нарезаемых колес определяется креплением вироби на оправке. Конструктивно верстат 5П23БП не отличается от верстата 5П23Б, но детали его выполнены з большей точностью і поетому вироби, обрабатываемые на нем, имеют повышенную точность. При обработке зубчатых колес з числом зубьев не менее 10 і углом начального конуса свыше 10° для верстата 5П23Б нормальной является точность 8..7-й степени, а для верстата 5П23БП — 7..6-й степени (по ГОСТ 1758—56 «Передачи зубчасті конические. Допуски» і ГОСТ 9368— 60 «Передачи зубчасті конические мелкомодульные. Допуски»). Для достижения указанных степеней точності при обработке колес з числом зубьев меньше 10 і углом начального конуса меньше 10° рекомендуется работать на пониженных режимах, потому что в етих случаях частота обертання червячных передач люльки і шпинделя вироби при нормальных режимах достигает больших значений, а оправки, при помощи которых заготовки крепятся на шпинделе вироби, имеют увеличенную длину і становятся нежесткими.

Верстати 5П23Б і 5П23БП є напівавтоматуми, т. е. от оператора требуется лишь установить заготовку і пустить верстат в работу, остальные же операции выполняются без участиния человека. Заготовка подводится к резцам, которые обрабатывают післядовательно зуб за зубом. После обробки всех зубьев колеса верстат останавливается. Для післядующей роботи необходимо лишь сменить обработанное колесо на заготовку, після чего верстат становится готовым к новому пуску.

Верстати снабжены счетчиком циклов, отсчитывающим количество нарезанных зубьев на заготовках і указывающим число зубьев, которое осталось еще нарезать. Он може отсчитывать 150 зубьев. Но ето не значит, что больше етого количества зубьев нельзя нарезать на верстатах. При необходимости обробки колес з числом зубьев больше 150 отсчетный диск счетчика циклов устанавливается на нарезание половины требуемого количества чисел зубьев. После отсчета заданного количества зубьев отсчетный диск устанавливается нажатием соответствующего рычага в исходное положение і продолжает отсчитывать зубья второй половины. По окончании отсчета верстат будет остановлен і на заготовке будет нарезано в 2 раза больше зубьев, чем установлено на счетчике циклов. При необходимости нарізання зубчатых колес з простым числом зубьев, превышающим 100 (например, 101, 127), верстат должен быть снабжен сменным зубчатым колесом именно з таким числом зубьев. В наборе же сменных зубчатых колес, поставляемом со верстатом, предусмотрено максимальное зубчатое колесо со 100 зубьями.

На верстатах можно обрабатывать прямозубые конические колеса простым і комбинированным способами.

Простым способом обрабатываются зубчасті колеса з углом начального конуса 4...70°. Он заключается в том, что во время роботи верстата заготовка быстро подводится к резцам і происходит их синхронное вращение (обкат), в процессе которого происходит удаление металла из двух соседних впадин зуба.

Комбинированным способом обрабатываются зубчасті колеса з углом начального конуса 70...85°. Этот способ заключается в том, что заготовка, подведенная к резцам во время совместного синхронного обертання з ними, медленно подается вперед до определенного момента. После прекращения подачі заготовки на резцы продолжается чистый обкат до полного удаления металла из соседних впадин зуба.

Принципиально компоновка верстатів соответствует разобранной на рис. 58, а.

Загальний вигляд верстатів 5П23Б і 5П23БП з органами керування показан на рис. 162. Станина 1 в правой верхней частини имеет направляющие 26, а к левой верхней частини її крепится передняя бабка 11, внутри которой размещена люлька 18 з возможностью поворота вокруг своей оси. Справа от передньої бабки расположена бабка вироби 14 з возможностью наладочного переміщення по отношению поворотной плиты 23. Поворотная плита смонтирована на столе 24 і имеет возможность поворачиваться по круговым направляющим относительно стола, который в свою очередь може перемещаться по направляющим 26.

Основание 28 станины служит гідробаком (для заливки масла гідравлики, змазки і охлаждающей жидкости). В передньої частини її расположена рукоятка 25 керування отводом стола і зажимом заготовки, а за крышкой 2 расположен реверсивный механізм 3 і счетчик циклов 4. Справа, за дверцей 29 смонтирован механізм подачі 30 стола і распределительный вал з кулачками керування. Сзади на станине закреплены електродвигатели приводу верстата 37 і гідравлики 38 рядом з которыми расположен електрошкаф з електроаппаратурой.

Между станиной 1 і передньої бабкой 11, за дверцей 5 расположена гітара обката 6. В дверце 5 имеется отверстие 7 для ключа-рукоятки, которым поворачивают люльку 13 при наладке верстата.

В левой частини передньої бабки 11 за дверцей 8 находится гітара головного руху (частоти качаний резцов), а на лицевой частини її расположены пульт керування 9, кран охлаждения 10 і сверху указатель змазки 12.

В бабке 14 вироби смонтированы (с возможностью обертання) шпиндель 15, предназначенный для установки заготовки, которая закрепляется на нем гідрозажимом 18 (масло подводится через шланги 19).

В верхней частини бабки вироби, под крышкой 16 расположена гітара деления 17, а в нижней — имеется вал-шестерня 20 з шестигранным отверстием под ключ, посредством которой осуществляется наладочная осевая установка бабки вироби на монтажную дистанцию; отсчет дистанції осуществляется по нониусу 21 і шкале 22.

Поворотная плита 23 имеет нониус 34 отсчета угла поворота бабки вироби по шкале, расположенной на столе 24.

В столе смонтирован механізм 35 подачі его на врезание, имеющий лимб 36, механізм комбинированного нарізання зубчатых колес з большим углом делительного конуса з лимбом 32 і механізм смещения стола от исходного положения вперед или назад з лимбом 33.

Электроенергия к верстату подводится через ввод 27 в нижней правой частини станины.

Обкатная люлька. Зубострогальные верстати 5П23Б і 5П23БП работают по схеме плосковершинного производящего колеса способом воспроизведения режущими кромками резцов поверхностей впадины производящего колеса. Роль производящего колеса выполняет обкатная люлька 13 (см. рис. 162). Ее пристрій показано на рис. 163. На переднем торце 1 барабана 2 смонтированы (с возможностью поворота вокруг оси Оц) верхний 6 і нижний 5 поворотные сегменты, которые поворачиваются валиками 3 і 8 з квадратными концами под ключ. Сегменты закрепляются в требуемом Положении зажимами 9.

Обкатная люлька зубострогального верстата 5П23Б

Обкатная люлька зубострогального верстата 5П23Б

Обкатная люлька зубострогального верстата 5П23Б. Дивитись у збільшеному масштабі




Основні технические данные зубострогального верстата 5П23Б:

Разработчик - ЭНИМС і Саратовский завод зубострогальных верстатів.

Год принятия верстата к серийному производству - 1969 год.

Изготовитель - Саратовский завод зубострогальных верстатів.





5П23Б Загальний вигляд зубострогального верстата

Фото зубострогального верстата 5П23Б

Фото зубострогального верстата 5П23Б


Фото зубострогального верстата 5П23Б

Фото зубострогального верстата 5П23Б


Фото зубострогального верстата 5П23Б

Фото зубострогального верстата 5П23Б

Фото зубострогального верстата 5П23Б. Дивитись у збільшеному масштабі



Фото зубострогального верстата 5П23Б

Фото зубострогального верстата 5П23Б


Розташування основних вузлів зубострогального верстата 5П23Б

Розташування основних вузлів зубострогального верстата 5П23Б

Розташування основних вузлів зубострогального верстата 5П23Б

Розташування основних вузлів зубострогального верстата 5П23Б. Дивитись у збільшеному масштабі



  1. станина
  2. крышка
  3. реверсивный механізм
  4. счетчик циклов
  5. дверца
  6. гітара обката
  7. отверстие для ключа-рукоятки поворота люльки
  8. дверца гітари частоти качания резцов
  9. пульт керування
  10. кран охлаждения
  11. передняя бабка
  12. указатель змазки
  13. люлька
  14. бабка вироби
  15. шпиндель вироби
  16. крышка
  17. гітара деления
  18. гідрозажим
  19. шланги
  20. вал-шестерня осевой передвижки бабки вироби
  21. нониус монтажной дистанції
  22. шкала монтажной дистанції
  23. поворотная плита
  24. стол
  25. рукоятка керування столом і зажимом заготовки
  26. направляющие
  27. ввод електроенергии
  28. резервуар масла
  29. дверца
  30. механізм подачі стола
  31. четырехгранный конец вала червяка циклового барабана
  32. лимб механізма комбинированного нарізання
  33. лимб смещения стола
  34. нониус угла поворота бабки вироби
  35. механізм подачі стола на врезание
  36. лимб подачі стола на врезание
  37. електродвигатель приводу кинематики верстата
  38. електродвигатель гідравлики




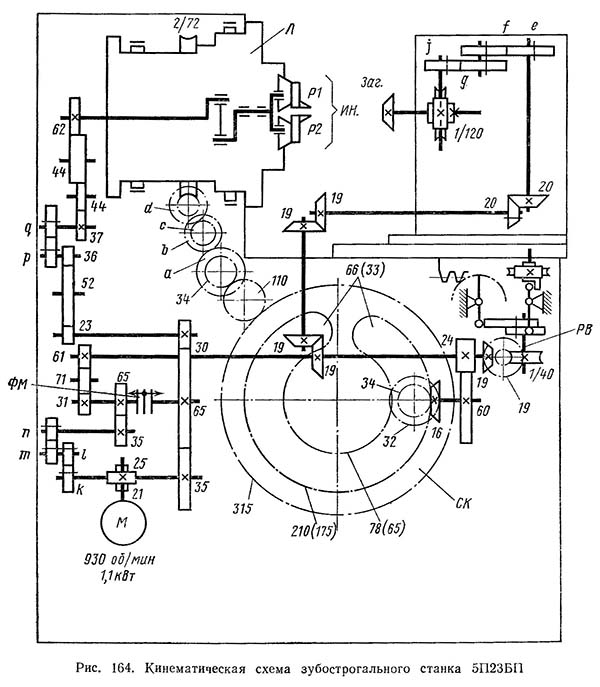
Схема кінематична зубострогального верстата 5П23Б

Схема кінематична зубострогального верстата 5П23Б

Кінематична схема зубострогального верстата 5П23Б

Кінематична схема зубострогального верстата 5П23Б. Дивитись у збільшеному масштабі




Опис кінематичної схеми зубострогального верстата 5П23Б

Кінематична схема верстатів 5П23Б і 5П23БП показана на рис. 164. Рассмотрим отдельные кинематические ланцюги.

Ланцюг головного руху связывает частоту качаний резцов Р1 і Р2 з частотой обертання головного електродвигуна М.

Привід етой ланцюги осуществляется от електродвигуна М через зубчасті колеса з числом зубьев 21—25—35—65—30—23—52—36, сменные зубчасті колеса р, q гітари головного руху, зубчасті колеса з числом зубьев 37—44—44—62, центральный вал люльки Л, кривошипный механізм, кулисные механізмы, ползуны, суппорты — резцам Р1 і Р2, которые совершают возвратно-поступательные руху.

Ланцюг подачі связывает вращение головного електродвигуна М з распределительным валом РВ, который делает один оборот за время нарізання одного зуба. Подачей в зуборезных верстатах для конических колес принято называть время обробки одного зуба за проход. В период робочого ходу верстата фрикционная муфта ФМ включена влево. Следовательно, вращение етой ланцюги осуществляется от головного електродвигуна М, через цилиндрические зубчасті колеса з числом зубьев 21—25—k —l— m — п—35—65—31—71—61, коническую передачу 19/19, червячную передачу 1/40 на распределительный вал РВ (механізм подачі стола, или цикловой барабан).

Ланцюг распределительного вала связывает вал РВ з люлькой Л. Ранее, при выводе формул налаштування ланцюги подачі упоминалось, что за полный цикл обробки зуба заготовки вал РВ делает 1 оборот, т. е. при обкатывании ведущего зубчатого колеса (34) по составному колесу (СК) вал РВ делает 1 оборот.

Ланцюг деления связывает вращение вала РВ з заготовкой (заг.). За один оборот вала РВ заготовка поворачивается на величину оборота, равного отношению числа zi пропускаемых при делении зубьев к числу z обрабатываемых зубьев, т. е. zi/z оборота. Вращение етой ланцюги осуществляется через червячную передачу з числом зубьев 40/1, конические колеса з числом зубьев 19—19—19—19—20—20, сменные цилиндрические колеса гітари деления e, f, g, j, червячную передачу 1/120 (называемую делительной) на заготовку (заг.).

Как видно из кінематичної схеми, делительный механізм в станке отсутствует. Шпиндель вироби как при рабочем, так і холостом ходу вращается в одну сторону. В то время, когда люлька, несущая резцы Р1 і Р2, возвращается из конечного в исходное положение, изделие, продолжая вращаться в ту же сторону, поворачивается на указанную zi/z величину оборота, осуществляя тем самым цикл деления.

Ланцюг обката связывает вращение заготовки з люлькой Л, несущей резцы Р1 і Р2, воспроизводящие своим движением впадину плосковершинного производящего колеса.

Вращение етой ланцюги передається от заготовки через червячную передачу J/120, сменные зубчасті колеса j, g, f, е, гітари деления, конические колеса 20—20—19—19—19—19, цилиндрическую передачу 24/60, коническую передачу 16/32, цилиндрические колеса 34—210—315—110—34, сменные зубчасті колеса а, b, с, d гітари обката і червячную передачу 2/72 на люльку Л. За один оборот заготовки люлька поворачивается на величину оборота, равного отношению числа зубьев z нарезаемого зубчатого колеса к числу зубьев zМ плосковершинного производящего колеса, т. е. на г/гм оборота.

Угол качания люльки. Для расчета передаточных отношений гітар обката і деления необходимо знать число zi пропускаемых при делении зубьев, которое в свою очередь може быть вычислено при известной величине угла ν π качания люльки, необходимого для полного обката профиля зуба обрабатываемого зубчатого колеса.

Если угол качания люльки принять меньше необходимого, то будет мати место недорезание зуба, при котором часть профиля останется прямолинейной. Такой дефект зубчатого колеса является непоправимым браком.

Угол качания люльки при нарезании зубьев на цельных заготовках можно определить на основании рис. 165. Вершины резцов, двигаясь возвратно-поступательно і вращаясь вместе з люлькой, перемещаются в плоскости М—М, перпендикулярной оси обертання люльки і касательной к конусу впадин детали. Следовательно, площадью різання будет являться сечение заготовки плоскостью М—М, т. е. фигура А' В' С D' Е'.

Резание начинается в точке В' при соприкосновении вершинами резцов заготовки. Зная координаты точки В' на плоскости люльки (в сечении М—М).





Последовательность налагодження і подготовка верстата к работе

Зубострогальные верстати 5П23Б і 5П23БП широко распространены в различных отраслях машиностроения в единичном, мелкосерийном і серийном производствах. Работа на станке состоит из следующих етапов: подготовка верстата к работе, наладка вузлів верстата, зубонарезание, проверка передачи на контрольно-обкатном станке, подналадка, новое зубонарезание, проверка передачи на обкатном станке, контроля качества і точності нарезанных зубчатых колес.

В свою очередь наладка вузлів верстата включает в себя наступні дії: установка поворотных сегментов на угол сходимости линий основания зуба обрабатываемого зубчатого колеса; установка резцов по калибрам; установка длины і места дії резцов; наладка механізма подачі стола на врезание; наладка механізма комбинированного нарізання і відведення стола при делении; установка сменных зубчатых колес гітари деления; установка сменных зубчатых колес гітари обката; установка сменных зубчатых колес гітари подачі; установка сменных зубчатых колес гітари скорости різання; проверка правильности набора гітар деления і обката; установка поворотной плиты; осевая установка бабки вироби; установка оправки; установка заготовки і налаштування механізма зажима; налаштування счетчика циклов.

Подготовка верстата к работе заключается в осмотре его і проверке роботи некоторых систем і механізмов. При етом необходимо убедиться в исправности електропроводки, подводящей електроенергию к верстату; проверить состояние заземления і плотности подключения его к винту «Заземление». Необходимо проверить наличие полного объема масла в гідробаке 28 (см. рис. 162). Верстат работает на масле «Турбинное-22». Проверка наличия масла осуществляется визуально через дверцу 29. Общее количество масла в гідробаке равно 50 л.

При подготовке верстата к работе необходимо осмотреть стружкосборник, расположенный в нише между направляющими 26 станины. Для етого его вынимают (со стороны розположення електродвигателей 37 і 38), отделяют магнитный сепаратор, очищают его і фильтрующие сетки (очистка післядних осуществляется в керосиновых ваннах щетками). После очистки стружкосборник собирают і устанавливают на место. Работать без установленного стружкосборника ни в коем случае нельзя, так как стружка, попавшая в гідробак, а затем захваченная насосом, може вывести его из строя. Из етих же соображений вынимать стружкосборник из ниши необходимо аккуратно, следя за тем, чтобы стружка не могла упасть из него в гідробак.

После очистки і установки на место стружкосборника необходимо проверить исправность теплообменника, предназначенного для поддержания на определенном уровне температуры масла. Он расположен правее електродвигателей 37 і 38. Для етого его осматривают і проверяют плотность соединения штуцеров, течь из которых не допускается.

Дальнейшая подготовка заключается в проверке свободного, без помех, обертання механізма верстата. Первоначально его проворачивают вручную. Для етого открывают дверцу 29 и, установив спеціальний ключ (поставляемый со верстатом) на четырехгранный конец вала 31 червяка циклового барабана, поворачивают его до тех пор, пока указатель на цикловом барабане не сделает по крайней мере один оборот. При етом не должно ощущаться толчков, стуков, задержек.

Когда верстат внешне осмотрен і проверено свободное вращение механізма верстата, подается електропитание, для чего главный пакетный выключатель устанавливается в соответствующее положение. При етом на пульті керування 9 загорается лампа, сигнализирующая о том, что електросистема верстата находится под напряжением. Затем нажатием кнопки «Пуск» на пульті керування включают вращение електродвигуна насоса гідравлики і проверяют плотности соединения з гідросетью гідроаппаратов, приборов, труб. Утечки масла из з'єднань быть не должно. Проверяется по манометру величина давления масла в гідросистеме, которое должно быть в пределах 20 ...22 кгс/см2. При отклонении давления от указанной величины оно устанавливается регулировкой напорного золотника типа Г54-22, расположенного за дверцей 29, там же, где і манометр.

Проверяется система змазки. Она автоматическая, только смазка осей резцедержателей 16 (см. рис. 163) производится ручной масленкой. Питание системы змазки осуществляется от общей гідросистемы верстата і начинает работать при включении електродвигуна насоса гідравлики. Давление в системе змазки поддерживается напорным золотником в пределах 1,5... 2 кгс/см2. В первую очередь поворотом на 1...2 оборота рукоятки прочищают пластинчатый фильтр, установленный за дверцей 8 (см. рис. 162). За етой же дверцей находится маслораспределитель передньої бабки. Через прозрачные стекла маслораспределителя можно наблюдать, как подается масло в соответствующую точку верстата. Регулювання величины подачі масла осуществляется вращением дросселей. Смазку червяка люльки можно наблюдать через прозрачный колпачок указателя змазки 12, в который ударяется струя масла. Смазка стола 24 осуществляется через другой маслораспределитель, который установлен за дверцей 29. В станке имеются два фильтра тонкой очистки, расположенные сзади передньої бабки 11 і справа бабки вироби 14 (под крышками). Эти фильтры очищают один раз в 3 месяца, для чего их разбирают, а фильтрующие елементы промывают в керосине.

Далее проверяют работу механізма подвода в рабочую зону і відведення в загрузочное положение бабки вироби 14 з поворотной плитой 23 і столом 24. В работу механізм включают поворотом рукоятки 25 в ту или другую сторону. При етом стол з закрепленными на нем поворотной плитой і бабкой вироби должен перемещаться плавно, без рывков, останавливаться на упорах как в переднем, так і заднем положении без резких ударов. Скорость переміщення стола регулируют дросселем, расположенным за дверцей 29. После проверки руху стола контролируют работу гідрозажиму 18, увімкнення і вимкнення которого осуществляется той же рукояткой 25 при повороте її в крайнее правое і среднее положение. При повороте вправо рукоятки 25 струна, находящаяся в отверстии шпинделя вироби 15, должна двигаться в сторону от гідрозажиму 18, а при повороте в среднее положение — к гідрозажиму.

Работу системы охлаждения проверяют включением і вимкненням крана охлаждения 10, а также наблюдением за величиной потока охлаждающего масла. Кран должен вращаться свободно і оставаться сухим. Осмотр верстата заканчивается проверкой роботи местного освещения, включаемого тумблером на пульті керування 9.


Наладка вузлів верстата

После ознакомления з чертежом рассчитывают наладочные установки вузлів верстата, а результаты расчета сводят в карту налагодження. Затем приступают непосредственно к наладке вузлів верстата.

Установка поворотных сегментов на угол сходимости линий основания зуба. Поворотные сегменты люльки устанавливают на угол сходимости основания зуба конического зубчатого колеса з прямыми или тангенциальными зубьями (рис. 168). Он равен половине угла, образуемого разноименными лініями двух соседних зубьев производящего колеса на поверхности его вершин в станочном зацеплении з коническим зубчатым колесом. При зубострогании на верстатах рассматриваемого типа, работающих по способу воспроизведения режущими кромками резцов соседних зубьев производящего колеса, по лініям основания зуба движутся теоретические точки А пересечения линий, проведенных через режущие кромки резцов Р. Угол σi сходимости линий основания зуба определяется по формуле (56). На величину его устанавливаются поворотные сегменты 1 і 6 на люльке (рис. 169).

Сходимость линий основания зуба зубострогального верстата 5П23Б

Сходимость линий основания зуба зубострогального верстата 5П23Б



Конструкція люльки зубострогального верстата 5П23Б зубострогального верстата 5П23Б

Конструкція люльки зубострогального верстата 5П23Б зубострогального верстата 5П23Б

Конструкція люльки зубострогального верстата 5П23Б зубострогального верстата 5П23Б. Дивитись у збільшеному масштабі



Для етого ослабляются винты 8 і ключом, устанавливаемым в шестигранные отверстия валов зубчатых колес 2 і 5, зацепляющихся з круговыми рейками 22 і 29, поворачивают вначале верхний сегмент 6, а затем — нижний 1. Величину поворота отмечают по шкалам 3 і 4. После установки сегментов на расчетные величины углов они фиксируются зажатием винтов 7, 8.

Так как осью поворота сегментов 1 і 6 является ось люльки (т. е. ось производящего колеса), то изменение угла поворота сегментов вызывает изменение толщины зуба нарезаемого колеса. Поетому, если при наладке верстата требуется изменение толщины зуба без изменения каких-либо других параметров (например, пятна контакта), то для етого достаточно повернуть на соответствующий угол один сегмент.

Именно етим приемом і пользуются при наладке верстатів, на которых нарезаемое колесо не обрабатывается окончательно, а только осуществляется черновое зубонарезание, например з післядующей термообработкой, шлифованием посадочных мест і окончательным шлифованием зубьев. В етом случае найденную величину углов поворотных сегментов увеличивают в зависимости от величины необходимого припуска. Добавочный угол установки супортів определяется по формуле

Δσf = ΔS/Re = 28,698 (84)

где ΔS—суммарная величина припуска на обе стороны зуба. Практически всегда доворачивают один из супортів на двойной добавочный угол.

Установка резцов. Выбранные в зависимости от параметров обрабатываемого зубчатого колеса, условий обробки (чистовое или черновое резание) і обрабатываемости материала чистовые зубострогальные резцы по ГОСТ 5392—64 или, универсальные — по табл. 32 устанавливаются в резцедержатель.

При установці зубострогальных резцов выполняются два условия:

Резцы для чистового і чернового різання устанавливают по приборам.

Со верстатом поставляются два прибора. Приборы маркированы словами «верхний» і «нижний», обозначающими, для установки какого именно резца предназначен прибор.

На рис. 170 показан «верхний» прибор. Прибор представляет из себя кронштейн 3, имеющий шпонку 10 і винт 9 з гайкой 4. На кронштейне закреплена пластина 2, в паз которой вставлен калибр 12 і прижат пластиной 14.

Установка зубострогальных резцов верстата 5П23Б зубострогального верстата 5П23Б

Установка зубострогальных резцов верстата 5П23Б зубострогального верстата 5П23Б

Установка зубострогальных резцов верстата 5П23Б зубострогального верстата 5П23Б. Дивитись у збільшеному масштабі



При установці резца Р прибор устанавливается на ползун 8 Верстата таким расчетом, чтобы его шпонка 10 з головкой гвинта 9 вошли в паз, а затем прибор закрепляется гайкой 4.

Такая установка обеспечивает совпадение поверхности 11 з плоскостью I—I, перпендикулярной оси люльки В проходящей через центр верстата, а лінія пересечения поверхности 11 з поверхностью 13 — прохождение її через ось люльки. :

Установка резца Р заключается в том, что он устанавливается з базированием по поверхности 15 резцедержателя 6 і по поверхностям 16, 17 клина 18, а затем слегка прижимается винтом 5. Поверхность 17 клина 18 по отношению поверхности 11 прибора расположена под углом 12°. Поетому, передвигая різець по длине, добиваются такого положения, когда вершинная режущая кромка его коснется поверхности 11 пластины 2. Если же перемещать клин 17 по длине, то різець будет поворачиваться вокруг поверхности 15. Таким путем регулируется профильный угол инструмента Р. На клине 18 имеется шкала, а на резцедержателе 6 — указатель, указывающий на нуль, когда профильный угол равен 20°. После установки резца по длине і углу он закрепляется в резцедержателе окончательно. По высоте різець регулируют переміщенням всего суппорта з резцедержателем 6 относительно паза ползуна 8. Таким образом, регулируя різець Р по длине, углу і высоте, добиваются прилегания его режущих кромок к поверхностям 11 і 13 прибора. Прилегание режущих кромок к калибрующим поверхностям определяют визуально на просвет или краску. Если необходимо изменить положение резца при додаткових регулировках (подгонке пятна контакта в передаче), на прибор устанавливают индикатор, 1 і закрепляют винтом 7. По его показанию різець смещается на необходимую величину от исходного положения.

Порядок установки і регулировки нижнего резца — тот же самый, только з прибором, имеющим маркировку «нижний».

Установка длины ходу і места дії резцов. Зубострогальный різець Р во время обробки впадины зубчатого колеса двигается возвратно-поступательно (рис. 171). При поступательном движении різання он выдвигается в рабочее положение, а по окончании різання отодвигается от нарезаемого колеса і возвращается в исходное положение (на рис. 171 траектория руху резца показана прерывистой линией). Отвод резца от заготовки при обратном ходе необходим для того, чтобы сохранить режущую способность кромок резца і не испортить обработанную поверхность. Переходная траектория руху резца должна при етом осуществляться за пределами зубчатого венца заготовки. Для етого длину ходу резцов увеличивают по отношению к ширине b зубчатого венца на величину l1 + l2, достаточную для гарантированного подвода из неробочого положения в рабочее. Эти величины указываются в руководствах к верстатам. Для зубострогальных верстатів 5П23Б і 5П23БП перебег l1 = 3 мм, а l2 = 5 мм. Таким образом, длина ходу резцов равна

l = b + 8. (85)

Для того чтобы установить на станке величину ходу резцов, открывают дверцу 8 (см. рис. 162), позволяющую осуществить доступ к заднему торцу люльки, на котором смонтирован механізм величины ходу резцов. Затем (см. рис. 169) ослабляют гайку 9, оттягивают деталь 10 муфты на столько, чтобы зубья її вышли из зацепления з зубьями детали 11, і поворачивают. Величина поворота полумуфты 10 отмечается на шкале, нанесенной на ней же, і указателем, нанесенным на полумуфте 11. После установки необходимой величины муфта сцепляется і закрепляется гайкой 9.

Механізм возвратно-поступательного ходу резцов состоит из валика 13, смонтированного ексцентрично внутри вала 14. который на левом кінці несет зубчатое колесо 12. На кінці валика 13 имеется шип 17, который по отношению оси валика расположен также симметрично з таким же ексцентриситетом, з каким смонтированы валик 13 і вал 14. На шипе 17 установлен шатун 16, имеющий возможность поворачиваться относительно первого. На диске 21 люльки смонтирован вал 19, в правой частини которого имеется крестовина з пальцами 20 і 30, входящими в пазы повзунів 23, 26. На левом же кінці вала 19 закреплен рычаг 18. Концы шатуна 16 і рычага 18 соединены пальцем 15, по отношению к которому первый може поворачиваться.

В исходном положении оси шипа 17 і вала 14 совпадают і поетому во время обертання зубчатого колеса 12, а следовательно, і вала 14 шатун 16 остается в нерухомому положении. В нерухомому положении остаются і рычаг 18, вал 19, крестовина з пальцами 20, 30 і ползуны 23, 26.

При повороте валика 13 относительно вала 14 (что і делается при установці длины ходу резцов как описано выше) шип 17 смещается з оси вала 14, образуя тем самым некоторый ексцентриситет. Если же теперь привести во вращение зубчатое колесо 12, то шип 17 будет описывать окружность, шатун 16 начнет передвигаться, перемещая тем самым через палец 15, рычаг 18, который через вал 19, крестовину і пальцы 20, 30 начнет перемещать возвратно-поступательно ползуны 23, 26, а следовательно, і зубострогальные резцы.

Зона дії резцов по отношению к венцу обрабатываемого зубчатого колеса устанавливается переміщенням супортів 25 і 28 вдоль Т-образных пазов соответственно повзунів 23 і 26. Для етого винты 24 і 27 вначале ослабляются, а після установки затягиваются.

Наладка механізма подачі стола на врезание. Для получения хорошего качества изделий используют технологический прием роботи в несколько проходов, т. е. одну заготовку обрабатывают несколько раз. Первый проход всегда бывает черновым, второй — получистовым, а третий — чистовым.

Количество проходов може увеличиваться или сокращаться. Для каждого прохода назначаются свои режими різання. Обработка по каждому проходу може осуществляться на разных верстатах со снятием заготовки, а также і на одном станке.

Механізм подачі стола на врезание 35 (см. рис. 162) предназначен для обробки заготовок в несколько проходов. Он смонтирован на столе 24 і представляет собой регулируемый винтовой упор, торцовая поверхность которого имеет постепенно увеличивающиеся перепады по высоте. Нижня поверхность является нулевой і предназначена для окончательной обробки заготовки, т. е. післяднего прохода. Вся остальная поверхность регулируемого упора постоянно повышается над нулевой і предназначена для предварительных обработок заготовки. Торцовая винтовая поверхность] регулируемого упора обращена в сторону жесткого упора, установленного: на станине верстата. Противоположный конец вала регулируемого винтового упора имеет лимб 36, указывающий, з каким перепадом по отношению нижней нулевой поверхности становилась поверхность винтового упора против жесткого упора станины (т. е. на какую величину стол не дойдет до своего окончательного положения).

Для післяднего прохода, во время которого заготовка обрабатывается окончательно, рекомендуется оставлять припуск Δ h по глубине зуба не больше, чем указано в табл. 33.

Необходимо помнить, что ети данные рекомендуются для обробки заготовок из стали 45 в состоянии поставки. В любых других случаях в зависимости от материала заготовки і его твердости указанные в табл. 33 величины радиального припуска могут меняться, исходя из наиболее стабильно получаемой наивысшей точності обрабатываемых зубчатых колес.

При обработке зубчатых колес, которые після термической обробки окончательно обрабатываются шлифованием или на других зубострогальных верстатах, радиальный припуск, как правило, не оставляют, і впадину прорезают на полную глубину he (или еще глубже, — на величину Δ h, о чем будет сказано ниже при рассмотрении установки поворотной плиты). Припуск оставляют только по толщине s зуба, увеличивая угол установки сегментов люльки на угол Δσ i, как указано выше. Поетому в любом случае післядний проход при обработке зубчатого колеса осуществляют при установці механізма подачі стола на нуль, чтобы при окончательной обработке облегчить условия різання зубострогальным резцам или шлифовальному кругу, так как при етом периферийная часть круга или режущая кромка резцов не будут участвовать в работе.

Наладка механізма комбинированного способа нарізання і відведення стола при делении. Комбинированный способ нарізання применяют при обработке зубчатых колес з углом σ ω начального конуса, превышающим 70°. При обработке таких зубчатых колес угол качания люльки получается большим, выходящим за пределы возможности верстата. Для расширения технологических возможностей в станке имеется механізм комбинированного способа нарізання, лимб 32 которого (см. рис. 162) смонтирован в правой частини верстата на столе 24.

Механізм комбинированного способа нарізання і відведення стола при делении показан на рис. 172. На распределительном валу 1 гайкой 18 закреплены два кулачка: постоянный 2, служащий для відведення стола от режущего инструмента при переходе от обробки одного зуба к другому, і сменный 19, служащий для комбинированного способа нарізання.

Кулачок 2 контактирует з роликом 3, сидящим на рычаге 5, который може качаться по отношению оси 4. Другой конец рычага 5 выполнен в виде зубчатого сектора, зубья которого входят в зацепление з рейкой 6, закрепленной на столе 7.

Кулачок 19 контактирует з роликом 17, сидящим на кінці рычага 16, который смонтирован на оси 15 (с возможностью качания вместе з ней). На етой же оси 15 закреплен другой рычаг 13, имеющий на кінці ролик 14. Он контактирует з сегментом 11, закрепленным на червячном колесе 12, который установлен на оси 8, смонтированной (с возможностью обертання) на столе 7. Здесь же на столе установлен червяк 9, который зацепляется з червячным колесом 12 і несет на кінці своего вала лимб 10 для отметки величины поворота вокруг оси обертання.

Во время роботи верстата распределительный вал 1 приводится во вращение червячной передачей, колесо которой закреплено на етом валу. Закрепленные на нем кулачки 2 і 19 также вращаются. Кулачок 2 спрофилирован таким образом, что в момент перехода по циклу верстата з робочого на холостой ход его высокая часть нажимает на ролик 3, который поворачивает рычаг 5 вокруг оси 4. Поворачиваясь, рычаг 5 зубьями сектора передвигает рейку 6, а вместе з ней і стол 7, преодолевая сопротивление гідроцилиндра, который стремится передвинуть его вперед по направлению к люльке. Стол вместе з заготовкой отходит от режущего инструмента. В таком положении высокая часть кулачка удерживает стол до начала робочого ходу. При переходе з холостого на рабочий ход ролик 3 рычага 5 переходит на низкую часть кулачка 2. Стол з заготовкой перемещается вперед на режущий инструмент. Стол упирается в жесткий упор, закрепленный на станине. В ето время между роликом 3 і низкой частью профиля кулачка 2 появляется зазор в пределах 0,1 ... 0,3 мм.

Кулачок 19 предназначен для того, чтобы при переходе з холостого на рабочий ход стол 7 не сразу подходил к жесткому упору станины (как описано выше), а чтобы он в некоторый промежуток часу робочого ходу медленно продвигался вперед і только по истечении его вставал на жесткий упор. Во время медленного проруху вперед происходит врезание инструмента в заготовку з обкатом, а після окончания проруху — чистый обкат (с углом обката, достаточным для профилирования нарезаемых зубьев колеса).

Во время роботи верстата і обертання кулачка 19 ролик 17, обкатываясь по профилю кулачка, качает рычаг 16 совместно з осью 15. Закрепленный на етой оси рычаг 13 і сидящий на нем ролик 14 также качаются. Последний совершает свои возвратно-поступательные руху в плоскости II—II (см. рис. 172, б, в). Здесь показано расположение сектора 11 і ролика 14 при положении стола 7, когда он стоит на жестком упоре станины. Если плоскость 20 сектора 11 параллельна плоскости II—II руху ролика 14, как показано на рис, 172, а, то сектор, а следовательно і стол 7, на котором он смонтирован, будут оставаться в нерухомому положении. Именно так устанавливается сектор // при обработке зубчатых колес з углом Ьш начального конуса меньше 70°. При таком положении сектора // механізм комбинированного способа нарізання выключен.

Если же сектор 11 при помощи лимба 10 і червячной передачи 9, 12 повернуть так, чтобы его плоскость 20 встала под некоторым углом v к плоскости //—// руху ролика 14, то сектор 11, а вместе з ним стол і заготовка будут перемещаться вперед, на резцы, при движении ролика вверх, как показано на рис. 172, в.

Угол v установки плоскости 20 сектора 11 лимбом 10 определяется по формуле:

tgν = (0,2he +1)/30

где he — внешняя высота зуба нарезаемого колеса.

Со верстатом поставляются два кулачка 19 комбинированного способа нарізання з разными углами θа і θб, на которых расположена переходная опорная поверхность, з которой контактирует ролик 10 при врезании резцов в заготовку одновременно з обкатом (θа) і при чистом обкате (θб).

Полученное по данной формуле значение округляют до 0,5 или 0,6 в большую сторону і выбирают соответствующий кулачок, который устанавливают на распределительный вал I, закрепив гайкой 18.

Внешний вигляд счетчика циклов зубострогального верстата 5П23Б

Внешний вигляд счетчика циклов зубострогального верстата 5П23Б






5П23Б Верстат зубострогальный напівавтомат. Відеоролик.



Технічні характеристики зубострогального верстата 5П23Б

Наименование параметра 5т23в 5236п 5с23п
Основні параметри верстата
Класс точності верстата по ГОСТ 8-82 і ГОСТ 659-78 В П П
Наибольший окружной модуль нарезаемого колеса, мм 0,5..1,5 0,5..2,5 0,5..2,5
Наибольший средний нормальный модуль нарезаемого колеса, мм 2
Внешнее конусное расстояние (длина образующей делительного конуса) обрабатываемых зубчатых колес, мм 5..63 7..63
Наибольшее среднее конусное расстояние обрабатываемых зубчатых колес з углом наклона средней линии зуба 30° приобработке зуборезной головкой Ø80 мм, мм - - 62
Наибольший диаметр нарезаемых колес при передаточном отношении пары 10:1, мм 125 125 125
Наибольший диаметр нарезаемых колес при передаточном отношении пары 2:1, мм 110 110 110
Наибольший диаметр нарезаемых колес при передаточном отношении пары 1:1, мм 90 90 90
Наибольшая длина зуба нарезаемого колеса (Наибольшая ширина зубчатого венца), мм 12 20 20
Наибольшая внешняя высота нарезаемого зуба, мм 5,5 5
Наибольшее число нарезаемых зубьев 12..200 12..200
Рекомендуемое число нарезаемых зубьев 12..100 12..100 5..100
Наибольший угол установки супортів, град 2°30` -
Расстояние от торца шпинделя бабки вироби до центра напівавтомату, мм 30..140 30..140
Угол делительного конуса нарезаемых зубчатых колес (установочный угол бабки вироби), град 5°..90° 5°..90° 5°..85°
Время цикла обробки одного зуба, с 7..10
Угол наклона зуба обрабатываемых зубчатых колес, град 0°..45°
Люлька
Наибольший угол качания люльки от центрального положения вверх і вниз, град 35° 35° 60°
Поворот люльки при наладке, град 360° 360°
Цена деления окружной шкалы поворота люльки при наладке, град
Суппорты
Наибольший угол установки супортів, град -
Поворот суппорта на одно деление шкалы линейки/ нониуса, мин 30`/ 2` -
Наибольший ход резца при любом угле установки супортів, мм 20 28 -
Необходимый выход резца из вироби з тонкого кінця зуба, мм 3 -
Необходимый выход резца из вироби з толстого кінця зуба, мм 5 -
Тип зубострогальных резцов по ГОСТ 9392-75 Тип 1, исп 2
Число двойных ходов резца в минуту, мин-1 210, 260, 320, 410, 520, 660 160, 200, 250, 315, 400, 500, 630, 800 -
Скорость обкатки - время робочого ходу при нарезании одного зуба (бесступенчатое регулювання), с/зуб 5..53 4,5..68,5 7..50
Угол наклона инструментального шпинделя, град - - 0°..15°
Радиальная установка инструментального шпинделя относительно шпинделя оси люльки, град - - 0°..55°
Частота обертання инструментального шпинделя (бесступенчатое регулювання), об/мин - - 110..550
Бабка вироби
Кінець шпинделя бабки вироби по ГОСТ 17547-72 Морзе 4 Морзе 4 Морзе 4
Цилиндрическое отверстие шпинделя бабки вироби, мм Ø20 х 200 Ø20 х 200 Ø20 х 200
Цена деления шкалы линейки/ нониуса установки расстояния от торца шпинделя до центра верстата, мм 1,0..0,02
Осевая установка бабки вироби, мм 30..160
Наибольшее гипоидное смещение шпинделя вироби относительно нулевого положения вверх/ вниз, мм 30/ 30
Стол
Ход стола, мм 45
Наибольшее смещение стола от центрального положения, мм ±5
Счетчик циклов есть есть
Автоматическая остановка верстата есть есть
Привід і електрообладнання верстата
Количество електродвигателей, установленных на станке 3 3 4
Електродвигун головного привода, кВт 1,1 1,1 1,2
Електродвигун приводу подач, кВт 1,5 1,5 1,5; 1,2
Електродвигун приводу гідронасоса, кВт 1,5 1,5 1,1
Суммарная мощность електродвигателей, кВт 4,1 4,1
Габаритные розміри і масса верстата
Габаритные розміри верстата (длина х ширина х высота), мм 1620 х 1050 х 1415 1410 х 1050 х 1415 1845 х 1335 х 1560
Масса верстата з електрообладнанням і охолодженням, кг 3185 3250 3200

    Список литературы

  1. Колев Н.С. Металлорежущие верстати.
  2. Гальперин Е.И. Наладка зуборезных верстатів, 1960.
  3. Козлов Д.Н. Зуборезные роботи, 1971.
  4. Лоскутов В.В., Ничков А.Г. Зубообрабатывающие верстати, 1978.
  5. Малахов Я.А. Зубообрабатывающие і резьбофрезерные верстати і их наладка, 1972.
  6. Мильштейн М.З. Нарезание зубчатых колес, 1972.
  7. Овумян Г.Г., Адам А.И. Справочник зубореза, 1983.
  8. Птицин Г.А., Кокичев В.Н. Зуборезные верстати, 1957.
  9. Сильвестров Б.Н., Захаров И.Д. Конструкція і наладка зуборезных і резьбофрезерных верстатів, 1979.
  10. Шавлюга Н.И. Расчет і примеры наладок зубофрезерных і зубодолбежных верстатів, 1978.
  11. Руководящий материал для конструкторов, проектирующих технологическую оснастку. Основні данные і посадочные места металлорежущих верстатів. НИИМАШ, 1968.








Заказать

Кто владеет информацией - тот владеет миром.

Натан Ротшильд