metalinstryment.com
Довідник по металорізальних верстатів та пресовому обладнанні

6Е463 Верстат гравировальный копировально-фрезерный з пантографом
руководство, схеми, опис, характеристики

Загальний вигляд  гравировального копировально-фрезерного верстата з пантографом 6Е463







Відомості про виробника гравировального копировально-фрезерного верстата 6Е463

Производитель гравировального копировально-фрезерного верстата 6Е463 - Львовский завод фрезерных верстатів, ОсДО, основанный в 1952 году.





Верстати, выпускаемые Львовским заводом фрезерных верстатів, ЛЗФС


6Е463 Верстат гравировальный копировально-фрезерный з пантографом. Назначение, область применения

Начало серийного производства копировально-фрезерного верстата 6Е463 - 1989 год. Верстат заменил устаревшую модель - 6Г463.

Копировально-фрезерный верстат 6Е463 предназначен для выполнения гравировальных і мелких копировально-фрезерных работ в контурном режиме.

На станке 6Е463 можно производить гравирование надписей і узоров на штемпелях, табличках, платах, панелях, надписей на лимбах, линейках, а также фрезерование неглубоких пресс-форм для пластмассы, резины і т.д. Возможность роботи на станке по контршаблону позволяет при помощи плоского копира производить гравирование различных надписей і узоров на пространственно сложных поверхностях.

Принцип роботи і особливості конструкції верстата

Закрепив нерухомо шпиндель при помощи специального кронштейна, на станке можно производить фрезерные роботи, перемещая вручную стол вироби. Рух копирования на станке осуществляется вручную переміщенням трейсера ощупывающего пристроя по контуру копира.

Верстат 6Е463 може быть оснащен широкой гаммой пристосувань і приладдя, расширяющих его технологические возможности: для построения дуг, окружностей, і овалов, для закрепления табличек при гравировании, делительным пристрійм, тисками, поворотными тисками, наклонно-поворотным столом, буквенным і цифровыми шаблонами, пристрійм для заточки гравировальных резцов і др.

Работа по контршаблону при помощи плоского копира позволяет производить гравирование различных надписей і узоров на пространственно сложных поверхностях.

Рух копирования на станке осуществляется вручную переміщенням трейсера ощупывающего пристроя по контуру копира.

Верстат 6Е463 може применяться в механических, механосборочных і инструментальных цехах машиностроительных предприятий.

Класс точності верстата Н по ГОСТ 8—77. Шероховатость обработанной поверхности Rа 2,5 мкм.

Средний уровень звука LA не должен превышать 71 дБА.

Статическая нагрузка 260 кг, динамическая нагрузка 280 кг.


Основні характеристики гравировального копировально-фрезерного верстата 6Е463

Производитель: Львовский завод фрезерных верстатів ЛЗФС.

Начало серийного производства 1989 год. Верстат заменил устаревшую модель - 6Г463.





Габаритные розміри робочого простору гравировального верстата 6Е463

6Е463 Габаритные розміри робочого простору гравировального верстата

Габаритные розміри робочого простору верстата 6е463


Посадочные і присоединительные базы гравировального верстата 6Е463

6Е463 Посадочные і присоединительные базы гравировального верстата 6Е463

Посадочные і присоединительные базы гравировального верстата 6е463


Загальний вигляд копировально-фрезерного гравировального верстата 6Е463

6Е463 Загальний вигляд  гравировального верстата

Фото гравировального верстата 6е463


6Е463 Загальний вигляд  гравировального верстата

Фото гравировального верстата 6е463

Фото гравировального верстата 6Е463. Дивитись у збільшеному масштабі



6Е463 Загальний вигляд  гравировального верстата

Фото гравировального верстата 6е463


Розташування складових частин гравировального верстата 6Е463

6Е463 Розташування складових частин гравировального верстата 6Е463

Розташування складових частин гравировального верстата 6е463


Список складових частин гравировального верстата 6Е463

  1. Станина - 6Е463.10.00.000
  2. Стол вироби - 6Е463.21.00.000
  3. Пантограф - 6Е463.30.00.000
  4. Подвеска шпинделя - 6Е463.31.00.000
  5. Привід шпинделя - 6Е463.32.00.000
  6. Розташування ектрооборудования на станке - 6Е463.90.00.000

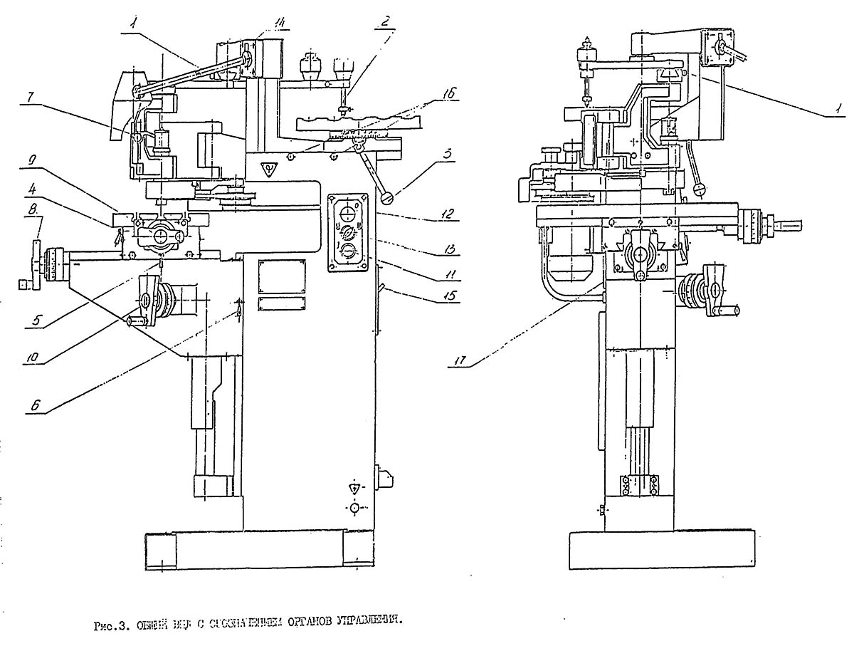
Розташування органів керування гравировальным верстатом 6Е463

6Е463 Органы керування гравировальным верстатом

Розташування органів керування гравировальным верстатом 6e463

Розташування органів керування гравировальным верстатом 6Е463. Дивитись у збільшеному масштабі



Список органів керування гравировальным верстатом 6Е463

  1. Рукоятки зажиму кареток пантографа
  2. Трейсер ощупывающего пристроя
  3. Рукоятка зажиму стола копира
  4. Рукоятка зажиму стола вироби
  5. Рукоятка зажиму салазок
  6. Рукоятка зажиму консоли
  7. Рукоятка вертикального переміщення шпинделя
  8. Маховик поперечного переміщення стола вироби
  9. Маховик продольного переміщення стола вироби
  10. Маховик вертикального переміщення стола вироби
  11. Кнопка "Пуск" (КиП)
  12. Кнопка "Стоп" (КиС)
  13. Переключатель реверса обертання шпинделя (ВРШ)
  14. Выключатель местного освещения
  15. Вводной автомат (ВВ)
  16. Болты зажиму стойки пантографа
  17. Табличка чисел оборотів




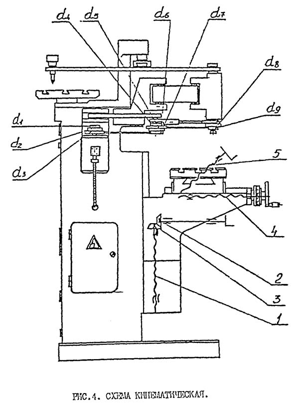
Кінематична схема гравировального верстата 6Е463

6Е463 Кінематична схема гравировального верстата 6Е463

Кінематична схема гравировального верстата 6е463


Общая компоновка і принцип роботи верстата 6Е463

Компоновка верстата характеризуется вертикальным расположением шпинделя і горизонтальным расположением рабочих поверхностей столов.

Вузли верстата смонтированы на жесткой станине. По вертикальным направляющим станины перемещается консоль, несущая на себе салазки і стол вироби. По горизонтальным направляющим станины перемещается стойка пантографа. На станине закреплены подвеска і привід шпинделя.

Обрабатываемая деталь закрепяяется на cтоле вироби, а копир, по которому ведется обработка, закрепляется на столе копира. Формообразующими рухуми є переміщення пантографа. Перемещения столов - установочные.


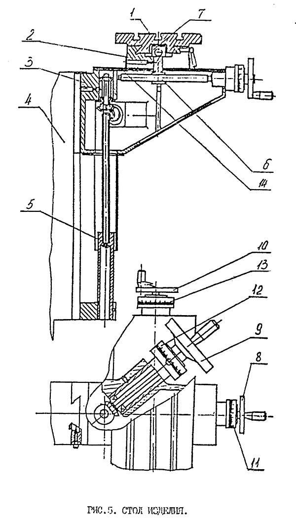
Стол вироби

Стол вироби гравировального верстата 6Е463

Стол вироби гравировального верстата 6е463


Стол вироби (Рис.5) предназначен для закрепления на нем обрабатываемых деталей. На столе могут устанавливаться тиски, наклонно-поворотный стол і другие приспособления. Стол перемещается в трех взаимоперпендикулярных направлениях. Все переміщення производятся вручную з помощью винтовых пар 4, 5, 6 отсчет перемещений ведется по лимбам 10, 11, 12, соответственно по каждой координате.


Стол копира

Стол копира 10 (Pиc.10) предназначен для установки копиров, по которым ведется обработка. Стол копира установлен на стойке 5 пантографа. Поворот стола вокруг вертикальной оси на 360° осуществляется вручную. Установка величины угла разворота стола копира осуществляется по лимбу 11, фиксация - рукояткой 12. Стол копира снабжен пазами типа "ласточкин хвост", которые служат для установки шрифта. Кроме етого в нем имеется Т-образные пазы, которые могут быть использованы для установки различных пристосувань. Стойка 5 вместе со столом копира і пантографом може перемещаться по горизонтальным направляющим станины, что позволяет установить шпиндель в пределах плоскости стола вироби при различных масштабах копирования. Фиксация стойки осуществляется двумя болтами 16 (Рис.3).


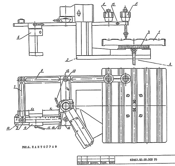
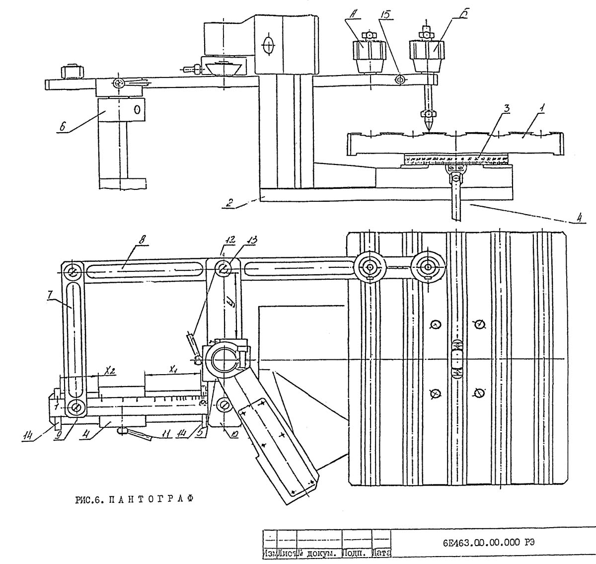
Пантограф

Пантограф (Рис.6) осуществляет на станке копирующее движение. Копирование з помощью пантографа (шарнирного параллелограмма) построено на принципе геометрического подобия треугольников і осуществляется по нижеприведенной схеме;

Пантограф гравировального верстата 6Е463

Пантограф гравировального верстата 6е463

Пантограф гравировального верстата 6Е463. Дивитись у збільшеному масштабі



6Е463 Пантограф гравировального верстата 6Е463

Пантограф гравировального верстата 6Е463


6Е463 Пантограф гравировального верстата 6Е463

Пантограф гравировального верстата 6Е463

Пантограф гравировального верстата 6Е463. Дивитись у збільшеному масштабі



Ш -точка шпинделя

Т - точка трейсера (ощупывающего пальца)

К, L , М і N - точки шарниров пантографа.

Такая схема позволяет осуществить копирование з большим диапазоном масштабов при сравнительно небольших размерах сторон параллелограмма, а также пожучить достаточно большую площадь обслуживании.

Плечи пантографа соединены между собой шарнирами, собранными на высокоточных радиально-упорных підшипниках I (Рис.6). При помощи кареток 4 і 5 пантограф соединен з корпусом шпинделя 4 і стойкой 5. Соединение выполнено также на высокоточных радиально-упорных шарикопідшипниках 13. Подвижные соединения пантографа з каретками выполнены в виде "ласточкиного хвоста". Изменение передаточного отношения пантографа (масштаба копирования) производится переміщенням плечей 6 і 7 пантографа относительно кареток 2 і 3 з післядующей фиксацией их рукоятками 8 і 9.

Ощупывающее пристрій (Рис.7) выполнено в виде цанговой втулки 1, внутри которой перемещается трейсер 2. В рабочем положении пристроя, когда трейсер войдет в контакт з профилем копируемого знака или литеры копира, рукояткой-гайкой производится зажим трейсера, для перехода на другой знак или литеру копира необходимо предварительно отпустить рукоятку-гайку, чтобы датъ возможность трейсеру 2 под действием пружины 4 выйти из контакта з профилем копирующего шаблона (копира).

Ощупывающее пристрій може устанавливаться на различную высоту (в пределах 15 мм) за счет переміщення в осевом направления цанговой втулки I относительно плеча пантографа 14 (Рис.6).

Ход трейсера 2 в зависимости от высоты профиля копирующего знака или литеры регулируется установкой не нем резинового кольца 5. Максимальный, ход трейсера (относительно цанговой втулки I) - 4 мм. В рабочем положении ощупывающего пристроя винт 15 (Рие.6) должен быть затянут. Для установки масштаба копирования 1:1 необходимо, кроме установки кареток, установить ощупывающее пристрій а ближе расположенное к шарнирам пантографа отверстие плеча 14 (Рис.6). При всех других передаточных отношениях пантографа (1:2, 1:3.... 1:100) ощупывающее пристрій должно быть установлено в крайнее отверстие плеча 14 (Рис.6). Подробное опис налаштування пантографа на необходимые масштабы копирования приведено на стр. 41 і 42.


Подвеска шпинделя

Подвеска шпинделя гравировального верстата 6Е463

Подвеска шпинделя гравировального верстата 6е463

Подвеска шпинделя гравировального верстата 6Е463. Дивитись у збільшеному масштабі



Подвеска шпинделя (Рис.8) состоит из трех шарнирно-соединенных между собой деталей - корпуса I, рычага 2 і кронштейна 3. В гильзе 6, помещенной в корпусе I, монтируется шпиндель 4 і механізм его подачі 5, Шпиндель верстата I (Рис.9) собран в гильзе 2 на двух радиально-упорных шариковых підшипниках 3 і 4. В нижней частини шпинделя имеется 2-х ступенчатый шкив 5. Инструмент шпинделя крепится при помом цангового зажиму (цанга 6 і гайка 7). В нижней частини шпиндель имеет пазы для специального ключа. Для швидкого подвода или відведення инструмента в верхней частини шпинделя монтируется механізм его подачі (Рис.10), состоящий из корпуса I, на котором нанесена отсчетная шкала глубины врізання, поворотной втулки 2, рукоятки 3, гвинта 4 і гайки 5. Разворот рукоятки 3 ограничивается боковой плоскостью окна втулки 6. Фиксация втулки 6 производится гайкой 7. Быстрый подвд (отвод) инструмента производится опусканием (подъемом) рукоятки 3. Микрометрическая подача осуществляется поворотом рукоятки 1, Наличие в верхней частини механізма подачі шинделя конусного упора 8, ось которого совмещена з осью резца, позволяет работать по контршаблону і таким образом производить надписи з плоского копира на пространственно сложных поверхностях.





Работа по контршаблону

Для гравирования различных надписей, узоров і делений з плоского шаблона на цилиндрических, сферических і других поверхностях необходимо установить над обрабатываемой деталью контршаблон точно повторяющий її форму. Для етого к кронштейну I (Рис.11) необходимо прикрепить контршаблон 2. Перемещениями кронштейна I выставить контршаблон над обрабатываемой деталью 3 так, чтобы их оси симметрии совпадали. На столе шаблонов устанавливается плоский шаблон. С одной установки можно обработать деталь шириной в = 0,6 R, где R - радиус детали

Работа по контршаблону на станке 6Е463

Работа по контршаблону на станке 6Е463


Привід шпинделя

Привід шпинделя гравировального верстата 6Е463

Привід шпинделя гравировального верстата 6е463

Привід шпинделя гравировального верстата 6Е463. Дивитись у збільшеному масштабі



Вращение шпинделя осуществляется от електродвигуна I (Рис.12), установленного на кронштейне 2. На валу електродвигуна установлен 3-х ступенчатый шкив 3. Соосно з електро-


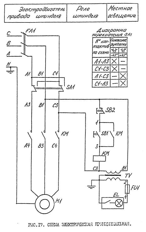
Схема електрична принципова гравировального верстата 6Е463

Схема електрична принципова гравировального верстата 6Е463

Електрична схема гравировального верстата 6Е463


Настановне креслення гравировального верстата 6Е463

6Е463 Настановне креслення гравировального верстата

Настановне креслення гравировального верстата 6Е463





6Е463 Верстат гравировальный копировально-фрезерный з пантографом. Відеоролик.



Технічні характеристики гравировального верстата 6Е463

Наименование параметра 6Л463 6Г463 6Е463
Основні параметри верстата
Масштаб копирования 1:1 ÷ 1:50 1:1 ÷ 1:100 1:1 ÷ 1:100
Диаметр наибольшей окружности пантографа примасштабе 1:1, мм 200 210 210
Розміри рабочей поверхности стола вироби, мм 200 х 320 250 х 500 250 х 500
Розміри рабочей поверхности стола копира, мм 250 х 400 320 х 400 320 х 400
Наибольший продольный ход стола (X), мм 200 300 300
Наибольший поперечний ход стола (Y), мм 125 200 200
Наибольший вертикальний ход стола (Z), мм 250 300 300
Перемещение продольное стола (X) на одно деление лимба, мм 0,05 0,05 0,05
Перемещение поперечное стола (Y) на одно деление лимба, мм 0,05 0,05 0,05
Перемещение вертикальное стола (Z) на одно деление лимба, мм 0,025 0,025 0,025
Перемещение продольное стола (X) на один оборот лимба, мм 4 5 5
Перемещение поперечное стола (Y) на один оборот лимба, мм 4 5 5
Перемещение поперечное стола (Z) на один оборот лимба, мм 2,5 2,5 2,5
Поворот стола копира, град ±30° 360° 360°
Величина микрометрического переміщення шпинделя, мм 1 1 1
Цена деления лимба микрометрического переміщення шпинделя, мм 0,05 0,05 0,05
Величина ходу швидкого подвода шпинделя, мм 4 5 5
Величина переміщення шпинделя при работе по контршаблону, мм 10 10
Частота обертання шпинделя, об/мин 1260..15900 1250..20000 1250..20000
Количество швидкостей шпинделя 12 13 13
Електроустаткування і привід верстата
Количество електродвигателей на станке 1 1 1
Електродвигун приводу головного руху, кВт 0,27 0,25 0,25
Габаритные розміри і масса верстата
Габаритные розміри (длина х ширина х высота), мм 1100 х 1000 х 1260 1120 х 1000 х 1260 1040 х 1000 х 1260
Масса верстата, кг 300 260 250

    Список литературы:

  1. Аврутин С.В. Основы фрезерного дела, 1962
  2. Аврутин С.В. Фрезерне дело, 1963
  3. Ачеркан Н.С. Металлорежущие верстати, Том 1, 1965
  4. Барбашов Ф.А. Фрезерне дело 1973, с.141
  5. Барбашов Ф.А. Фрезерные роботи (Профтехобразование), 1986
  6. Блюмберг В.А. Справочник фрезеровщика, 1984
  7. Григорьев С.П. Практика координатно-расточных і фрезерных работ, 1980
  8. Копылов Р.Б. Работа на фрезерных верстатах,1971
  9. Косовский В.Л. Справочник молодого фрезеровщика, 1992, с.180
  10. Кувшинский В.В. Фрезерование,1977
  11. Ничков А.Г. Фрезерные верстати (Библиотека станочника), 1977
  12. Пикус М.Ю. Справочник слесаря по ремонту металлорежущих верстатів, 1987
  13. Плотицын В.Г. Расчёты настроек і наладок фрезерных верстатів, 1969
  14. Плотицын В.Г. Наладка фрезерных верстатів,1975
  15. Рябов С.А. Современные фрезерные верстати і их оснастка, 2006
  16. Схиртладзе А.Г., Новиков В.Ю. Технологическое обладнання машиностроительных производств, 1980
  17. Тепинкичиев В.К. Металлорежущие верстати, 1973
  18. Чернов Н.Н. Металлорежущие верстати, 1988
  19. Френкель С.Ш. Справочник молодого фрезеровщика (3-е изд.) (Профтехобразование), 1978








Заказать

Кто владеет информацией - тот владеет миром.

Натан Ротшильд