metalinstryment.com
Довідник по металорізальних верстатів та пресовому обладнанні

8725 Верстат ножовочный отрезной
Схеми, опис, характеристики

8725 Верстат ножовочный отрезной







Відомості про виробника ножовочно-отрезного верстата моделі 8725

Производителем ножовочно-отрезного верстата моделі 8725 является Краснодарский експериментальный завод им. Калинина.

Разработчик Краснодарское специальное конструкторское бюро автоматических линий.

Производителем ножовочно-отрезного верстата моделі 8725 является, также, ПромСтройМаш, г. Оренбург, основанный в 2002 году.

На рынке строительного оборудования России присутствует несколько отечественных разработчиков і изготовителей верстатів ножовочных отрезных і множество иностранных фирм из Китая, Турции, Болгарии і т.д.

Ножовочные отрезные верстати выпускаемые станкостроительными предприятиями СССР, России, Белоруссии:





Верстати, выпускаемые Краснодарским експериментальным заводом им. Калинина


8725 Верстат електромеханический ножовочный отрезной. Назначение, область применения

Ножовочный отрезной верстат 8725 применяется для резки машинным ножовочным полотном труб, швеллеров, уголков, круглого проката, квадратной і полосовой стали.

Отрезной верстат 8725 предназначен для отрезки круглого і профильного материала из стали, чугуна і цветных металлов машинным ножовочным полотном для металла путем поступательного руху.

Резка производится в плоскости, перпендикулярной к оси заготовки, а также под углами до 45°. Верстат применяется в условиях индивидуального і серийного производства.

Особливості конструкції ножовочного верстата 8725:

Резка металла осуществляется перпендикулярно к оси заготовки, закрепленной при помощи специального кронштейна на тисках, либо под углами до 45 градусов, для чего заготовку закрепляют в специальных комбинированных тисках.

При помощи верхнего прижима на тисках в станке 8725 возможна пакетная резка заготовок.

Диапазон швидкостей різання регулируется ступенчато, в зависимости от структуры разрезаемого материала.

Подача СОЖ (смазочно-охлаждающей жидкости) происходит автоматически.

Климатическое виконання по ГОСТ 15150-69-УХЛ4, класс точності верстата Н по ГОСТ 8-82Е.


Технічні характеристики ножовочного отрезного верстата 8725

Основні параметри верстата - в соответствии з ГОСТ 601-82.


Габаритные розміри робочого простору ножовочного верстата 8725

Габаритные розміри робочого простору ножовочного верстата 8725

Габаритные розміри робочого простору верстата 8725

Габаритные розміри робочого простору верстата 8725. Дивитись у збільшеному масштабі




Загальний вигляд отрезного ножовочного верстата 8725

Фото отрезного ножовочного верстата 8725

Фото отрезного ножовочного верстата 8725

Фото отрезного ножовочного верстата 8725. Дивитись у збільшеному масштабі



фото механической ножовки 8725

Фото отрезного ножовочного верстата 8725

Фото отрезного ножовочного верстата 8725. Дивитись у збільшеному масштабі



фото механической ножовки 8725

Фото отрезного ножовочного верстата 8725

Фото отрезного ножовочного верстата 8725. Дивитись у збільшеному масштабі



фото механической ножовки 8725

Фото отрезного ножовочного верстата 8725

Фото отрезного ножовочного верстата 8725. Дивитись у збільшеному масштабі



фото механической ножовки 8725

Фото отрезного ножовочного верстата 8725

Фото отрезного ножовочного верстата 8725. Дивитись у збільшеному масштабі







Кінематична схема отрезного ножовочного верстата 8725

Кінематична схема отрезного ножовочного верстата 8725

Кінематична схема отрезного ножовочного верстата 8725

Кінематична схема отрезного ножовочного верстата 8725. Дивитись у збільшеному масштабі



Схема розположення підшибників отрезного ножовочного верстата 8725

Схема розположення підшибників отрезного ножовочного верстата 8725


Привід верстата осуществляется от индивидуального електродвигуна 5, N=3,0 кВт, n=960 об/мин. Рух мотора передається посредством клиноременной передачи шкивом 8 на шкив 9, свободно вращающемуся на оси I. Главный вал II може получать 2 числа оборотів благодаря двум ступеням на шкивах клиноременной передачи.

  1. n1=55 об/мин при передаче руху з меньшей ступени шкива електромотора на большую ступень шкива на оси I.
  2. n2=114 об/мин при передаче руху з большей ступени шкива електромотора на меньшую ступень шкива на оси I.

На валу II на шпонке крепится кривошипный диск 15 з пальцев кривошипа 12. От него посредством шатуна 4, пильная рама 2 получает возвратно – поступательное рух з числом двойных ходов, соответствующее числу оборотів вала II. На валу II установлены підшипники 13 і 14, передающие рух поршням 17 і 18 гідравлічного насоса посредством тяг з шарниром.

Поршни насоса нагнетают масло через распределительный кран 19 в рабочий цилиндр 20, который посредством тяги 23 і двух шарниров соединен з рукавом 3 і може поворачивать его вокруг оси рукава III.

Таким образом, подъем і опускание пильной рамы 2, подача при резании, а также приподниманию полотна при обратном ходе осуществляется гідроприводом верстата. Рукоятка 25 служит для керування гідроприводом. После окончания резки, в нижнем положении пильной рамы, планка 28 ударяет по рейке 16 і перемещает ее.

Этим самым через шестерню 27, на распределительном кране 13, распределительный кран устанавливается в положение, соответствующее подъему пильной рамы, і ножовочное полотно автоматически поднимается на высоту согласно установленного заранее выключателя 22, который нажимает на конечный выключатель 26.

Электронасос охлаждения работает при включении тумблера, расположенного на панелі електрошафи.





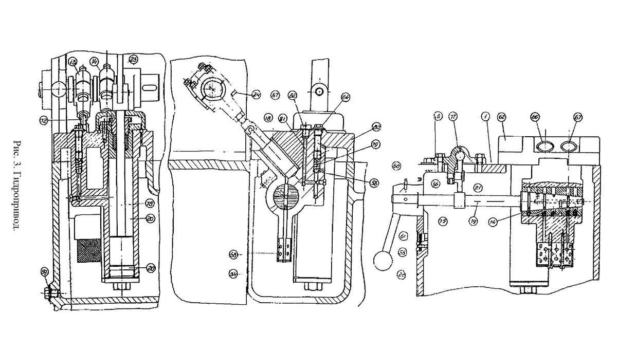
Короткий опис конструкції верстата

Привід верстата

Мотор 5 (см. рис. 2) установлен на рамке 6, укрепленной к станине 1 кронштейном 7. На валу мотора насажен шкив 8 клиноременной передачи. На оси 1 насажен свободно вращающийся второй шкив 9, на ступице которого имеется косозубая шестерня 10 z=26, М=2,5, з етой шестерней сцепляется шестерня 11, z=145, М=2,5, которая насажена на шпонке на главном валу II. Шестерни і шкивы приводу закрыты кожухом. Пуск і зупинка мотора осуществляется через кнопки «Пуск» і «Стоп».

При подъеме рукава до его верхнего положения, выключатель 22 нажимает на конечный выключатель і автоматически выключает мотор. Винт 33 служит для натяга ремней клиноременной передачи.

Станина

Станина (см. рис. 2) 1 имеет коробчатую форму з усиливающим ребром внутри. Нижня часть станины является резервуаром для охлаждающей жидкости. За одно целое со станиной изготовлен резервуар для масла гідропривода. На станине монтируется все вузли верстата.

Стойка

Чугунная стойка 24 укреплена на задньої стороне поверх станины. Стойка имеет підшипники ковзання для головного вала II і для оси III качающего рукава.

На задньої стороне стойки расположен електрошкаф. На внутренней стороне стойки на пальце закреплена опора рукава 31.

Рукав

Качающийся на оси III рукав 3 на нижней своей поверхности имеет направляющие в форме ласточкина хвоста, по которым движется пильная рама.

Посредством тяги 23 і двух шарниров рукав соединен со штоком поршня робочого цилиндра гідропривода, управляющего движением рукава.

Пильная рама

Пильная рама 2 имеет направляющие согласно направляючих рукава і движется по ним возвратно – поступательным движением от кривошипного диска 15, з которым она соединена шатуном 4.

Ножовочное полотно 32 одним своим отверстием одевается на штифт нерухомо укрепленной планки, а другим отверстием на штифт подвижной планки і прижимается спец. планками.

Натяг ножовочного полотна осуществляется гайкой.

Зажимные тиски

Для закрепления разрезаемого материала верстат снабжен специальными зажимами з плоскими рифлеными губками.

Зажим производится з помощью гвинта і упора.

Упор для материала

При резке заготовок небольшой одинаковой длины, применяется упор 34, который можно установить в нужном положении.





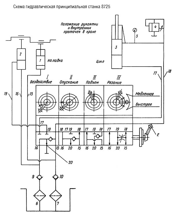
Гідропривід отрезного ножовочного верстата 8725

Гідропривід отрезного ножовочного верстата 8725

Гідропривід отрезного ножовочного верстата 8725

Гідропривід отрезного ножовочного верстата 8725. Дивитись у збільшеному масштабі



Гідропривід отрезного ножовочного верстата 8725

Гідропривід отрезного ножовочного верстата 8725

Гідропривід отрезного ножовочного верстата 8725. Дивитись у збільшеному масштабі



С помощью гідроприводу (рис.3) осуществляется подъем і опускание ножовочного полотна.

Полотно може быть установлено на постоянной высоте.

При резании в начале робочого ходу давление полотна на отрезаемый материал минимальное, затем оно плавно возрастает і незадолго до окончания робочого ходу падает. Во время обратного ходу пильной рамы, ножовочное полотно приподнимается і не входит в соприкосновение з разрезаемым материалом.

В зависимости от рода материала величина подачі плавно регулируется дросселированием масла.

Предельное давление масла определяется прочностью ножовочных полотен і устанавливается предохранительным клапаном.

Все керування гідроприводом осуществляется краном 19 з рукояткой 25. Рукоятка 25 з указателем 60 передвигается по шкале 61, снабженной надписями: «Подъем», «Опускание», «Бездействие», «Медленное действие», «Быстрее», чем і устанавливается режим роботи ножовочного полотна в пределах от минимума до максимума.

Корпус гідроприводу 62 крепится на стакане 1 і входит в резервуар для масла 34. Масло і резервуар заливается через отверстие 63, для чего необходимо отвернуть пробку 75. Маслоуказатель 85 имеет черту на стакане, соответствующую нормальному уровню масла. Выпуск масла производится через отверстие в стакане, закрытое пробкой 59.

В корпусе гідронасоса расточены 2 наклонных цилиндра 66 і 67 з запрессованными в них биметаллическими втулками. Поршни 17 і 18 цилиндров 66 і 67 получают рух посредством тяг 72 і 73 от підшибників 13 і 14, сидящих на валу II. Поршни 17 і 18 засасывают масло из резервуара 34 через фильтр 68 і нагнетают через каналы втулки крана 74 і пробки крана 19 в рабочий цилиндр 20.

Шток поршня 78 шарнирно соединен з тягой 23 з рукавом 3 і управляет его движением. Поворот пробки крана 19 осуществляется рукояткой 25. При окончании різання пробка крана автоматически устанавливается в положение «Подъем» і ножовочное полотно поднимается. Уплотнение в кране достигается подтягиванием гайки 75.

Для установки предохранительного клапана 58 на нужное давление, степень сжатия пружины 79 регулируется винтом 80.

Канал 81 служит для подводки масла к контрольному манометру і при работе верстата должен быть закрыт пробкой 82. Предохранительный клапан 58 должен быть отрегулирован на давление не ниже 25 атмосфер.

При регулировке клапана контрольный манометр ввинчивается вместо пробки 82.

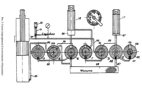
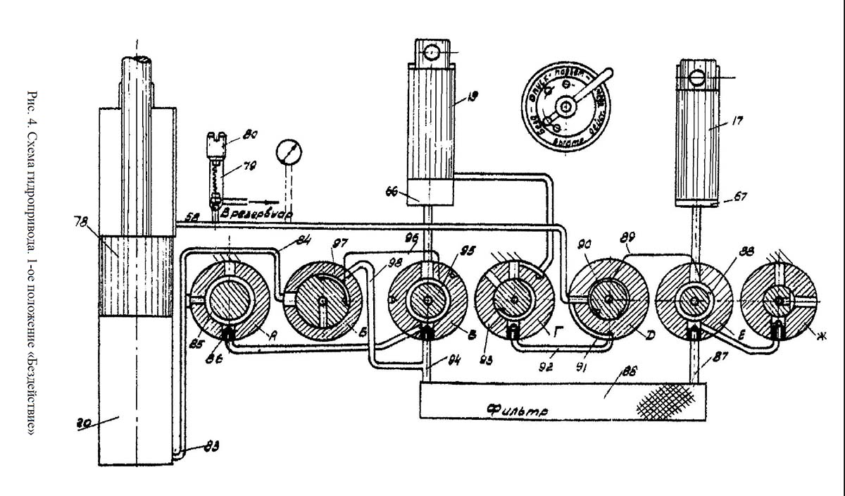
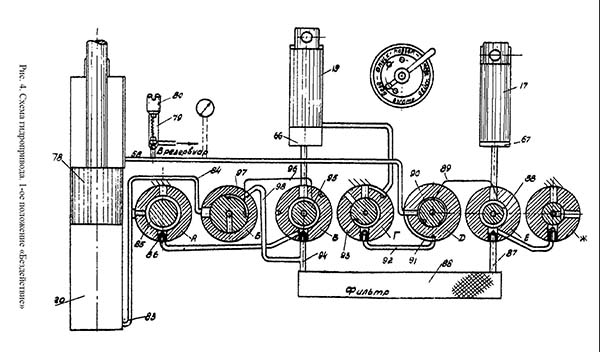
Опис схеми гідропривода

На рис. 4, 5, 6, 7, 8 изображены схеми гідроприводу верстата для основних положений крана.

1-е положение «Бездействие» (черт. №3). В етом положении рукав, связанный з поршнем 78 робочого цилиндра 20, неподвижен.

Масло из верхней полости цилиндра 20 имеет выход по каналам 103, 91, 92, 109, і 93 в резервуар і по каналам 103, 90, 89 і 88 і цилиндр 67, так как в етот момент поршень 17 движется вверх і засасывает масло.

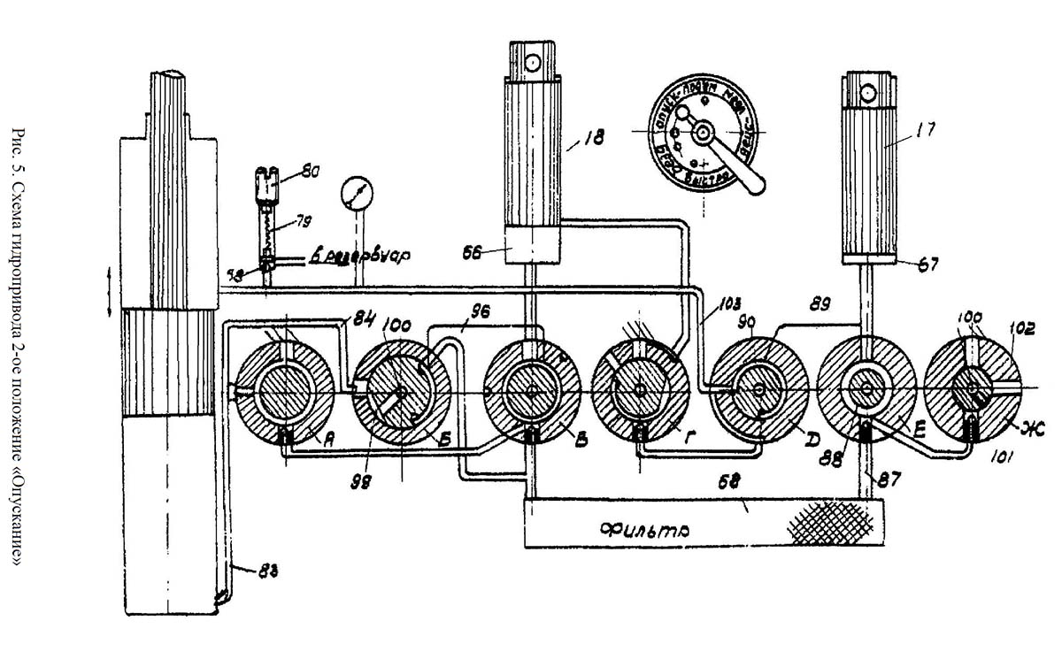
2-я часть обратного холостого ходу пильной рамы.

Во 2-й частини обратного ходу поршень 18, а затем поршень 17 меняют направление руху і поршень 78 опускается.

1-я часть робочого ходу пильной рамы.

Непосредственно вслед за началом робочого ходу, ножовочное полотно приходит в соприкосновение з разрезаемым материалом і при дальнейшем движении рамы полотно получает подачу, осуществляющуюся следующим путем: поршень 17, продолжая двигаться вниз, нагнетает масло в верхнюю полость цилиндра 20. Давление из поршня 78 в верхней полости создается дросселированием избыточного объема масла, отводящегося в резервуар по каналам 91, 92 дросселирующему каналу 109 і отверстие 93.

Масло из нижней полости цилиндра 20 имеет выход в резервуар по каналам 83, 84, 97, 96 і 95, 108, 110 і 111, так как поршень 18 в етой частини ходу находится выше отверстия 108 і цилиндра 66.

2-я часть робочого ходу пильной рамы.

Во второй частини робочого ходу поршень 18 меняет направление руху і начинает нагнетать масло, так как поршень 18 находится выше канала 108, то нагнетенное масло по каналам 108, 110 і 111 отводится в резервуар.

Незадолго до кінця робочого ходу поршень 17, также меняет свое направление і начинает всасывать. Непосредственно вслед за етим, поршень 18 перекрывает канал 103 і начинает нагнетать масло по каналам 95, 96, 97, 84 і 83 в нижнюю полость цилиндра 20. Поршень 78 движется вверх. Ножовочное полотно приподнимается над разрезаемым материалом.

5-е положение – «Действие быстрое»

Давление сверху на поршень 78 в положении 4-ом незначительно, так как перепад давлений в дросселирующем канале 109 незначителен. При вращении рукоятки пробки крана из 4-го положения по часовий стрелке, сечение дросселирующего канала 109 постепенно суживается і давление сверху на поршень постепенно возрастает. В 5-м положении, получаемом поворотом рукоятки на 135° по часовий стрелке из 4-го положения, сечение дросселирующего канала сводится к нулю. Избыточный объем масла теперь поступает через предохранительный клапан 58 в резервуар. Предельное давление, на которое регулируется предохранительный клапан 58 не должно превышать 25 атм. і устанавливается по контрольному манометру 112.

Схема гідроприводу ножовочного верстата 8725. 1-ое положение «Бездействие»

Схема гідроприводу ножовочного верстата 8725. 1-ое положение «Бездействие»

Схема гідроприводу ножовочного верстата 8725. 1-ое положение «Бездействие». Дивитись у збільшеному масштабі



Схема гідроприводу ножовочного верстата 8725. 2-ое положение «Опускание»

Схема гідроприводу ножовочного верстата 8725. 2-ое положение «Опускание»

Схема гідроприводу ножовочного верстата 8725. 2-ое положение «Опускание». Дивитись у збільшеному масштабі



Схема гідроприводу ножовочного верстата 8725. 3-е положение «Подъем»

Схема гідроприводу ножовочного верстата 8725. 3-е положение «Подъем»

Схема гідроприводу ножовочного верстата 8725. 3-е положение «Подъем». Дивитись у збільшеному масштабі



Схема гідроприводу ножовочного верстата 8725. 4-ое положение «Опускание медленно»

Схема гідроприводу ножовочного верстата 8725. 4-ое положение «Опускание медленно»

Схема гідроприводу ножовочного верстата 8725. 4-ое положение «Опускание медленно». Дивитись у збільшеному масштабі



Схема гідроприводу ножовочного верстата 8725. 5-е положение «Действие быстро»

Схема гідроприводу ножовочного верстата 8725. 5-е положение «Действие быстро»

Схема гідроприводу ножовочного верстата 8725. 5-е положение «Действие быстро». Дивитись у збільшеному масштабі







Обслуговування і уход за верстатом

Верстат отправляется заводом отрегулированным і проверенным на ходу.

Прежде чем пустить верстат в ход, необходимо установить на требуемое число двойных ходов пильной рамы. При резке твердых металлов ножовке дают 55 дв.хода/мин. При резке мягких – 114 дв.ход/мин. В резервуар для масла гідроприводу верстата заливается около 10 литров масла «Индустриальное И30». За уровнем масла следят по маслоуказателю.

Необходимо проверить смазку верстата, пополнить маслом масленки і подлить масло на шестерни привода. Охлаждающая жидкость заливается в нижнюю часть станины, служащую резервуаром. Количество охлаждающей жидкости – около 20 литров. Хорошей охлаждающей жидкостью является 6-10%; раствор «Эмульсола» в воде. Тиски устанавливаются на станке з таким расчетом, чтобы ось разрезаемой заготовки приходила посредине ходу пильной рамы. При установці материала і закреплении его з тисках необходимо следить, чтобы заготовка лежала горизонтально і под углом к ножовочному полотну. Особое внимание следует обращать на состояние ножовочного полотна. Полотно должно быть натянуто, его зубцы должны быть остры.

Слабо натянутое полотно сделает неправильный разрез, а полотно з тупыми или поломанными зубцами будет непроизводительно работать і даст плохой з неровной поверхностью разрез, а при вязком металле може сломаться.

Прежде чем приступить к работе на станке, необходимо пустить верстат на непродолжительное время вхолостую, для того, чтобы удалить воздух, находящийся в цилиндрах і каналах гідропривода. Воздух из пробки 82, выпускается при її неполном вывинчивании при пуске верстата, так как рукав верстата находится в нижнем положении, рукоятку 25 крана гідроприводу ставит из положения «Подъем» і затем включают мотор, нажав кнопку «Пуск». После того, как воздух будет удален і uyhгідропривід покажет нормальную работу при всех положениях, рукоятки крана можно приступить к работе верстата.

При пуске верстата рукоятку крана ставят з положение «Опускание» і включают мотор. После того, как полотно опустится к разрезаемому материалу, рукоятку крана переводят в положение «Медленное действие» для предварительного різання. После устанавливают той же рукояткой желаемую подачу.

Дальнейшая робота верстата происходит автоматически. По окончании резки планка пильной рамы, ударяясь по рейке 16 переводит рукоятку 25 в положение «Подъем». Пильная рама поднимается, верстат останавливается. Положение рейки 16 относительно шестерни, сидящей на пробке крана устанавливается заводом і не подлежит регулировке. Положение выключателя 25 относительно рукава устанавливается двумя гвинтами. Для нормальной роботи верстата необходимо применять для гідроприводу і для змазки чистое минеральное масло, свободное от кислот і других примесей. Охлаждающая жидкость не должна быть загрязнена і засорена мелкими металлическими частиницами і периодически должна фильтроваться или заменяться. На електрической частини не должно быть пыли, грязи і особенно масла.

Шариковые підшипники мотора должны смазываться свободной от кислот і щелочей консистентной мазью, которая периодически меняется. Підшипники перед заполнением их смазкой должны тщательно промываться бензином. Все соединения проводов должны быть прочны і надежны. Ослабленные контакты необходимо подтягивать, а поверхность их тщательно очищать от слоя окислов.

Температурные условия цеха, в котором должен работать верстат, должны быть от +15° С і выше (по УХЛ4).

Регулювання изнашиваемых деталей

Неполадки в работе верстата і методы их устранения

При нарезании верстат показывает низкую производительность:





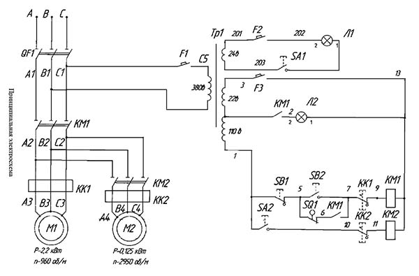
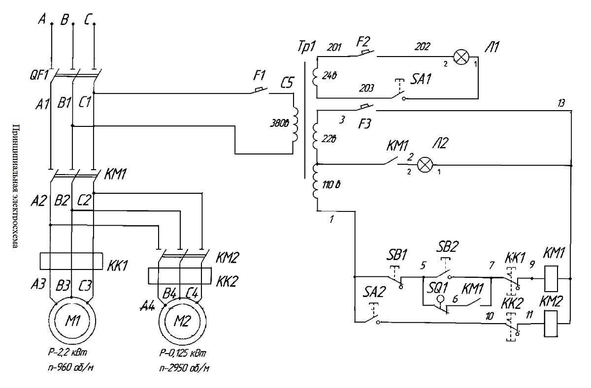
Схема електрична механической ножовки 8725

8725 Схема електрична верстата для резки металла

Електрична схема отрезного ножовочного верстата 8725

Електрична схема отрезного ножовочного верстата 8725. Дивитись у збільшеному масштабі



Инструмент отрезных ножовочных верстатів 8725


Розміри ножовочных станочных полотен

Розміри ножовочных станочных полотен

Розміри ножовочных станочных полотен. Дивитись у збільшеному масштабі



Разрезание материала на ножовочных верстатах производится ножовочными полотнами, которые изготавливаются из сталей Р9, Р18 или ШХ 15.

Ножовочные полотна подбираются по длине і шагу зубьев в зависимости от размеров распиливаемой заготовки і материала. Основні розміри ножовочных полотен приведены в табл. 69.

Шаг зубьев ножовочных полотен подбирается в зависимости от толщины разрезаемой заготовки і її материала. Ножовки з мелкими зубьями применяются для разрізання тонких заготовок і твердых материалов, ножовки з крупными зубьями— для заготовок з крупным сечением і мягких материалов.

Так, при разрезании станочными ножовками стали σвр = 40—60 кГ/мм2 рекомендуются ножовки з шагом зубьев 3..4 мм, стали σвр = 60 кГ/мм2 — з шагом 2,5 мм.

Форма зуба ножовочных полотен

Форма зуба ножовочных полотен

Обычно форма зуба ножовочных полотен треугольная (рис. 27).

Для станочных ножовочных полотен принимают передний угол γ = 0—5°, задний угол α = 35—40°, угол заострения β = 50—55°, радиус впадин 0,5—1,5 мм. Всесоюзный научно-исследовательский инструментальный институт рекомендует симметричный зуб з передним углом γ = — 30° і угол заострения β = 60°

Эти ножовочные полотна имеют меньший износ зубьев, повышенную производительность і при затуплении могут дополнительно использоваться путем установки другим концом.

Для уменьшения бокового трения зубья ножовочных полотен имеют развод 0,6—0,8 мм. Разность в высоте вершин смежных зубьев полотна не должна превышать 0,1 мм у полотен з шагом зубьев 1 мм і 0,15 мм у полотен з шагом зубьев свыше 1 мм.

Производительность ножовочных верстатів зависит от давления на полотно, которое рекомендуется выбирать в зависимости от толщины полотна. Так, при толщине ножовочного полотна 0,8, 1 і 2 мм давление соответственно составляет 5, 10 і 30 кГ

При работе полотно должно быть туго натянуто на раме, після нескольких ходов пилы необходимо затянуть полотно вторично.





8725 Верстат ножовочный отрезной (верстат ножовочно-отрезной). Відеоролик.




Технічні характеристики механической ножовки 8725

Наименование параметра 872а 872м 8725 8Б72
Основні параметри верстата
Наибольшие розміри сечения круглой заготовки (угол реза 90°), мм 250 250 250 250
Наибольшие розміри сечения круглой заготовки (угол реза 45°), мм 120 100 140 140
Наибольшие розміри сечения квадратной заготовки (угол реза 90°), мм 250 х 250 250 х 250 250 х 250 250 х 250
Наибольшие розміри сечения прямоугольной заготовки (угол реза 45°), мм 120 х 120 100 х 100 140 х 250
Наибольшее расстояние от полотна доврхней частини рамы, мм 223 223
Максимальная длина отрезаемой заготовки по упору, мм 350 350 350 350
Расстояние от основания верстата до опорной поверхности заготовки, мм 550 450
Розміри применяемого ножовочного полотна(ДхШхТолщ.), мм 500 450 450х40х2; Ø 8 500х40х2; Ø 8
Максимальная ширина пропила, мм 2,5 3,8 3,5 3,8
Число двойных ходов пильной рамы в минуту 85; 110 85; 110 45, 56, 71, 112, 140, 128 75, 120
Длина ходу пильной рамы, мм 150 140, 180 180 140, 180
Угол поворота тисков, град 45° 45° 45° 45°
Производительность при резке стали 45 ГОСТ 1050-74 Ø 100мм, не менее см2/мин 30
Механізм зажиму заготовки вручную вручную вручную
Електроустаткування верстата
Електродвигун головного привода, кВт (об/мин) 1,7 1,5 (1420) 2,2 1,5 (1400)
Електродвигун насоса охлаждения, кВт (об/мин) 0,12 0,125 (2800)
Габарит і масса пресс-ножниц
Габарит пресс-ножниц (длна х ширина х высота), мм 1470 х 875 х 925 1470 х 690 х 885 1690 х 700 х 900 1610 х 700 х 900
Масса пресс-ножниц, кг 605 650 700 645

    Список литературы:

  1. Ножовочный верстат 8725. Руководство по експлуатации 8725.00.001 РЭ, Завод им. М.И. Калинина, г. Краснодар, 1975

  2. Веселовский С.И. Разрезка материалов, 1973
  3. Дроздов Ф., Лебедевич В., Рубежин В. Справочное пособие по отрезным верстатам, 1967