metalinstryment.com
Довідник по металорізальних верстатів та пресовому обладнанні

8Б72 Верстат ножовочный отрезной
Схеми, опис, характеристики

8Б72 Верстат ножовочный отрезной







Відомості про виробника ножовочно-отрезного верстата моделі 8Б72

Производителем ножовочно-отрезного верстата моделі 8Б72 является Краснодарский експериментальный завод им. Калинина.

Разработчик Краснодарское специальное конструкторское бюро автоматических линий.





Верстати, выпускаемые Краснодарским експериментальным заводом им. Калинина


8Б72 Верстат електромеханический ножовочный отрезной. Назначение, область применения

Верстат ножовочный отрезной 8Б72 применяется для резки машинным ножовочным полотном труб, швеллеров, уголков, круглого проката, квадратной і полосовой стали.

Ножовочный отрезной верстат 8Б72 предназначен для отрезки круглого і профильного материала из стали, чугуна і цветных металлов машинным ножовочным полотном для металла путем поступательного руху.

Принцип роботи і особливості конструкції верстата 8Б72

Резка производится в плоскости, перпендикулярной к оси заготовки, а также под углами до 45°. Верстат 8Б72 применяется в условиях индивидуального і серийного производства.

Верстат ножовочный отрезной 8Б72 имеет гідравлическую систему для механизации основних вспомогательных операций:

Особливості конструкції ножовочного верстата 8Б72:

Резка металла осуществляется перпендикулярно к оси заготовки, закрепленной при помощи специального кронштейна на тисках, либо под углами до 45 градусов, для чего заготовку закрепляют в специальных комбинированных тисках.

При помощи верхнего прижима на тисках в станке 8Б72 возможна пакетная резка заготовок.

Диапазон швидкостей різання регулируется ступенчато, в зависимости от структуры разрезаемого материала.

Подача СОЖ (смазочно-охлаждающей жидкости) происходит автоматически.

Климатическое виконання по ГОСТ 15150-69-УХЛ4, класс точності верстата Н по ГОСТ 8-82Е.


Технічні характеристики ножовочного отрезного верстата 8Б72

Основні параметри верстата - в соответствии з ГОСТ 601-77.





Габаритные розміри робочого простору ножовочного верстата 8Б72

Габаритные розміри робочого простору ножовочного верстата 8Б72

Габаритные розміри робочого простору верстата 8Б72


Загальний вигляд механической ножовки 8Б72

фото механической ножовки 8Б72

Фото ножовочного верстата 8Б72


фото механической ножовки 8Б72

Фото ножовочного верстата 8Б72


фото механической ножовки 8Б72

Фото ножовочного верстата 8Б72


фото механической ножовки 8Б72

Фото ножовочного верстата 8Б72


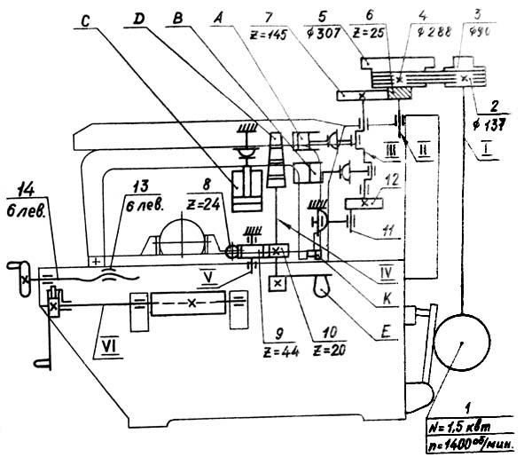
8Б72 Розташування основних вузлів верстата для резки металла

Розташування основних вузлів верстата для резки металла 8Б72

Розташування основних вузлів ножовочного верстата 8Б72


Список основних вузлів верстата для резки металла 8Б72

  1. Станина - 8Б72.10.000
  2. Ролик опорный - 8Б72.14.000
  3. Привід - 8Б72.30.000
  4. Ограждение - 8Б72.31.000
  5. Тиски - 8Б72.42.000
  6. Охлаждение - 8Б72.60.000
  7. Гідропривід - 8Б72.80.000
  8. Електроустаткування - 8Б72.90.000-01

8Б72 Розташування органів керування верстатом для резки металла

Розташування органів керування верстатом для резки металла 8Б72

Розташування органів керування ножовочным верстатом 8Б72


Список органів керування верстатом для резки металла 8Б72

  1. Магнитный пускатель
  2. Кнопочный пост "Пуск" і "Стоп" приводу верстата
  3. Рукоятка фиксации пильной рамы в верхнем положении
  4. Маховик ручного переміщення тисков
  5. Рукоятка опорного ролика ручного переміщення заготовки
  6. Рукоятка керування гідроприводом
  7. Упор автоматичного виключення верстата при верхнем положении пильной рамы




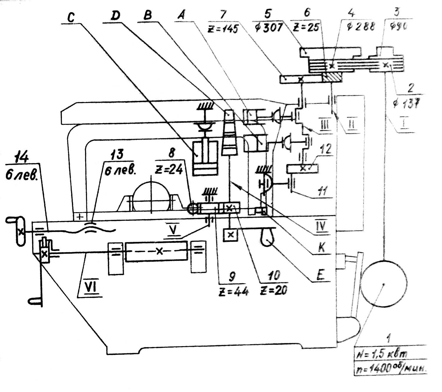
Кінематична схема механической ножовки 8Б72

8Б72 кінематична схема механической ножовки

Кінематична схема механической ножовки 8Б72

Кінематична схема механической ножовки 8Б72. Дивитись у збільшеному масштабі



Рух от електродвигуна 1 передається посредством клиноременной передачи і двухступенчатых шкивов на приводной вал II. Шкив 4 і 5, овободно вращающийся на валу II, сблокирован о шестерней 6. Через зубчатую пару 6 і 7 рух передається валу III, на другом кінці которого закреплен кривошипный диск 12 з пальцем кривошипа.

От кривошипного диска посредством шатуна возвратно-поступательное рух получает пильная рама. Число її двойных ходов в минуту 75 или 120. На валу III между двумя опорами имеются ексцентриковые шейки, от которых рух посредством шатунных тяг передається поршням А і В гідронасоса. Поршни нагнетают масло в распределительный кран Д, оттуда оно поступает в рабочий цилиндр С. Поршень етого цилиндра посредством шарнирных тяг соединен о рукавом.

Таким образом, подъем і опускание пильной раны, а также рабочая подача при резании осуществляется от гідропривода.

Керування гідроприводом производится рукояткой Е, которая може быть зафиксирована в пяти положениях:

  1. Бездействие
  2. Опускание пильной рамы
  3. Подъем пильной рамы
  4. Резание медленное
  5. Резание быстрое

По окончании резки заготовки в крайнем нижнем положении пильной рамы планка К, закрепленная на пильной раме, ударяет по рейке 8 і перемещает ее. Рейка через промежуточную шестерню 9 передает рух шестерне 10, жестко соединенной з валом распределительного крана. При етом кран устанавливается в положении подъема пильной рамы.

Пильная рама поднимается до тех пор, пока упор, находящийся на рукаве, не нажмет на конечный выключатель.

При етом размыкается електроланцюг і выключается електродвигатель головного руху.


Опис конструкції механической ножовки 8Б72


Ролик опорный

Для удобства подачі разрезаемой заготовки верстат укомплектован опорным роликом, закрепленным на станине. Опорный ролик позволяет перемещать разрезаемый материал в зону різання в шаговом режиме при помощи обертання рукоятки 5. После подачі разрезаемого материала до упора, настроенного на определенную длину отрезки заготовки, опорный ролик необходимо повернуть, чтобы заготовка легла на опорную плоскость станины.





Привід верстата 8Б72

Привід верстата состоит из следующих частин:

Чугунная стойка, укрепленная на верхней плоскости станины, служит опорой рукава і головного приводного вала.

Рукав в нижней частини имеет направляющие типа Ласточкин хвост, по которым движется пильная рама.

Рукав соединен со штоком поршня гідроцилиндра, поднимающего і опускающего пильную раму.

Пильная рама соединена шатуном з кривошипным диском і от которого получает возвратно-поступательное движение.


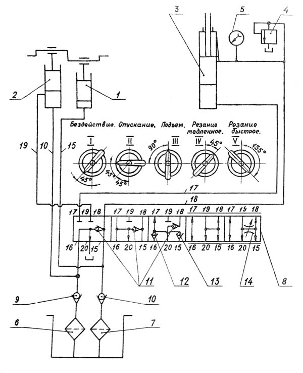
Гідравлічна схема механической ножовки 8Б72

8Б72 Гідравлічна схема механической ножовки

Гідравлічна схема механической ножовки 8Б72

Гідропривід служит для швидкого подъема пильной рамы після окончания пиления і для рабочей подачі полотна в процессе різання.

В начале робочого ходу процесса різання на полотно действует минимальное давление, затем оно постепенно повышается і перед окончанием робочого ходу давление плавно падает.

В зависимости от рода материала величина падачи плавно регулируется дросселированием масла. Предельное давление масла в зависимости от прочности ножовочных полотен устанавливается предохранительным клапаном. Установка предохранительного клапана на нужное давление определяет степень сжатия пружины, которое регулируется винтом. Предохранительный клапан должен быть отрегулирован на давление не выше 25 кгс/см2. Станож поставляется отрегулированным в пределах 15..25 кгс/см2

Во время обратного (холостого) ходу полотна осуществляется подсечка - отрыв полотна от заготовки чтобы не уменьшать ресурс режущего инструмента.

Канал для подвода масла к контрольному манометру при работе верстата должен быть закрыт пробкой I (рис.7). При регулировки вместо пробки ввинчивается контрольный манометр, который заводом не поставляется.


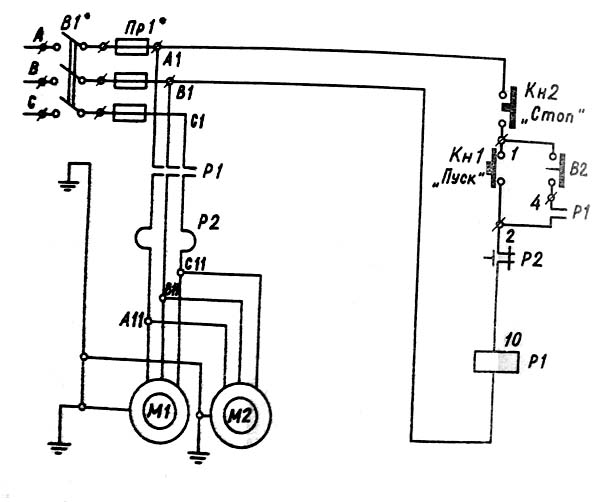
Схема електрична механической ножовки 8Б72

8Б72 Схема електрична верстата для резки металла

Електрична схема механической ножовки 8Б72




Технічні характеристики механической ножовки 8Б72

Наименование параметра 872а 872м 8725 8Б72
Основні параметри верстата
Наибольшие розміри сечения круглой заготовки (угол реза 90°), мм 250 250 250 250
Наибольшие розміри сечения круглой заготовки (угол реза 45°), мм 120 100 140 140
Наибольшие розміри сечения квадратной заготовки (угол реза 90°), мм 250 х 250 250 х 250 250 х 250 250 х 250
Наибольшие розміри сечения прямоугольной заготовки (угол реза 45°), мм 120 х 120 100 х 100 140 х 250
Наибольшее расстояние от полотна доврхней частини рамы, мм 223 223
Максимальная длина отрезаемой заготовки по упору, мм 350 350 350 350
Расстояние от основания верстата до опорной поверхности заготовки, мм 550 450
Розміри применяемого ножовочного полотна(ДхШхТолщ.), мм 500 450 450х40х2; Ø 8 500х40х2; Ø 8
Максимальная ширина пропила, мм 2,5 3,8 3,5 3,8
Число двойных ходов пильной рамы в минуту 85; 110 85; 110 45, 56, 71, 112, 140, 128 75, 120
Длина ходу пильной рамы, мм 150 140, 180 180 140, 180
Угол поворота тисков, град 45° 45° 45° 45°
Производительность при резке стали 45 ГОСТ 1050-74 Ø 100мм, не менее см2/мин 30
Механізм зажиму заготовки вручную вручную вручную
Електроустаткування верстата
Електродвигун головного привода, кВт (об/мин) 1,7 1,5 (1420) 2,2 1,5 (1400)
Електродвигун насоса охлаждения, кВт (об/мин) 0,12 0,125 (2800)
Габарит і масса пресс-ножниц
Габарит пресс-ножниц (длна х ширина х высота), мм 1470 х 875 х 925 1470 х 690 х 885 1690 х 700 х 900 1610 х 700 х 900
Масса пресс-ножниц, кг 605 650 700 645

    Список литературы:

  1. Веселовский С.И. Разрезка материалов, 1973
  2. Дроздов Ф., Лебедевич В., Рубежин В. Справочное пособие по отрезным верстатам, 1967