metalinstryment.com
Довідник по металорізальних верстатів та пресовому обладнанні

Д300 Верстат деревообрабатывающий комбинированный
Схеми, опис, характеристики

Д300 Верстат комбинированный деревообрабатывающий







Производителем деревообрабатывающего комбинированного верстата Д300 является компания Техснаб, ООО, г. Иваново. Адрес сайта: http://tehsnabstanki.ru

Компания "Техснаб" занимается разработкой і выпуском деревообрабатывающих верстатів з 1992 года.

Верстат Д300(К) - выпускал Кировский станкостроительный завод, основанный в 1880 году. Адрес сайта: http://ksz.kirov.ru





Деревообрабатывающие верстати Компании Техснаб


Д300 Верстат деревообрабатывающий комбинированный. Назначение, область применения

Деревообрабатывающий комбинированный верстат Д300 предназначен для комплексной обробки столярных изделий і несложной мебели пилением, строганием (фугованием), фрезерованием з ручной подачей заготовки на предприятиях средней мощности.

При соответствующей наладке на станке Д300 можно выполнять наступні виды обробки:

    Строгальный шпиндель (ножевой вал):

  1. строгание (фугование) по плоскости до 320 мм по ширине і до 4,3 мм в глубину за один проход;
  2. строгание по ребрам (кромке) под углом от 0 до 45°;
  3. рейсмусование одностороннее досок, брусьев з механической подачей до 320 мм по ширине і до 4,3 мм в глубину;
  4. сверление, изготовление продольных і поперечных пазов кінцівыми фрезами на сверлильно-пазовальном приспособлении.
  5. Пильный шпиндель:

  6. распиловку вдоль і поперек волокон доски толщиной до 80 мм при скорости подачі заготовки до 1,5 м/мин;
  7. распиловку вдоль волокон под углом от 0 до 45° з помощью линейки;
  8. распиловку плит, досок поперек волокон (торцевание) прямо і под углом з помощью торцовочной каретки;
  9. Фрезерный вертикальний шпиндель:

  10. фрезерование фасонными фрезами до Ø180 мм;
  11. зарезание шипов фасонными фрезами з помощью каретки;
  12. криволинейное фрезерование фасонными фрезами по шаблону (копировальное пристрій по заказу).



Особливості конструкції багатофункціонального верстата Д300

Условия експлуатации – на открытых площадках, под навесом, в закрытых помещениях, кроме жилых помещений.

Верстати Д300 должны експлуатироваться в следующих условиях:

Комплект поставки к верстату Д300

Верстат в сборе

Ящик Д300.052

Комплектность:

  1. Шипорезная каретка (в сборе)
  2. Зажим сверлильный (в сборе)
  3. Уголок
  4. Ножи строгальные (установлены на станке)
  5. Пила дискова 315х32 z=48 (поставляется за доп. плату)
  6. Кожух пилы з секторами
  7. Комплект опор (поставляется за дополнительную плату)
  8. Вставка на круглопильное пристрій
  9. Упор круглопильного пристроя
  10. Кожух фрезерного пристроя
  11. Зажим кожуха фрезерного пристроя
  12. Кольцо і лист фрезерного пристроя
  13. Стопор фрезерного пристроя (установлен на станке)
  14. Направляющая строгального пристроя (в сборе)
  15. Захист строгального пристроя (в сборе)
  16. Пристрій свердлильне (в сборе)
  17. Винты крепления сверлильного пристроя
  18. Руководство по експлуатации

Дополнительные приспособления к верстату Д300





Д300 Загальний вигляд комбинированного верстата

Фото вигляд комбинированного верстата Д300

Фото вигляд комбинированного верстата Д300


Cклад комбинированного верстата Д300

Cклад комбинированного верстата Д300

  1. Станина Д300.101.051
  2. Рейсмус Д300.200.001
  3. Пристрій круглопильное Д300.401.001
  4. Пристрій фрезерное Д300.402.001
  5. Пристрій шипорезное Д300.403.001
  6. Пристрій свердлильне Д300.405.001

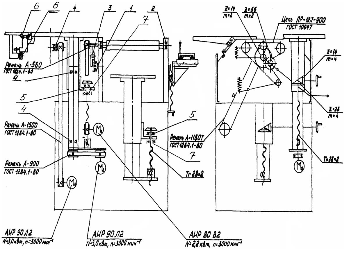
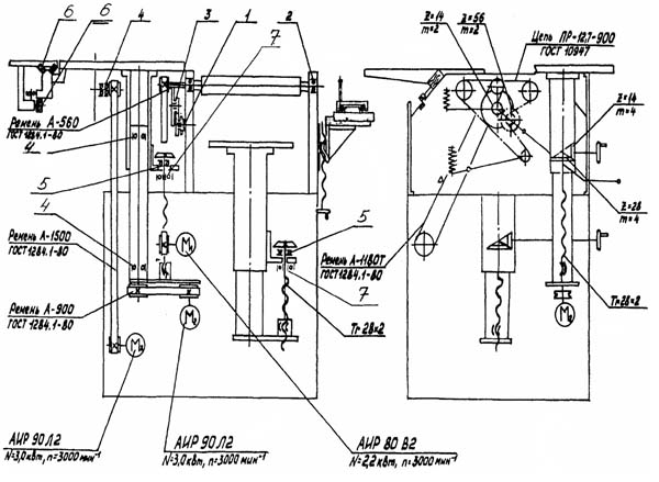
Кінематична схема комбинированного верстата Д300

Кінематична схема комбинированного верстата Д300

Кінематична схема комбинированного верстата Д300. Дивитись у збільшеному масштабі


Пристрій комбинированного верстата Д300


Станина (Д300.101.051) рис. 1.1. поз. 1.

Станина представляет собой сварную конструкцию, являющуюся базой для установки круглопильного, рейсмусового, строгального, фрезерного і сверлильного устройств. Станина монтируется на ровной жесткой плоскости і не требует специального фундамента. Выставка станины осуществляется по уровню в продольном і поперечном направлениях регулировкой опор. Конструкція станины передбачає возможность установки верстата на виброопори.


Сборочная группа «Рейсмус» (Д300.200.001) рис. 1.1. поз. 3

В сборочную группу «Рейсмус» входят:


Пристрій рейсмусовое (Д300.201.001)

Пристрій рейсмусовое состоит из ножевого вала, механізма подачі, которые монтируются на двух чугунных щеках, установленных на станину, подъемный стол монтируется непосредственно на станине. На щеках также устанавливается пристрій, препятствующее выбросу обрабатываемой заготовки в сторону работающего.

Ножевой вал является режущим органом пристроя і представляет собой стальной цилиндр з укрепленными в его пазах тремя строгальными ножами. Закрепление ножей осуществляется посредством зажимных болтов і клиньєв, прижимающих ножи к опорным плоскостям вала. Нижня кромка ножей опирается на пружины, что облегчает их выставку і регулировку. Ножевой вал вращается в двух шарикопідшипниках. Крутящий момент на ножевой вал передається от електродвигуна, установленного в пазах боковой стенки станины, посредством клиноременной передачи.

Натяжение ремня осуществляется вертикальным переміщенням електродвигуна в пазах.

Подъемный стол монтируется в корпусе і устанавливается непосредственно на станине. Подъем осуществляется з помощью штурвала.

Механізм подачі заготовки состоит из двух валов (подающего рифленого і принимающего гладкого), которые приводятся во вращение з помощью понижающей зубчато-цепной передачи. Отбор мощности на механическую подачу производится от ножевого вала з помощью фрікциону (подпружиненное обрезиненное колесо), установленного на одном из валов зубчато-цепной передачи. Натяжение ланцюги осуществляется подпружиненной звездочкой.

Противовыбрасывающее пристрій (упоры) смонтировано на одной из связей чугунных щек. Для установки подъемного стола по высоте на нужный размер обробки служит линейка з указателем.

Во время роботи на строгальном устройстве механізм подачі заготовки должен быть отключен з помощью фиксируемого рычага.

Регулювання і наладка рейсмусового пристроя

Ножи необходимо устанавливать так, чтобы они выступали на 1,5 мм за габарити ножевого вала. При установці контролировать равномерную выставку ножей по всей длине вала.

Затяжку болтов, удерживающих ножи, начинать от середины клина. Перед началом роботи обязательно проверить надежность крепления ножей. Включив фугувальне пристрій, убедиться в нормальной его работе, правильном направлении обертання. Необходимо следить за работой підшибників ножевого вала. В случае повышения температуры необходимо демонтировать підшипники, промыть і заменить смазку.

Регулярно следить за натяжением ланцюги механізма подачі заготовки і состоянием резинового покрытия приводного колеса фрікциону.

Примечание: при работе на рейсмусовом устройстве фуговальные столы могут быть повернуты на кронштейнах при наличии защитного кожуха ножевого вала.

Пристрій строгальное (Д300.202.001) рис. 1.1. поз. 7

Пристрій строгальное состоит из ножевого вала, подающего (переднего) і приемного (заднего) фуговальных столов, направляющей линейки і защиты ножевого вала. Столы смонтированы на верхних гранях щек рейсмусового пристроя. Столы имеют регулировку по высоте, что обеспечивает снятие з обрабатываемого материала стружки различной толщины. Задний стол выставляется заподлицо з верхней точкой траектории руху ножей ножевого вала з помощью линейки і в процессе роботи регулировке не подлежит.

Передний стол переставляется в зависимости от требуемой толщины снятия стружки. Подъем столов осуществляется за счет переміщення по резьбе осей, жестко связанных со столами.

Направляющая линейка служит для направления обрабатываемого материала і для строгания кромок под определенным углом (максимальный угол 45°). Линейка фиксируется зажимом. Ограждение ножевого вала регулируемое на ширину обрабатываемого материала. Электропривід единый для рейсмусового ,и строгальных устройств.

Регулювання і наладка строгального пристроя

Следить за состоянием поверхностей столов. Задиры, выбоины необходимо устранить. Следить за надежностью крепежных елементів направляющей линейки. Остальные требования по регулировке і наладке строгального пристроя аналогично п. 6.2.3. «Регулювання і наладка рейсмусового пристроя».


Пристрій круглопильное (Д300.401.001) рис. 1.1. поз. 2.

Пристрій круглопильное применяется для поздовжньої, поперечної і распиловки материала «под углом».

Приспособление состоит из робочого стола, направляющей линейки, вращающегося шпинделя з дисковий пилкою.

Корпус шпинделя имеет возможность перемещаться по направляющим литого кронштейна, на котором жестко закреплен стол, а сам кронштейн крепится к станине.

На шпинделе з одного кінця установлена дискова пила, которая закреплена между фланцев з помощью гайки, на другом кінці шпинделя установлен шкив, на который з помощью клинового ремня передається крутящий момент з електродвигуна.

Електродвигун закреплен на маятниковой опоре, которая смонтирована на боковой стенке станины. Натяжение ремня производится з помощью переміщення маятниковой опори.

Высота пропила регулируется з помощью рычага путем переміщення корпуса шпинделя по направляющим кронштейна і фиксации в нужном положении.

Направляющая линейка, установленная на столе, имеет возможность, перемещаться для регулювання ширины отпила. Для отсчета ширины отпила на торце стола, установлена линейка.

Для поперечної распиловки і распиловки под углом используется шипорезная каретка, перемещающаяся по направляющим параллельно плоскости пилы. На каретке установлен упорный уголок для базирования заготовки. Для распиловки под углом уголок разворачивается і фиксируется в нужном положении.

Направление обертання пилы - на работающего.

Дискова пила закрыта сварным стальным ограждением з пристрійм, препятствующим выбросу обрабатываемой заготовки в сторону работающего.

Сзади дисковий пилы установлен расклинивающий нож.

В нижней частини кожуха имеется патрубок для подсоединения отсасывающего пристроя удаления стружки.

Регулювання і наладка круглопильного пристроя

Дисковую пилу установить на вал і надежно поджать гайкой через фланец. Проверить на холостом ходу направление обертання пилы. Направление обертання на оператора. Проверить надежность крепления расклинивающего ножа, наличие защитного ограждения і его крепление. Зазор между ножом по всей его длине і пилкою не должен превышать 10 мм.


Пристрій фрезерное рис. 1.1. поз. 4 (шипорезное рис. 1.1. поз. 5)

Пристрій фрезерное (шипорезное) состоит из корпуса, прифланцованного к нижней поверхности стола круглопильного пристроя. Внутри корпуса перемещается пиноль, в підшипниках которой установлен фрезерный шпиндель. На кінці шпинделя устанавливаются фрезы различной толщины і профиля. Для установки фрез имеется комплект проставных втулок. Крепление инструмента на шпинделе производится з помощью гайки. Вырух шпинделя в рабочую позицию і регулировка по высоте осуществляется ручным приводом, состоящим из зубчатой пары і гвинта. В рабочем положении шпиндель фиксируется стопором.

Електродвигун приводу установлен на подмоторной плите. Натяжение ремня осуществляется переміщенням плиты на двух скалках, которые після регулировки фиксируются.

Изменение скорости обертання шпинделя производится перекидыванием ремня на двухручьевых шкивах.

Шпиндель з установленными фрезами закрыт кожухом.

В задньої частини кожуха имеется патрубок для подсоединения отсасывающего пристроя удаления стружки. Глубина фрезерування регулируется переміщенням кожуха в направляючих пазах (показанное на рис 1.1. пристрій фрезерное не входит в комплект верстата і поставляется за дополнительную плату).

Для нарізання шипов используется каретка со столом. На столе установлен упорный уголок з зажимом, позволяющий базировать і зажимать заготовку.

Уголок имеет возможность разворачиваться, что позволяет осуществлять нарезку шипов под различными углами.

При работе на круглопильном устройстве шпиндель фрезерного (шипорезного) пристроя устанавливается в крайнее нижнее положение, а отверстие в столе закрывается специальной заглушкой.

При работе на фрезерном (шипорезном) устройстве дискова пила круглопильного пристроя должна быть установлена в крайнее нижнее положение і надежно зафиксирована, а її защитный кожух должен быть снят.

Регулювання і наладка фрезерного (шипорезного) пристроя

Опустить дисковую пилу круглопильного пристроя в крайнее нижнее положение і надежно зафиксировать.

Снять заглушку на столе і выдвинуть шпиндель в рабочую позицию. Установить з помощью втулок фрезу (набор фрез) на шпиндель і надежно поджать гайкой.

Установить ограждение з направляющей планкой (при фрезеровании) или без нее (при нарезании шипов) і отрегулировать на необходимый размер. Надежно закрепить ограждение. Фрезу (набор фрез) путем переміщення шпинделя установить на необходимый размер по высоте, пиноль зафиксировать.

Проверить на холостом ходу направление обертання фрезы.

Направление обертання на оператора.


Пристрій свердлильне рис. 1.1. поз. 6

Пристрій свердлильне применяется для сверления отверстий і фрезерування пазов, выборок.

Пристрій свердлильне состоит из стола, смонтированного на кронштейне, жестко закрепленном на щеке рейсмусового пристроя.

Стол имеет возможность перемещаться: вертикально «вверх — вниз», горизонтально вдоль оси і перпендикулярно оси режущего инструмента. Перемещение стола осуществляется: по высоте винтом з маховиком і ручкой, в горизонтальной плоскости з помощью рычага.

На столе имеется базовый упор для заготовки і пристрій крепления заготовки.

Регулювання і наладка сверлильного пристроя

Сверлильный патрон (в комплект поставки не входит) установить на конічний конец ножевого вала, рейсмусового пристроя, і закрепить винтом.

Проверить на холостом ходу направление обертання патрона.

Установить режущий инструмент в патрон і зажать.

Проверить радиальное биение инструмента. Если биение больше 0,1 мм, заменить инструмент.

Убедиться в надежности роботи зажиму заготовки.

По окончании роботи инструмент из патрона удалить.


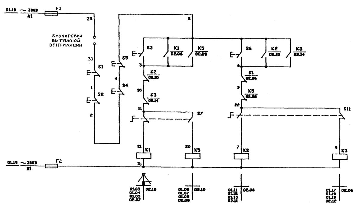
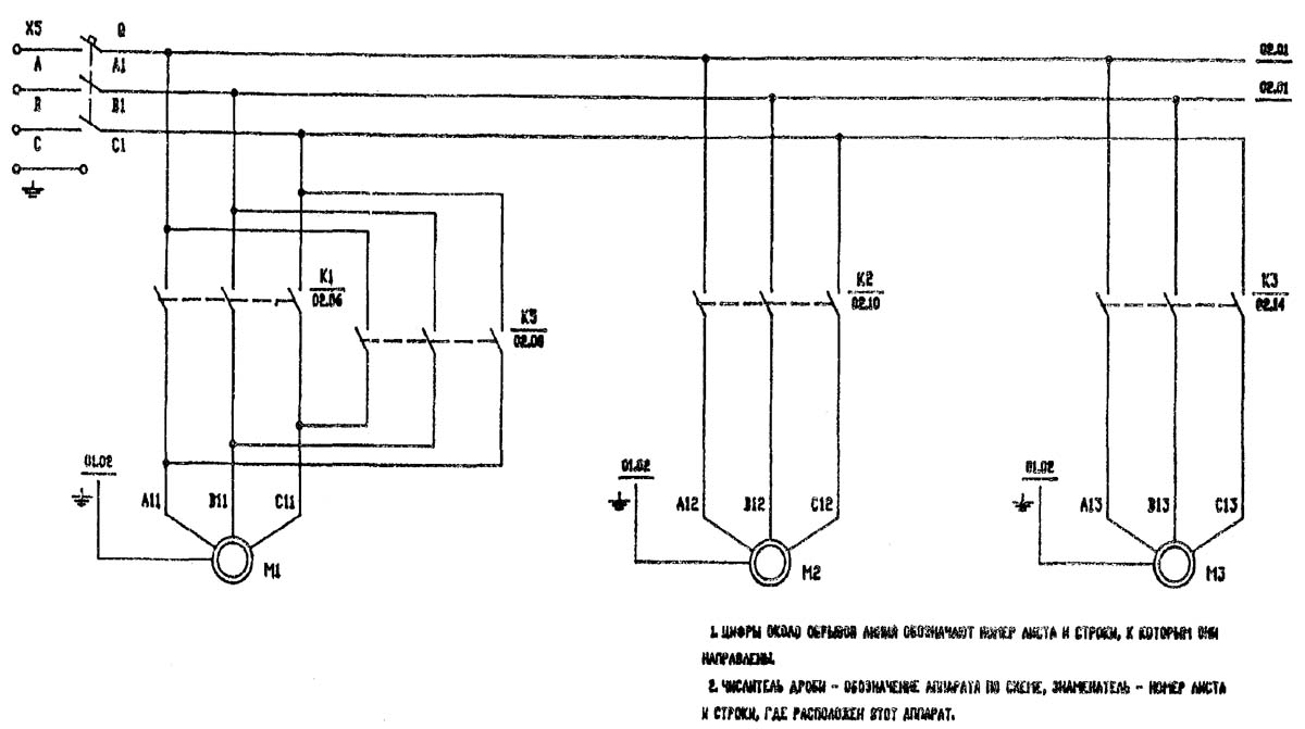
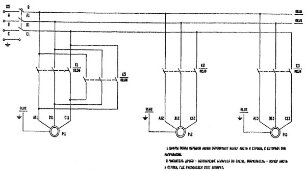
Схема електрична принципова деревообрабатывающего комбинированного верстата Д300

Схема електрична комбинированного верстата Д300

Електрична схема комбинированного верстата Д300. Дивитись у збільшеному масштабі


Схема електрична комбинированного верстата Д300

Електрична схема комбинированного верстата Д300. Дивитись у збільшеному масштабі




Верстат деревообрабатывающий Д300. Відеоролик



Верстат Д300 в работе







Технічні характеристики комбинированного верстата Д300

Наименование параметра Д-250 Д300 Д400
Фугование (строгание)
Наибольшая ширина фугования (строгания), мм 250 320 410
Наибольшая глубина снимаемого слоя за один проход при строгании, мм 5 4,3 4,3
Диаметр режущей частини ножевого вала, мм 75 70 70
Частота обертання ножевого вала на холостом ходу, об/мин 4000 5600 5600
Розміри строгального ножа, мм
Количество строгальных ножей 3 3 3
Ширина строгальных столов, мм 250 320 410
Общая длина строгальных столов, мм 1100 1420 1420
Рейсмус
Максимальная і минимальная толщина заготовки при рейсмусовании, мм 190..5 180..5 180..5
Наименьшая длина обрабатываемой заготовки при рейсмусовании, мм 300 300 300
Скорость подачі заготовки в режиме рейсмуса, м/мин 6 10 10
Розміри рабочей поверхности рейсмусового стола, мм 252 х 600 320 х 550 400 х 650
Максимальная ширина рейсмусования, мм 248
Наибольшая толщина срезаемого слоя при рейсмусовании, мм 2,5
Высота подъема рейсмусового стола (максимальная высота заготовки), мм 195 180 180
Пиление. Пристрій круглопильное
Диапазон глубины пропила, мм 1..70 1..80 1..80
Наибольший диаметр пильного диска, мм Ø250 х 33 х 3 Ø250..Ø315 Ø250..Ø315
Посадочный диаметр пилы, мм 32 32, 50 32, 50
Толщина пилы, мм 3 2 2
Частота обертання пилы, об/мин 4500 3500 3500
Розміри рабочей поверхности пильного стола, мм 980 х 470 750 х 500 750 х 500
Розміри торцевой каретки, мм 400 х 250
Ход торцевой каретки, мм 1080
Вертикальное фрезерование. Пристрій фрезерное Вертикальное перемещение шпинделя (наибольшая толщина обрабатываемого материала), мм 80 80 80 Посадочный диаметр фрезерного шпинделя, мм 32 32 32 Наибольший диаметр фрезы, мм 144 180 180 Частота обертання фрезерного шпинделя, об/мин 4500 / 6500 6000 / 8000 6000 / 8000 Розміри рабочей поверхности стола, мм 980 х 470 750 х 500 750 х 500 Розміри рабочей поверхности шипорезной каретки, мм 250 х 400 335 х 450 335 х 450 Наибольший ход каретки, мм 1080 900 900 Сверление. Фрезерование кінцівой фрезой Наибольший диаметр сверла, фрезы, мм 16 16 16 Частота обертання сверла, фрезы, мин 4500 5600 5600 Розміри рабочей поверхности стола, мм 365 х 150 450 х 250 450 х 250 Глубина сверления, мм 100 150 150 Продольный ход стола, мм 150 150 150 Електроустаткування верстата Род тока питающей сети 220В / 380В 50Гц 380В 50Гц 380В 50Гц Количество електродвигателей на станке, шт 3 3 3 Електродвигун строгального, рейсмусового, сверлильного пристроя, кВт 1,5 2,2 2,2 Електродвигун круглопильного пристроя, кВт 1,5 3,0 3,0 Електродвигун вертикального фрезерного пристроя, кВт 1,4 3,0 3,0 Суммарная мощность електродвигателей, кВт 4,4 8,2 8,2 Габарит і масса верстата Габарит верстата (длна х ширина х высота), мм 1260 х 1140 х 970 1660 х 1500 х 1100 2050 х 1560 х 1100 Масса верстата, кг 304/355 650 750