Виробник координатно-свердлильного верстата КС-01 - п/с 333 - ЦКБТО, Центральне конструкторське бюро технологічного обладнання при Державному комітеті Ради міністрів СРСР з радіоелектроніки (Ленінград, вул.Професора Попова, б.23)
ЦКБТО (п/с 333) мав у своєму складі дослідний завод, який виробляв свердлильні настільні верстати КС-01, КС-02, 02С-15, КС-15, токарний верстат Тип 108, фрезерний верстат Тип 130. .
У 1969 увійшов ЦКБТО до складу НВО "Позітрон".
У 1992 р. ділянку з адресою Санкт-Петербург, вул.Професора Попова, д.23 придбало АТЗТ «Гайот» під адміністративно-офісний центр.
Верстат координатно-свердлильний КС-01 вироблявся у 60-х роках. минулого століття В даний час знято з виробництва.
Свердлильний настільний верстат з координатним столом КС-01 призначений для свердління отворів у деталях малих та середніх розмірів без попередньої розмітки.
Верстат КС-01 дозволяє проводити чистове фрезерування площин.
На відміну від верстата КС-02, верстат КС-01 має спрощену конструкцію і не має вертикальної механічної подачі шпинделя.
Координатно-свердлильний верстат КС-01 здійснює один механічний рух:
Шпиндель отримує рух від електродвигуна 1,0 кВт 1410 об/хв через 4-ступінчастиний шків.

Посадочні та приєднувальні бази свердлувального верстата КС-01

Фото координатно-свердлильного верстата КС-01

Фото координатно-свердлильного верстата КС-01

Розташування органів керування координатно-свердлильним верстатом КС-01

Схема розположення підшибників координатно-сверлильного верстата КС-01

Шпиндельная головка сверлильного настільного верстата КС-01
Шпиндельная головка сверлильного настільного верстата КС-01. Дивитись у збільшеному масштабі

Шпиндельная головка сверлильного настільного верстата КС-01
Шпиндельная головка сверлильного настільного верстата КС-01. Дивитись у збільшеному масштабі
С помощью ступенчатых шкивов I і II і клинового ремня вращение от мотора передається втулке 9 і через скользящие шпонки 2 шпинделю 1.
Втулка 9 з помощью шариковых підшибників 13 і 14 установлена в корпусе 10.
Клиновая гайка 8 служит для плотной посадки шкива.
Шпиндель 1 установлен в пиноли 3 на радиальных підшипниках 15 і 16 і упорных підшипниках 17 і 18.
Подъем і опускание шпинделя производится поворотом рукоятки 21 і валика 22 з сидящей на нем шестерней 19 сцепляющейся з рейкой пиноли 3.
Валик 22 снабжен ленточной пружиной 7.
Глубина сверления ограничивается поворотом рукоятки 21 з втулкой 20, имеющей кольцевой паз, по которому скользит штифт 24 до встречи з упором 25.
Штифт 26 служит для установки лимба на заданную глубину сверления; положение лимба фиксируется рукояткой 28.
Верстат имеет 8 ступеней скорости шпинделя за счет переміщення ремня по ступенчатым шкивам і шкивы могут меняться местами.
Инструмент выталкивается шомполом 6, который находится внутри шпинделя.
Для выталкивания инструмента необходимо нажать на толкатель 4, закрытый сверху закаленным колпачком 5 на крышке шпиндельной головки.

Механізм зажиму шпиндельной головки верстата КС-01

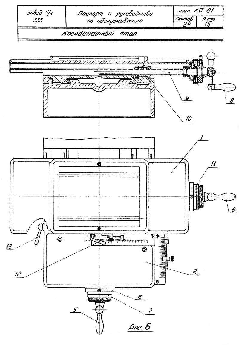
Координатный стол сверлильного настільного верстата КС-01
Координатный стол сверлильного настільного верстата КС-01. Дивитись у збільшеному масштабі
| Наименование параметра | КС-01 | КС-02 | 02С-15 |
|---|---|---|---|
| Основні параметри верстата | |||
| Класс точності по ГОСТ 8-82Е | Н | Н | Н |
| Наибольший диаметр сверления в стали 45, мм | 15 | 12 | 15 |
| Наибольший диаметр растачивания, мм | 70 | ||
| Наименьшее і наибольшее расстояние от торца шпинделя до стола, мм | 280 | 280 | 350 |
| Расстояние от оси шпинделя до стойки (вылет шпинделя), мм | 200 | 215 | 200 |
| Стол | |||
| Рабочая поверхность стола, мм | 250 х 600 | 250 х 600 | - |
| Наибольшее продольное перемещение стола, мм | 200 | 200 | - |
| Наибольшее поперечное перемещение стола, мм | 150 | 150 | - |
| Размер плиты основания, мм | 200 х 280 | 280 х 280 | |
| Наибольшая масса обрабатываемого вироби, кг | |||
| Шпиндель | |||
| Наибольшее вертикальное (ход) перемещение гильзы шпинделя ручное, мм | 100 | 100 | 100 |
| Наибольшее вертикальное перемещение шпиндельной бабки (установочное), мм | 200 | 200 | 200 |
| Количество швидкостей шпинделя | 8 | 4 | 8 |
| Частота обертання шпинделя, об/мин | 445, 820, 875, 1220, 4650, 3350, 2380, 1700 | 445, 620, 875, 1220 | 445, 620, 875, 1220, 4650, 3350, 2380, 1700 |
| Пределы рабочих подач на один оборот шпинделя, мм/об | - | 0,05 (1) | - |
| Внутренний конус шпинделя | Морзе 2 | Морзе 2 | Морзе 2 |
| Привод | |||
| Електродвигун приводу головного руху, кВт (об/хв) | 1,0 (1410) | 1,0 (1410) | 1,0 (1410) |
| Стендовий калібр | |||
| Габарити верстата, включаючи хід столу та санок, мм | 850 х 720 х 845 | 720 х 850 х 1690 | 680 х 370 х 845 |
| Маса верстата, кг | 382 | 300 |
Загальновідомо, що людина може завжди дивитися на три речі: як горить вогонь, як тече вода і як працює інша людина.