metalinstryment.com
Довідник по металорізальних верстатів та пресовому обладнанні

С16-42 Верстат строгальный четырёхсторонний
Схеми, опис, характеристики

С16-42 Верстат строгальный четырёхсторонний







Відомості про виробника четырёхстороннего верстата С16-42

Производителем строгального четырёхстороннего верстата С16-42 является - Боровичский завод деревообрабатывающих верстатів БЗДС, основанный в 1894 году. г. Боровичи, Новгородская область.





Верстати, выпускаемые компанией БЗДС, ООО


С16-42 Верстат продольно-фрезерный четырёхсторонний четырехшпиндельный. Назначение, область применения

Верстат строгальный четырёхсторонний четырехшпиндельный С16-42 універсального типа предназначен для четырёхстороннего плоского і профильного фрезерування досок, брусков і планок за один проход, а при оснащении соответствующим режущим инструментом – для строжки фасонных профилей, а также для делительных работ при обработке изделий толщиной до 55 мм.

Область применения верстата С16-42 – производство столярно-строительных изделий і погонажа (вагонка, плинтус, наличник), мебельные і деревообрабатывающие производства.

Принцип роботи і особливості конструкції верстата С16-42

Верстат С16-42 предназначен для производства различных погонажных изделий. На етом станке производится обработка заготовки з четырёх сторон за один проход.

Верстат строгальный четырёхсторонний С16-42 оснащён четырьмя фрезерными шпинделями.

В станке С16-42 применён механізм подачі рассредоточенного типа з верхними і нижними приводными роликами.

Верхние подающие ролики з рифлением «волчий зуб» обеспечивают надёжную протяжку любых заготовок, в том числе заготовок естественной влажности.

Механические прижимы верхних подающих роликов обеспечивают равномерное усилие і плавность прохождения заготовки через зоны різання, а также позволяют работать при низких температурах.

В приводе нижних роликов применены карданные передачи, не требующие ухода.

Передние і задние прижимы полностью устраняют «вырывы» на входе і выходе заготовки из зоны різання і оснащены направляющим елементом, обеспечивающим точное их базирование і простоту налаштування.

На станине верстата расположены все суппорты і передний стол, служащий для базирования заготовки перед її обработкой і установления величины съема материала по нижней пласти заготовки.

К верхней плоскости станины крепятся стальные накладные столики і направляющие линейки, по которым перемещаются заготовки.

По направлению подачі материала режущие головки расположены в следующем порядке:

Удлиненный передний стол, усовершенствованная конструкция боковых прижимов позволяют надежно базировать заготовку, а распределенный тип механізма подачі з верхними і нижними приводными роликами обеспечивают надежное її перемещение. Ролики, установленные на станке имеют износостойкое полиуретановое покрытие, не оставляющее следов на древесине.

Скорость переміщення заготовки регулируется ступенчатыми шкивами.






Загальний вигляд продольно-фрезерного четырехстороннего верстата С16-42

Загальний вигляд  продольно-фрезерного четырехстороннего верстата С16-42

Загальний вигляд продольно-фрезерного четырехстороннего верстата С16-42

Загальний вигляд продольно-фрезерного четырехстороннего верстата С16-42. Дивитись у збільшеному масштабі



Фото строгального четырехстороннего верстата С16-42

Фото строгального четырехстороннего верстата С16-42


Фото строгального четырехстороннего верстата С16-42

Фото строгального четырехстороннего верстата С16-42



Фото строгального четырехстороннего верстата С16-42

Фото строгального четырехстороннего верстата С16-42



Фото строгального четырехстороннего верстата С16-42

Фото строгального четырехстороннего верстата С16-42



Фото строгального четырехстороннего верстата С16-42

Фото строгального четырехстороннего верстата С16-42



Фото строгального четырехстороннего верстата С16-42

Фото строгального четырехстороннего верстата С16-42



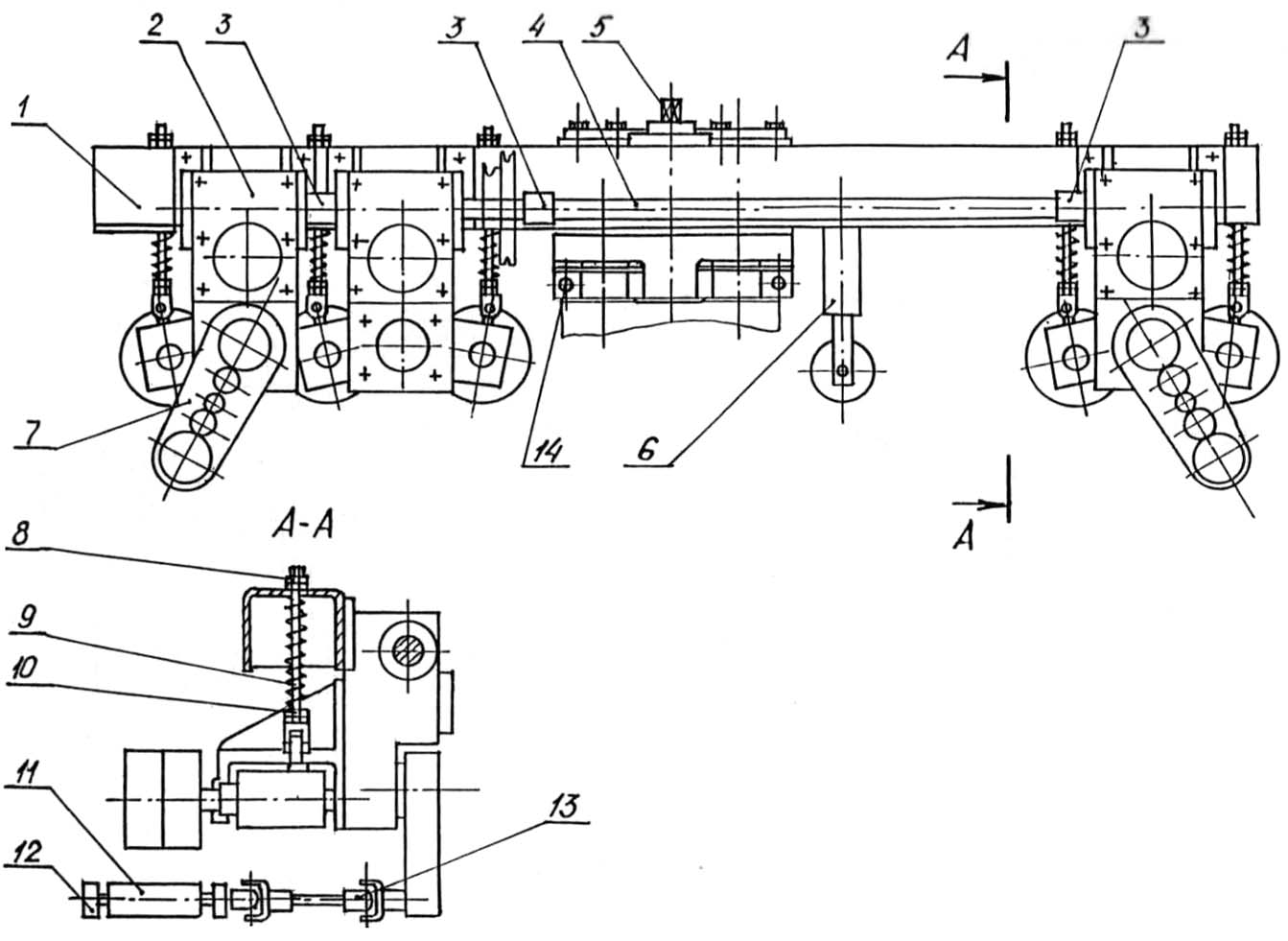
Технологическая схема і вироби, получаемые на продольно-фрезерном четырехстороннем станке С16-42

Технологическая схема четырехстороннего верстата

Технологическая схема четырехстороннего верстата

  1. Заготовка
  2. Передня (регулируемая по высоте) часть стола
  3. Задня (базирующая) часть стола
  4. Верхние рифленые подающие вальцы
  5. Боковая (регулируемая) направляющая линейка
  6. Боковые прижимы (к направляющей ленейке)
  7. Нижний ножевой вал
  8. Верхний двухроликовый прижим (к нижнему ножевому валу)
  9. Боковая фреза
  10. Задня (базирующая) направляющая линейка
  11. Боковая фреза левая
  12. Прижим (для предотобертання отщепов)
  13. Верхний роликовый прижим
  14. Верхний горизонтальный ножевой вал
  15. Передний подпор
  16. Задня левая направляющая линейка
  17. Задний прижим

Технологическая схема четырехстороннего верстата

Технологическая схема четырехстороннего верстата


Дверная коробка

Дверная коробка


Доска пола

Доска пола


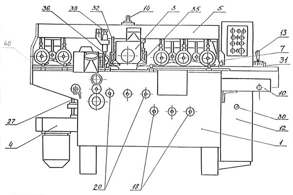
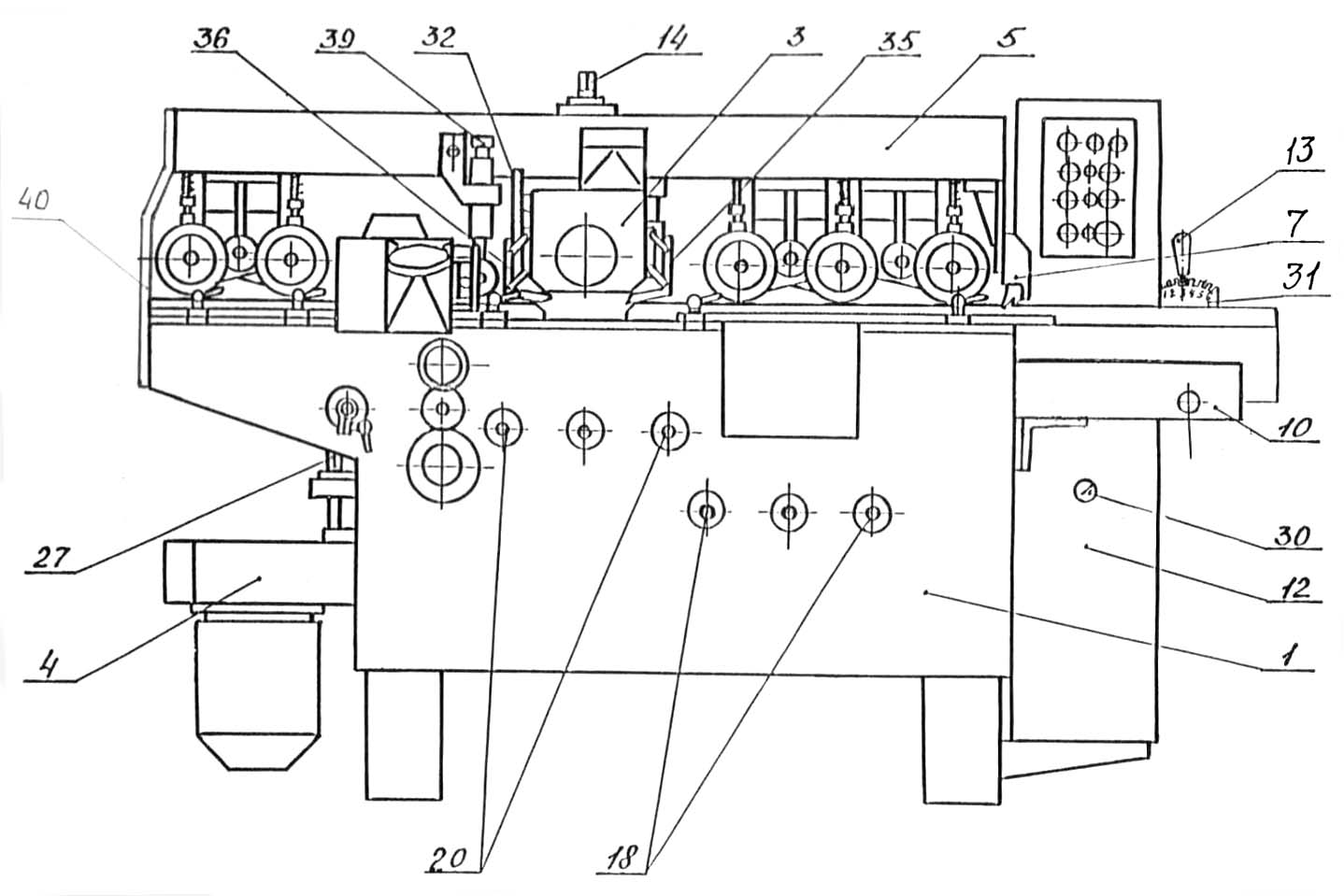
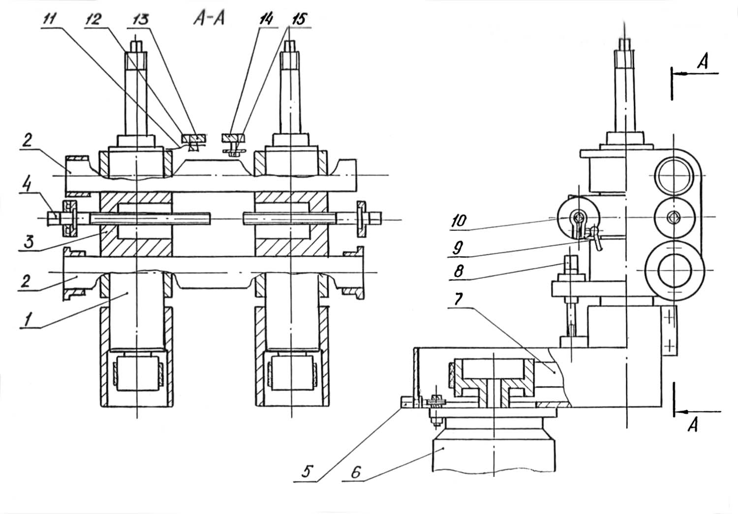
Розташування основних вузлів четырехстороннего строгального верстата С16-42

Розташування основних вузлів четырехстороннего строгального верстата С16-42

Розташування основних вузлів строгального верстата С16-42

Розташування основних вузлів строгального верстата С16-42. Дивитись у збільшеному масштабі



Розташування основних вузлів четырехстороннего строгального верстата С16-42

Розташування основних вузлів строгального верстата С16-42

Розташування основних вузлів строгального верстата С16-42. Дивитись у збільшеному масштабі



Список складових частин фуговального верстата С16-42:

Органы керування фуговальным верстатом С16-42:

Розташування органів керування четырехсторонним строгальным верстатом С16-42

Пульт керування строгальным верстатом С16-42







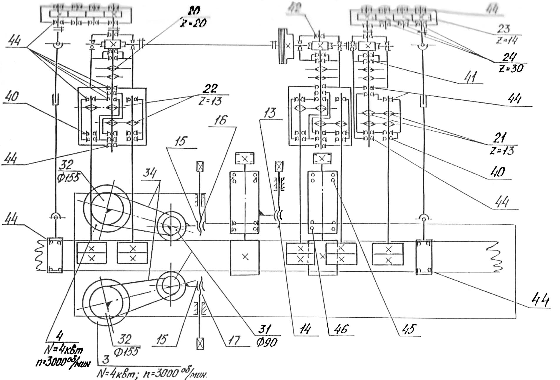
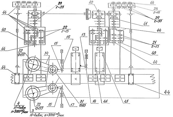
Схема кінематична четырехстороннего продольно-фрезерного верстата С16-42

Кінематична схема четырехстороннего продольно-фрезерного верстата С16-42

Кінематична схема четырехстороннего продольно-фрезерного верстата С16-42

Кінематична схема четырехстороннего продольно-фрезерного верстата С16-42. Дивитись у збільшеному масштабі



Кінематична схема четырехстороннего продольно-фрезерного верстата С16-42

Кінематична схема четырехстороннего продольно-фрезерного верстата С16-42

Кінематична схема четырехстороннего продольно-фрезерного верстата С16-42. Дивитись у збільшеному масштабі



Пристрій продольно-фрезерного верстата С16-42, робота его складових частин

Станина верстата

Станина верстата представляет собой чугунную отливку коробчатой формы. На станине устанавливаются все суппорты, привод, механізм подачі з прижимными роликами і передний стол. К верхней плоскости станины крепятся стальные накладные столики і направляющие линейки, по которым движутся заготовки. Здесь же установлены боковые прижимы і линейки.

Стол передний

Стол передний предназначен для базирования заготовок при обработке, а также для установки величины припуска на обработку нижней фрезой.

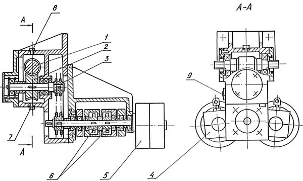
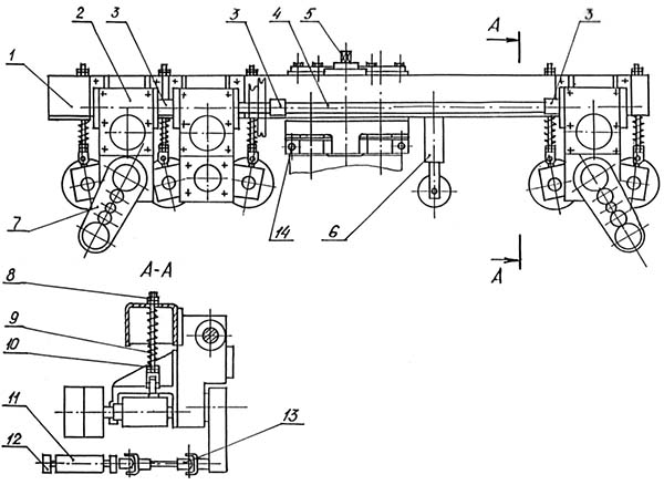
Верхний горизонтальный суппорт


Суппорт верхний четырехстороннего продольно-фрезерного верстата С16-42

Суппорт верхний четырехстороннего продольно-фрезерного верстата С16-42

Суппорт верхний четырехстороннего продольно-фрезерного верстата С16-42. Дивитись у збільшеному масштабі



Верхний горизонтальный супорт (рис. 6.) з установленной на него фрезой предназначен для обробки верхней пласти заготовки.

Шпиндель 3 смонтирован на подвижном корпусе 16, имеющим вертикальное перемещение со скалками 1 в плите 12, установленной на задньої стенке станины верстата. Вертикальное перемещение суппорта производится к4вадратом 15 через конические шестерни 14 і винт 13, а фиксация – квадратами 20 (рис. 1).

Осевое перемещение шпинделя производится квадратом 7, фиксация квадратом 2.

Вращение вала шпинделя осуществляется через плоскоременную передачу 5 от е/дв. 9. Натяжение ремня производится квадратом 10.

Для снижения зусилля по перемещению суппорта в вертикальном направлении служат амортизаторы 11.

На верхней консольной частини скалок установлен механізм подачі.

ВНИМАНИЕ! При осевой регулировке шпинделей обязательно должна быть очищена от смол гильза шпинделя.

ЗАПРЕЩАЕТСЯ! Создавать чрезмерное усилие при затягивании клемм плит супортів і корпусов шпинделей. Невыполнение данного требования приводит к выходу из строя клеммных зажимов.

Нижний горизонтальный суппорт

Нижний горизонтальный супорт з установленной на нем фрезой предназначен для обробки нижней базовой пласти заготовки.

Конструкція суппорта аналогична верхнему, за исключением механізма осьового переміщення і амортизатора.

ВНИМАНИЕ! На станке установлены плоские приводные ремни одностороннего направленного руху. При их замене, необходимо установить ремень таким образом, чтобы направление руху ремня, указанное на нем стрелкой, соответствовало направлению обертання шпинделя.

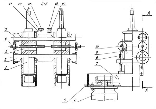
Вертикальные суппорты


Суппорты вертикальные четырехстороннего продольно-фрезерного верстата С16-42

Суппорты вертикальные четырехстороннего продольно-фрезерного верстата С16-42

Суппорты вертикальные четырехстороннего продольно-фрезерного верстата С16-42. Дивитись у збільшеному масштабі



Вертикальные суппорты (рис. 7.) з установленными на них фрезами предназначены для обробки правой і левой пластей заготовки. Конструкции левого і правого суппорта аналогичны между собой.

Шпиндель 1 смонтирован на подвижном корпусе 3, имеющим горизонтальное перемещение по скалкам 2. Горизонтальное перемещение суппорта производится квадратом 4, фиксация рукояткой 9.

Осевое перемещение шпинделя производится квадратом 8, фиксация квадратом 10.

Вращение вала шпинделя осуществляется через ременную передачу 7 от електродвигуна 6. Натяжение ремня производится квадратом 5.

Для базирования заготовки у супортів имеются левая подвижная 13 і правая нерухома 14 планки. При обработке узких заготовок планка 13 снимается. Для етого необходимо приподнять пружины 11 і вывести из соединения з ними планку 13 з гвинтами 12 по направлению от левого суппорта. Правая планка 14 може поднастраиваться в зависимости от диаметра фрезы. Для етого необходимо ослабить гайки 15.

ВНИМАНИЕ! Необходимо регулярно производить очистку направляючих елементів как для поперечного, так і вертикального переміщення от налипших смол і древесной пыли. Невыполнение данного требования приводит к “закисанию” направляючих елементів і выходу из строя елементів налаштування суппорта.

Механізм подачі


Механізм подач четырехстороннего продольно-фрезерного верстата С16-42

Механізм подач четырехстороннего продольно-фрезерного верстата С16-42

Механізм подач четырехстороннего продольно-фрезерного верстата С16-42. Дивитись у збільшеному масштабі



Механізм подачі (рис. 8) является механізмом рассредоточенного типа.

Механізм подачі предназначен для придания заготовкам поступательного руху вдоль верстата. Он состоит из модулей приводу 2, установленных на траверсе 1, связанных между собой з помощью шлицевых втулок 3 і шлицевого вала 4. К траверсе также крепится прижимной ролик 6. Траверса представляет собой сварную раму і базируется на двух пустотелых опорах верхнего суппорта, поетому налаштування механізма подачі на толщину заготовки происходит автоматически. Подналаштування механізма подачі при установці фрезы другого диаметра производится квадратом 5. Зажим траверсы на скалках осуществляется з помощью винтов 14.

На корпусах приводных роликов 2 смонтированы шестеренчатые редукторы 7, передающие вращение через карданные передачи 13 нижним рифленому і гладкому 11 роликам. Гладкий ролик имеет подналаштування по высоте над уровнем стола ексцентриковыми втулками, расположенными в корпусах 12.

Прижим верхних приводных роликов к заготовке, необходимый для обеспечения соответствующего тягового зусилля подачі, осуществляется пружинами 9, усилие которых регулируется гайками 10. Для регулировки роликов в одной плоскости служат гайки 8.

На передньої торцовой частини траверсы установлено предохранительное пристрій (когтевая защита) з ограничителем толщины подаваемого материала для предотобертання обратного выброса заготовки.

ВНИМАНИЕ! Настройку механізма подачі на размер заготовки по высоте следует производить следующим образом: опустить траверсу так, чтобы при прохождении заготовки верхние подающие ролики поднимались на величину зуба і не более.

Невыполнение данного требования приводит к изгибу подающих валов верхних роликов, созданию чрезмерного зусилля прижима обрабатываемой заготовки к столам і как следствие быстрому выходу из строя приводу подачі і модулей привода!

Работа на станке без выполнения данного требования ЗАПРЕЩАЕТСЯ!

ВНИМАНИЕ! При пережатии подающих роликов выполненных з рифлением “волчий зуб” і прижимных елементів установленных на механізме подачі, суппортах і станине возможна остановка обрабатываемой заготовки з врезанием подающих роликов в древесину. В данном случае необходимо отрегулировать должным образом все прижимные елементы і при необходимости подать заготовку назад при выключенных фрезах.

Модуль привода


Модуль приводу четырехстороннего продольно-фрезерного верстата С16-42

Модуль приводу четырехстороннего продольно-фрезерного верстата С16-42

Модуль приводу четырехстороннего продольно-фрезерного верстата С16-42. Дивитись у збільшеному масштабі



Модуль приводу (рис. 9.) представляет собой комбинированный редуктор, состоящий из червячной пары 1,2 і двухрядной цепной передачи 3. Внутри качалок 4 смонтирована цепная передача, а на выходных валах установлены ролики 5. На верхней частини корпуса имеется пробка 8 для заливки масла, в нижней частини - сливная пробка 14. Сбоку корпуса расположен маслоуказатель 9.

ВНИМАНИЕ! Модуля приводу заполняются маслом ТАД-17И. При получении нового верстата, необходимо проверить уровень масла і при необходимости залить до уровня центра глазка. При наработке 200 часов, слить масло і залить минеральное для промывки редукторов в режиме холостого ходу верстата. После обкатки на холостом ходу в течение 1 часа, слить минеральное масло і залить рабочее масло – ТАД-17И до центра глазка.

ВНИМАНИЕ! Необходимо регулярно контролировать уровень масла в модулях привода, при необходимости произвести доливку до указанного уровня.

После первых 200 часов роботи верстата масло необходимо заменить!

Невыполнение указанных требований ведет к преждевременному износу червячного колеса і выходу модуля приводу из строя.

Привід подачі

Привід подачі (рис. 10.) служит для сообщения механізму подачі двух швидкостей руху 7 і 13 м/мин.

Он состоит из електродвигуна 1, двухручьевых шкивов 2 і 3, соединенных между собой клиновым ремнем 4. Натяжение ремня производится гайками 5. Для изменения скорости подачі необходимо ослабить натяжение ремня і переставить его на соседние ручьи. На рис. 10, механізм подачі настроен на скорость 13 м/мин.

ВНИМАНИЕ! Шлицевая группа приводу подачі подлежит регулярной очистке от налипания древесной пыли і смол.





Електроустаткування верстата

Загальні відомості

Степень защиты електроустаткування верстатів - IР54, електродвигателей - IР44.

Електроустаткування верстатів предназначено для подключения к сети 3NPE 50Гц, 220/380 В.

Силовые токоприемники питаются от сети 50Гц, 220/380 В.

Ланцюги керування 50Гц, 110 В.

Ланцюги освещения і сигнализации 50Гц, 24 В.

К електрооборудованию верстата относятся:

Керування верстатом осуществляется з помощью следующих органів:

Захист силових ланцюгів от токов короткого замыкания і перегрузки производится автоматическими выключателями з комбинированными расланцюгителями, защита ланцюгів освещения, керування сигнализации - плавкими предохранителями.

Выбор режима роботи

Для исключения перегрузки е/двигателей приводу фрез во время роботи необходимо правильно установить величину снимаемого припуска з заготовки. Ее величина зависит от скорости подачі і породы древесины ( см. п. 10.4)

Для древесины хвойных пород максимальная величина припуска, снимаемого одной фрезой, состоит при скорости: 7 м/мин – 500 кв. мм, 13 м/мин – 275 кв. мм.

Например при обработке доски шириной 100 мм на скорости 7 м/мин толщина снимаемго слоя не должна превышать 5 мм. Подобным образом подбираются припуски для каждой из фрез.

При обработке твердых пород дерева величину припуска уменьшают на 10…20%.

Долговечность роботи режущего инструмента і качество

Долговечность роботи режущего инструмента і качество обробки изделий зависит от правильности его установки. Радиальное биение режущих кромок і торцевое биение фрез не должно превышать 0,05 мм.

При установці фрез следует обратить внимание на правильную установку ножей, на состояние цанговых патронов і проставных колец. Не допускается применение их з повышенным биением.





Налаштування верстата на размер обрабатываемого вироби

Налаштування верстата на размер обрабатываемого вироби производится по шкалам, в порядке, розположення регулируемых механізмов і пристосувань в направлении подачі:

Налаштування верстата на узкую заготовку

Снять по одному обрезиненному подающему ролику і на их место установить втулки С16-1А.00.028, снять планку 14 (рис.7)

Налаштування верстата при установці профильных фрез

Переместить в осевом направлении верхнюю фрезу квадратом 21, отпустив квадрат 22 на 2 оборота. Переместить в осевом направлении левую фрезу квадратом 27, післядовательно отпустив зажим 24 і квадрат 28 на 2 оборота. Правая фреза настраивается аналогично.

Окончательная налаштування верстата на размер обрабатываемого вироби

После налаштування производится пробная обработка одной заготовки і проверяется соответствие полученных размеров обработанной детали заданным. При необходимости производится подналаштування соответствующих супортів.

После получения заданных размеров обрабатываемой детали все настраиваемые механізмы і приспособления тщательно закрепляются гвинтами, гайками і зажимными втулками з помощью соответствующих органів керування.

Регулювання верстата

В процессе експлуатации верстата возникает необходимость в подрегулировке окремих складових частин верстата з целью восстановления их нормальной роботи:


Особливості разборки і сборки при ремонтi

Замена плоских приводных ремней

ВНИМАНИЕ! На станке установлены плоские приводные ремни одностороннего направленного руху. При их замене, необходимо установить ремень таким образом, чтобы направление руху ремня, указанное на нем стрелкой, соответствовало направлению обертання шпинделя.

Замена плоских приводных ремней на суппортах должна производиться з учетом следующих рекомендаций:

Для надежной роботи плоскоременных передач приводов шпинделей верстата в процессе его експлуатации проскальзывание ремней на шкивах в момент пуска і во время роботи недопустимо.

В случае ослабления натяга і проскальзывания ремня необходимо немедленно произвести его натяжку до устранения проскальзывания.

При замене плоского приводного ремня на новый на приводах шпинделей необходимо:





Сводная таблица характеристик четырехсторонних продольно-фрезерных верстатів

Сводная таблица характеристик четырехсторонних продольно-фрезерных верстатів

Сводная таблица характеристик четырехсторонних продольно-фрезерных верстатів

Сводная таблица характеристик четырехсторонних продольно-фрезерных верстатів. Дивитись у збільшеному масштабі



С16-42 Верстат строгальный четырёхсторонний. Відеоматериалы




Технічні характеристики строгального верстата С16-42

Наименование параметра С16-42 С25-5А С25-4А
Основні параметри верстата
Ширина обрабатываемого материала (при фрезах Ø140), мм 32..160 32..260 50..250
Толщина обрабатываемого материала, мм 10..100 12..160 12..230
Наименьшие розміри обработанного вироби (ширина х толщина) (при фрезах Ø140), мм 30 х 8 30 х 10 45 х 10
Минимальная длина одиночной заготовки, мм 400 700 700
Наибольшая толщина обрабатываемого материала при поздовжньої распиловки, мм - 60 -
Наибольший припуск при обработке цилиндрическими фрезами (на 1-м шпинделе), мм 8 7 (8) 7
Наибольшая глубина обрабатываемого профиля, мм 20 30 30
Количество супортів (шпинделей) 4 5 4
Скорость подачі обрабатываемой заготовки (бесступенчатая), м/мин 7..13 7..35 7..35
Диаметры шпинделей нижнего, верхнего і калевочного, мм 40h6 50h6 50h6
Диаметры шпинделей правого і левого, мм 40h6 40h6
Частота обертання ножевых головок (фрез), об/мин 6000 5600 5600
Торможение шпинделей електродинамическое, постоянным током Да Да Да
Диаметр цилиндрических фрез, мм 140 125..140 125..140
Диаметр профильных фрез на вертикальних шпинделях, мм 180 110..200 140..203
Диаметр профильных фрез на горизонтальных шпинделях, мм 180 110..200 140..203
Наибольший диаметр пил, устанавливаемых на шпиндель калевочного суппорта, мм - 250 -
Електроустаткування верстата
Род тока питающей сети 380В 50Гц 380В 50Гц 380В 50Гц
Количество електродвигателей на станке, шт 5 7 7
Електродвигун приводу нижнего, правого, левого (1,2,3), кВт (об/мин) 4,0 (3000) 7,5 () 7,5 ()
Електродвигун приводу верхнего і калёвочного суппорта (4,5), кВт (об/мин) 4,0 (3000) 11 (3000) 11 (3000)
Електродвигун приводу подачі, кВт (об/мин) 1,5 (1000) 4,0 (750) 4,0 (750)
Електродвигун подъёма траверсы, кВт (об/мин) - 1,1 (1000) 1,1 (1000)
Установленная мощность: кВт 17,5 49,6 49,1
Габарит і масса верстата
Габарит верстата (длна х ширина х высота), мм 2455 х 1250 х 1400 4770 х 1560 х 1870 3150 х 1315 х 1570
Масса верстата, кг 1800 5200 4200

    Список литературы:

  1. Верстат строгальный четырёхсторонний моделі С16-42. Руководство по експлуатации С16-42.00.000 РЭ,

  2. Амалицкий В.В. Деревообрабатывающие верстати і инструменты, 2002
  3. Афанасьев А.Ф. Резьба по дереву, Техника, Инструменты, Изделия, 2014
  4. Бобиков П.Д. Мебель своими руками, 2004
  5. Борисов И.Б. Обработка дерева, 1999
  6. Джексон А., Дей Д. Библия работ по дереву, 2015
  7. Золотая книга работ по дереву для владельца загородного участка, 2015
  8. Ильяев М.Д. Резьба по дереву, Уроки мастера, 2015
  9. Комаров Г.А. Четырехсторонние продольно-фрезерные верстати для обробки древесины, 1983
  10. Кондратьев Ю.Н., Питухин А.В... Технология изделий из древесины, Конструирование изделий і расчет материалов, 2014
  11. Коротков В. И. Деревообрабатывающие верстати, 2007
  12. Лявданская О.А., Любчич В.А., Бастаева Г.Т. Основы деревообробки, 2011
  13. Любченко В.И. Рейсмусовые верстати для обробки древесины, 1983
  14. Манжос Ф.М. Дереворежущие верстати, 1974
  15. Расев А.И., Косарин А.А. Гідротермическая обработка і консервирование древесины, учебное пособие, 2010
  16. Рыженко В.И. Полная енциклопедия художественных работ по дереву, 2010
  17. Рыкунин С.Н., Кандалина Л.Н. Технология деревообробки, 2005
  18. Симонов М.Н., Торговников Г.И. Окорочные верстати, 1990
  19. Соловьев А.А., Коротков В.И. Наладка деревообрабатывающего оборудования, 1987
  20. Суханов В.Г. Круглопильные верстати для распиловки древесины, 1984
  21. Фокин С.В., Шпортько О.Н. Деревообработка, Технологии і обладнання, 2017
  22. Хилтон Билл Работы по дереву, Полное руководство по изготовлению стильной мебели для дома, 2017