metalinstryment.com
Довідник по металорізальних верстатів та пресовому обладнанні

СР-6 Верстат деревообрабатывающий рейсмусовый
Схеми, опис, характеристики

СР-6 Верстат деревообрабатывающий рейсмусовый







Відомості про виробника рейсмусового верстата СР-6

Производителем рейсмусового деревообрабатывающего верстата СР-6 является Ставропольский Станкостроительный завод Красный Металлист, - который з 1932 года специализировался на производстве деревообрабатывающих верстатів. Завод был основан в 1902 году і расположен в городе Ставрополь.





Верстати, выпускаемые Ставропольским станкостроительным заводом Красный Металлист


СР-6 (СР 6-10) Верстат рейсмусовый односторонний. Назначение, область применения

Рейсмусовый верстат СР 6-10 стал дальнейшим развитием своего легендарного предшественника рейсмуса СР-6-9.

Верстати СР4-1 (400 мм), СР6-10 (600 мм), СР8-2 (800 мм) - новый, післядний модельный ряд рейсмусовых верстатів, выпущенных заводом "Красный Металлист", которые пришли на смену модельному ряду рейсмусов СР3-6 (300 мм), СР6-9 (600 мм), СР8-1 (800 мм).

Рейсмусовый односторонний верстат СР-6 (СР 6-10) предназначен для продольного, одностороннего строгания в размер по толщине от 5 до 250 мм поверхностей плоских заготовок шириной до 630 мм, из древесины хвойных і лиственных пород з влажностью не более 15%. Верстат СР-6 относится к универсальному оборудованию і применяется в серийном і мелкосерийном производстве столярных изделий в строительной отрасли, мебельной, судостроении, вагоностроении.

Рейсмусовый верстат СР 6-10 служит для плоского строгания (фрезерування) досок, брусьев или щитов в размер по толщине. Применяется на предприятиях і в цехах по производству столярно-строительных изделий, клееных щитов, производствк мебели, деревянного домостроения і в др. деревообрабатывающих производствах.

Обработка заготовок производится 4- ножевым валом цилиндрической формы з клиновым закреплением ножей в корпусе вала. Перед ножевым валом установлен спеціальний прижим для подпора волокон древесины в зоне різання і устранения заколов на обрабатываемой поверхности.

Стол, по которому подаются заготовки, литой жёсткой конструкції, оборудован поддерживающими вальцами для уменьшения трения при перемещении обрабатываемого материала.

Подъем і опускание стола по высоте в зависимости от толщины обрабатываемого материала производится механически от отдельного електродвигуна или вручную маховиком з післядующей фиксацией, исключающей самопроизвольное опускание стола.

Нижня (базовая) поверхность заготовки должна быть обработана на фуговальном станке. Отклонение базовой пласти заготовки не должно превышать 0,15 мм на длине 1000 мм.

Подача заготовки - механическая. Пристрій подачі приводится в рух от двигуна через редуктор.

Помещение, где устанавливается верстат, должно соответствовать требованиям класса П-IIа по ПУЭ-98.

Климатическое виконання і категория розміщення верстата - УХЛ4.2, категория условий хранения - 2 по ГОСТ15150-69.


Отличительные особливості рейсмусового верстата СР-6-10:


СР-6 Загальний вигляд рейсмусового верстата

Фото рейсмуса СР-6

Фото рейсмусового верстата СР 6-10


Схема кінематична і розположення підшибників рейсмусового верстата СР-6

Схема кінематична рейсмусового верстата СР-6

Кинематическая cхема рейсмусового верстата СР 6-10

Кинематические ланцюги верстата осуществляют наступні руху:

  1. Вращение ножевого вала
  2. Вращение подающих вальцов
  3. Механическое і ручное перемещение стола вверх-вниз
  4. Ручной зажим стола

Ввиду простоты кінематичної схеми її опис не приводится.


Розташування складових частин і органів керування рейсмусовым верстатом СР-6

Розташування складових частин і органів керування рейсмусовым верстатом СР-6

Розташування складових частин верстата СР-6-10. Рис. 3


Розташування складових частин і органів керування рейсмусовым верстатом СР-6

Розташування органів керування верстатом СР-6-10. Рис. 4


Розташування складових частин і органів керування рейсмусовым верстатом СР-6

Розташування органів керування верстатом СР-6-10. Рис. 5


Розташування складових частин і органів керування рейсмусовым верстатом СР-6

Розташування органів керування верстатом СР-6-10. Рис. 6


Розташування складових частин рейсмусового верстата СР-6-10


Розташування органів керування рейсмусовым верстатом СР-6-10

  1. Кнопка «Стоп> загальна
  2. Кнопка «Пуск» ножевого вала
  3. Кнопка «Пуск» приводу подачі
  4. Переключатель частоти обертання електродвигуна приводу подачі
  5. Световой указатель наличия напряжения
  6. Кнопка «Вверх» переміщення стола
  7. Кнопка «Вниз» переміщення стола
  8. Сигнализация блокировок
  9. Рукоятка механического зажиму стола
  10. Рукоятка переміщення вальцов стола
  1. Маховичок ручного переміщення стола
  2. Кнопка «Стоп> загальна
  3. Запирающее пристрій вводного автомата
  4. Вводный автомат




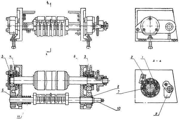
Общая компановка рейсмусового верстата СР-6. Опис основних сборочных единиц

Станина верстата СР-6

Станина 14 (см. Рис. 3—6) верстата представляет собой жесткую сварную коробку.

Внутри станины, в центральной нише передньої частини верстата, установлен привід подачі 24 (см. Рис. 5). В задньої частини центральной ниши станины расположен привід ножевого вала.

Електродвигун ножевого вала (фланцевого исполнения) крепится к плите 25 (см. Рис. 5), перемещающейся по пазам для натяжки ремней.

В левой нише станины размещены електрошкаф верстата і механізм переміщення стола. В правой нише размещены цепная передача приводу подачі і клиноременная передача приводу ножевого вала.

В верхней частини станины крепятся: на разъемных опорах ножевой вал з задним вальцом; прижимы, передний валец з пультом керування і звукопоглощающий кожух. Сзади к звукопоглощающему кожуху крепится ексгаустерная воронка.

На станине верстата установлено запирающее пристрій вводного автомата (см. Рис. 4), состоящие из корпуса 20, гвинта 21, прокладки 22, планки 23. К запирающему устройству прилагается спеціальний ключ 19.

Для запирания вводного автомата необходимо ключом 19 отпустить винт 21, освободить планку 23 і переместить її вправо, расположив над рукояткой 18 вводного автомата, після чего зафиксировать планку, затянув винт.


Стол рейсмусового верстата СР-6

Стол рейсмусового верстата СР-6

Стол рейсмусового верстата СР-6-10. Рис. 7

Стол 1 чугунный прямоугольной формы з направляющими 2, 3. В столе расположены два гладких приводных вальца 4, 5.

Вальцы смонтированы на підшипниках качения, расположенных в качающихся кронштейнах 6, 7. Выставка вальцев по высоте относительно рабочей поверхности стола производится рычажно-ексцентриковым механізмом 8, поворотом рукоятки 9.

В столе расположен механізм натяжения 10 ланцюги 11, приводу вальцов стола. Натяжение ланцюги производится з помощью пружины 12, прижимающей к ланцюги звездочку 13.

Фиксация стола в заданном положении производится поворотом рукоятки 10 (см. Рис. 3), через ексцентрики 13 (см. Рис. 7), винт 14, шток 15, направляющую 16.

Механізм переміщення стола (см. Рис. 5)

Механізм переміщення стола состоит из електродвигуна 26, клиноременной передачи 27, червячного редуктора 28, цепной передачи 29, винтов переміщення.

Ручное перемещение стола осуществляется маховичком 30, который необходимо нажать в осевом направлении, осуществив зацепление шкива з полумуфтой 32 і только затем вращать маховичок, перемещая стол, при етом конечный выключатель 33 отключит електродвигатель механического переміщення стола. После снятия осевой нагрузки з рукоятки маховичка пружина 31 возвращает полумуфту і маховичок в исходное положение.


Механізм різання і задний подающий валец рейсмусового верстата СР-6

Механізм різання і задний подающий валец рейсмусового верстата СР-6

Механізм різання і задний подающий валец рейсмусового верстата СР-6-10. Рис. 8

Механізм різання верстата состоит из ножевого вала і приводу ножевого вала. Корпус ножевого вала 1 (рис. 8) цилиндрической формы имеет четыре паза, размещенные параллельно оси вала, в которых устанавливаются прямые ножи 2.

Крепление ножей производится клиньями 3 і гвинтами 4. Выставка ножей осуществляется гвинтами 5 і гайками 6.

Корпус ножевого вала монтируется на шарикопідшипниках 7, размещенных в разъемных опорах 8, 9.

Опори ножевого вала крепятся к станине.

Вращение ножевого вала осуществляется от електродвигуна клиноременной передачей.

Заточка ножей. Стойкость ножей без переточки составляет 3 — 4 часа роботи согласно ГОСТ 6567—76.

Правильно заточенные ножи должны обеспечивать шероховатость обработанной поверхности не более Кг 100 мкм. При превышении шероховатости поверхности выше указанной величины ножи необходимо переточить. В процессе многократных переточок происходит стачивание ножей. Допускается работать ножами шириной не менее 20 мм.


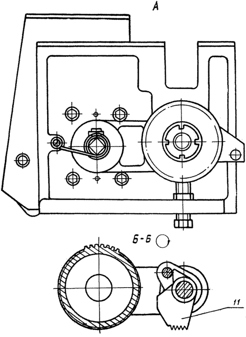
Прижимы і схема установки по высоте подающих вальцов, прижимов і когтевой защиты рейсмусового верстата СР-6

Прижимы і схема установки по высоте подающих вальцов, прижимов і когтевой защиты рейсмусового верстата СР-6

Прижимы рейсмусового верстата СР-6-10. Рис. 9

К прижимным елементам верстата относятся передний і задний прижимы. Передний прижим служит для создания подпора волокон древесины в месте выхода ножа из материала і предупреждения сколов.

По конструкції передний прижим — секционный. Прижимная губка переднего прижима состоит из узких секций 1. Давление каждой секции осуществляется пружиной 2 через шарик, которые размещены в общей оси 3. Каждая секция прижима имеет возможность качаться на оси 4. Секции смонтированы з осями на двух щеках 5.

Задний прижим 6 выполнен в виде сплошной балки, смонтирован на двух щеках 7 і имеет возможность поворачиваться на фланцах, ножевого вала относительно его оси.

Поддерживающие вальцы 4, 5 (см. рис. 7) стола при обработке заготовок из древесины устанавливают выше рабочей поверхности стола на 0,1—0,4 мм. Меньшее значение соответствует обработке заготовок из твердых пород древесины, большее — для обробки заготовок из мягких пород древесины.

Установка вальцов по высоте относительно рабочей поверхности стола производится рукояткой 9.





Механізм подачі рейсмусового верстата СР-6

Валец подающий передний рейсмусового верстата СР-6

Валец подающий передний рейсмусового верстата СР-6-10. Рис. 10

Механізм подачі верстата — четырехвальцовый, который состоит из двух верхних і двух нижних подающих вальцов.

Верхние подающие вальцы собраны на окремих опорах і состоят из переднего рифельного 65 (см. Рис. 6) і заднего гладкого 70 вальцов. Нижние подающие вальцы — гладкие і установлены в столе.

Валец 1 (см. Рис. 10) подающий передний в станке СР 6-10—цельный рифельный, а в станке СР8—2.01—секционный (рис. 10а). Он установлен на двух шарикопідшипниках 2, размещенных в качающихся кронштейнах 5 і 6.

Оси качения кронштейнов через втулки 7 і 8 закреплены в опорах 3 і 4.

По требованию заказчика верстат СР 6-10 може быть изготовлен з секционным рифельным валом.


Валец подающий передний рейсмусового верстата СР-6

Валец подающий передний рейсмусового верстата СР-6-10. Рис. 10а

На валу 2 (рис. 10а) имеются продольные прорези-канавки, в которых размещаются упорные планки секционных колец 1. Центрование кольца 1 относительно оси вала 2 осуществляют резиновые втулки 7.

Прижимается валец к обрабатываемой заготовке при помощи пружины через тяги.

Перед подающим вальцом установлена когтевая защита 11 (см. Рис. 11). Подъем когтевой защиты производится поворотом оси 9.

Пружина 10 возвращает когтевую защиту в рабочее положение.

В узел переднего подающего вальца входит пульт керування верстатом, в который вставлена ось со звукопоглощающими елементами в виде окремих планок 12.

Задний подающий валец 10 (см. Рис. 8) выполнен гладким, устанавливается на шарикопідшипниках 11, размещенных в качающихся кронштейнах 12, 13. Оси 14 качения кронштейнов прикреплены к разъемным опорам 8, 9 совместно з корпусом ножевого вала. Прижим вальца к заготовке осуществляется пружинами.


Валец подающий передний рейсмусового верстата СР-6

Валец подающий передний рейсмусового верстата СР-6-10. Рис. 11

Перед подающим вальцом установлена когтевая защита 11 (см. Рис. 11). Подъем когтевой защиты производится поворотом оси 9.

Пружина 10 возвращает когтевую защиту в рабочее положение.

В узел переднего подающего вальца входит пульт керування верстатом, в который вставлена ось со звукопоглощающими елементами в виде окремих планок 12.

Задний подающий валец 10 (см. Рис. 8) выполнен гладким, устанавливается на шарикопідшипниках 11, размещенных в качающихся кронштейнах 12, 13. Оси 14 качения кронштейнов прикреплены к разъемным опорам 8, 9 совместно з корпусом ножевого вала. Прижим вальца к заготовке осуществляется пружинами.


Привід подачі рейсмусового верстата СР-6

Привід подачі рейсмусового верстата СР-6

Привід подачі рейсмусового верстата СР-6-10. Рис. 12

Привід подачі (см. Рис. 12)

Привід подачі состоит из двигуна 1, соединительной муфты 2 і редуктора 3, смонтированных на плите 4.

Установка необходимой скорости подачі производится поворотом переключателя на пульті керування верстатом на желаемую скорость.

Принадлежности к верстату

В комплект поставки верстата входят:

Комплект инструмента і приладдя (ключи, отвертка, шприц штоковый) і приспособления

Приспособление контрольное для установки режущих кромок ножей

Приспособление контрольное рейсмусового верстата СР-6

Приспособление контрольное рейсмусового верстата СР-6. Рис. 13

Приспособление контрольное предназначено для установки режущих кромок ножей относительно оси обертання ножевого вала на диаметр різання 128 ± 0,05 мм.

Приспособление состоит из корпуса (1), индикатора часового типа (2) і наконечника (3).

При установці приспособления на корпус ножевого вала происходит контакт наконечника з лезвием ножа. Разность показаний индикатора в крайних точках не должна превышать 0,05 мм.

Фиксатор

Приспособление предназначено для стопорения ножевого вала при смене ножей (см.рис. 14). Приспособление состоит из корпуса 1, гвинта 2, штока 3, пружины 4. Смена ножей производится только при зафиксированном ножевом вале. Для етого пристрій устанавливается на правой щеке переднего прижима, і крепится винтом 2. После закрепления фиксатора на щеке прижима, осторожно поворачивая ножевой вал, опустить стопор 4 фиксатора в один из четырех пазов ножевого вала. Смена ножей производится післядовательно при зафиксированном ножевом вале.

После смены ножей фиксатор необходимо снять со верстата.

Приспособление заточное

Для заточки ножей, установленных на ножевом вале верстата, служит заточное пристрій. Все вопросы, касающиеся его експлуатации і роботи, см. в руководстве по експлуатации заточного приспособления.





Електроустаткування верстата рейсмусового одностороннего СР-6

Схема електрична принципова СР-6

Схема електрична принципова рейсмусового верстата СР 6-10 і СР8-2.01 Рис. 15

Схема електрична принципова СР-6. Дивитись у збільшеному масштабі


Електроустаткування верстата СР 6 Рис. 15 содержит:

На станке применяются наступні величины напряжений:

В данном руководстве приводятся (см.табл. 6):

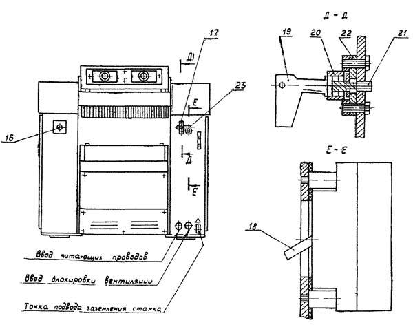
Пульт керування размещен в верхней частини облицовки верстата, а електрошкаф в нише станины.

Для увімкнення верстата в електрошкафе установлен вводный выключатель Q1, привід которого выведен наружу.

Отверстие для ввода питающих проводов выполнено внизу, на боковой стенке електрошафи.

Ввод должен быть осуществлен проводом марки ПВЗ сечением 2,5 мм² черного цвета для силових ланцюгів і зелено-желтого цвета — для заземления, для СР8-2.01. – сечением 4 мм².

Опис роботи електросхеми (см. Рис.16)

Перед включением верстата необходимо открыть дверь електрошафи і проверить состояние выключателей Q1 і Q2, після чего закрыть дверь електрошафи.

Увімкненням вводного выключателя Q1 подается питание на силовые ланцюги, керування і ланцюги сигнализации. На пульті керування должна загореться сигнальная лампа Н1.

Увімкненням приводу ножевого вала осуществляется кнопкой S6, при етом включается магнитный пускатель К3, замыкая свои контакты в ланцюги живлення електродвигуна ножевого вала М1.

Привід подачі включается кнопкой S8, расположенной на пульті керування, при включенном приводе ножевого вала. При етом включается магнитный пускатель К6, замыкая свои контакты в ланцюги живлення електродвигуна М2.

При включении в работу ножевого вала і приводу подачі на пульті керування загораются соответствующие им сигнальные лампы НЗ, Н4 і Н5.

Принципиальной схемой верстата предусмотрено 2 скорости подачі.

Изменение скорости подачі производится переключателем 59, переключением швидкостей двухскоростного електродвигуна М2.

Відключення електродвигателей М1 і М2 осуществляется нажатием кнопок 51, расположенной на пульті керування, или 52, расположенной в правой нише задньої частини верстата.

Для остановки приводу ножевого вала используется електродинамическое торможение, интенсивность торможения задается регулировочным резистором блока керування, а время торможения не должно превышать 15с (регулируется пневмоприставкой пускателя K4).

Для регулювання блока електродинамического торможения приводу ножевого вала необходимо:

  1. выдержку часу пневмоприставки пускателя К4 выставить равной 15с;
  2. движок переменного резистора блока керування А установить в среднее положение;

Для увеличения интенсивности торможения движок резистора поворачивают по часовий стрелке, для уменьшения — против часовий стрелки.

Рассмотрим работу схеми при електродинамическом торможении приводу ножевого вала М1. При отключении приводу ножевого вала кнопками S1 или S2 отключается пускатель К3 і контактом (16, 17) включает пускатель К5.

Пускатель К5 замыкает свои контакты в силовой ланцюги електродинамического торможения, подавая питание на блок торможения А, контакт (2, 16) пневмоприставки пускателя К4 размыкается через t=15с, достаточное для полной остановки приводу ножевого вала.

Регулювання считается выполненной правильно, если при нажатии на одну из кнопок «Загальний стоп» електродвигатель приводу ножевого вала вращается 15сек, і сразу же після полной остановки електродвигуна происходит відключення тормозного контактора.

Привід переміщення стола М3 включается при отключенном приводе ножевого вала в толчковом режиме кнопками S11 і S13, расположенными на пульті керування. Ограничение ходу стола осуществляется конечными выключателями S10 і S12.

В соответствии з техническими характеристиками електродвигатели серии АИР, установленные на станке, допускают не более 10 циклов увімкнення — отключения в час.

С холодного состояния електродвигатель можно включить — отключить з електродинамическим торможением і сразу же повторить цикл увімкнення — отключения. Понаступні циклы увімкнення — отключения можно повторить з интервалом не менее 5—6 мин, но не более 10 циклов в час.





СР-6 Верстат деревообрабатывающий рейсмусовый. Відеоролик






Технічні характеристики рейсмусового верстата СР-6

Наименование параметра СР-6-9 СР-6-10 СР-8-2
Основні параметри
Максимальная ширина строгания, мм 630 630 800
Диапазон толщины обрабатываемых заготовок, мм 5..200 5..250 5..250
Скорость механической подачі заготовки, м/мин 8-24 8; 16 8; 16
Минимальная длина обрабатываемой заготовки, мм 400 450 450
Наибольшая толщина снимаемого слоя за один проход, мм 5 8 8
Частота обертання строгального вала (на холостом ходу), об/мин. 4570 4570 4570
Количество строгальных ножей на строгальном валу 4 4 4
Диаметр строгального вала, мм 125 128 128
Размер ножа: Длина, ширина, толщина, мм
Длина рейсмусового стола, мм
Номинальный диаметр присоединительного патрубка ексгаустерной воронки, мм 180
Максимальная разность толщины одновременно подаваемого материала, мм 4 4
Електроустаткування верстата
Род тока питающей сети 380В 50Гц 380В 50Гц 380В 50Гц
Количество електродвигателей на станке, шт 1 3 3
Електродвигун приводу ножевого вала, кВт 7,5 5,5 11,0
Електродвигун приводу подачі, кВт 1,1 1/ 1,7 1/ 1,7
Електродвигун приводу переміщення стола, кВт - 0,37 0,37
Суммарная мощность всех ел. двигателей верстата, кВт 8,6 13,07
Габарит і масса верстата
Габарит верстата (длина х ширина х высота), мм 1130 х 1360 х 1260 1120 х 1315 х 1340 1120 х 1480 х 1340
Масса верстата, кг 1680 1440 1600

    Список литературы:

  1. Верстат рейсмусовый односторонний СР6-10 і СР8-2.01. Руководство по експлуатации, 1992

  2. Амалицкий В.В. Деревообрабатывающие верстати і инструменты, 2002
  3. Афанасьев А.Ф. Резьба по дереву, Техника, Инструменты, Изделия, 2014
  4. Бобиков П.Д. Мебель своими руками, 2004
  5. Борисов И.Б. Обработка дерева, 1999
  6. Джексон А., Дей Д. Библия работ по дереву, 2015
  7. Золотая книга работ по дереву для владельца загородного участка, 2015
  8. Ильяев М.Д. Резьба по дереву, Уроки мастера, 2015
  9. Комаров Г.А. Четырехсторонние продольно-фрезерные верстати для обробки древесины, 1983
  10. Кондратьев Ю.Н., Питухин А.В... Технология изделий из древесины, Конструирование изделий і расчет материалов, 2014
  11. Коротков В. И. Деревообрабатывающие верстати, 2007
  12. Лявданская О.А., Любчич В.А., Бастаева Г.Т. Основы деревообробки, 2011
  13. Любченко В.И. Рейсмусовые верстати для обробки древесины, 1983
  14. Манжос Ф.М. Дереворежущие верстати, 1974
  15. Расев А.И., Косарин А.А. Гідротермическая обработка і консервирование древесины, учебное пособие, 2010
  16. Рыженко В.И. Полная енциклопедия художественных работ по дереву, 2010
  17. Рыкунин С.Н., Кандалина Л.Н. Технология деревообробки, 2005
  18. Симонов М.Н., Торговников Г.И. Окорочные верстати, 1990
  19. Соловьев А.А., Коротков В.И. Наладка деревообрабатывающего оборудования, 1987
  20. Суханов В.Г. Круглопильные верстати для распиловки древесины, 1984
  21. Фокин С.В., Шпортько О.Н. Деревообработка, Технологии і обладнання, 2017
  22. Хилтон Билл Работы по дереву, Полное руководство по изготовлению стильной мебели для дома, 2017