metalinstryment.com
Довідник по металорізальних верстатів та пресовому обладнанні

Дзержинец ТГ-2 Верстат горизонтальный консольно-фрезерный
схеми, опис, характеристики

Верстат горизонтальный фрезерный консольный ТГ-2







Відомості про виробника консольно-фрезерного верстата ТГ-2 Дзержинец

Производитель горизонтального фрезерного верстата Дзержинец ТГ-2 - Тульский станкостроительный завод, г. Тула.






Верстати, выпускаемые Станкостроительным заводом Туламаш



ТГ-2 Дзержинец верстат фрезерный горизонтальный консольный з неповоротным столом. Назначение і область применения

Горизонтально-фрезерный верстат Дзержинец ТГ-2 представляет собой верстат консольного типа з механізмами изменения швидкостей і подач, имеющий автоматическую продольную, поперечную і вертикальную подачі стола.

Привід верстата индивидуальный електромотор з ременной передачей.

Верстат ТГ-2 Дзержинец оборудован пусковой електроаппаратурой і насосом охлаждающей жидкости производительностью 13 литров в минуту.

Наличие упоров для всех ходов стола позволяет гарантировать от поломок механізмы верстата.

Имеющаяся в коробке подач пружинная перегрузочная муфта, автоматически выключаясь, предохраняет верстат от поломки при перегрузке робочого инструмента.

Фрезерный верстат Дзержинец ТГ-2 удовлетворяет требованиям ГОСТ 165-49 Верстати фрезерные консольного типа. Основні розміри і ГОСТ 13-54 Верстати фрезерные горизонтальные і универсальные общего назначения. Нормы точності.





Загальний вигляд горизонтального консольно-фрезерного верстата ТГ-2 Дзержинец

Загальний вигляд  горизонтального консольно-фрезерного верстата ТГ-2 Дзержинец

Загальний вигляд горизонтального консольно-фрезерного верстата Дзержинец ТГ-2

Загальний вигляд горизонтального консольно-фрезерного верстата ТГ-2 Дзержинец. Дивитись у збільшеному масштабі



Таблиця оборотів і подач Дзержинец ТГ-2 cтанок горизонтальный консольно-фрезерный

Таблиця оборотів і подач фрезерного верстата Дзержинец ТГ-2

Таблиця оборотів і подач фрезерного верстата Дзержинец ТГ-2. Дивитись у збільшеному масштабі



Фото горизонтального фрезерного верстата Дзержинец ТГ-2

Фото горизонтального фрезерного верстата Дзержинец ТГ-2

Фото горизонтального фрезерного верстата Дзержинец ТГ-2. Дивитись у збільшеному масштабі



Фото горизонтального фрезерного верстата Дзержинец ТГ-2

Фото горизонтального фрезерного верстата Дзержинец ТГ-2

Фото горизонтального фрезерного верстата Дзержинец ТГ-2. Дивитись у збільшеному масштабі



Фото горизонтального фрезерного верстата Дзержинец ТГ-2

Фото горизонтального фрезерного верстата Дзержинец ТГ-2

Фото горизонтального фрезерного верстата Дзержинец ТГ-2. Дивитись у збільшеному масштабі



Фото горизонтального фрезерного верстата Дзержинец ТГ-2

Фото горизонтального фрезерного верстата Дзержинец ТГ-2

Фото горизонтального фрезерного верстата Дзержинец ТГ-2. Дивитись у збільшеному масштабі



Фото горизонтального фрезерного верстата Дзержинец ТГ-2

Фото горизонтального фрезерного верстата Дзержинец ТГ-2

Фото горизонтального фрезерного верстата Дзержинец ТГ-2. Дивитись у збільшеному масштабі



Фото горизонтального фрезерного верстата Дзержинец ТГ-2

Фото горизонтального фрезерного верстата Дзержинец ТГ-2

Фото горизонтального фрезерного верстата Дзержинец ТГ-2. Дивитись у збільшеному масштабі







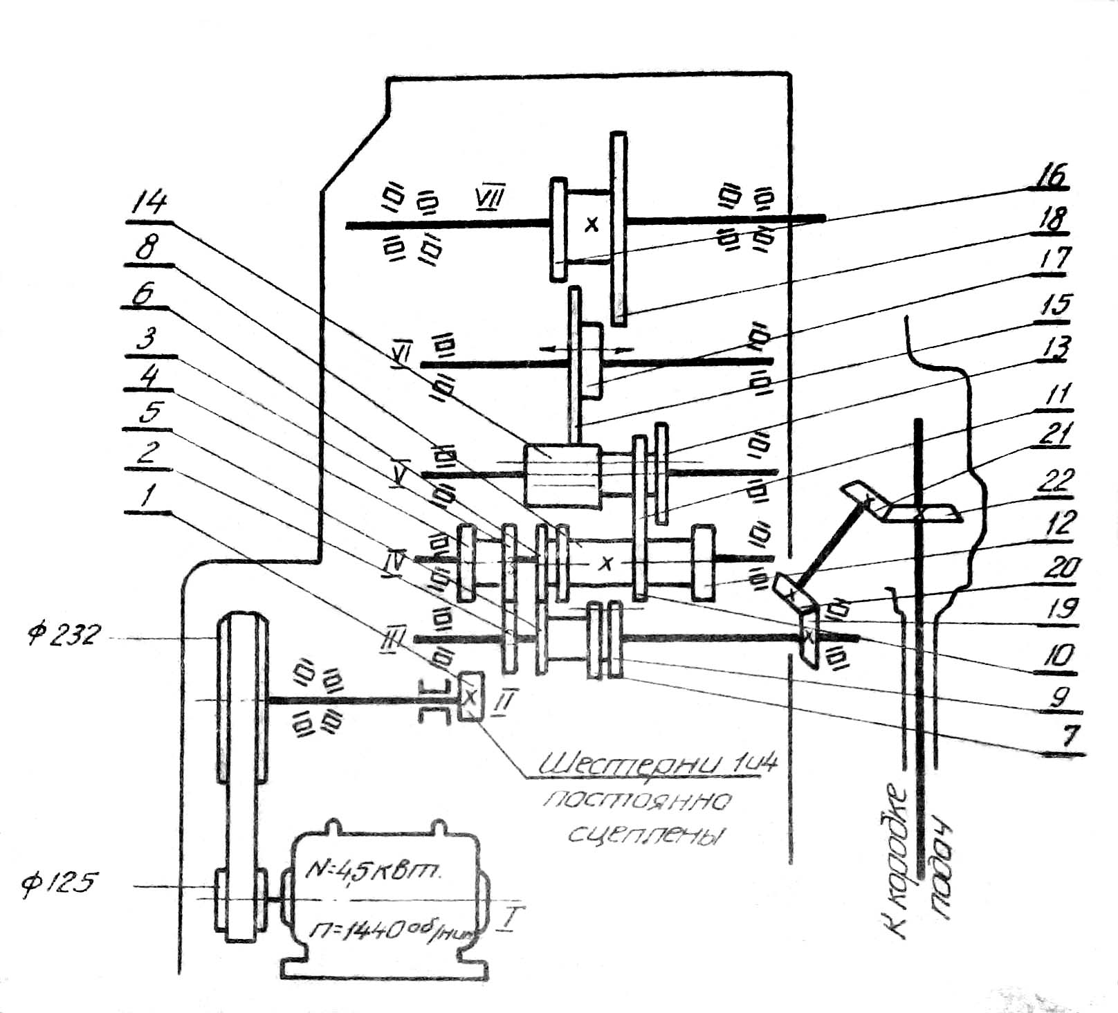
Кінематична схема фрезерного верстата Дзержинец ТГ-2

Кінематична схема фрезерного верстата Дзержинец ТГ-2

Кінематична схема фрезерного верстата Дзержинец ТГ-2

Кінематична схема фрезерного верстата Дзержинец ТГ-2. Дивитись у збільшеному масштабі



Кінематична схема фрезерного верстата Дзержинец ТГ-2

Кінематична схема фрезерного верстата Дзержинец ТГ-2

Кінематична схема фрезерного верстата Дзержинец ТГ-2. Дивитись у збільшеному масштабі



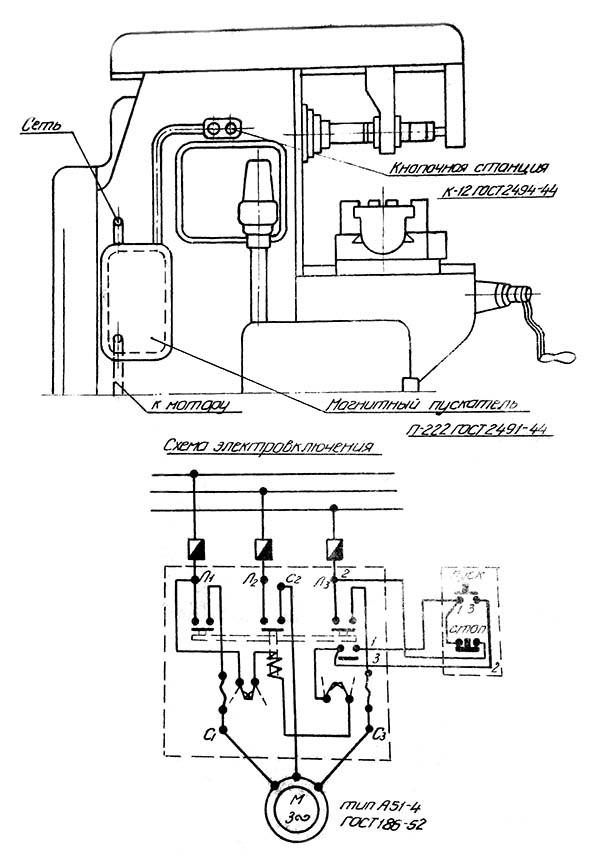
Електрична схема консольно-фрезерного верстата Дзержинец ТГ-2

Електрична схема фрезерного верстата Дзержинец ТГ-2. Рис.274

Електрична схема консольно-фрезерного верстата Дзержинец ТГ-2. Скачать в увеличенном масштабе







Дзержинец ТГ-2 Верстат фрезерный консольный горизонтальный. Відеоролик.




Технічні характеристики верстатів моделей Дзержинец ТГ-2

Наименование параметра 6М82 6М82Г Дзержинец ТГ-2
Основні параметри верстата
Класс точності по ГОСТ 8-82 Н Н Н
Розміри рабочей поверхности стола (длина х ширина), мм 1250 х 320 1250 х 320 1000 х 268
Расстояние от оси горизонтального шпинделя до стола при ручном перемещении, мм 30...410 30...450 470
Расстояние от оси горизонтального шпинделя до хобота, мм 155 155 155
Рабочий стол
Число Т-образных пазов Розміри Т-образных пазов 3 3 3
Наибольшее перемещение стола продольное механическое/ ручное, мм 700/ 700 700/ 700 550
Наибольшее перемещение стола поперечное механическое/ ручное, мм 240/ 260 240/ 260 220
Наибольшее перемещение стола вертикальное механическое/ ручное, мм 380/ 380 420/ 420 410
Наибольший угол поворота стола, град ±45° нет нет
Цена одного деления шкалы поворота стола, град 1 нет нет
Перемещение стола на одно деление лимба (продольное, поперечное, вертикальное), мм 0,05 0,05
Перемещение стола на один оборот лимба продольное/ поперечное/ вертикальное, мм 6/ 6/ 2 6/ 6/ 2
Шпиндель
Частота обертання шпинделя, об/мин 31,5...1600 31,5...1600 25..525
Количество швидкостей шпинделя 18 18 12
Внутренний конус шпинделя. Система/ размер ГОСТ 836-47/ 3 ГОСТ 836-47/ 3 ГОСТ 836-47/ 3
Механіка верстата
Быстрый ход стола продольный/ поперечний/ вертикальний, м/мин 3/ 3/ 1 3/ 3/ 1
Число ступеней рабочих подач стола 18 18 12
Пределы рабочих подач продольных, мм/мин 25...1250 25...1250 16,3..620
Пределы рабочих подач поперечных, мм/мин 25...1250 25...1250 16,5..650
Пределы рабочих подач. Вертикальных, мм/мин 8,3...416,6 8,3...416,6 7,9..313
Выключающие упоры подачі продольных есть есть есть
Выключающие упоры подачі поперечных, вертикальних нет нет есть
Блокировка ручной і механической подачі (поздовжньої, поперечної, вертикальной) есть есть
Блокировка раздельного увімкнення подачі есть есть
Автоматическая прерывистая подача Продольная есть есть
Автоматическая прерывистая подача Поперечная і вертикальная нет нет
Торможение шпинделя есть есть
Предохранение от перегрузки (муфта) есть есть
Привод
Електродвигун приводу головного руху, кВт (об/мин) 7 (1440) 7 (1440) 4,5 (1440)
Електродвигун приводу подач, кВт (об/мин) 1,7 (1440) 1,7 (1440)
Електродвигун насоса охлаждающей жидкости, кВт (об/мин) 0,125 (2880) 0,125 (2800)
Электронасос охлаждающей жидкости Тип ПА-22У2 ПА-22У2
Производительность насоса СОЖ, л/мин 22 22
Габарити і масса верстата
Габарити верстата (длина ширина высота), мм 2260 1745 1660 2260 1745 1660 1935 х 2015
Масса верстата, кг 2800 2700 1800


    Список литературы:

  1. Паспорт верстата ТГ-2 Дзержинец, 1937

  2. Аврутин С.В. Основы фрезерного дела, 1962
  3. Аврутин С.В. Фрезерне дело, 1963
  4. Ачеркан Н.С. Металлорежущие верстати, Том 1, 1965
  5. Барбашов Ф.А. Фрезерне дело 1973
  6. Барбашов Ф.А. Фрезерные роботи (Профтехобразование), 1986
  7. Блюмберг В.А. Справочник фрезеровщика, 1984
  8. Григорьев С.П. Практика координатно-расточных і фрезерных работ, 1980
  9. Копылов Р.Б. Работа на фрезерных верстатах, 1971
  10. Косовский В.Л. Справочник молодого фрезеровщика, 1992
  11. Кувшинский В.В. Фрезерование,1977
  12. Ничков А.Г. Фрезерные верстати (Библиотека станочника), 1977
  13. Пикус М.Ю. Справочник слесаря по ремонту металлорежущих верстатів, 1987
  14. Плотицын В.Г. Расчёты настроек і наладок фрезерных верстатів, 1969
  15. Плотицын В.Г. Наладка фрезерных верстатів,1975
  16. Рябов С.А. Современные фрезерные верстати і их оснастка, 2006
  17. Схиртладзе А.Г., Новиков В.Ю. Технологическое обладнання машиностроительных производств, 1980
  18. Тепинкичиев В.К. Металлорежущие верстати, 1973
  19. Чернов Н.Н. Металлорежущие верстати, 1988
  20. Френкель С.Ш. Справочник молодого фрезеровщика (3-е изд.) (Профтехобразование), 1978






6М82, ТГ-2, ТГ-2Б верстат горизонтальный консольно-фрезерный: - паспорт, 1961 (djvu) 4,4 Мб, Скачать