Виробник токарного верстата моделі TUM-35 - Ponar Pleszew , Польща, 1995
Токарно-гвинторізний верстат TUM-35 застосовується для виконання різноманітних легких і середніх токарних робіт в ремонтних цехах і в ремонтних майстернях.
Токарний верстат TUM-35 призначений для використання в умовах серійного та одиничного виробництва для виготовлення невеликих та середньої величини виробів із сталі, чавуну, кольорових металів та пластмас.
Конструкція токарного верстата TUM-35 і межі швидкостей шпинделя передбачають можливість виробляти як чорнову обробку так і чистову при застосуванні великих швидкостей різанні.
На цьому токарномуу верстаті такі можна робити точення конусів і нарізування всіх основних видів метричної, дюймової, модульної та різьби.
Привід шпинделя повідомляється ох електродвигуна за допомогою редуктора та ремінної передачі, а в межах малих швидкостей додатково за допомогою контрприводу.
Токарний верстат укомплектований електромагнітним гальмом, що забезпечує негайну зупинку шпинделя. Напрямні станини зміцнені поверхневим загартуванням до шліфуються.
Конструкція шпинделя та його змонтування в підшипниках дають можливість встановлювати патрони з механічним кріпленням виробу, що обробляється за допомогою пневматичних або гідравлічних циліндрів.

Фото токарно-гвинторізного верстата TUM-35
Фото токарно-гвинторізного верстата TUM-35. Завантажити у збільшеному масштабі

Фото токарно-гвинторізного верстата TUM-35
Фото токарно-гвинторізного верстата TUM-35. Завантажити у збільшеному масштабі

Фото токарно-гвинторізного верстата TUM-35
Фото токарно-гвинторізного верстата TUM-35. Завантажити у збільшеному масштабі

Фото токарно-гвинторізного верстата TUM-35
Фото токарно-гвинторізного верстата TUM-35. Завантажити у збільшеному масштабі

Фото токарно-гвинторізного верстата TUM-35
Фото токарно-гвинторізного верстата TUM-35. Завантажити у збільшеному масштабі

Фото токарно-гвинторізного верстата TUM-35
Фото токарно-гвинторізного верстата TUM-35. Завантажити у збільшеному масштабі

Розташування органів керування токарним верстатом TUM-35
Розташування органів керування токарним верстатом TUM-35. Завантажити у збільшеному масштабі

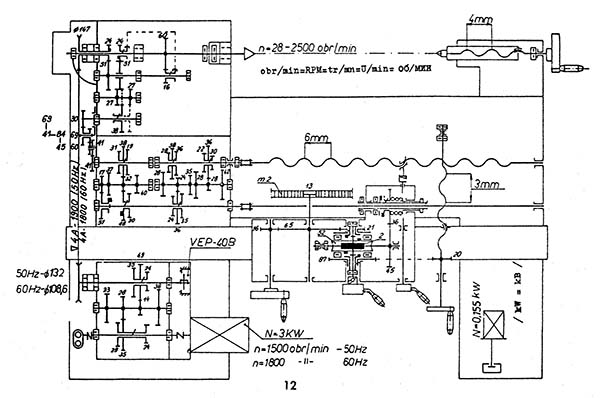
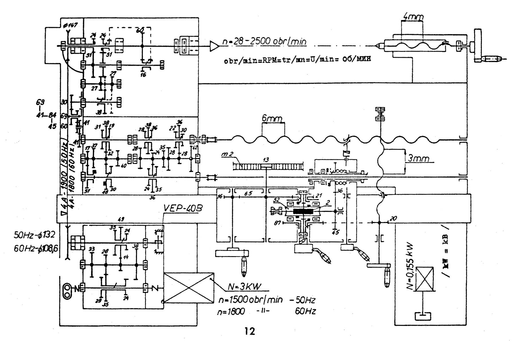
Кінематична схема токарно-гвинторізного верстата TUM-35
Кінематична схема токарно-гвинторізного верстата TUM-35. Скачать в увеличенном масштабе

Передня (Шпиндельная) бабка токарно-гвинторізного верстата TUM-35
Передня (Шпиндельная) бабка токарно-гвинторізного верстата TUM-35. Скачать в увеличенном масштабе

Коробка швидкостей токарно-гвинторізного верстата TUM-35
Коробка швидкостей токарно-гвинторізного верстата TUM-35. Завантажити у збільшеному масштабі

Фартук токарно-гвинторізного верстата TUM-35
Фартук токарно-гвинторізного верстата TUM-35. Скачать в увеличенном масштабе

Суппорт токарно-гвинторізного верстата TUM-35
Фартук токарно-гвинторізного верстата TUM-35. Скачать в увеличенном масштабе

Коробка передач (Гітара) токарно-гвинторізного верстата TUM-35
Коробка передач (Гітара) токарно-гвинторізного верстата TUM-35. Скачать в увеличенном масштабе

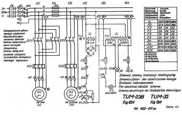
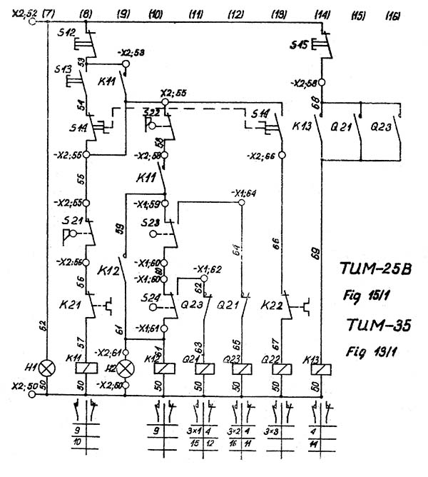
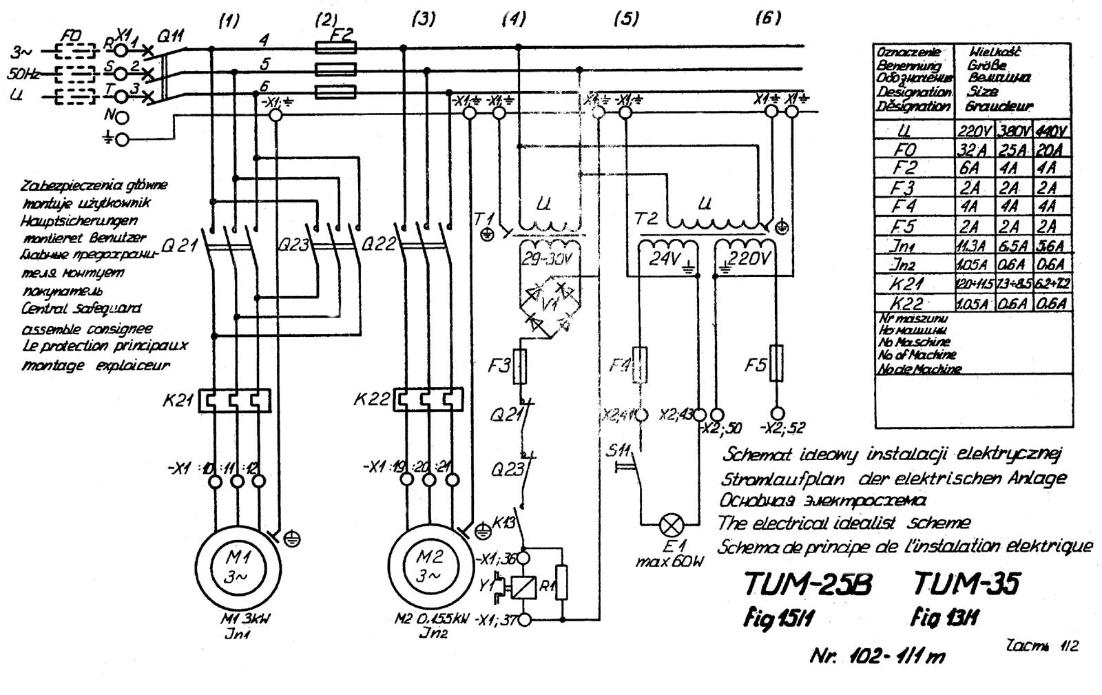
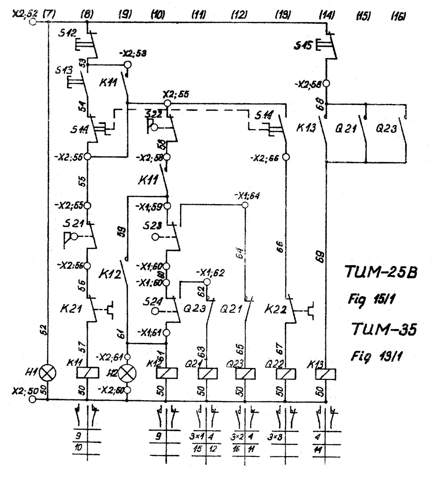
Електрична схема токарно-гвинторізного верстата TUM-35
Електрична схема токарно-гвинторізного верстата TUM-35). Скачать в увеличенном масштабе

Електрична схема токарно-гвинторізного верстата TUM-35
Електрична схема токарно-гвинторізного верстата TUM-35). Скачать в увеличенном масштабе
| Найменування параметру | 16K20 | ТУ-40 | ТУМ-35 |
|---|---|---|---|
| Основні параметри верстата | |||
| Клас точності згідно з ГОСТ 8-82 | Н | ||
| Найбільший діаметр заготовки, що встановлюється над станиною, мм. | 400 | 400 | 350 |
| Висота осі центрів над плоскими напрямними станини, мм | 215 | 200 | 180 |
| Найбільший діаметр заготовки оброблюваної над супортом, мм | 220 | 230 | 200 |
| Найбільша довжина заготівлі, що встановлюється в центрах (РМЦ), мм | 710, 1000, 1400, 2000 |
1000, 1500 | 500, 800, 1000 |
| Найбільша відстань від осі центрів до кромки різцетримача, мм | 225 | ||
| Найбільший діаметр свердла при свердлінні сталевих деталей, мм | 25 | ||
| Найбільша маса заготівлі, що обробляється в центрах, кг | 460..1300 | ||
| Найбільша маса заготівлі, що обробляється в патроні, кг | 200 | ||
| Шпиндель | |||
| Діаметр отвору в шпинделі, мм | 52 | 38 | 36 |
| Найбільший діаметр прутка, що проходить через отвір у шпинделі, мм | 50 | ||
| Частота обертання шпинделя у прямому напрямку, об/хв | 12,5..1600 | 22,4..1000 | 28..2500 |
| Частота обертання шпинделя у зворотному напрямку, об/хв | 19..1900 | 22,4..1000 | 28..2500 |
| Кількість прямих швидкостей шпинделя | 22 | 12 φ=1,41 | 14 |
| Кількість зворотних швидкостей шпинделя | 11 | 12 | 14 |
| Кінець шпинделя | 6K | C5 135 | С5 DIN 5 |
| Конічний отвір шпинделя за ГОСТ 2847-67 | Морзе 6 | Морзе 5 | Морзе 5 |
| Діаметр фланця шпинделя, мм | 170 | ||
| Найбільший крутний момент на шпинделі, Нм | 1000 | 270 | |
| Коробка подач | |||
| Діапазон поздовжніх подач, мм/про | 0,05..2,8 | 0,04..2,03 | 0,04.. 0,4 |
| Діапазон поперечних подач, мм/про | 0,025..1,4 | 0,02..1,015 | 0,02..0,2 |
| Кількість подач поздовжніх | 42 | 35 | 9 |
| Кількість подач поперечних | 42 | 35 | |
| Кількість нарізних різьблень - метричних | 7 | 38 | |
| Кількість нарізних різьблень - модульних | 11 | 31 | |
| Кількість нарізних різьблень - дюймових (Whitworth) | 21 | 35 | |
| Кількість нарізних різьблень - питчових | 17 | 25 | |
| Межі кроків метричних різьблень, мм | 0,5..112 | 0,75..12 | 0,2..18 |
| Межі кроків дюймових різьблень, ниток/дюйм (Whitworth) | 56..0,5 | 28..2 | 76..2 |
| Межі кроків модульних різьблень, модуль | 0,5..112 | 0,75..4,5 | 0,4..13,5 |
| Межі кроків різьб, питч діаметральний | 56..0,5 | 38..5 1/2 | 38..2 2/3 |
| Супорт | |||
| Найбільша довжина поздовжнього переміщення, мм | 645, 935, 1335, 1935 | 500, 800, 1000 | |
| Крок ходового ггвинта, мм | 6 | 6 | |
| Модуль рейки, мм | |||
| Найбільша довжина поперечного переміщення, мм | 300 | ||
| Швидкість швидких поздовжніх переміщень, м/хв | 3,8 | ||
| Швидкість швидких поперечних переміщень, м/хв | 1,9 | ||
| Максимально допустима швидкість переміщень при роботі за упорами, мм/хв. | 250 | ||
| Мінімально допустима швидкість переміщення каретки (супорта), мм/хв. | 10 | ||
| Ціна поділу лімба поздовжнього переміщення, мм | 1 | ||
| Хід супорта за один оборот маховичка, мм | |||
| Ціна поділу лімба поперечного переміщення, мм | 0,05 | ||
| Найбільше зусилля, яке допускається механізмом подач на різці - поздовжнє, Н | 5884 | ||
| Найбільше зусилля, яке допускається механізмом подач на різці - поперечне, Н | 3530 | ||
| Різцеві санки | |||
| Найбільше переміщення різцевих санчат, мм | 150 | ||
| Переміщення різцевих санок на один поділ лімба, мм | 0,05 | ||
| Найбільший кут повороту різцевих санок, град | ±90° | ||
| Ціна поділу шкали повороту різцевих санчат, град | 1° | ||
| Найбільший переріз державки різця, мм | 25 × 25 | 16 х 16 | |
| Висота від опорної поверхні різця до осі центрів (висота різця), мм | 25 | ||
| Число різців у різцевій головці | 4 | ||
| Задня бабка | |||
| Діаметр пінолі задньої бабки, мм | |||
| Конус отвору в пінолі задньої бабки за ГОСТ 2847-67 | Морзе 5 | Морзе 4 | Морзе 4 |
| Найбільше переміщення пінолі, мм | 150 | 100 | 100 |
| Переміщення пінолі на один поділ лімба, мм | 0,1 | ||
| Розмір поперечного зміщення корпусу бабки, мм | ±15 | ±15 | ±10 |
| Електроустаткування | |||
| Електродвигун головного приводу, кВт (об/хв) | 11 | 3 (1430) | 4 (1500) |
| Електродвигун приводу швидких переміщень, кВт (об/хв) | 0,12 | ||
| Електродвигун насоса СОЖ, кВт (об/хв) | 0,125 | 0,125 (2800) | 0,155 (3000) |
| Габарити та маса верстата | |||
| Габарити верстата (довжина ширина висота) РМЦ = 1000 мм | 2795 × 1190 × 1500 | 2350 х 860 х 1200 | 2470 х 1000 х 1410 |
| Маса верстата, кг | 3010 | 1300 | 1500 |