Содержание
Керування продольным движением стола з помощью кулачков для простейшей автоматизации процесса обробки появились на самых первых серийных моделях фрезерных верстатів Горьковского завода фрезерных верстатів, основанного в 1931 году.
Все серии консольно-фрезерных верстатів (6Н, 6М, 6Р і 6Т) имеют возможность использовать напівавтоматический (скачкообразный) і автоматический (маятниковый) циклы обробки, что дает возможность использовать универсальные фрезерные верстати на окремих операциях в серийном производстве.
Работу по напівавтоматическому (скачкообразному) циклу целесообразно вести при фрезеровании деталей, у которых обрабатываемые поверхности (например, бобышки) расположены на значительном расстоянии друг от друга.
При автоматическом (маятниковом) цикле обрабатываемые детали устанавливаются поочередно то на правой, то на левой стороне стола. Во время обробки детали, расположенной на одной стороне стола, фрезеровщик снимает обработанную деталь на другой его стороне і устанавливает новую. Стол верстата в етом случае непрерывно совершает замкнутый цикл руху: быстро вправо — подача вправо — быстро влево — подача влево і т. д.
Современные консольно-фрезерные верстати снабжены пристрійм, з помощью которого керування продольным движением стола може осуществляться по автоматическому циклу.
Различают два таких цикла:
Керування етими циклами осуществляется з помощью специальных кулачков, устанавливаемых в боковом Т-образном пазу стола. Кулачки, расположенные в заданной післядовательности і на требуемом расстоянии, воздействуют на звездочку керування швидкими і рабочими продольными переміщеннями стола, а также на рукоятку переключения поздовжньої подачі, что позволяет управлять рабочими рухуми стола автоматически.

Установка кулачков в боковом Т-образном пазу стола
Установка кулачков в боковом Т-образном пазу стола. Дивитись у збільшеному масштабі

Установка кулачков в боковом Т-образном пазу стола
Установка кулачков в боковом Т-образном пазу стола. Дивитись у збільшеному масштабі
Изменение направления руху стола (реверсирование) з одновременным переключением его з рабочей подачі на быстрый ход производится либо совместно работающими кулачками № 1 і 3 (при движении стола вправо), либо кулачками № 2 і 4 (при движении стола влево). Так как в точках реверса кулачки № 1 і 3 і №2 і 4 работают одновременно, их следует устанавливать вплотную друг к другу, в противном случае реверсирования руху стола може не получиться.
Переключення з рабочей подачі на быстрый ход или з швидкого ходу на рабочую подачу і реверсирование руху могут быть осуществлены в любом месте ходу і при любом направлении руху стола і ограничиваются лишь возможностью установки соответствующих кулачков в требуемых точках.
На рис. 25 приведены схеми установки кулачков і соответствующие им схеми (циклограммы) движений стола. Так, при установці кулачков для роботи по скачкообразному циклу вправо стол верстата получает руху, которые можно проследить по схеме на рис. 25, а: от начала цикла — быстро вправо до момента подхода обрабатываемой детали к инструменту (фрезе), когда кулачок № 3, воздействуя на звездочку керування, произведет переключение з швидкого ходу вправо на рабочую подачу в том же направлении. По окончании обробки, когда фреза выйдет из контакта з заготовкой, кулачок № 1 воздействует на рукоятку переключения поздовжньої подачі, а кулачок № 3 — на звездочку керування, при етом стол верстата получит быстрое перемещение в обратном направлении.
В кінці швидкого ходу стола влево на выступ рукоятки переключения поздовжньої подачі воздействует кулачок № 2. Он поставит рукоятку в среднее положение, при котором прекратится рух стола.
После остановки стола (деталь при етом отведена от вращающейся фрезы) фрезеровщик снимает деталь, устанавливает на її место новую заготовку і затем включает верстат, давая етим импульс для повторения цикла.
На рис. 25, б показана аналогичная схема, при которой стол з закрепленной на нем деталью получает руху: быстро влево— подача влево — быстро вправо — стоп. В етом случае вместо кулачков № 3 устанавливаются кулачки № 4.
Таким образом, получается тот же цикл движений, но в противоположном направлении.
Работу по напівавтоматическому скачкообразному циклу (схеми на рис. 25, а і б) целесообразно вести при фрезеровании деталей, у которых обрабатываемые поверхности (например, бобышки) расположены на значительном расстоянии друг от друга.
При автоматическом маятниковом цикле обрабатываемые детали устанавливаются поочередно то на правой, то на левой стороне стола. Во время обробки детали, расположенной на одной стороне стола, фрезеровщик снимает обработанную деталь на другой его стороне і устанавливает новую. Стол верстата в етом случае непрерывно совершает замкнутый цикл руху: быстро вправо — подача вправо — быстро влево — подача влево і т. д.
Как видно из рис. 25, в, в етом случае справа устанавливаются два кулачка № 4, а слева — два кулачка № 3.

Схема установки кулачков
Схема установки кулачков для автоматических циклов верстата. Дивитись у збільшеному масштабі
Налаштування фрезерного верстата на автоматический цикл роботи предполагает рух вузлів верстата в определенной післядовательности з определенной скоростью в требуемом направлении на необходимое расстояние. Так, например, стол вертикально-фрезерного верстата мод. 6Р12 може быть настроен на наступні циклы работ: напівавтоматический — быстро вперед — рабочая подача — быстро назад или вперед — стоп; автоматический маятниковый — быстро вправо — подача вправо — быстро влево — подача влево — быстро вправо і т. д.
Тот или иной цикл роботи обеспечивают соответствующей установкой на столе верстата (см. рис. 45) кулачков 21, 22, 25 і 26, один из которых, воздействуя на выступы рукоятки 24 переключения продольного ходу, реверсируют рух стола, другие, поворачивая звездочку 23, включают быстрый ход стола. Кулачки в конечном итоге через рукоятку і звездочку воздействуют на конечные електрические выключатели, которые переключают направление обертання двигуна подачі или включают електромагнит в механізме керування быстрым ходом стола (см. рис, 49).
На рис. 51 даны схеми установки кулачков для различных циклов работ фрезерного верстата.
Для напівавтоматичного цикла роботи расстановка кулачков на столе верстата приведена на рис. 51,а. При включении верстата стол движется быстро вправо до тех пор, пока кулачок 3 не повернет звездочку 4, в результате чего стол будет продолжать рух в ту же сторону, но уже з медленной рабочей подачей. В кінці ходу стола кулачки 1 і 2, поворачивая одновременно соответственно звездочку 4 і рукоятку 5, включают быстрое обратное рух стола. В кінці обратного ходу стола кулачок 6 устанавливает рукоятку в среднее положение, і стол останавливается. Для повторения цикла роботи верстата необходимо снова нажать кнопку «Пуск». Кулачок 7 играет роль предохранителя.
Автоматический маятниковый цикл роботи верстата обеспечивают расстановкой кулачков по схеме рис. 51,б. При включении верстата стол движется, быстро вправо до тех пор, пока кулачок 3 не подойдет к звездочке і не повернет ее. После етого устанавливается медленная рабочая подача стола в ту же сторону. В кінці ходу стола кулачки 1 і 2, воздействуя одновременно на рукоятку і звездочку, реверсируют направление руху стола і включают ускоренное перемещение. При обратном движении стола сначала кулачок 8 поворотом звездочки устанавливает медленную рабочую подачу стола, а в кінці ходу кулачки 6 і 9 реверсируют рух стола і включают ускоренное его перемещение. Далее цикл повторяется, прервать его можно нажатием кнопки «Стоп».
Схеми передачи руху от рукоятки 5 і звездочки 4 до соответствующих конечных выключателей приведена на рис. 51, в, г.
Рукоятка 5 (рис. 51, в), отклоняясь от среднего (нейтрального) положения, через тягу 14 і палец 13 качает рычаг 12, который нажимает на конечные выключатели 10 или 11, замыкая одни і размыкая другие их контакты. В результате осуществляется реверс електродвигуна подачі, а значит, і стола.
Звездочка 4 (рис. 51, г) связана з дисковым кулачком 15. Кулачок по окружности имеет четыре глубокие і четыре неглубокие впадины, которые чередуются. Шток 16, попадая при повороте кулачка в глубокую впадину или на наружную поверхность кулачка, замыкает контакты конечного выключателя 17, в результате срабатывает електромагнит 1 (см. рис. 50) і стол получает ускоренное перемещение. При моменте нахождения штока в неглубокой впадине контакты конечного выключателя разомкнуты і стол перемещается з рабочей подачей.
Профиль направляючих стола выполнен в виде ласточкина хвоста. Концевые кронштейны стола, поддерживающие винт, устанавливаются по фактическому расположению гвинта і фиксируются з помощью контрольных штифтов.
Радиальные підшипники ходового гвинта выполнены в виде втулок из чугуна марки Ц-2, запрессованных в кронштейны.
Эти втулки должны каждую смену смазываться.
Упорные підшипники смонтированы на разных концах гвинта, что устраняет возможность роботи ходового гвинта на продольный изгиб. Практически важно мати предварительный натяг ходового гвинта гайками з усилием 100—125 кг, на что необходимо обращать внимание при повторном монтаже.
Если верстат работает з тяжелыми, часто повторяющимися нагрузками, то возникает необходимость подтяжки гвинта.

Разрез по ходовому винту консольно-фрезерного верстата
Разрез по ходовому винту консольно-фрезерного верстата. Дивитись у збільшеному масштабі
Для осуществления приводу шпинделя делительной головки шейка ходового гвинта з правой стороны имеет шпонку. Эта шейка обычно закрыта съемным колпачком (рис. 39).
Ходовой винт 1 получает вращение через скользящую шпонку гильзы 7, смонтированной во втулках 4 і 8.
Гильза имеет наружные шлицы, через которые її вращает кулачковая муфта б; післядняя получает вращение при сцеплении з торцовыми кулачками муфты 5, жестко связанной з коническим зубчатым колесом. Кулачковая муфта 5 имеет зубчатый венец, з которым сцепляется зубчатое колесо приводу круглого стола, поставляемого по особому заказу потребителя.
Блок конических зубчатых колес 9 имеет верхнее зубчатое колесо со спиральным зубом типа Клингельнберг з передаточным отношением 1:1. При повторном монтаже необходимо обращать внимание на правильную установку компенсаторов.
Правая из двух гаек ходового гвинта (гайка 3) нерухома і зафиксирована двумя штифтами в корпусе салазок, левая гайка 2, упираясь торцом в правую, при повороте її червяком выбирает люфт в винтовой передаче.
Зажим салазок на консоли происходит за счет подтягивания планки 10 ексцентриком, имеющим ексцентриситет 1 мм. Подтяжка гайки по месту дает возможность компенсировать износ і устанавливать зажим соответственно наиболее удобному угловому положению рукоятки.

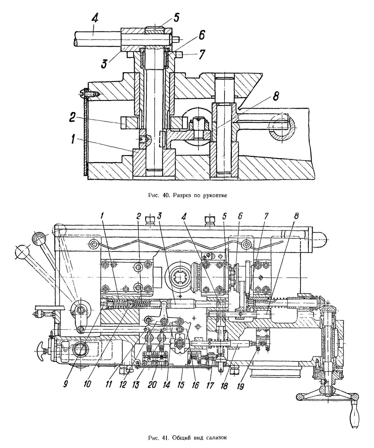
Устройства керування консольно-фрезерным верстатом
Устройства керування консольно-фрезерным верстатом. Дивитись у збільшеному масштабі
Рукоятка продольного ходу жестко соединена з осью 5 (рис. 40).
Ось поворачивается в игольчатом подшипнике 6 і втулке 1 і поворачивает вместе з собой копир 8. Копир 8 находится в контакте з роликом, который в процессе переключения катится по его кривой. При выключенном положении рукоятки ролик находится в глубокой средней впадине копира, при включенных положениях — в одной из боковых малых впадин.
Рух ролика через рычаг 14 передається штоку 5 і через зубчатое колесо 4 — рейке 8 і вилке, ведущей кулачковую муфту (рис. 41).
Пружина 1, регулируемая пробкой 9, постоянно нажимает на шток 3.
Внутри штока 5 имеется пружина 2, которая обеспечивает возможность увімкнення рукоятки при попадании зуба на зуб в кулачковой муфте.
Регулювання пружины 2 производится винтом 10 при помощи ключа, который вставляется через отверстие пробки 9.
Следует помнить, что чрезмерное сжатие пружины 1 ослабляет действие пружины 2.
В случае прощелкивания муфты при включении швидкого ходу рекомендуется подтянуть пружину 2.
На одной оси з рычагом 14 сидит рычаг 12, который служит для виключення кулачковой муфты кулачком 11.
Кулачок 11 приклепан к тяге, соединяющей основную рукоятку продольного ходу з дублирующей.
Увімкнення і реверсирование електродвигуна подач происходит при помощи конечных выключателей 20, на которые через пальцы 13 воздействует своими скосами кулачок 11.
Відключення двигуна происходит після виключення кулачковой муфты благодаря скосам кулачка 11.
Для автоматичною остановки стола на ступице рукоятки продольного ходу со стороны, обращенной к столу, имеются два выступа, расположенные на разной высоте, на которые воздействуют кулачки 1 і 2 (см. рис. 36).
Сняв крышку 15 (см. рис. 41), можно проверить работу контактов конечных выключателей, а в случае необходимости очистить их от пригара.
На переднем торце салазок, з правой стороны, на валике, крепится второй маховичок ручного переміщення стола. Маховичок через коническую і цилиндрическую передачи связан з кулачковой муфтой. При включении кулачковой муфты маховичок отключается. Цилиндрическое зубчатое колесо 7 подпружинено на случай попадания зуба на зуб.
На оси рукоятки продольного ходу смонтированы звездочки увімкнення швидкого ходу, работающие только при автоматическом цикле (см. рис. 40). Звездочка 7 получает вращение от возвратного пружинного кулачка, укрепляемого в пазу стола, і передает его нижней звездочке 2. Нижня звездочка, как ето видно из рис. 41, имеет различную глубину впадин, что при повороте її на 45° дает разный ход штоку 18, который воздействует на конечный выключатель 19 і при замыкании его контактов через магнитный пускатель включает електромагнит швидкого ходу.
Конечный выключатель имеет две пары контактов, обеспечивающих получение автоматичного переключения з швидкого ходу на подачу і наоборот.
При быстром ходе шток 18 входит своим концом в глубокие впадины нижней звездочки, осуществляя фиксацию обеих звездочек і обеспечивая замыкание контактов конечного выключателя.
При воздействии кулачка на верхнюю звездочку післядняя вместе з нижней звездочкой поворачивается, в результате чего шток выходит на участок постоянной кривизны нижней звездочки. В етот момент замыкается вторая пара контактов. После етого шток заскакивает в более мелкие впадины, фиксируя обе звездочки в новом положении.
В етом положении оба контакта должны быть разомкнуты (положение рабочей подачі).
Установка рукоятки продольного ходу в положение «стоп» (среднее положение рукоятки) дает вимкнення подачі или швидкого ходу во всех случаях, независимо от налаштування верстата на автоматический цикл или ручное керування, за исключением момента поворота звездочки 7 (см. рис. 40), сидящей на оси рукоятки продольного ходу 5, кулачком автоматичного цикла. В етот момент стол можно остановить только кнопкой «Стоп». Перед включением стола після такой остановки необходимо проверить, зафиксирована ли звездочка. Для получения автоматических реверсов стола имеется механізм запирания муфты.
Разрез етого механізма показан на рис. 42.
Для запирания муфты необходимо при помощи ключа нажать на валик-шестерню 1 і повернуть его до фиксации в положении «Автоматическое керування столом».
При нажатии на валик-шестерню рейка 4 расцепляется з зубчатым колесом 5 і сцепляется з валиком-шестерней 1. Поворотом валика-шестерни кулачковая муфта 6 (см. рис. 41) перемещается і входит в зацепление з кулачковым зубчатым колесом 5.
С етого момента муфта уже не може быть выключена рукояткой продольного ходу.
Механізм запирания муфты сблокирован з рукояткой продольного ходу таким образом, что переключение можно произвести только в среднем (нейтральном) положении рукоятки. Это достигается за счет Т-образного паза в зубчатом колесе 5 і штифта 6, установленного в корпусе салазок (см. рис. 42).
При нажатии на валик-шестерню 1 при помощи конуса 2 і пальца 3 размыкаются контакты конечного выключателя, блокирующего ланцюг увімкнення поперечної і вертикальной подач. Это необходимо для того, чтобы при запертой муфте не произошло увімкнення одновременно двух движений — стола і салазок или стола і консоли, что може привести к поломке (см. рис. 41 і 42).
Стол може настраиваться на наступні автоматизированные циклы работ:
При налаштуванні на автоматический цикл надо мати в виду следующее:
Переключення з подачі на быстрый ход или з швидкого ходу на подачу осуществимо в любом месте ходу і при любом направлении руху і ограничивается лишь возможностью установки кулачков в данной точке.
Для того чтобы настроить верстат на автоматическую работу, необходимо отключить его, поставить средний переключатель на дверке правого електрошафи, а переключатель на переднем торце салазок—в положение «автоматическое керування столом», подключить верстат к сети і після етого начать установку кулачков согласно вышеприведенным схемам.
Установка переключателя на переднем торце салазок производится при среднем положении рукоятки продольного ходу. При установці може оказаться, что попадает зуб на зуб в кулачковой муфте продольного ходу стола, вследствие чего переключатель не фиксируется. В етом случае необходимо несколько повернуть винт стола за маховичок, находящийся на торце стола.
На все верстати завод поставляет кулачки для роботи по циклу: быстро вправо — подача вправо — быстро назад (влево) — стоп.

Налаштування на автоматические циклы
Налаштування на автоматические циклы верстата. Дивитись у збільшеному масштабі
Указанный цикл при желании може быть установлен в левую сторону (всего четыре кулачка — № 1, 2, 3 і 4 согласно рис. 43).
Для случаев, когда возвращать обработанное изделие под фрезой нежелательно, можно рекомендовать незамкнутый цикл по схеме: быстро — подача — быстро — стоп.
Остановка руху стола вправо или влево производится кулачками № 1 і 2 в соответствии з таблицей, помещенной на передньої крышке салазок. Эти кулачки воздействуют на выступы рукоятки переключения продольного ходу. Кулачки № 1 і 2 никогда не должны сниматься со верстата, так как они ограничивают крайние положения стола.
Переключення з подачі на быстрый ход или з швидкого ходу на подачу (при движении стола вправо или влево) согласно таблице, помещенной на крышке спереди салазок, производится кулачками № 3 і 4, воздействующими на звездочку швидкого ходу. Правый і левый кулачки различаются между собой лишь положением рычага. При необходимости рычаг можно переставить в другую сторону.
Кулачки, воздействующие на звездочку, работают только в том случае, если рукоятка на правой дверке електрошафи находится в положении «автоматический цикл». При работе з ручным керуванням рекомендуется ети кулачки переставить на неработающую часть стола или снять.
По особому заказу завод поставляет кулачки № 3 і 4 в дополнительном количестве для обеспечения роботи на автоматическом маятниковом цикле.
В точках реверса кулачки № 1 і 3, 2 і 4 работают одновременно, поетому их нужно устанавливать так, чтобы получить согласованный разворот рукоятки і звездочки.
Устройства керування рассмотрим на примере фрезерного верстата серии Р (Устройства керування верстатів серий Н і М построены аналогично і отличаются только конструкцией некоторых елементів) На рис. 92, а показано расположение рукояток і панелей керування верстатом мод. 6Р12, а на рис. 92, б — связь етих рукояток з механізмами керування.
Для керування електродвигунами верстата служат основні 22—23, дублирующие 6—8 і вспомогательные пульты. Для увімкнення головного руху («Пуск шпинделя») нажимают кнопку 23 или 7, а для остановки — кнопку «Стоп» (22 или 8). Кнопки 24 і 6 служат для увімкнення швидкого ходу стола. На вспомогательном пульті размещены кнопки, которыми пользуются реже. Это переключатели ввода «Включено-выключено» 14, насоса охлаждения 13, направления обертання шпинделя 12.
Хорошо видны знакомые нам грибок — указатель частот вращений шпинделя 5 і рукоятка переключения частоти обертання шпинделя 9, грибок з фиксатором 17 для переключения подач і указатель подач. Чтобы при переключениях облегчить ввод в зацепление зубчатых колес, нажимают кнопку 4 «Импульс шпинделя».
Переключатель 32 для перехода з ручного на автоматическое керування і для увімкнення приводу круглого верстата размещен з другой стороны верстата (рис. 92, в). Для увімкнення поздовжньої подачі служат рукоятка 21 і дублирующая рукоятка 11, имеющие три фиксированных положения: среднее, левое — подача стола влево, правое — подача стола вправо. Здесь, так же как і для увімкнення подачі салазок і консоли, применено мнемоническое керування: направление поворота рукоятки соответствует направлению подачі. Подача салазок і консоли включается рукояткой 16 (или дублирующей 15), имеющей четыре положения: вперед-назад, вверх-вниз.

Устройства керування фрезерным консольно-фрезерным верстатом 6Р12
Устройства керування фрезерным консольно-фрезерным верстатом 6Р12. Дивитись у збільшеному масштабі
Разберем теперь схему взаимодействия устройств керування (см. рис. 92, б).
Керування поздовжньої подачей електромеханическое. Рукоятка 21 (или 11) при повороте влево или вправо сектором 42 действует на рычаг 38, заставляя его повернуться против часовий стрелки і сместить влево шток 33, правый конец которого представляет собой рейку, находящуюся в зацеплении з зубчатым колесом 36. Зубчатое колесо 36 сцеплено со второй рейкой 39, соединенной з вилкой 35 увімкнення муфты М1 поздовжньої подачі. Обратим внимание на то, что поворот рукоятки поздовжньої подачі как влево, так і вправо приводит непосредственно только к включению муфты поздовжньої подачі, а направление поздовжньої подачі изменяется з помощью електрических конечных выключателей КВ1 і КВ2, предназначенных для увімкнення і реверсирования електродвигуна подач. Тот или другой выключатель срабатывает при повороте коромысла 41 пальцем 40, закрепленным на тяге 37. Отметим, что керування поздовжньої подачей при работе верстата на автоматическом цикле електрическое. Поетому систему керування поздовжньої подачей называют комбинированной електромеханической системой.
Электромеханическая система служит і для переключения подач салазок і консоли. Рукоятка 11 находится в гнезде фигурного барабана 51. С помощью рукоятки можно повернуть барабан или переместить его вдоль оси, при етом коромысло 52, опирающееся на фигурные выступы барабана, поворачивается і з помощью тяги і рычага включает муфту подачі салазок М2 или консоли М3. Одновременно скошенная часть барабана действует на конечный выключатель КВ5 или КВ6 і включается прямое или обратное вращение двигуна коробки подач. Для увімкнення фрикционной муфты швидкого ходу (при любом направлении подачі) имеется еще одна система рычагов. При включении електромагнита 49 нажатием кнопки 24 «Быстро стол» его сердечник втягивается і тяга 45 через пружину 48 поворачивает рычаги 44 і 47. Рычаг 47 сжимает диски фрикционной муфты 50, і включается быстрый ход.
Работа верстата на автоматическом цикле позволяет управлять рухуми стола з помощью кулачков і конечных выключателей без участиния робочого. Для етого включают і оставляют включенной муфты поздовжньої подачі. Увімкнення выполняют не рукояткой поздовжньої подачі, а з помощью механізма запирания муфты.
Механізм состоит из вала-шестерни 43, который своим концом входит в отверстие зубчатого колеса 36 і служит для него осью обертання. Нажимая на передний конец вала-шестерни 43, смещают его і зубчатое колесо 36 вперед таким образом, что рейка 39 выходит из зацепления з зубчатым колесом 36 і сцепляется з валом-шестерней 43. Поворачивая теперь вал-шестерню 43 отверткой, перемещают влево рейку 39 до момента увімкнення муфты М1. Теперь продольная подача уже не може быть выключена рукояткой 21 (хотя поворот рукоятки і возможен). Важно уяснить такую особенность роботи механізма запирания муфты: перемещение зубчатого колеса 36 в осевом направлении (см. рис. 92, б) возможно только тогда, когда її продольный паз П находится против фиксатора 53.
Это положение зубчатое колесо занимает, когда рукоятка 21 поздовжньої подачі находится в среднем положении. Следовательно, перед запиранием муфты необходимо поставить рукоятку поздовжньої подачі в среднее положение. При ручном управлении фиксатор 53 не мешает повороту зубчатого колеса 36 рукояткой 21, так как зубчатое колесо выходит из зацепления з ним.
Механізм запирания муфты выполняет еще одну роль. При смещении вперед вала-шестерни 43 (см. рис. 92, б) конус К нажимает на конечный выключатель КВЗ, который блокирует електрическую ланцюг увімкнення поперечної і вертикальной подач. Этим исключается возможность увімкнення при запертой кулачковой муфте поздовжньої подачі одновременно двух движений — стола і салазок или стола і консоли.
Для автоматичного изменения направления і скорости направления ходу стола верстата служат специальные кулачки, устанавливаемые в пазу стола (см. рис. 92, а). Изменение направления ходу стола происходит в тот момент, когда кулачок-упор поворачивает рукоятку поздовжньої подачі, а післядняя включит один из выключателей КВ1, КВ2 (см. рис. 92, б). При повороте рукоятки повернется і связанное з ней зубчатое колесо 43. Фиксатор 53 не будет мешать повороту, так как будет находиться в кольцевом пазу Ш зубчатого колеса 36.
Для переключения скорости руху стола з рабочей подачі на быстрый ход служат переключатель КВ4 і другие кулачки, действующие на звездочку 34 (см. рис. 92, а і б). Звездочка 34 соединена з кулачком 46, но може свободно поворачиваться на оси рукоятки.
Расставляя в нужных местах паза стола кулачки, можно получать различные циклы движений: напівавтоматический вправо і влево (Ц1 і Ц2), автоматический маятниковый (Ц3) і др.
Рубикон, 2019