Виробник токарного верстата моделі 1612п, 1612вМ (1612п-491, 1612в-491) - Державний Союзний завод, ДСЗ № 491 (до 1944 року ГСЗ № 288), в даний час Савелівський машинобудівний завод, СМЗ1 , м. 5 року.
Токарно-гвинторізний верстат 1612п, 1612в вироблявся приблизно з 1950 року. За основу конструкції було взято прецизійний токарний верстат DL-1 німецької фірми G.Kärger (Густав Кергер).
Компанія Kärger була заснована в Берліні та займалася виробництвом прецизійних токарних верстатів для годинникової промисловості. У 1949 році на місці компанії G.Kärger створено державне підприємство "Берлінський верстатобудівний завод".
У 1954 році токарно-гвинторізний верстат 1612П був замінений у виробництві на більш досконалий на той час верстат ТС-135
Токарно-гвинторізний верстат 1612П призначений для токарної обробки порівняно невеликих деталей з різних матеріалів як швидкорізальними, так і твердосплавними інструментами в умовах індивідуального та серійного виробництва. На верстаті можна нарізати різцем метричні, дюймові та модульні різьблення.
Двигун для приводу швидкого ходу не передбачено.

Фото токарно-гвинторізного верстата 1612п
Фото токарно-гвинторізного верстата 1612п. Дивитись у збільшеному масштабі

Фото токарно-гвинторізного верстата 1612п

Фото токарно-гвинторізного верстата 1612п

Фото токарно-гвинторізного верстата 1612п

Розташування органів керування токарно-гвинторізним верстатом 1612п

Кінематична схема токарно-гвинторізного верстата 1612п
Схема кінематична токарно-гвинторізного верстата 1612п, 1612в. Дивитись у збільшеному масштабі
Приводом верстата служит индивидуальный електродвигатель, установленный на коробке швидкостей. Електродвигун 1 посредством клиноременной передачи 2 сообщает вращение первому валу коробки швидкостей. Переключенням блоков второму валику коробки швидкостей можно сообщить шесть различных швидкостей. От коробки швидкостей вращение передається приводному шкиву передньої бабки посредством плоскоременной передачи 3.
Для розвантаження шпинделя от давления ремня приводной шкив 4 монтируется на окремих опорах, не связанных со шпинделем. Вращение от шкива к шпинделю передається при помощи зубчатой муфты 5.
Когда муфта находится в крайнем правом положении, вращение от приводного шкива передається через перебор 6 зубчатому колесу 7 і далее шпинделю 8, который получает шесть ступеней швидкостей. При переключении муфты влево післядняя непосредственно соединяется зубчатым колесом 9 приводного вала, причем зубчасті колеса перебора выходят из зацепления. В етом случае на шпиндель передається еще шесть ступеней швидкостей. Таким образом, шпиндель може работать на 12 различных скоростях. Направление обертання шпинделя изменяется реверсированием електродвигуна
Продольное или поперечное перемещение салазок суппорта передається от шпинделя 8 через трензель 10, коробку подач, ходовой валик 11, фартук з реечным зубчатым колесом рейке 12, закрепленной на станине (продольная подача), или через трензель 10, коробку подач, фартук, винт A3 і гайку 14 суппорту (поперечная подача). При нарезании різьби подача осуществляется через трензель і гітару подач посредством ходового гвинта 15 і маточной гайки 16, закрепленной в фартуке.
Масляный насос 17 получает вращение от первого вала коробки швидкостей через клиноременную передачу.
Станина имеет коробчатую форму, усиленную внутренними диагональными ребрами. В верхней частини, станины расположены плоские і призматические направляющие. По призматическим направляющим перемещается каретка суппорта. Станина устанавливается на двух тумбах і соединяется з післядними посредством болтов. В передньої тумбе находится коробка швидкостей з електродвигуном, в задньої тумбе — ящик для сменных зубчатых колес.

Передня бабка токарно-гвинторізного верстата 1612п
Передня бабка токарно-гвинторізного верстата 1612п, 1612в. Дивитись у збільшеному масштабі

Передня бабка токарно-гвинторізного верстата 1612п
Передня бабка токарно-гвинторізного верстата 1612п, 1612в. Дивитись у збільшеному масштабі
Правый рычаг 18 служит для переключения перебора, левый 19 для переключения трензеля.
Шпиндель 1 передньої бабки разгружен от изгибающих усилий, передающихся на шкив 2 от ременной передачи. Во избежание поломки; зубьев зубчатых колес перебора 3 предусмотрена блокировка, предохраняющая от увімкнення перебора при нерасцепленной муфте 4 прямого увімкнення.

Коробка швидкостей токарно-гвинторізного верстата 1612п
Коробка швидкостей токарно-гвинторізного верстата 1612п, 1612в. Дивитись у збільшеному масштабі
Изменение швидкостей производится при помощи маховичка 10, приводящего во вращение винтовые зубчасті колеса 9, в результате чего поворачивается барабан 8, переключающий посредством трех вилок 6 зубчасті колеса коробки швидкостей.
Таким образом, движение, получаемое от двигуна посредством клиноременной передачи і шкива 4, передається через блоки зубчатых колес 1, 2 і 3 шкиву 5 і далее з помощью плоского ремня шпинделю верстата. Перебор передньої бабки удваивает число швидкостей. Маховичок 10 можно переключать только при выключенном двигателе. Если маховичок не поворачивается, следует на короткое время включить двигатель, затем выключить і во время его остановки установить маховичком нужное число оборотів шпинделя.
Натяжение приводного ремня, идущего от коробки швидкостей к передньої бабке, регулируется при помощи установочного болта 11, поворотом коробки швидкостей относительно оси 7.
При регулировании натяжения ремня необходимо строго соблюдать следующее правило: выступ коробки швидкостей не должен выходить из вилки ограничителя, привинченного з внутренней стороны стенки тумбы. Несоблюдение етого, правила може привести к поломке зубьев зубчатых колес из-за неполного сцепления.
Особенно необходимо соблюдать ето правило при перешивке ремня. Перемещение коробки швидкостей при регулировании натяжения ремня не должно превышать 15 мм вверх і 15 мм вниз.
Для обеспечения точной роботи шпинделя большое значение имеет качество ремня, передающего рух от коробки швидкостей шпинделю.
Рекомендуется применять кожаный (или равноценный) ремень однорядный толщиной 4—5 мм, склеенный внахлестку. Сшивать ремень не рекомендуется.

Коробка подач токарно-гвинторізного верстата 1612п
Коробка подач токарно-гвинторізного верстата 1612п, 1612в. Дивитись у збільшеному масштабі
Коробка подач используется как для ряда продольных і поперечных подач, так і для нарізання стандартных метрических, дюймовых і модульных резьб.
Коробка подач передает вращение ходовому валику 2 или винту 1 от шпинделя через трензель или сменные зубчасті колеса.
Для выполнения всех токарных работ з автоматичною поздовжньої или поперечної подачей используется ходовой валик 2. При нарезании различных різьб используется ходовой винт 1 і сменные зубчасті колеса. Ходовой винт вращается в полом ведущем валике 6 коробки подач. Валик 3 служит для реверсирования, увімкнення і виключення електродвигуна. Установка подач производится при помощи двух рукояток 4 і 5 в соответствии з данными таблицы на корпусе коробки.

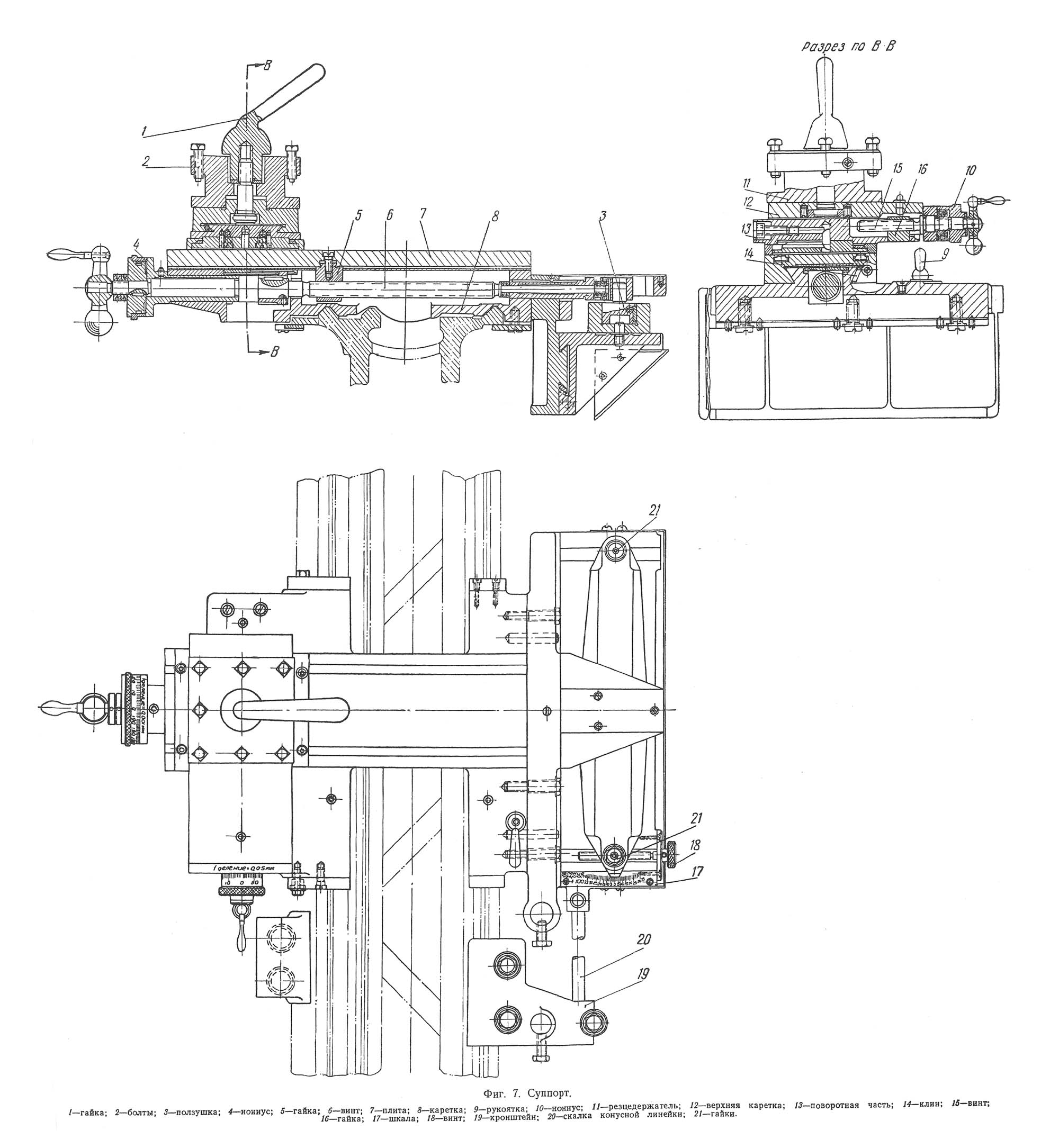
Суппорт токарно-гвинторізного верстата 1612п
Суппорт токарно-гвинторізного верстата 1612п, 1612в. Дивитись у збільшеному масштабі
Суппорт состоит из следующих основних частин: каретки 5, плиты 7, поворотной частини 13, верхней каретки 12 і резцедержателя 11. Каретка 8 може передвигаться в продольном направлении по призматическим направляющим станины. Для закрепления каретки при поперечної обработке предусмотрена рукоятка 9. На верхней плоскости каретки 8 имеются направляющие в форме ласточкина хвоста, по которым перемещается плита 7.
На боковых сторонах каретки сделаны резьбовые отверстия для закрепления подвижного люнета.
Плита 7 получает поперечное перемещение посредством гвинта 6 і гайки 5. Износ направляючих компенсируется подтягиванием клина 14.
В плите 7 имеется круговой Т-образный паз, в который вставляются болты для крепления поворотной частини суппорта; два продольных Т-образных паза служат для установки различных пристосувань.
В поворотной частини 13 имеется кольцевой выступ, который вставляется в Т-образный паз плиты 7 і является направляющей при повороте в обе стороны (на 45°) поворотной частини суппорта. Угол поворота отсчитывается по лимбу. На верхней поверхности поворотной частини. 13 имеются направляющие в форме ласточкина хвоста, по которым посредством гвинта 15 і гайки 16 може перемещаться верхняя каретка 12.
Перемещение плиты 7 і верхней каретки 12 определяется по нониусам 4 і 10.
В четырехместном резцедержателе 11 имеется восемь болтов 2 для закрепления резцов. Отвинтив гайку 1, можно повернуть резцедержатель на 90, 180 или 270°. Нужное положение резцедержателя устанавливается при помощи фиксатора.
Верстат 1612П снабжен конусной линейкой, предназначенной для обтачивания і растачивания конических поверхностей.
При работе з конусной линейкой кронштейн 19, расположенный з задньої стороны верстата, устанавливается і закрепляется в нужном месте соответственно обрабатываемому участку детали. Скалка 20 конусной линейки зажимается в кронштейне 19. Затем отпускают две гайки 21 на концах линейки, винтом 18 устанавливают линейку по шкале 17 і затягивают гайки. Одно деление шкалы соответствует конусности 1 : 100.
Таким образом, верхняя каретка конусной линейки во время роботи остается нерухомою, а ползушка 3, соединенная через винт 6 поперечної подачі з резцедержателем, скользит вдоль паза линейки.

Фартук токарно-гвинторізного верстата 1612п
Фартук токарно-гвинторізного верстата 1612п, 1612в. Дивитись у збільшеному масштабі
В фартуке имеется блокировка, предотвращающая возможность одновременного увімкнення маточной гайки і поперечного или продольного самоходов, а также падающий червяк, осуществляющий автоматический останов верстата в случае его перегрузки.
Останов происходит следующим образом.
Дойдя до упора, червяк 7 і сцепленное з ним червячное колесо 12 останавливаются; ходовой валик 17 і установленные на нем зубчасті колеса продолжают вращаться. Так как на торце зубчатого колеса 6 имеются кулачки со скосом, которым соответствуют такие же кулачки на торце остановившегося червяка 7, то зубчатое колесо 6 отойдет к пружине 4, смещая упор 10 з валиком 8 влево. Когда ето смещение достигнет определенной величины, валик 5 сдвинется з опори 9 і корпус 5 червяка, лишенный опори, повернется относительно ходового валика, вследствие чего расцепятся червяк 7 і червячное колесо 12. Чтобы снова сланцюгить червяк з червячным колесом, нужно повернуть рычаг 1 вверх. При етом правый конец валика 8 под действием пружины ляжет на опору 9.
Пружина 4 должна быть установлена на максимальное давление різання 300 кг. При превышении етого давления супорт автоматически останавливается і опасность поломки верстата предотвращается.
Если в результате продолжительной роботи или по другим причинам автоматический останов суппорта происходит недостаточно четко, следует подтянуть пружину 4. Для етого из фартука вывинчивается винт 2, контрвинт 11 освобождается, установочная гайка 5 поворачивается примерно на 1 оборот і контрвинт 11 снова затягивается.
Если подтягивание пружины 4 оказывается недостаточным, то следует повторить регулировку.
Регулировку автоматичного останова можно проверить двумя способами; либо на определенное давление з помощью динамометра, либо в процессе роботи верстата путем подсчета зусилля різання.
Рычаг 13 служит для увімкнення і виключення маточной гайки 14. Рычагом 15 включается продольная или поперечная подачі.
При переходе на работу з ручной поздовжньої подачей для отключения падающего червяка пользуются рукояткой 16.

Задня бабка токарно-гвинторізного верстата 1612п
Задня бабка токарно-гвинторізного верстата 1612п, 1612в. Дивитись у збільшеному масштабі
Задня бабка используется при обточке детали в центрах. Бабка устанавливается на средних направляючих станины (плоской і призматической) і закрепляется в нужном месте планкой 12, прижимаемой к станине при помощи рукоятки 8 і ексцентрика 11. Осевое перемещение пиноли 3 производится вращением гвинта 4 посредством рукоятки 7. Винт вращается в регулировочной гайке 6, не допускающей осьового переміщення гвинта. Гайка 5 гвинта подачі, закрепленная в корпусе 2 бабки, удерживает пиноль 3 от обертання.
В конусное отверстие пиноли 3 вставляется центр 1. Рукоятка 9 служит для зажиму пиноли. При точении конусов корпус 2 сдвигается относительно направляющей подушки 13 в поперечном направлении посредством двух винтов 10. Величина смещения корпуса отсчитывается по линейке з нониусом.

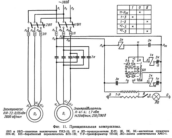
Електрична схема токарно-гвинторізного верстата 1612п
Електроустаткування верстата запроектировано для роботи от сети трехфазного переменного тока напряжением 380 В. К електрооборудованию верстата относятся:
Електродвигун А 41-4 служит для сообщения верстату рабочих движений і установлен в передньої тумбе верстата.
Электронасос ПА-22 служит для подачі на різець охлаждающей жидкости і установлен на специальном бачке за передньої бабкой.
Панель з аппаратурой монтируется в специальном металлическом корпусе з торцевой стороны верстата.
Верстат оборудован местным освещением з арматурой типа АМО-1, закрепленной на кронштейне з задньої стороны верстата. Ланцюг местного освещения питается от понизительного трансформатора ТП-50, понижающего напряжение до 36 В. Увімкнення і вимкнення местного освещения производится выключателем, расположенным в патроне лампы со стороны низкого напряжения. Проводка по верстату выполняется проводом ПРГ-500, прокладываемым в металлических рукавах і газовых трубах.
При пуске верстата включаются пакетные выключатели 1ВП і 2ВП; при етом запускается насос охлаждения Д2 і подается напряжение на контакты магнитных пускачів 1К і 2К і на катушку, магнитного пускателя; 3К. Открытые контакты пускателя замыкаются, подготовляя схему к работе. В процессе роботи на станке з помощью рычага 19 или 20 (см. фиг. 2), механически связанных з реверсивным барабанным переключателем БП, производится пуск, останов і реверс двигуна Д1.
Крайним положениям рычага соответствует вращение двигуна «Вперед» или «Назад», среднему — «Стоп».
При кратковременной отлучке робочого от верстата вимкнення двигуна возможно установкой рукоятки рычага 19 или 20 в среднее положение. При продолжительной отлучке — выключить пакетные выключатели 1ВП і 2ВП.
Схема передбачає нулевую защиту.
Примечание. Схема фиг. 11 соответствует нулевому положению бaрабанного переключателя БП.



| Наименование параметра | 1612п | 1612в | ТС-135м |
|---|---|---|---|
| Основні параметри | |||
| Класс точності | П | В | П |
| Наибольший диаметр заготовки, обрабатываемой над станиной, мм | 260 | 260 | 260 |
| Наибольший диаметр заготовки, обрабатываемой над суппортом, мм | 140 | 140 | 140 |
| Наибольшая длина заготовки (РМЦ), мм | 500 | 500 | 500 |
| Наибольшая длина обточки, мм | 400 | 400 | 400 |
| Высота оси центров над плоскими направляющими станины (высота центров), мм | 135 | 135 | 135 |
| Высота от опорной поверхности резца до линии центров, мм | 16 | 16 | 16 |
| Наибольшее расстояние от линии центров до кромки резцедержателя, мм | 145 | 145 | 145 |
| Шпиндель | |||
| Тип опорных підшибників | Скольжения | Скольжения | Качения |
| Диаметр сквозного отверстия в шпинделе, мм | 20 | 20 | 20 |
| Число ступеней частот прямого обертання шпинделя (число рабочих швидкостей) | 12 | 12 | 12 |
| Частота прямого обертання шпинделя, об/мин | 33,5..1520 | 33,5..1520 | 47,5..2144 |
| Размер внутреннего конуса в шпинделе, М | Конус морзе 3 | Конус морзе 3 | Конус морзе 3 |
| Кінець шпинделя | М45 х 4,5 | ||
| Торможение шпинделя | нет | нет | нет |
| Блокировка рукояток | есть | есть | есть |
| Суппорт. Подачи | |||
| Наибольшее перемещение поздовжньої каретки суппорта от руки, мм | 560 | 560 | 560 |
| Наибольшее перемещение поперечної каретки суппорта, мм, мм | 180 | 180 | 180 |
| Перемещение поздовжньої каретки суппорта на одно деление лимба, мм | нет | нет | нет |
| Перемещение поперечної каретки суппорта на одно деление лимба, мм, мм | 0,02 | 0,02 | 0,01 |
| Число ступеней продольных і поперечных подач | 9 | 9 | 9 |
| Пределы продольных рабочих подач, мм/об | 0,008..0,2 | 0,008..0,2 | 0,018..0,46 |
| Пределы поперечных рабочих подач, мм/об | 0,003..0,075 | 0,003..0,075 | 0,0067..0,171 |
| Количество нарезаемых різьб метрических | 70 | 70 | 70 |
| Пределы шагов нарезаемых різьб метрических, мм | 0,2..12,7 | 0,2..12,7 | 0,2..12,7 |
| Количество нарезаемых різьб дюймовых | 25 | 25 | 25 |
| Пределы шагов нарезаемых різьб дюймовых | 2..24 | 2..24 | 2..24 |
| Кількість нарізних різьблень модульних | 12 | 12 | 12 |
| Межі кроків різьблення модульних | 0,25..3 | 0,25..3 | 0,25..3 |
| Швидкість швидких переміщень супорту, м/хв | ні | ні | ні |
| Різьбопокажчик | ні | ні | ні |
| Блокування рукояток | є | ||
| Захист від перевантаження | є | є | є |
| Вимикаючі упори | є | є | є |
| Різцеві санки | |||
| Найбільші розміри державки різця (ширина х висота), мм | 16 х 25 | 16 х 25 | 16 х 20 |
| Найбільше переміщення різцевих санчат, мм | 95 | 95 | 95 |
| Переміщення різцевих санок на один поділ лімба, мм | 0,05 | 0,05 | 0,05 |
| Найбільший кут повороту різцевих санок, град | ±90° | ±90° | ±90° |
| Ціна поділу шкали повороту різцевих санчат, град | 1° | 1° | 1° |
| Число різців у різцевій головці | 4 | 4 | 4 |
| Задня бабка | |||
| Діаметр пінолі задньої бабки, мм | |||
| Конус отвору в пінолі задньої бабки | Морзе №3 | Морзе №3 | Морзе №3 |
| Найбільше переміщення пінолі, мм | 110 | 110 | 110 |
| Розмір поперечного зміщення корпусу бабки, мм | ±15 | ±15 | ±15 |
| Електроустаткування | |||
| Кількість електродвигунів на верстаті | 2 | 2 | 2 |
| Потужність електродвигуна головного приводу, кВт | 1,7 | 1,7 | 2,8 |
| Тип електродвигуна головного приводу | А-41/4 | А-41/4 | А-42/4 |
| Потужність електродвигуна насоса охолодження, кВт | 0,125 | 0,125 | 0,125 |
| Габарити та маса верстата | |||
| Габарити верстата (довжина ширина висота), мм | 1725 х 860 х 1400 | 1725 х 860 х 1400 | 1725 х 860 х 1400 |
| Маса верстата, кг | 800 | 800 | 800 |