Виробник токарного верстата моделі ТПК-125 - Савелівський машинобудівний завод СМЗ , заснований у 1915 році.
У 1946 році наказом міністерства авіаційної промисловості визначено профіль підприємства як заводу з випуску токарних прецизійних високоточних верстатів.
У 1966 році підприємство перетворено на Савелівський машинобудівний завод (СМЗ) п/я-4.
В 1979 завод стає Савеловським виробничим об'єднанням "Прогрес" (СПО "Прогрес").
Токарний верстат ТПК-125 з ЧПУ почав випускатися на Савелівському машинобудівному заводі 1974р.
Верстат токарний патронний підвищеної точності ТПК-125ПН2 та високої точності ТПК-125ВН2 з числовим програмним керуванням та призначений для патронної обробки за програмою, записаною на перфострічці Високоточних деталей з різних матеріалів в умовах відповідних кліматичному виконанню "УХЛ" та "4" категорії розміщення 15150-69.
На верстаті ТПК-125 можна проводити розточування і обточування циліндричних, конічних і фасонних поверхонь, нарізування різьблення кріплення, підрізування торців, проточку канавок.
Токарний верстат ТПК-125 може бути оснащений пневматичним роботом MП-254, призначеним для захоплення заготівлі з магазину, переміщення та встановлення в токарний патрон, а після обробки захоплення обробленої деталі в патроні, переміщення та укладання її в той же магазин.
Для забезпечення найвищої точності обробки та збільшення часу збереження точності параметрів верстата рекомендується глибину різання встановити не більше 0,5 мм на бік. Програмне керування верстатом дозволяє обробляти деталі складного профілю з великою кількістю переходів в автоматичному режимі, що є економічно вигідним для багатономенклатурного серійного та дрібносерійного виробництва.
Верстат ТПК-125 укомплектований однією із систем числового програмного керування Н22-1МТ1, Н22-1МТ, Н22-1МТ-01, Н22-1МТ-01.
У режимі автоматичного керування верстат ТПК-125 може працювати одночасно за двома координатами та автоматичною зміною інструменту.
Верстат призначений для патронної та центрової обробки з високою точністю малогабаритних деталей з великою кількістю проходів та складного профілю із різних матеріалів. На верстаті можна проводити всі види токарної обробки, нарізування різьбленням. Конструкція верстата дозволяє проводити обробку деталей з мікронною точністю, що робить його практично незамінним, особливо при виготовленні малогабаритних деталей.
При роботі з кулачковим патроном 72003.016.01.000 маса кулачка не повинна перевищувати 0,230 кг із алюмінію та 0,680 кг із сталі 45.
Область застосування: Дрібносерійне серійне виробництво.
Висока точність обробки. Забезпечується:
Висока продуктивність верстата досягається за рахунок:
Широкий діапазон регулювання частоти обертання шпинделя забезпечується за рахунок застосування як головний привід електродвигуна постійного струму з тиристорним керуванням.

Фото токарного верстата ТПК-125ВН2

Фото токарного верстата ТПК-125
Фото токарного верстата ТПК-125. Дивитись у збільшеному масштабі

Фото токарного верстата ТПК-125
Фото токарного верстата ТПК-125. Дивитись у збільшеному масштабі

Фото токарного верстата ТПК-125
Фото токарного верстата ТПК-125. Дивитись у збільшеному масштабі

Фото токарного верстата ТПК-125

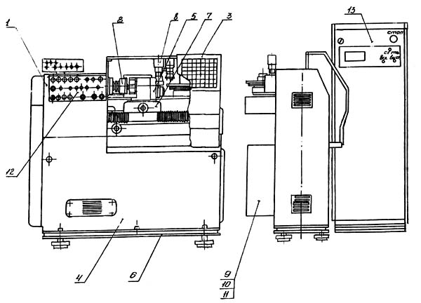
Розташування складових частинин токарного верстата ТПК-125
Блок релейної автоматики – 72003.020.13.000
Комплект запасних частинин – 72003.020.17.000
Комплект інструменту та приладдя - 72003.027.11.000
Комплект укладок - 72003.027.11.000

Розташування органів керування токарним верстатом ТПК-125

Кінематична схема токарного верстата з ЧПУ ТПК-125
Схема кінематична токарного верстата з ЧПУ ТПК-125. Дивитись у збільшеному масштабі
Станина представляет собой чугунную стойку коробчатой формы, усиленную внутренними продольными і поперечными ребрами. На станине устанавливается передняя бабка, двухкоординатный суппорт, кронштейн для установки робота. Внутри станины і в нишах устанавливаются пульт керування, двигатель головного привода, блок пневмооборудования. Основанием станина крепится к фундаментной плите.
Передня бабка предназначена для крепления обрабатываемой детали, передачи ей вращательного руху.
Передня бабка состоит из трех основних частин:
Шпиндельный узел представляет собой стальной стакан 13, который закрепляется в чугунном прямоугольном корпусе 12 передньої бабки. В стакане монтируется шпиндель 14 на высокоточных підшипниках качения. Передня опора шпинделя - жесткий триплекс из двух радиально-упорных підшибників 2 класса точності (для восприятия осевой двухсторонней нагрузки) і одного радиального роликового двухрядного підшипника з внутренним коническим отверстием.
Задня опора - радиальный роликовый двухрядный подшипник, плавающий в осевом направлении з целью компенсации температурных колебаний. Нагрев опор не должен превышать 70°С.
На левом кінці шпинделя закреплена шестерня 15, вращение от которой передається на фотоелектрический датчик СИФ-3, служащий для, нарізання крепежной різьби на станке. Увімкнення датчика СИФ-3 осуществлять при остановленном шпинделе ручкой плавно до полного зацепления шестерен, проворачивая шпиндель.
Привод-коллектор предназначен для снятия зусилля натяжения приводного ремня з высокоточного шпинделя, обеспечения герметичности соединения шпинделя з магистралью сжатого воздуха для фиксации углового положения шпинделя при установці патрона кулачкового.
Привід - коллектор состоит из пустотелого шпинделя I на двух опорах качения. В шпиндель коллектора на двух радиальных підшипниках устанавливается нерухомий воздухоподводной штуцер. К штуцеру крепится переходник для подвода воздуха из сети.
На левом кінці шпинделя I закреплен приводной шкив 7, а на правом кінці закреплена полумуфта 2 для передачи обертання.
Головка выполнена в виде разъемного корпуса I, внутри которого расположена втулка 2. Вал 3 вращается на двух радиальных підшипниках 4 класса 5. К фланцу вала 3 винтом 5 крепится съемная планшайба 6, имеющая шесть пазов для крепления резцов. К другой стороне фланца вала 3 крепится кольцо 7 з шестью зубьями, которое служит для фиксации планшайби на каждой позиции. Крепление резцов в планшайбе производится за счет винтов і ексцентрика з ексцентриситетом 1,5 мм. За счет увеличения осьового натяга, который регулируется гайкой 8, возможна выборка радиального зазору.
Жесткость і надежность роботи головки повышается за счет установки в корпусе пневмопоршня 11 з клиновым зажимом, действующим на храповик, установленный на валу головки.
| Наименование параметра | ТПК-125ВН2 | ТПК-125ПН2 |
|---|---|---|
| Основні параметри верстата | ||
| Класс точності по ГОСТ 8-82 | В | П |
| Наибольший диаметр устанавливаемой заготовки, мм | 125 | 125 |
| Рекомендуемый диаметр обробки, мм | 125 | 125 |
| Наибольший диаметр обробки при автоматичною загрузке, мм | 60 | 60 |
| Наименьший диаметр обробки при автоматичною загрузке, мм | 5 | 5 |
| Диаметр отверстия в шпинделе, мм | ||
| Наибольшая длина вироби устанавливаемого в патроне, мм | 100 | 100 |
| Наибольшая длина вироби при автоматичною загрузке, мм | 50 | 50 |
| Наименьшая длина вироби при автоматичною загрузке, мм | 4 | 4 |
| Высота резца, устанавливаемого в резцедержателе, мм | 12 | 12 |
| Количество одновременно управляемых координат | 2 | 2 |
| Допустимая масса заготовки из стали, кг | 0,25 | 0,25 |
| Шпиндель | ||
| Количество рабочих швидкостей шпинделя | б/с | б/с |
| Пределы чисел оборотів шпинделя, об/мин | 30..2000 | 30..2000 |
| Центр шпинделя передньої бабки по ГОСТ 25557-82 | Морзе 3ЛТ6 | Морзе 3ЛТ6 |
| Кінець шпинделя | ||
| Подачи | ||
| Дискретность задания переміщення продольного (Z)/ поперечного (X), мм | 0,002 / 0,001 | 0,002 / 0,001 |
| Нестабильность автоматичного останова продольного (Z)/ поперечного (X), мм | 0,002 / 0,001 | 0,002 / 0,001 |
| Точность позиционирования продольного (Z) і поперечного (X), мм | ±0,01 | ±0,01 |
| Шероховатость поверхности при обработке изделий из стали, мкм | 1,25 | 1,25 |
| Шероховатость поверхности при обработке изделий из цветных металлов, мкм | 0,32 | 0,63 |
| Наибольшее перемещение суппорта: продольное (Z)/ поперечное (X), мм | 180 / 110 | 180 / 110 |
| Диапазон швидкостей продольных подач, мм/мин (мм/об) | 6..180 | 6..180 |
| Диапазон швидкостей поперечных подач, мм/мин (мм/об) | 3..90 | 3..90 |
| Скорость быстрых продольных/ поперечных ходов, мм/мин | 800 / 400 | 800 / 400 |
| Количество позиций на поворотной резцедержке (число инструментов в револьверній головці) | 6 | 6 |
| Електроустаткування і привід верстата | ||
| Питающая сеть верстата | ~380В 50Гц | ~380В 50Гц |
| Напряжение ланцюги керування, В | =24, ~110 | =24, ~110 |
| Напряжение ланцюги освещения, В | ~24 | ~24 |
| Количество електродвигателей на станке | 4 | 4 |
| Електродвигун головного привода, кВт | 2 | 2 |
| Електродвигун подач - шаговый | ШД-5Д1МУ3 | ШД-5Д1МУ3 |
| Електродвигун насоса охлаждения, кВт | ||
| Електродвигун инструментальной головки, кВт | 0,009 | 0,009 |
| Суммарная мощность електродвигателей, кВт | 2,8 | 2,8 |
| Суммарная мощность верстата, кВт | 4,5 | 4,5 |
| Габарити і масса верстата | ||
| Габаритные розміри верстата з ЧПУ (длина, ширина, высота), мм | 1680 х 920 х 1520 | 1680 х 920 х 1520 |
| Масса верстата з ЧПУ, кг | 2100 | 2100 |